|
|
(21), (22) Заявка: 2007134235/02, 13.09.2007
(24) Дата начала отсчета срока действия патента:
13.09.2007
(46) Опубликовано: 27.03.2009
(56) Список документов, цитированных в отчете о поиске:
RU 2161663 C1, 10.01.2001. SU 1210487 A1, 15.01.1994. RU 2051989 C1, 10.01.1996. FR 2589486 A1, 07.05.1987.
Адрес для переписки:
410000, г.Саратов, г/почтамт, а/я 62, пат.пов. О.И.Куприяновой
|
(72) Автор(ы):
Юдаков Михаил Александрович (RU), Анашкин Анатолий Александрович (RU), Орлов Сергей Михайлович (RU), Чулючкин Вячеслав Владимирович (RU)
(73) Патентообладатель(и):
Общество с ограниченной ответственностью “Центр Инновационных Технологий-ЭС” (RU)
|
(54) ПРЕОБРАЗОВАТЕЛЬ ДЛЯ КАТОДНОЙ ЗАЩИТЫ
(57) Реферат:
Изобретение относится к области электрохимии, а именно к устройствам для катодной защиты. Техническим результатом является исключение возможности повреждения кабеля блока электрооборудования, повышение надежности соединений, повышение удобства технического обслуживания и ремонта, повышение точности контроля параметров. Преобразователь содержит корпус, имеющий боковые, заднюю стенки, дно, крышу и переднюю дверь, по крайней мере, один модуль преобразования напряжения, блок измерения, соединительную панель, блок индикации, блок телемеханики, блок электрооборудования. Корпус снабжен технологическими отверстиями для подвода внешних кабелей. Блок индикации включает набор индикаторов для отображения текущего значения выходного напряжения, выходного тока, защитного потенциала и счетчик времени наработки для отображения суммарного времени наработки объекта. Блок телемеханики закреплен на боковой стенке корпуса. Блок электрооборудования включает сетевую колодку, счетчик электроэнергии, автомат защиты сети, а также сервисную розетку. Блок измерения и соединительная панель закреплены в корпусе посредством кронштейна на его лицевой стороне. Корпус снабжен дополнительной боковой дверью, а боковая стенка корпуса со стороны боковой двери имеет изогнутую вовнутрь корпуса часть, образующую отсек для размещения блока телемеханики. 11 з.п. ф-лы, 6 ил.
Устройство относится к области электрохимии, а именно к устройствам для катодной защиты, которые могут быть использованы для электрохимической защиты от почвенной коррозии подземных металлических сооружений, в том числе магистральных и городских трубопроводов, электрических кабелей, резервуаров для хранения нефти и газа.
Однако в данной конструкции доступ к устройству телемеханики возможен только через открытую переднюю дверь, что обуславливает необходимость аттестации обслуживающего телемеханику персонала в части электробезопасности. Кроме того, затрудненный доступ к блоку телемеханики усложняет обслуживание преобразователя. Блок электрооборудования размещен на двери, что требует использования гибкого кабеля, регулярно подвергающегося деформациям, что снижает надежность работы преобразователя и безопасность его обслуживания. Кроме того, используемые стрелочные индикаторы в блоке индикации не обеспечивают надлежащей точности контроля параметров. Корпус преобразователя имеет жестко заданную при изготовлении конфигурацию, что снижает его устойчивость к неблагоприятным климатическим воздействиям.
Задачей заявляемого технического решения является создание преобразователя для катодной защиты, надежного в эксплуатации, обеспечивающего удобство обслуживания его составных частей, в.т.ч. блока телемеханики, при повышении их защиты от воздействия внешних климатических факторов.
Техническим результатом является исключение возможности повреждения кабеля блока электрооборудования при эксплуатации преобразователя, повышение надежности соединений элементов электрической схемы, повышение удобства технического обслуживания и ремонта, повышение точности контроля параметров.
Поставленная задача решается тем, что преобразователь для катодной защиты объекта, содержащий корпус, имеющий боковые, заднюю стенки, дно, крышу и переднюю дверь, снабженный технологическими отверстиями для подвода внешних кабелей; по крайней мере, один модуль преобразования напряжения, блок измерения, соединительную панель, блок индикации, включающий набор индикаторов для отображения текущего значения выходного напряжения, выходного тока, защитного потенциала и счетчик времени наработки для отображения суммарного времени наработки объекта, блок телемеханики, закрепленный на боковой стенке корпуса, блок электрооборудования, включающий сетевую колодку, счетчик электроэнергии, автомат защиты сети, а также сервисную розетку, при этом блок измерения и соединительная панель закреплены в корпусе посредством кронштейна на его лицевой стороне, модуль преобразования напряжения соединен с блоком измерения, с соединительной панелью и выходом автомата защиты сети, а соединительная панель подключена к выводу блока измерения, который в свою очередь подключен к блоку индикации, а также к блоку телемеханики, согласно предлагаемому решению корпус снабжен дополнительной боковой дверью, а боковая стенка корпуса со стороны боковой двери имеет изогнутую вовнутрь шкафа часть, образующую отсек для размещения блока телемеханики, снабженный защитной панелью, индикаторы блока индикации выполнены цифровыми, при этом блок индикации расположен на кронштейне над блоком измерения, блок измерения выполнен с возможностью преобразования измеряемых параметров в сигнал управления цифровыми индикаторами, блок электрооборудования закреплен со стороны внутренней поверхности боковой стенки, при этом боковая стенка имеет окно в месте размещения табло счетчика электроэнергии и, по крайней мере, одно технологическое отверстие для подвода кабелей.
Преобразователь для катодной защиты может быть снабжен колодкой телемеханики для соединения блока измерения с блоком телемеханики, при этом колодка телемеханики закреплена на внешней стороне боковой стенки со стороны боковой двери. Также он может содержать, по крайней мере, один автомат защиты сети модуля преобразования напряжения, через который модуль преобразования напряжения подключен к автомату защиты сети блока электрооборудования, при этом количество автоматов защиты сети соответствует количеству модулей преобразователей напряжения.
Блок электрооборудования размещен ближе к передней двери, при этом элементы блока расположены по вертикали снизу вверх: сетевая колодка, затем сервисная розетка, счетчик электроэнергии, а автомат защиты сети расположен на лицевой стороне кронштейна слева от блока измерения.
Преобразователь для катодной защиты может быть снабжен платой питания, закрепленной на тыльной стороне кронштейна и подключенной к выходу автомата защиты сети и к блоку измерения, блоку индикации, блоку телемеханики.
Крыша выполнена с возможностью перемещения в вертикальном направлении посредством двух приводов, каждый из которых состоит из электродвигателя и механизма передачи «винт-гайка», расположенных по боковым стенкам в их центральной части.
Корпус выполнен на опоре и снабжен защитной сеткой, расположенной горизонтально в его верхней части.
Технологические отверстия для подвода внешних кабелей расположены в дне корпуса, часть дна выполнена с вентиляционными отверстиями.
Передняя и боковая двери снабжены двумя замками каждая, при этом замки для передней двери выполнены отличающимися от замков для боковой двери.
Крыша выполнена нависающей.
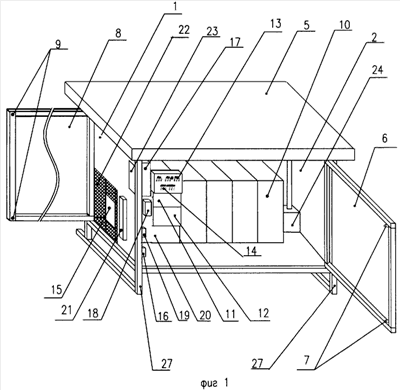
Устройство поясняется чертежами, где на фиг.1 приведен общий вид устройства, на фиг.2 – вид спереди на заявляемое устройство, на фиг.3 – вид сверху, на фиг.4 – вид сбоку, демонстрирующий размещение блока телемеханики без защитной панели, на фиг.5, 6 – механизм перемещения крыши в ее крайнем верхнем и нижнем положениях соответственно.
Позициями на чертеже обозначены: 1 – левая боковая стенка корпуса, 2 – правая боковая стенка корпуса, 3 – задняя стенка корпуса, 4 – дно корпуса, 5 – крыша корпуса, 6 – передняя дверь корпуса, 7 – замки передней двери, 8 – боковая дверь корпуса, 9 – замки боковой двери, 10 – модуль преобразования напряжения, 11 – блок измерения, 12 – соединительная панель, 13 – блок индикации, 14 – счетчик времени наработки, 15 – блок телемеханики, 16 – сетевая колодка, 17 – счетчик электроэнергии, 18 – автомат защиты сети блока электрооборудования, 19 – сервисная розетка, 20 – кронштейн, 21 – колодка телемеханики, 22 – защитная панель, 23 – окно в боковой стенке, 24 – привод подъема/опускания крыши, 25 – автомат защиты сети модуля преобразования напряжения, 26 – плата питания, 27 – опора, 28 – кабельные вводы, 29 – уголок, 30 – шток, 31 – направляющая втулка, 32 – ходовая гайка, 33 – ходовой винт, 34 – муфта, 35 – электродвигатель.
Устройство представляет собой прямоугольный корпус, левая боковая стенка 1, правая боковая стенка 2, и задняя стенка 3 которого, а также дно 4 выполнены в виде стационарных панелей, крыша 5 выполнена подвижной и нависающей над стенками корпуса, который снабжен также передней дверью 6, открывающейся вправо, и левой боковой дверью 8, открывающейся влево. При этом передняя дверь 6 снабжена замками передней двери 7, а левая боковая дверь 8 снабжена замками боковой двери 9, которые имеют конструктивные отличия, исключающие открытие передней двери ключом для боковой двери, и наоборот.
В корпусе расположен как минимум один модуль преобразования напряжения 10. В левой передней части корпуса расположены блок измерения 11, соединительная панель 12, блок индикации 13, счетчик времени наработки 14. Блок индикации 13 содержит цифровой индикатор текущего значения выходного напряжения «U вых» и выходного тока «I вых» преобразователя для катодной защиты, а также текущего значения напряжения защитного потенциала «U пот» защищаемого объекта или сооружения. В левой задней части корпуса расположен блок телемеханики 15. С внутренней стороны левой боковой стенки 1 корпуса расположены сетевая колодка 16, счетчик электроэнергии 17, обращенный своим индикатором к внутренней стороне левой боковой стенки 1, автомат защиты сети блока электрооборудования 18 для подключения преобразователя катодной защиты к питающей сети, сервисная розетка 19, кронштейн 20. Соединительная панель 12, блок измерения 11, счетчик времени наработки 14, блок индикации 13 расположены снизу вверх по вертикали на лицевой стороне кронштейна 20, при этом блок измерения 11, счетчик времени наработки 14 и блок индикации 13 могут быть закрыты спереди вертикальной декоративной панелью. На внешней стороне левой боковой стенки корпуса 1, в средней ее части, расположена колодка телемеханики 21. При этом левая боковая стенка корпуса 1 имеет изогнутую внутрь шкафа часть, которая образует отсек для размещения в нем блока телемеханики 15, который закрыт защитной панелью 22. Левая боковая стенка корпуса 1 имеет также окно 23, расположенное напротив индикатора счетчика электроэнергии 17 для считывания его показаний. Доступ к блоку телемеханики 15, к колодке телемеханики 21, к индикатору счетчика электроэнергии 17 осуществляется при открытой боковой двери 8. С внутренней стороны каждой боковой стенки корпуса, в центральной ее части, расположен привод подъема/опускания крыши 24 в виде электродвигателя и механизма передачи «винт-гайка». С внутренней стороны задней стенки 3 на рейке закреплен как минимум один автомат защиты сети модуля преобразования напряжения 25, а на тыльной стороне кронштейна 20 в нижней его части расположена плата питания 26 для питания блока измерения 11, блока индикации 13, счетчика времени наработки 14, блока телемеханики 15. Корпус снабжен опорами 27 в виде прямоугольных рам, вертикально ориентированных вдоль его боковых стенок и жестко с ними соединенных. Блок телемеханики 15 соединен кабелями с блоком измерения 11 через кабельные вводы 28, расположенные в левой боковой стенке 1 корпуса и через колодку телемеханики 21.
Привод подъема/опускания крыши 24 состоит из двух лифтов, каждый из которых выполнен следующим образом. К внутренней стороне крыши, вдоль ее боковой стороны жестко прикреплен уголок 29. К уголку 29 в центральной его части прикреплен верхним своим концом вертикальный шток 30, проходящий сквозь направляющую втулку 31 в нижнюю часть корпуса. Нижний конец штока 30 жестко прикреплен к торцу ходовой гайки 32, находящейся в сцеплении с ходовым винтом 33, который через муфту 34 соединен с выходным валом электродвигателя 35.
Верхняя сторона корпуса закрыта защитной горизонтальной сеткой. На лицевой стороне соединительной панели 12 расположены клеммы в виде болтовых соединений, предназначенные для внутренних и внешних подключений, переключатель для выбора датчика потенциала. На тыльной стороне соединительной панели 12 расположен датчик общего тока.
Модуль преобразования напряжения 10 представляет собой прямоугольный каркас, разделенный горизонтальной перегородкой на два отсека, В верхнем отсеке размещен выходной каскад модуля, выполненный по схеме мостового усилителя мощности. В нижнем отсеке размещен узел управления усилителем мощности, выполненный на базе двухтактного ШИМ-контроллера. Фронтальная и тыльная стороны каркаса выполнены в виде штыревого теплоотвода. Правая, левая, верхняя и нижняя стороны каркаса закрыты тонкими стенками из материала, обладающего экранирующими свойствами. Органы управления и индикации модуля расположены на вертикальной передней и горизонтальной верхней панелях. На передней панели расположены силовые и измерительные выводы в виде болтовых соединений, предназначенные для подключения к соответствующим выводам на соединительной панели 12 и одноименным выводам смежного модуля преобразования напряжения 10. Также здесь расположены переключатель для выбора режима работы, потенциометр для установки выходного тока, потенциометр для установки защитного потенциала, цифровой индикатор текущего значения выходного тока данного модуля или текущего значения защитного потенциала сооружения, переключатель для выбора режима индикации, единичный индикатор сигнализации обрыва в цепи электрода сравнения, единичный индикатор сигнализации наличия сетевого напряжения на данном модуле. На верхней панели модуля 10 расположены выводы в виде болтовых соединений для подключения к питающей сети через автомат защиты сети модуля преобразования напряжения 25, сетевые предохранители, сетевой выключатель, выводы для выбора максимального значения выходного напряжения, соединитель для подключения к блоку измерения 11, соединитель для подключения к смежному модулю.
Функционирование устройства может осуществляться либо в режиме автоматического поддержания защитного тока, либо в режиме автоматического поддержания защитного потенциала. Мощность устройства определяется количеством подключенных модулей преобразования напряжения 10. При увеличении их числа максимальное выходное напряжение преобразователя для катодной защиты остается неизменным, а наращивание его мощности обеспечивается за счет увеличения максимального значения суммарного выходного тока. В режиме автоматического поддержания защитного тока техническими средствами каждого модуля осуществляется непрерывное измерение текущего значения его выходного тока, сравнение его с требуемым значением, установленным с помощью потенциометра, и изменение режима выходного каскада таким образом, чтобы текущее значение выходного тока было равно требуемому значению с заданной точностью. В режиме синхронного управления значение тока задается на передней панели базового модуля и с помощью жгута связи передается на входы соответствующих каскадов всех модулей преобразования напряжения 10. В режиме автономного управления значение тока задается на передней панели каждого модуля 10 и жгут связи может быть отключен. Цифровой индикатор, расположенный на передней панели каждого модуля, отображает текущее значение выходного тока данного модуля, а цифровой индикатор “Iвых”, расположенный на блоке индикации 13, отображает текущее значение суммарного выходного тока всего преобразователя, которое можно определить также суммированием показаний индикаторов всех модулей 10. Включенное состояние счетчика времени наработки 14 индицируется мерцанием единичного индикатора, расположенного в правом нижнем углу цифрового индикатора “Время наработки”. В режиме автоматического поддержания защитного потенциала осуществляется непрерывное измерение текущего значения потенциала, сравнение его с установленным значением и изменение режима выходных каскадов всех модулей 10 таким образом, чтобы текущее значение защитного потенциала было равно установленному значению. При этом на цифровом индикаторе «U пот» блока индикации 13, а также на передней панели модуля преобразования напряжения 10 отображается текущее значение защитного потенциала. Значение защитного тока, обеспечивающего поддержание требуемого значения защитного потенциала, отображается на цифровом индикаторе “Iвых” блока индикации 13. При обрыве в цепи электрода сравнения во время работы в режиме автоматического поддержания защитного потенциала включается индикатор “ОБРЫВ ЭС” и обеспечивается автоматическое переключение преобразователя напряжения 10 в режим поддержания защитного тока, предварительно установленного при настройке преобразователя. При возникновении короткого замыкания в цепи нагрузки в режиме поддержания тока преобразователь для катодной защиты продолжает поддерживать заданный ток, напряжение на выходе при этом снижается до нуля. При возникновении короткого замыкания в цепи нагрузки в режиме поддержания потенциала преобразователь ограничивает ток на уровне, установленном при настройке режима. Напряжение на выходе при этом снижается до нуля. После устранения перегрузки автоматически восстанавливается режим преобразователя, в котором он находился до возникновения перегрузки, то же самое обеспечивается при исчезновении и последующем возникновении напряжения в питающей сети.
Работа преобразователя заключается в следующем.
В жаркую погоду в соответствии с сигналом, поступающим от датчика температуры в устройство управления, привод подъема/опускания крыши 24 удерживает последнюю в крайнем верхнем положении. При этом отвод тепла от штыревого теплоотвода модуля 10 обеспечивается конвекцией за счет отверстий в дне 4 корпуса, отверстий в защитной сетке и зазором по всему периметру крыши между внутренней ее поверхностью и защитной сеткой, а также между боковыми стенками корпуса, внешними поверхностями передней и боковой дверей и между боковыми вертикальными стенками нависающей над корпусом крыши 5. В холодную погоду по сигналу от датчика температуры устройство управления подает на привод подъема/опускания крыши 24 команду на опускание крыши 5. Таким образом, узлы преобразователя напряжения 10 в период неблагоприятных погодных условий являются более защищенными.
Работа привода подъема/опускания крыши 24 происходит следующим образом. При необходимости перемещения крыши 5 электродвигатель 35 переходит в режим вращения выходного вала, что вызывает вращение ходового винта 33 и перемещение в вертикальном направлении ходовой гайки 32. Закрепленный на ней шток 30 также перемещается, обеспечивая перемещение крыши 5. Снятие команды на перемещение вызывает прекращение вращения вала электродвигателя 35, и крыша 5 прекращает движение. При этом электродвигатель 35 во время стоянки не потребляет электроэнергию, то есть система обладает эффектом “памяти положения”. Новое перемещение крыши 5 начинается с того положения, в котором она остановилась после последней команды на перемещение.
Пример конкретного выполнения.
Элементы корпуса, в том числе левая боковая стенка 1, правая боковая стенка 2, задняя стенка 3 корпуса, крыша 5, передняя дверь 6, боковая дверь 8 выполнены из листовой стали толщиной 1.5 мм. Дно корпуса 4 и верхняя защитная сетка изготовлены из металлической сетки с диаметром ячейки не более 2.4 мм в соответствии с требованиями ГОСТ 14254-96 (код IP). Замки передней двери 7 и замки боковой двери 9 выполнены под ключ в виде многогранника. Причем ключом от боковой двери нельзя открыть переднюю дверь. Ключи изготовлены из закаленной стали. Теплоотводы модуля преобразования напряжения 10 выполнены из сплава алюминия и меди, стенки – из оцинкованной стали, передняя и верхняя панели – из листового стеклотекстолита. Выходной каскад реализован на кольцевых сердечниках марки М2000НМ1 К45×28×12 и МП140 К44×28×10.3, полевых транзисторах типа IRFP22N50A, на диодах BYV72EW, HER307, конденсаторах фильтра типа К50-35 220 мкФ ×450 В, конденсаторах развязки типа К73-17-0.1×400 В, К78-2 – 3300×2000 В. Устройство управления реализовано на контроллере К1156ЕУ2, операционных усилителях 140УД12, варисторах типа TVR20391 и разрядниках типа NS3R400F, входящих в узел защиты от перенапряжения при грозовых разрядах, мостовом выпрямителе типа КВРС-1008, резисторе типа С5-5 в качестве ограничения тока при включении питания, тиристоре типа MCR12M в схеме блокировки, микросхемы типа PIC 18F1320-1/P для управления светодиодным индикатором типа BC56-125RWA. Блок измерения 11 выполнен на базе процессора типа PIC 18F452-1/P, операционных усилителей типа ОР177А, OP296GS, коммутаторов типа CPC1035N, PWG612S, применяемых в схеме измерения поляризационного потенциала. Блок индикации 13 и счетчик времени наработки 14 реализованы на специализированной микросхеме типа MAX695EPL для управления индикаторами типа BC56-125RWA. Блок телемеханики 15 реализован на базе процессора типа PIC 18F252-1/SO, операционных усилителей типа OP296GS, микросхемы интерфейса типа ADM232AARN, сотового GSM модема типа 1306 В, аккумулятора типа TR 1,3-6. В качестве защитного корпуса применен корпус типа G-265. В качестве сетевой колодки применена колодка типа ТВ6303. Счетчик электроэнергии 17 применен типа СЭА11М. Автоматы защиты сети 18, 25 использованы типа ДЕК-6А, ДЕК-25А. Сервисная розетка 19 использована типа РА16260. Кронштейн 20 выполнен из листовой стали. Колодка телемеханики 21 использована типа ТВ1506. Защитная панель 22 выполнена из листовой стали. Неподвижные элементы привода подъема/опускания крыши 24 выполнены из стали, подвижные – из латуни, а электродвигатель 35 использован типа ДШИ-200-3. Плата питания 26 реализована на трансформаторах типа ТП-1243-1, ТП-122-11, на микросхемах стабилизации напряжения типа 7805, 7815, 7915, выпрямительных диодах типа 1N5821, конденсаторах фильтра типа К50-35 220 мкФ ×50 В, К50-35 100 мкФ ×50 В. Опора 27 выполнена из прямоугольной трубы 20×20 мм.
Таким образом, предлагаемое техническое решение преобразователя для катодной защиты позволяет:
– повысить надежность работы преобразователя и безопасность его обслуживания путем исключения жгута, подвергающегося деформации при открывании/закрывании двери;
– повысить удобство обслуживания преобразователя путем расположения всех индикаторов во фронтальной плоскости, а также путем расположения блока телемеханики в отсеке, доступ в который обеспечен через открытую боковую дверь;
– обеспечить безопасность персонала, обслуживающего телемеханику, от поражения электрическим током, т.к. открытая боковая дверь обеспечивает доступ к блоку телемеханики и к индикатору счетчика электроэнергии, но исключает соприкосновение человека с токоведущими частями преобразователя, которые могут находиться под напряжением, опасным для жизни человека. Это обстоятельство исключает необходимость в аттестации персонала, обслуживающего телемеханику, а также персонала, ведущего контроль за потреблением электроэнергии преобразователем напряжения;
– повысить качество работы преобразователя за счет повышения точности показаний встроенных индикаторов путем применения цифровых индикаторов взамен стрелочных;
– повысить устойчивость преобразователя к неблагоприятным климатическим воздействиям за счет возможности регулирования суммарной площади поперечного сечения вентиляционных каналов путем подъема/опускания крыши. Это позволяет существенно ограничить в зимний период доступ климатических осадков в виде снега, дождя к внутренним частям преобразователя.
Формула изобретения
1. Преобразователь для катодной защиты, содержащий корпус, имеющий боковые, заднюю стенки, дно, крышу и переднюю дверь, снабженный технологическими отверстиями для подвода внешних кабелей, по крайней мере, один модуль преобразования напряжения, блок измерения, соединительную панель, блок индикации, включающий набор индикаторов для отображения текущего значения выходного напряжения, выходного тока, защитного потенциала и счетчик времени наработки для отображения суммарного времени наработки объекта, блок телемеханики, закрепленный на боковой стенке корпуса, блок электрооборудования, включающий сетевую колодку, счетчик электроэнергии, автомат защиты сети и сервисную розетку, при этом блок измерения и соединительная панель закреплены в корпусе посредством кронштейна на его лицевой стороне, модуль преобразования напряжения соединен с блоком измерения, с соединительной панелью и выходом автомата защиты сети, а соединительная панель подключена к выводу блока измерения, который подключен к блоку индикации, а также к блоку телемеханики, отличающийся тем, что корпус снабжен дополнительной боковой дверью, боковая стенка корпуса со стороны боковой двери имеет изогнутую вовнутрь корпуса часть, образующую отсек для размещения блока телемеханики, снабженный защитной панелью, а индикаторы блока индикации выполнены цифровыми, при этом блок индикации расположен на кронштейне над блоком измерения, блок измерения выполнен с возможностью преобразования измеряемых параметров в сигнал управления цифровыми индикаторами, блок электрооборудования закреплен со стороны внутренней поверхности боковой стенки, а в боковой стенке корпуса выполнено окно в месте размещения табло счетчика электроэнергии и, по крайней мере, одно технологическое отверстие для подвода кабелей.
2. Преобразователь по п.1, отличающийся тем, что он снабжен колодкой телемеханики для соединения блока измерения с блоком телемеханики, при этом колодка телемеханики закреплена на внешней стороне боковой стенки со стороны боковой двери.
3. Преобразователь по п.1, отличающийся тем, что он содержит, по крайней мере, один автомат защиты сети модуля преобразования напряжения, через который модуль преобразования напряжения подключен к автомату защиты сети блока электрооборудования, при этом количество автоматов защиты сети соответствует количеству модулей преобразователей напряжения.
4. Преобразователь по п.1, отличающийся тем, что блок электрооборудования размещен ближе к передней двери, при этом элементы блока расположены по вертикали, нижним из которых является сетевая колодка, затем сервисная розетка, счетчик электроэнергии, а автомат защиты сети расположен на лицевой стороне кронштейна слева от блока измерения.
5. Преобразователь по п.1, отличающийся тем, что он снабжен платой питания, закрепленной на тыльной стороне кронштейна и подключенной к выходу автомата защиты сети и к блоку измерения, блоку индикации, блоку телемеханики.
6. Преобразователь по п.1, отличающийся тем, что крыша выполнена с возможностью перемещения в вертикальном направлении посредством двух приводов, каждый из которых состоит из электродвигателя и механизма передачи «винт-гайка», расположенных по боковым стенкам в их центральной части.
7. Преобразователь по п.1, отличающийся тем, что корпус выполнен на опоре.
8. Преобразователь по п.1, отличающийся тем, что технологические отверстия для подвода внешних кабелей расположены в дне корпуса.
9. Преобразователь по п.1, отличающийся тем, что часть дна выполнена с вентиляционными отверстиями.
10. Преобразователь для катодной защиты по п.1, отличающийся тем, что корпус снабжен защитной сеткой, расположенной горизонтально в его верхней части.
11. Преобразователь по п.1, отличающийся тем, что передняя и боковая двери снабжены двумя замками каждая, при этом замки для передней двери выполнены отличающимися от замков для боковой двери.
12. Преобразователь по п.1, отличающийся тем, что крыша выполнена нависающей.
РИСУНКИ
|
|