|
|
(21), (22) Заявка: 2006116593/02, 15.05.2006
(24) Дата начала отсчета срока действия патента:
15.05.2006
(43) Дата публикации заявки: 27.11.2007
(46) Опубликовано: 27.03.2009
(56) Список документов, цитированных в отчете о поиске:
SU 1603916 A1, 20.08.1996. RU 2222623 C1, 27.01.2004. RU 2092760 C1, 10.10.1997. CN 1311342 A, 05.09.2001. EP 0055815 A1, 14.07.1982. US 3882261 A, 06.05.1975. DE 2736793 A, 23.02.1978.
Адрес для переписки:
618421, Пермский край, г. Березники, пр. Ленина, 101, ОАО “РИТМ”, генеральному директору Ю.А. Ряпосову
|
(72) Автор(ы):
Грибов Владимир Иванович (RU), Кудрявский Юрий Петрович (RU), Лепихиин Владимир Петрович (RU), Жуланов Николай Константинович (RU), Шундиков Олег Николаевич (RU)
(73) Патентообладатель(и):
Открытое акционерное общество “Российский научно-исследовательский и проектный институт титана и магния” (ОАО “РИТМ”) (RU)
|
(54) ПЕЧЬ С СОЛЕВЫМ ОБОГРЕВОМ ДЛЯ ПЛАВКИ МАГНИЯ
(57) Реферат:
Изобретение относится к металлургии цветных металлов, в частности к печи с солевым обогревом для плавки магния. Печь включает футерованную шахту со скосами в подине, электроды, введенные через боковые стенки над подиной, перекрытие. Над электродами установлен кольцевой колпак с центральной камерой и патрубками для загрузки и выгрузки магния. Колпак установлен с возможностью свободного перемещения его патрубков относительно подины и перекрытия. Зазор между патрубками колпака и перекрытием по горизонтали составляет 0,01-0,025 внешнего диаметра колпака, а отклонение опорной поверхности от горизонтали – не более 0,001 от внешнего диаметра колпака. Отношение площадей центральной камеры и кольцевого зазора между колпаком и футеровкой составляет 1:(1-3). Техническим результатом является исключение возможности деформации и разрывов элементов печи от термических перемещений. 1 з.п. ф-лы, 1 ил.
Изобретение относится к области металлургии цветных металлов, конкретно к конструкции печей с солевым обогревом для плавки и рафинирования магния.
Известна печь с солевым обогревом для плавки магния по авт.св. СССР №1603916, включающая футерованную шахту со скосами в подине, перекрытия, электроды и установленный над подиной и электродами колпак с центральной камерой для удаления шлама, патрубками для загрузки и выгрузки магния и окнами в нижней части наружных стенок.
Недостатком такой печи является возможность деформации канала и элементов футеровки, разрывов сварочных швов при технических расширениях в случае перемещения элементов колпака в футеровке и перекрытии.
Техническим результатом изобретения является конструкция колпаковой солевой печи, исключающая возможность деформации и разрывов от термических перемещений относительно перекрытия и футеровки. Для этого колпак установлен с возможностью свободного перемещения его патрубков относительно подины и перекрытия, при этом зазор между патрубками колпака и перекрытием по горизонтали составляет 0,01-0,025 внешнего диаметра колпака, а отклонение опорной поверхности от горизонтали – не более 0,001 от внешнего диаметра колпака, при этом отношение площадей центральной камеры и кольцевого зазора между колпаком и футеровкой составляет 1:(1-3).
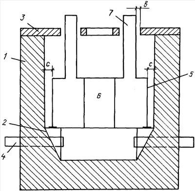
На чертеже показаны: футеровка 1, скос подины 2, перекрытие 3, электроды 4, колпак 5, центральная камера 6, патрубки для загрузки и выгрузки магния 7, b – зазор между патрубками и перекрытием, с – зазор между колпаком и футеровкой.
Печь работает следующим образом.
Вначале в печи наплавляется солевой состав, затем через один из патрубков 7 в камеры для металла заливают магний, плотность которого меньше плотности соли. Колпак 5 постоянно находится под уровнем соли, так что нагретый поток соли от электродов поднимается вдоль стенок и замыкается через центральную камеру, равномерно обогревая колпак и металл в нем.
При сушке печи до температуры 500°С и заливке соли с последующим разогревом до 700°С стальной колпак нагревается и расширяется. Зазор b позволяет свободно перемещаться патрубкам, а опоры колпака могут свободно скользить по горизонтальной опорной поверхности футеровки, сохраняя целостность колпака и элементов перекрытия и футеровки.
Если величина зазора b меньше 0,01 внешнего диаметра колпака, то неточности при изготовлении колпака и перекрытия, а также при монтаже могут «выбрать» весь зазор и привести к нежелательному контакту при нагреве и соответствующим деформациям.
Если величина зазора b больше, чем 0,025 внешнего диаметра колпака, то, как показывает практика, такой зазор является уже излишним и приводит к потерям тепла от расплава и другим нежелательным следствиям.
Если отклонение поверхности опор от горизонтали составляет более 0,001 от внешнего диаметра колпака, то возможно скольжение колпака по подине до контакта с перекрытием, что нежелательно, так как может привести к деформациям.
Соотношение размеров площади центральной камеры 6 и кольцевого зазора между колпаком и футеровкой – с – обеспечивает нормальный тепловой поток и исключает контакт колпака с боковой стенкой печи. Если соотношение площадей меньше 1:1, то поток соли ослабевает, шлам оседает на колпаке и стенка колпака может в какой-то части печи приблизиться к футеровке. Если отношение площадей более 1:3, то поток ослабевает на периферии колпака, зазор становится настолько большим, что объем печи используется нерационально.
Формула изобретения
1. Печь с солевым обогревом для плавки магния, включающая футерованную шахту со скосами в подине, электроды, введенные через боковые стенки над подиной, перекрытие и установленный над электродами кольцевой колпак с центральной камерой и патрубками для загрузки и выгрузки магния, отличающаяся тем, что колпак установлен с возможностью свободного перемещения его патрубков относительно подины и перекрытия, при этом зазор между патрубками колпака и перекрытием по горизонтали составляет 0,01-0,025 внешнего диаметра колпака, а отклонение опорной поверхности от горизонтали – не более 0,001 от внешнего диаметра колпака.
2. Печь по п.1, отличающаяся тем, что отношение площадей центральной камеры и кольцевого зазора между колпаком и футеровкой составляет 1:(1-3).
РИСУНКИ
|
|