|
|
(21), (22) Заявка: 2007112057/12, 02.04.2007
(24) Дата начала отсчета срока действия патента:
02.04.2007
(43) Дата публикации заявки: 27.10.2008
(46) Опубликовано: 27.03.2009
(56) Список документов, цитированных в отчете о поиске:
RU 2128144 С1, 27.03.1999. RU 2145569 С1, 20.02.2000. SU 899496 А, 25.01.1982. WO 2006/049387 А1, 11.05.2006. JP 4293591 А, 19.10.1992. US 5103653 А, 14.04.1992.
Адрес для переписки:
450018, Башкортостан, г.Уфа, пер-к Кооперативный, 10, М.М. Муратову
|
(72) Автор(ы):
Муратов Марат Мусагитович (RU)
(73) Патентообладатель(и):
Муратов Марат Мусагитович (RU)
|
(54) УСТАНОВКА ОЧИСТКИ ВОДЫ
(57) Реферат:
Установка очистки воды предназначена для очистки питьевой воды от тяжелой воды, взвесей и растворенных веществ с биологическим обеззараживанием. Установка содержит блок управления с датчиками, сигнальными и исполнительными устройствами, две емкости, установленные одна над другой, холодильный агрегат, теплообменники которого расположены вокруг верхней емкости, теплоизолированный воздуховод, компрессор, вентилятор, озонатор, датчик кристаллизации тяжелой воды, рассеиватели озоно-воздушной смеси, поплавковые клапаны, фильтр воды и сетчатый фильтр льда тяжелой воды, предварительный теплообменник и тороидальный рассеиватель очищаемой воды. Установка изготовлена в виде автоматического устройства и позволяет получать высококачественную питьевую воду, очищенную от тяжелой воды и загрязнителей. Экономичность установки достигается за счет использования природного холода и даже суточных колебаний температуры, равномерности охлаждения по объему очищаемой воды, точности определения времени окончания кристаллизации тяжелой воды и исключением образования льда легкой воды. 1 ил.
Изобретение относится к бытовым и промышленным автоматизированным установкам очистки питьевой воды и может быть использовано для приготовления питьевой и пищевой воды, для водоснабжения бытовых и коллективных потребителей. Вода является одной из основ жизни на Земле и присутствует во всех биологических и большинстве природных объектов. В природной воде растворены искусственно полученные и природные химические вещества, а также во взвешенном состоянии, присутствуют биологические объекты, органические и механические частицы. Функции воды в природе многообразны, ее качество и свойства отражаются на жизнедеятельности всех живых существ. С 40-х годов прошлого столетия известно, что вода является неоднородным веществом, образованным смесью вод из различных изотопов водорода Н и кислорода О [1]. Помимо молекул легкой (протиевой) воды – 1Н2 16O, состоящих из двух атомов легкого водорода 1Н (протия) и одного атома легкого кислорода 16O, в природной воде присутствуют и 8 видов воды (далее тяжелая вода) из комбинации остальных стабильных тяжелых изотопов Н и О. Суммарное среднее количество тяжелых изотопных модификаций воды в природной воде составляет около 0,272%. Вода пресноводных источников содержит около 330 мг/л тяжеловодородной, и около 2 г/л тяжелокислородной Н2 18O. Эти значения сопоставимы с допустимым содержанием солей в питьевой воде. Можно сказать, что природная вода это смесь молекул 1Н2 16O, 1Н2 17O, 1Н2 18O, 1Н2Н16O, 1Н2Н17O, 1Н2Н18O, 2Н2 16O, 2Н2 17O и 2Н2 18O, растворенных природных и искусственных химических веществ и взвеси, образованной биологическими объектами и неорганическими и органическими частицами.
При изучении биологических эффектов тяжелой воды выявлено угнетающее воздействие молекул воды 1Н2 17O, 1Н2 18O, 1H2H16O, 1Н2Н17O, 1H2H18O, 2Н2 16O, 2Н2 17O, 2Н2 18O на живые организмы. При удалении всех тяжелых изотопных модификаций остается вода 1Н2 16О, обычно ее называют “легкая” или “протиевая”. Независимые исследователи многолетними наблюдениями и опытами выяснили, что легкая вода позитивно влияет на живые организмы, является стимулятором функций органов, обладает иммуномодулирующим и противоопухолевым действием [2]. Ее благотворное биологическое воздействие вызвано тем, что посредством этой воды, обмен веществ в организме происходит с максимально возможной скоростью. Объясняется этот факт тем, что подвижность ионов из тяжелых 2Н и 17О и 18О существенно меньше, чем ионов, образованных 1Н водородом и кислородом 16O. Скорость каталитических реакций, играющих важнейшую роль в осуществлении обмена веществ и нормальной жизнедеятельности организма, в тяжелой воде в 6 раз меньше, чем в легкой воде. Возникает вывод о необходимости удаления тяжелой воды из природной воды при употреблении ее для питья и приготовлении пищевых продуктов.
При превышении некоторых концентраций растворенные соли, химические вещества и взвеси становятся загрязнителями воды, применяемой в жизни человека. В этих случаях требуется проведение водоподготовки. Результаты исследований свидетельствуют, что независимо от концентрации растворов солей, химических веществ и взвесей в воде необходимым условием качественной водоподготовки является очистка воды от ее тяжелых изотопных модификаций.
Известно изобретение “Установка для очистки питьевой воды”, принятое прототипом предлагаемого изобретения [3].
Прототип-установка для очистки питьевой воды содержит две емкости, установленные одна над другой, и холодильный агрегат, включающий последовательно соединенные в циркуляционный контур испаритель, компрессор, конденсатор и регулирующий орган, емкости сообщены между собой линией, содержащей запорный элемент, а испаритель размещен между емкостями, при этом верхняя часть испарителя выполнена в виде поверхности контакта с верхней емкостью, а нижняя – в виде тела, входящего в нижнюю емкость. В результате такого расположения и взаимосвязи емкостей между собой и с испарителем обеспечивается охлаждение содержимого верхней и нижней емкостей с помощью одного и того же испарителя и, как следствие, достигается компактность установки и возможность ее изготовления как в виде автономного бытового аппарата, так и в виде составной части домашнего холодильника. Установка-прототип позволяет получать питьевую воду с уменьшенным содержанием тяжелой воды, но обладает низкой экономичностью и высоким энергопотреблением, вызванными замораживанием большого объема легкой воды и сливом в канализацию значительного объема легкой воды. Неравномерность охлаждения объема очищаемой воды приводит к неодновременности окончания заморозки тяжелой воды в объеме воды и затруднительности выделения и удаления только тяжелой воды. Для повышения КПД и энергосбережения в прототипе не использованы сезонные и суточные колебания температуры окружающего воздуха.
Предлагаемое изобретение направлено на устранение этих недостатков прототипа.
Заявляемая установка решает задачу очистки питьевой и пищевой воды от тяжелых изотопных модификаций воды, биологических и иных загрязнителей при низком энергопотреблении, простоте конструкции, эксплуатации и технического обслуживания.
В заявляемой установке технический результат: очистка воды от тяжелых изотопных модификаций воды и загрязнителей, достигается фильтрацией и озонированием. Очистка воды от растворенных и взвешенных загрязнителей достигается фильтрацией адсорбционным фильтром. При необходимости фильтр может содержать ионообменные смолы умягчения воды. Часть биологических загрязнителей устраняется тем же фильтром, а оставшаяся часть и установка очистки воды обрабатывается озоном. Тяжелая вода имеет более высокую температуру замерзания, чем легкая вода [1, 2]. В предлагаемой установке очистки воды выделение и удаление тяжелой воды достигается ее заморозкой с последующей фильтрацией образовавшихся кристаллов льда. После слива легкой воды кристаллы тяжелой воды остаются в емкости как собранный, отфильтрованный или осевший загрязнитель, тают или растапливаются, после чего тяжелая вода стекает в канализацию.
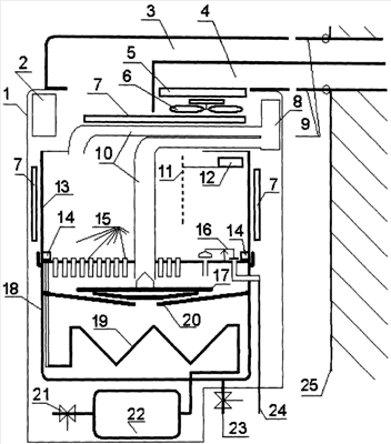
Чертеж поясняет устройство, взаимодействие и работу основных составляющих частей автоматической установки очистки воды. Источник холода (холодильник) может быть компрессионного, адсорбционного и термоэлектрического типов, в зависимости от производительности и габаритов установки очистки воды.
На чертеже не изображены информационные, электрические, силовые и механические линии связи, теплоизоляционные элементы и электрические информационные датчики состояния конструктивных элементов и параметров процесса очистки воды. Число и типы датчиков зависят от назначения и производительности предлагаемой установки и могут варьироваться. Например, в простейших бытовых устройствах очистки воды датчики расхода, давления, состояния клапанов и даже температуры отсутствуют.
Автоматизированная установка очистки воды имеет корпус 1, в котором размещен блок электропитания и управления 2, который управляет исполнительными устройствами по информации датчиков температуры, давления, электропроводности, уровня, расхода и состояния и датчика кристаллизации 12. К верхней секции корпуса подключен теплоизолированный воздуховод с каналами подвода воздуха 4 и отвода воздуха 3. Автоматические или ручные заслонки 9 предназначены для использования холодного или неиспользования теплого уличного воздуха для охлаждения воды. В верхней секции корпуса имеются: воздушный фильтр 5, вентилятор 6, воздушные трубки 10, компрессор и озонатор. На чертеже исполнение озонатора и компрессора изображено в виде блока озонатора-компрессора 8 [4].
Вокруг металлической емкости кристаллизации 13 установлены теплообменники 7, а внутри емкости расположен сетчатый фильтр 11, который имеет возможность перемещения и имеет механическую связь с датчиком кристаллизации 12, который в свою очередь имеет возможность перемещения по вертикали. На стенке емкости кристаллизации расположен тороидальный рассеиватель обрабатываемой воды 14, а в дне емкости кристаллизации имеется множество рассеивателей охлаждающей воздушной смеси 15. Имеется поплавковый клапан слива тяжелой воды 16. Емкость кристаллизации 13 закрывает дном накопительную емкость для очищенной воды 18, в которой установлен поплавковый клапан слива легкой воды 17, расположенный на седле 20, и теплообменник 19. Седло 20 образует полость и дополнительно является теплоизолятором. К установке очистки воды подведен трубопровод подачи воды с клапаном 21, имеется фильтр 22, трубопровод расхода легкой воды и ручной кран 23 и трубопровод слива тяжелой воды 24.
Установка очищает воду следующим образом.
Воздуховод направляет в установку холодный уличный воздух через фильтр 5, засасываемый вентилятором 6 из-за стены здания 25. После включения установки компрессор 8 подает холодный или охлажденный воздух по воздуховоду 10, снизу, через рассеиватели 15, в емкость кристаллизации 13, создавая под ней высокое давление воздуха. При этом происходит перекрытие поплавковым клапаном 16 трубопровода слива тяжелой воды 22 и клапаном 17 отверстие слива в накопительную емкость 18. Вода на очистку подается из водопровода клапаном 21, очищается и при необходимости умягчается фильтром 22, и протекает по теплообменнику 19, охлаждаясь от ранее полученной легкой воды. Обрабатываемая вода поступает в емкость кристаллизации 13, через тороидальный рассеиватель воды 14, заполняя ее до уровня, заданного датчиком кристаллизации 12. Повышенное давление под емкостью кристаллизации 13 препятствует вытеканию воды через рассеиватели воздушной смеси 15, запирает поплавковый клапан 16 и прижимает поплавковый клапан 17 к седлу 20. Воздух обдувает наружные поверхности теплообменников 7 и поверхность емкости кристаллизации. Вода охлаждается и через стенки емкости теплообменниками 7. Всплывающие пузырьки воздуха интенсивно охлаждают и создают циркулирующий поток воды. При достижении температуры 4°С включается озонатор. Теплообменники 7 и озоно-воздушная смесь охлаждают очищаемую воду, до окончания кристаллизации тяжелых изотопных модификаций воды. Происходит кристаллизация и образование льдинок тяжелой воды, которые в основном скапливаются на сетчатом фильтре 11. При этом возрастает его гидравлическое сопротивление циркулирующему потоку воды, фильтр 11 смещается и механически приподнимает датчик 12, а датчик кристаллизации 12 выдает сигнал об окончании процесса заморозки тяжелой воды.
При положительных температурах наружного воздуха озоно-воздушная смесь циркулирует через озонатор – компрессор 8. При отрицательных температурах наружного воздуха, для экономии электроэнергии, для охлаждения очищаемой воды используется только воздух, забираемый из-за стены здания 25. Направление потока воздуха определяют заслонки 9. После образования кристаллов льда тяжелой воды блок управления 2 выключает компрессор, давление в емкости 13 и под ней выравнивается. Легкая вода через рассеиватели 15 вытекает, поплавковый клапан 17 всплывает, и вода стекает в накопительную емкость 18 для употребления по трубопроводу 23. После слива легкой воды поплавок клапана тяжелой воды 16 открывает сливное отверстие линии слива 24. Рассеиватели 15 при сливе задерживают взвешенную часть кристаллов тяжелой воды, которые в основном скапливаются на сетчатом фильтре 11. После таяния кристаллов тяжелой воды, она вытекает по линии 24. После расхода некоторого объема легкой воды и появления в накопительной емкости места для новой порции легкой воды, цикл очистки воды автоматически повторяется.
Озонированием очищаемой воды достигается ее биологическое обеззараживание. Легкая вода способствует развитию микроорганизмов, и озонирование используется для обработки ее и накопительной емкости. Озонирование проводится после охлаждения очищаемой воды до температуры 4°С, перед кристаллизацией тяжелой воды и при достижении необходимой концентрации или времени озонирование прекращается. После фильтрации озонированная вода сливается в накопительную емкость. Кратковременным озонированием предотвращается развитие микроорганизмов в установке в целом. Седло 20 клапана 17 является дополнительным теплоизолятором и повышает КПД установки. При необходимости повышения производительности установки, кристаллы тяжелой воды, оставшиеся на дне емкости кристаллизации 13, переключением режима работы теплообменников, растапливаются теплым воздухом из компрессора 8 и сливаются в канализацию. Заявляемая установка очистки воды имеет 1 электромагнитный или пневматический клапан заливки воды на очистку, а слив легкой и тяжелой воды происходят поочередно после завершения предыдущего этапа.
От прототипа конструкция предлагаемой установки очистки воды имеет множество отличительных особенностей. Благодаря отличительным особенностям конструкции заявляемая установка очистки воды проводит заморозку тяжелой воды по объему очищаемой воды. Охлаждение очищаемой воды проводится с границ емкости, а также объемным охлаждением пузырьками холодной уличной или охлажденной воздушной или озоно-воздушной смеси, до температуры окончания кристаллизации всех тяжелых изотопных модификаций воды. Причем охлаждающая воздушная смесь подается в объем 50-70% от объема очищаемой воды, что приводит к образованию потока и циркуляции очищаемой воды с интенсивным теплообменом. Циркуляция устраняет возможность перекристаллизации воды или образования монолитного льда и собирает кристаллы льда тяжелой воды в области перед и на сетчатом фильтре. Сетчатый фильтр расположен в верхней части воды, над областью, где нет рассеивателей воздушной смеси, на вертикальной границе зоны охлаждения воды воздухом, и имеет возможность передвижения по горизонтали. Его смещение вызывает смещение по вертикали контактов датчика кристаллизации, что обеспечивает точность выдачи сигнала. Наличие теплоизолированного воздуховода с заслонками, воздушного фильтра и вентилятора, а также сетчатого фильтра, механически связанного с датчиком кристаллизации, является отличительной особенностью предлагаемой установки. Охлаждающая воздушная смесь подается компрессором, а распределяется в объеме очищаемой воды посредством рассеивателей. Множество рассеивателей также выполняют функцию фильтра кристаллов тяжелой воды и позволяют сливать легкую воду в накопительную емкость без применения специального фильтра. Конструкция емкости кристаллизации и накопительной емкости с поплавковыми клапанами и рассеивателями воздушной смеси и тороидальным рассеивателем воды, воздушным компрессором также являются отличительной особенностью. Другой отличительной особенностью является датчик кристаллизации тяжелой воды, с двойной функцией, и определенным местонахождением. Для повышения точности определения времени заморозки тяжелой воды датчик кристаллизации расположен в области, где нет рассеивателей воздушной смеси, и имеет возможность механического смещения вверх по вертикали под воздействием сетчатого фильтра. Этот датчик также выполняет функцию датчика уровня воды в емкости кристаллизации. Отличительной особенностью является и то, что заявляемая установка содержит озонатор и упомянутый компрессор, которые посредством озоно-воздушной смеси охлаждают и обеззараживают воду и установку. Озонированием очищаемой воды достигается ее биологическое обеззараживание. Озонирование проводится однократно, при охлаждении очищаемой воды до температуры 4°С, и при достижении необходимой концентрации или времени прекращается. Далее озонированная легкая вода сливается в накопительную емкость. Кратковременным озонированием предотвращается развитие микроорганизмов в воде и установке. Отличительной особенностью является наличие теплообменника, предназначенного для предварительного охлаждения очищаемой воды, теплообменом с ранее полученной легкой водой. Вместе с клапаном слива легкой воды и его седлом, которые имеются в накопительной емкости, они повышают КПД установки. В емкости кристаллизации возможен подогрев воздуха переключением режима работы теплообменников, что ускоряет таяние льда тяжелой воды и повышает производительность установки. Объемное, циркуляционное охлаждение очищаемой воды, и с границ емкости и пузырьками озоно-воздушной смеси, устраняет перекристаллизацию, способствует одновременной кристаллизации и фильтрации изотопных модификаций воды, из объема очищаемой воды, предотвращает образование монолитного льда легкой и тяжелой воды. Заявляемая установка очистки воды позволяет обеззараживать и удалять фильтрацией из очищаемой воды загрязнители и воду, образованную тяжелыми изотопами водорода и кислорода, и по сравнению с прототипом, позволяет снизить энерго- и трудо- затраты на водоподготовку с использованием природных температурных условий. Для обеспечения легкой водой малообеспеченных слоев населения возможно производство простейшей установки, работающей при минусовых температурах уличного воздуха. Такая установка содержит две емкости, установленные одна над другой, компрессор, блок питания, блок управления и сигнализации. В этой установке заливка очищаемой, слив легкой и удаление тяжелой воды производится вручную в соответствии с сигнализацией.
В зимнее время энергозатраты могут снизиться до суммарных затрат на перекачку воды и работу блока управления, вентилятора и озонатора-компрессора. Изготовленная установка производит замораживание тяжелой воды и ее слив в канализацию в пределах 1,5-2% от массы очищаемой воды. Полученное значение объясняется смачиванием легкой водой кристаллов тяжелой воды и кристаллизацией небольшого количества легкой воды. Установка очистки воды имеет простую и надежную конструкцию при невысокой себестоимости, что позволяет ее широко применять в быту.
Источники информации
1. “Беседа о самом необыкновенном в мире веществе”, Детская энциклопедия, Т.3. стр.511-523, Изд-во “Просвещение”, 1966 г.
2. Доклад А.А. Тимакова “Основные эффекты легкой воды” на 8-й Всероссийской научной конференции по теме “Физико-химические процессы при селекции атомов и молекул”, 6-10 ноября 2003 г.
3. “Установка для очистки питьевой воды”, публикация №2128144 RU заявки на изобретение Рег. №97113946/25.
4. “Озонатор-компрессор”, патент №2145569 RU заявки на изобретение Рег. №9101313.
Формула изобретения
Установка очистки питьевой воды, содержащая две емкости, установленные одна над другой и сообщенные между собой линией, содержащей запорный элемент, и холодильный агрегат, включающий компрессор, и регулирующий орган, отличающаяся тем, что имеет датчики и блок питания и управления сигнальными и запорными элементами линий подачи и слива воды, теплоизолированный воздуховод с заслонками и воздушный фильтр, вентилятор, озонатор, компрессор воздуха с воздушными трубками, фильтр очистки воды и рассеиватель воды в форме тора, установленного на дне верхней емкости, причем верхняя емкость кристаллизации тяжелой воды дном закрывает нижнюю накопительную емкость, между верхней и нижней емкостями установлен клапан слива легкой воды, который является и теплоизолятором, а между дном верхней емкости и клапаном имеется полость для охлаждающего воздуха, при этом теплообменники охлаждения расположены вокруг верхней емкости, в дне которой имеются рассеиватели холодной озоновоздушной смеси в объеме 50-70% от объема охлаждаемой воды, рассеиватели являются формирователями циркулирующего потока воды, а также в верхней емкости имеются клапан слива и датчик кристаллизации тяжелой воды, причем датчик кристаллизации является также датчиком уровня воды, расположен над областью, где нет рассеивателей воздушной смеси, имеет возможность вертикального перемещения под воздействием сетчатого фильтра льда тяжелой воды, сетчатый фильтр расположен в верхней части воды на вертикальной границе зоны охлаждения воды воздухом, а в нижней емкости имеется теплообменник предварительного охлаждения очищаемой воды.
РИСУНКИ
|
|