|
|
(21), (22) Заявка: 2007117467/15, 10.05.2007
(24) Дата начала отсчета срока действия патента:
10.05.2007
(46) Опубликовано: 27.03.2009
(56) Список документов, цитированных в отчете о поиске:
GB 408458 A, 12.04.1934. SU 936998 A1, 23.06.1982. RU 2069088 C1, 20.11.1996. US 5473903 A1, 12.12.1995. JP 11-116225 A, 27.04.1999.
Адрес для переписки:
644005, г.Омск, ул. Избышева, 3, корп.2, а/я 3919, ОАО “НИИТКД”
|
(72) Автор(ы):
Рубежанский Петр Николаевич (RU), Головаш Анатолий Нойович (RU), Макаренко Николай Григорьевич (RU), Кураков Александр Владимирович (RU)
(73) Патентообладатель(и):
ОАО “Научно-исследовательский институт технологии контроля и диагностики железнодорожного транспорта” (ОАО “НИИТКД”) (RU), Рубежанский Петр Николаевич (RU)
|
(54) АППАРАТ ДЛЯ ПРОИЗВОДСТВА ГРАНУЛ СУХОГО ЛЬДА
(57) Реферат:
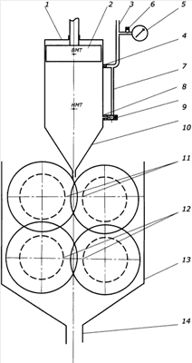
Изобретение может быть использовано для очистки различных поверхностей и внутренних полостей агрегатов подвижного железнодорожного состава от загрязнений и нежелательных наслоений. В положении поршня 2 в верхней мертвой точке через канал 3 подают жидкую фазу углекислоты. Пройдя дроссель 4, жидкая углекислота преобразуется в полости корпуса 1 в двухфазную среду, состоящую из легких капель и газообразного диоксида углерода. Ход поршня 2 вниз перекрывает подачу углекислоты и вызывает повышение давления, что создает условия появления центров кристаллизации. С целью формирования гранул аппарат дополнительно снабжен парой находящихся в зацеплении формовочных шестерен 11, установленных на выходе из полости корпуса 1, с возможностью вращения от привода и возможностью изменения межцентрового расстояния. Под формовочными шестернями 11 расположена введенная с ними в зацепление пара шестерен 12, имеющих заостренные вершины зубьев для прочистки межзубных промежутков формовочных шестерен. Изобретение позволяет обеспечить возможность оперативной регулировки гранулометрического состава и плотности вырабатываемых гранул. 2 з.п. ф-лы, 1 ил.
Изобретение относится к технологии очистки различных поверхностей и внутренних полостей агрегатов подвижного железнодорожного состава от загрязнений и нежелательных наслоений типа старых лако-красочных покрытий, ржавчины, горючесмазочных материалов, закоксованных налетов и т.д.
Однако технология очистки гранулами сухого льда в зависимости от области применения неизмеримо более универсальна указанного применения в технике. Например, эта технология может быть с успехом применена для чистки ковровых изделий, мягкой мебели, где наряду с исключением использования вредных химических веществ достигается высокая степень удаления органических загрязнений, дезинфекции, избавления от бытовых насекомых и клещей.
Известен аппарат для производства гранул сухого льда, так называемый пелетайзер серии РРАН-В, разработанный фирмой Cold Jet Inc. (США), содержащий объемный поршневой вытеснитель, связанный с источником жидкой углекислоты и снабженный специальной запатентованной экструзионной матрицей, разделяющей на отдельные гранулы в процессе экструзии массу вытесняемого поршнем снега, полученного в результате резкого сброса давления за счет обратного хода поршня (см. http-www.co2blast.com-equipment-pltizers.phtml.htm.url).
Недостаток известного пелетайзера состоит в том, что его экструзинная матрица, являясь самым нагруженным узлом, должна обладать повышенной прочностью и износостойкостью, что определяет высокую стоимость ее изготовления, но не гарантирует долговечности. Необходимость изготовления гранул другой формы, например с острыми гранями, требует изготовления дополнительных матриц, что еще более повышает стоимость комплекта, а в технологическом процессе увеличивает подготовительно-заключительное время на смену матриц для выработки гранул разных типов. Кроме того, снег, экструдированный через фильеры матрицы, формуется в удлиненные заготовки, которые либо произвольно разламываются на гранулы неопределенной длины, что ухудшает гранулометрический состав, либо отсекаются дополнительным механизмом, введение которого усложняет аппарат в целом.
Еще один недостаток известного пелетайзера заключается в том, что экструзионный процесс в силу свойств матрицы обеспечивает одинаковую достаточно высокую плотность гранул, тогда как в отдельных случаях, например для снятия легких загрязнений, требуются более «мягкие» гранулы.
Задача изобретения состоит в том, чтобы не усложняя и не удорожая конструкцию аппарата, обеспечить возможность оперативной регулировки гранулометрического состава и плотности вырабатываемых гранул.
Поставленная задача решается за счет того, что в известную совокупность признаков: аппарат для изготовления гранул сухого льда, содержащий корпус с установленным во внутренней полости поршнем, канал подачи жидкой углекислоты в полость, средство формования гранул, привод поршня, введены обладающие неочевидностью новые признаки: канал подачи снабжен дросселем, полость поршня в зоне нижней мертвой точки поршня связана дополнительным каналом, в котором установлен дроссель и перепускной клапан, с каналом подачи жидкой углекислоты, средство формования гранул выполнено в виде пары находящихся в зацеплении формовочных шестерен, установленных на выходе из полости корпуса, с возможностью вращения от привода и возможностью изменения межцентрового расстояния, при этом под формовочными шестернями расположена введенная с ними в зацепление пара шестерен с более мелким зубом для прочистки межзубных промежутков формовочных шестерен.
В вариантах могут быть использованы дополнительные признаки: соосно основной паре формовочных шестерен установлены пары дополнительных формовочных шестерен с возможностью вращения от привода и возможностью изменения межцентрового расстояния; каждая из дополнительных пар шестерен имеет параметры зубьев и впадин, отличающиеся от параметров других соосно установленных пар.
Дросселирование жидкой углекислоты перед подачей ее в полость аппарата создает предварительные условия (концентрация и давление паров углекислоты) для образования легких (до 100 мкм) капель.
Введение дополнительного канала, в котором установлен дроссель и перепускной клапан, связывающего полость поршня в зоне нижней мертвой точки поршня с каналом подачи жидкой углекислоты, обеспечивает оптимальное давление в полости, при котором в двухфазной среде из капель формируются центры кристаллизации, происходит быстрый рост кристаллов льда, которые на завершающей стадии приобретают форму снежной крупы, а затем массовое выпадение «снега». Кроме того, излишняя газовая фаза, не участвующая в снегообразовании, не сбрасывается в атмосферу как в прототипе, а подается на вход в полость, что повышает экономичность процесса по исходному продукту.
Указанные признаки за счет достаточно простых конструктивных решений опосредованно формируют возможность оперативной регулировки гранулометрического состава и плотности вырабатываемых гранул.
Формование гранул за счет пары находящихся в зацеплении формовочных шестерен, установленных на выходе из полости корпуса, с возможностью вращения от привода напрямую влияет на оперативную регулировку гранулометрического состава и плотности вырабатываемых гранул путем изменения межцентрового расстояния.
Пара шестерен с заостренными вершинами зубьев для прочистки межзубных промежутков формовочных шестерен – простое и эффективное средство, не допускающее залипапие гранул между зубьями.
Наличие пар дополнительных формовочных шестерен, каждая из которых имеет параметры зубьев и впадин, отличающиеся от параметров других соосно установленных пар, дает возможность без переналадки формующего узла, исключительно путем перемещения бункера со «снегом» на соответствующую пару получать гранулы разной длины и сечения.
Изобретение поясняется чертежом.
Аппарат для производства гранул сухого льда содержит корпус 1 с установленным во внутренней полости поршнем 2, канал 3 подачи жидкой углекислоты в полость, привод поршня, например кривошиппо-шатунный (не показан), канал 3 подачи снабжен дросселем 4, манометром 5 и предельным клапаном 6, полость в зоне нижней мертвой точки (HMT) поршня 2 связана дополнительным каналом 7, в котором установлен регулируемый дроссель 8 и перепускной клапан 9, связанные с каналом 3 подачи жидкой углекислоты, конус 10 корпуса 1, пару находящихся в зацеплении формовочных шестерен 11, установленных под конусом 10, с возможностью вращения от привода и возможностью изменения межцентрового расстояния, при этом под формовочными шестернями 11 расположена введенная с ними в зацепление пара шестерен 12, имеющих заостренные вершины зубьев для прочистки межзубных промежутков формовочных шестерен 11, пары шестерен 11, 12 расположены в накопителе 13 гранул, имеющем разгрузочное устройство 14.
Аппарат работает следующим образом. В положении поршня 2 в верхней мертвой точке (ВМТ) через канал 3 подается жидкая фаза углекислоты из стандартной емкости под номинальным давлением. Пройдя дроссель 4, жидкая углекислота преобразуется в полости корпуса 1 в двухфазную среду, состоящую из легких (до 100 мкм) капель и газообразного диоксида углерода. Ход поршня 2 вниз перекрывает подачу углекислоты и вызывает повышение давления, что наряду с величиной давления и температурой начала кристаллизации создает условия появления центров кристаллизации. При наличии в двухфазном потоке центров кристаллизации, за счет концентрации капель происходит быстрый рост кристаллов льда. Давление по мере хода поршня 2 вниз к нижней мертвой точке (HMT) сохраняется близким к постоянной величине за счет дросселирования двухфазной среды через регулируемый дроссель 8 и удаления излишнего объема двухфазной среды через перепускной клапан 9 на вход в полость корпуса.
Это обстоятельство способствует сохранению оптимальных условий образования центров кристаллизации на протяжении прямого хода поршня 2 к HMT. При обратном ходе поршня 2 вверх к ВМТ давление в полости под поршнем 2 падает, кристаллы льда адсорбируют на себе капли и на завершающей стадии приобретают форму снежной крупы («снега»). Полученный таким образом «снег» выпадает в конус 10 полости корпуса 1 и затем подается на формовку.
Формовка гранул происходит в результате прессования рыхлого «снега» между соседними зубьями одной шестерни 11 зубом, входящим в зацепление, другой шестерни 11. При этом шестерни 11 сдвигают, увеличивая их межцентровое расстояние, чтобы вершина зуба не доходила до впадины на величину, необходимую формированию гранул. Другим вариантом формирования гранул является уменьшение высоты зуба при сохранении межцентрового расстояния. Сформованные гранулы покидают межзубное пространство шестерен 11 под действием силы своего веса или принудительно за счет воздействия шестерен 12, имеющих заостренные вершины зубьев. Изменяя межцентровое расстояние шестерен 11, можно получить гранулы другого размера и различной плотности.
Излишнее давление сбрасывается предельным клапаном 6, однако проходные сечения дросселей 4, 8 и момент срабатывание перепускного клапана 9 подобраны таким образом, что потери исходной углекислоты минимальны.
Пары дополнительных формовочных шестерен, установленных соосно основной паре формовочных шестерен 11, имеют другую форму зубьев, модуль, ширину и др. и могут быть установлены на одном валу с передачей крутящего момента через известные механизмы включения-отключения. При этом корпус 1, перемещаясь на другую пару шестерен, выдает гранулы другой формы.
Промышленная применимость предложенного изобретения обеспечивается возможностью неограниченного повторения заявленной совокупности признаков.
Формула изобретения
1. Аппарат для изготовления гранул сухого льда, содержащий корпус с установленным во внутренней полости поршнем, канал подачи жидкой углекислоты в полость, привод поршня, отличающийся тем, что канал подачи снабжен дросселем, полость поршня в зоне нижней мертвой точки поршня связана дополнительным каналом, в котором установлен дроссель и перепускной клапан, с каналом подачи жидкой углекислоты, аппарат дополнительно снабжен парой формовочных шестерен, находящихся в зацеплении, установленных на выходе из полости корпуса, с возможностью вращения от привода и возможностью изменения межцентрового расстояния, при этом под формовочными шестернями расположена введенная с ними в зацепление пара шестерен, имеющих заостренные вершины зубьев для прочистки межзубных промежутков формовочных шестерен.
2. Аппарат по п.1, отличающийся тем, что соосно основной паре формовочных шестерен установлены пары дополнительных формовочных шестерен с возможностью вращения от привода и возможностью изменения межцентрового расстояния.
3. Аппарат по п.2, отличающийся тем, что каждая из дополнительных пар шестерен имеет параметры зубьев и впадин, отличающиеся от параметров других соосно установленных пар.
РИСУНКИ
|
|