|
|
(21), (22) Заявка: 2007128175/11, 24.07.2007
(24) Дата начала отсчета срока действия патента:
24.07.2007
(46) Опубликовано: 27.03.2009
(56) Список документов, цитированных в отчете о поиске:
SU 623824 A1, 15.09.1978. SU 895919 A1, 07.01.1982. SU 499221 A1, 15.01.1976. DE 20102509 U, 17.05.2001.
Адрес для переписки:
129642, Москва, пр. Шокальского, 4, кв.107, П.В. Козуляеву
|
(72) Автор(ы):
Алейников Николай Сергеевич (RU), Барон Рудольф Исаакович (RU), Белоусов Александр Николаевич (RU), Бутылкин Игорь Петрович (RU), Оксер Леонид Виленович (RU)
(73) Патентообладатель(и):
Алейников Николай Сергеевич (RU), Барон Рудольф Исаакович (RU), Белоусов Александр Николаевич (RU), Бутылкин Игорь Петрович (RU), Оксер Леонид Виленович (RU)
|
(54) СПОСОБ МОНТАЖА ДЛИННОМЕРНЫХ КОНСТРУКЦИЙ
(57) Реферат:
Изобретение относится к строительству, в частности к оборудованию для посекционного монтажа башенных, мачтовых, трубчатых высотных сооружений. Способ монтажа длинномерных конструкций с помощью летательного аппарата включает последовательную подцепку секций монтируемой длинномерной конструкции к внешней подвеске летательного аппарата, их транспортировку к месту монтажа длинномерной конструкции и монтаж длинномерной конструкции путем установки секций друг на друга. При этом на подцепленной к летательному аппарату секции закреплены направляющие тросы. На каждой секции монтируют верхние и нижние стыковочные кронштейны, причем нижние стыковочные кронштейны выполняют с жесткими ловителями точной наводки, а верхние кронштейны – с приемными конусами. Направляющие тросы закрепляют перед подъемом каждой секции летательным аппаратом в выполненных в нижних кронштейнах отверстиях, во время монтажного зависания летательного аппарата, например вертолета, направляющие тросы пропускают сквозь выполненные в верхних стыковочных кронштейнах отверстия ранее смонтированной секции. Во время опускания летательного аппарата вручную выбирают слабину направляющих тросов до совмещения приемных конусов верхних стыковочных кронштейнов смонтированной секции с жесткими ловителями точной наводки нижних стыковочных кронштейнов монтируемой секции. Изобретение направлено на повышение точности и безопасности установки секций. 2 ил.
Изобретение относится к строительству, в частности к оборудованию для посекционного монтажа башенных, мачтовых, трубчатых высотных сооружений.
Известен способ монтажа длинномерных конструкций, осуществляемый с помощью вертолета (см., например, Опыт применения вертолета на строительно-монтажных работах, Москва, ЦБНТИ Минмонтажспецстроя СССР, 1971).
Недостатком данного способа является сложность его осуществления, обусловленная необходимостью использования ручного труда при развороте и наводке секций конструкции.
Известен также способ, заключающийся в том, что секции длинномерных конструкций последовательно поднимают с помощью вертолета и располагают над местом монтажа, а затем с помощью лебедок точно располагают монтируемую конструкцию над местом монтажа и таким образом устанавливают по вертикали друг на друга и соединяют между собой монтируемые длинномерные конструкции (см. авторское свидетельство SU №499221, кл. В66F 19/00, 15.01.1976).
Недостатком данного способа является невысокая точность установки секций, обусловленная колебаниями секций, подвешенных тросом к вертолету при снижении его высоты и опускании секций. Кроме того, установка секций также, как и в первом способе, требует использования ручного труда, необходимого для наводки устанавливаемой секции.
Наиболее близким к изобретению по технической сущности и достигаемому результату является способ монтажа длинномерных конструкций с помощью летательного аппарата, включающий последовательную подцепку секций монтируемой длинномерной конструкции к внешней подвеске летательного аппарата, их транспортировку к месту монтажа длинномерной конструкции и монтаж длинномерной конструкции путем установки секций друг на друга с последующей фиксацией секций в проектном положении, при этом на подцепленной к летательному аппарату секции закреплены направляющие тросы (см. авторское свидетельство SU №623824, кл. В66F 11/02, 15.09.1978).
Во время зависания вертолета нижние концы тросов, пропущенных на земле через монтируемую секцию, крепят к ранее установленной секции. Во время опускания вертолета с секцией осуществляется подтягивание траверсы лебедкой на борту вертолета с целью натяжения направляющих тросов до момента установки секции в проектное положение.
Недостатком данного способа является возможность смещения вертолета с секцией с монтажной вертикали, как следствие, появление значительных горизонтальных нагрузок на монтируемое сооружение и вертолет, что усложняет его пилотирование. Эти нагрузки, приложенные в зоне верхних фланцев ранее смонтированной секции, создают существенный и малоконтролируемый опрокидывающий момент на сооружение.
Натяжение направляющих тросов на всем периоде установки секции связывают вертолет, монтируемую секцию и сооружение в сложную плохо контролируемую динамическую систему, где человеческий фактор становится решающим.
Кроме того, в случае аварийной ситуации невозможно быстро отцепить направляющие тросы.
При любом натяжении тросы имеют поперечную податливость, что не обеспечит нормативную точность при монтаже секций; скорость опускания вертолета и скорость подъема траверсы бортовой лебедкой невозможно синхронизировать, в связи с чем натяжение направляющих тросов будет переменным.
Задачей, на решение которой направлено настоящее изобретение, является исключение горизонтальных нагрузок на соединительные элементы соединяемых длинномерных конструкций в процессе монтажа.
Техническим результатом, достигаемым в результате реализации изобретения, является и повышение точности и безопасности установки секций.
Указанная задача решается, а технический результат достигается за счет того, что способ монтажа длинномерных конструкций с помощью летательного аппарата включает последовательную подцепку секций монтируемой длинномерной конструкции к внешней подвеске летательного аппарата, их транспортировку к месту монтажа длинномерной конструкции и монтаж длинномерной конструкции путем установки секций друг на друга с последующей фиксацией секций в проектном положении, при этом на подцепленной к летательному аппарату секции закреплены направляющие тросы, при этом на каждой секции монтируют верхние и нижние стыковочные кронштейны, причем нижние стыковочные кронштейны выполняют с жесткими ловителями точной наводки, а верхние кронштейны – с приемными конусами, при этом направляющие тросы закрепляют перед подъемом каждой секции летательным аппаратом в выполненных в нижних стыковочных кронштейнах отверстиях, во время монтажного зависания летательного аппарата, например вертолета, направляющие тросы пропускают сквозь выполненные в верхних стыковочных кронштейнах отверстия ранее смонтированной секции, во время опускания летательного аппарата вручную выбирают слабину направляющих тросов до совмещения приемных конусов верхних стыковочных кронштейнов смонтированной секции с жесткими ловителями точной наводки нижних стыковочных кронштейнов монтируемой секции, после чего с помощью последних монтируемая секция фиксируется в проектном положении относительно смонтированной секции.
В ходе проведенных исследований было выявлено, что представляется возможным проводить монтаж длинномерных конструкций без наведения секций точно в проектное положение непосредственно монтажниками. Данный способ монтажа может быть использован при вертолетном монтаже. Однако в отличие от кранового монтажа монтаж длинномерных конструкций отличается коротким монтажным циклом, что связано с ограничением времени зависания вертолета над местом монтажа и сравнительно большими внешними динамическими нагрузками (колебания и скорость опускания) при установке секций. Проведение монтажа с использованием вертолета и стыковочных кронштейнов с приемными конусами и направляющими тросами позволяет практически полностью компенсировать влияние динамических нагрузок и точно устанавливать секции друг на друга, а также сократить время, необходимое на монтаж секций, и повысило безопасность работ при проведении монтажа с использованием вертолета.
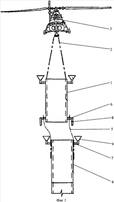
Сущность изобретения поясняется чертежами, где на фиг.1 показана последовательность установки секции с использованием вертолета, а на фиг.2 показан стыковочный кронштейн соединяемых секций в процессе монтажа одной секции на другую.
Секция 1 длинномерной монтируемой конструкции подвешена на тросах 2 к летательному аппарату 3, например вертолету, для ее транспортировки к месту монтажа и установки на другую ранее установленную секцию 4. На подцепленной к летательному аппарату 3 секции 1 закреплены направляющие тросы 5. На каждой монтируемой секции 1 и 4 монтируют верхние 6 и нижние 7 стыковочные кронштейны. Нижние стыковочные кронштейны 7 выполняют с жесткими ловителями 8 точной наводки, а верхние стыковочные кронштейны 6 – с приемными конусами 9. В каждом нижнем стыковочном кронштейне 7 и в каждом верхнем стыковочном кронштейне 6 выполнено отверстие 10 для пропуска через него направляющего троса 5.
Способ осуществляется на примере монтажа мачтово-башенных сооружений следующим образом.
При подготовке каждой секции 1 на земле на каждой секции 1 монтируют верхние 6 и нижние 7 стыковочные кронштейны. На нижних стыковочных кронштейнах 7 каждой секции 1 закрепляют направляющие тросы 5, каждый из которых пропущен через отверстие 10 каждого нижнего стыковочного кронштейна 7. На верхнюю часть каждого направляющего троса 5 устанавливают зажим 11 с затяжкой, обеспечивающей его освобождение усилием монтажника. Монтируемые секции 1 длинномерной конструкции последовательно подцепляют к внешней подвеске летательного аппарата 3 и последним транспортируются к месту монтажа длинномерной конструкции, где транспортируемую секцию 1 устанавливают на другую ранее установленную секцию 4 и затем секции 1 и 4 фиксируют относительно друг друга в проектном положении. При этом во время монтажного висения летательного аппарата 3 направляющие тросы 5 пропускают сквозь выполненные в верхних стыковочных кронштейнах 6 отверстиях 10 ранее смонтированной секции 4. Во время опускания летательного аппарата 3 вручную выбирают слабину направляющих тросов 5 до совмещения приемных конусов 9 верхних стыковочных кронштейнов 6 смонтированной секции 4 с жесткими ловителями 8 точной наводки нижних стыковочных кронштейнов 7 монтируемой секции 1, что обеспечивает проектную точность установки монтируемой секции 1 на ранее смонтированную секцию 4. После этого с помощью верхнего 6 и нижнего 7 стыковочных кронштейнов, удерживающих в проектном положении секции 1 и 4 относительно друг друга, монтируемая секция 1 фиксируется относительно смонтированной секции 4.
В случае аварийной (нештатной) ситуации при необходимости возврата секции 1 на полигон сборки летательный аппарат 3 (вертолет) поднимает секцию 1 вместе с направляющими тросами 5, а в случае их заклинивания снимает направляющие тросы 5, оставляя их на смонтированной секции 4.
Настоящее изобретение может быть использовано при возведении длинномерных изделий независимо от их назначения, в частности при монтаже ретрансляторов мобильной связи, опор линий электропередачи, телевизионных вышек и других длинномерных конструкций.
Формула изобретения
Способ монтажа длинномерных конструкций с помощью летательного аппарата, включающий последовательную подцепку секций монтируемой длинномерной конструкции к внешней подвеске летательного аппарата, их транспортировку к месту монтажа длинномерной конструкции и монтаж длинномерной конструкции путем установки секций друг на друга с последующей фиксацией секций в проектном положении, при этом на подцепленной к летательному аппарату секции закреплены направляющие тросы, отличающийся тем, что на каждой секции монтируют верхние и нижние стыковочные кронштейны, причем нижние стыковочные кронштейны выполняют с жесткими ловителями точной наводки, а верхние стыковочные кронштейны – с приемными конусами, при этом направляющие тросы закрепляют перед подъемом каждой секции летательным аппаратом в выполненных в нижних стыковочных кронштейнах отверстиях, во время монтажного зависания летательного аппарата, например вертолета, направляющие тросы пропускают сквозь выполненные в верхних стыковочных кронштейнах отверстия ранее смонтированной секции, во время опускания летательного аппарата вручную выбирают слабину направляющих тросов до совмещения приемных конусов верхних стыковочных кронштейнов смонтированной секции с жесткими ловителями точной наводки нижних стыковочных кронштейнов монтируемой секции, после чего с помощью последних монтируемая секция фиксируется в проектном положении относительно смонтированной секции.
РИСУНКИ
|
|