|
(21), (22) Заявка: 2007115536/12, 30.11.2004
(24) Дата начала отсчета срока действия патента:
30.11.2004
(46) Опубликовано: 27.03.2009
(56) Список документов, цитированных в отчете о поиске:
DE 20320417 U1, 14.10.2004. ЕР 0084638 А, 03.08.1983. ЕР 0230252 А, 29.07.1987. DE 20320417 U1, 14.10.2004. DE 20320413 U1, 26.08.2004. SU 1766840 А, 07.10.1992.
(85) Дата перевода заявки PCT на национальную фазу:
02.07.2007
(86) Заявка PCT:
FR 2004/003073 (30.11.2004)
(87) Публикация PCT:
WO 2006/058969 (08.06.2006)
Адрес для переписки:
191036, Санкт-Петербург, а/я 24, “НЕВИНПАТ”, пат.пов. А.В.Поликарпову
|
(72) Автор(ы):
БУГАМОН Жан-Луи (FR)
(73) Патентообладатель(и):
РЕКСАМ ДИСПЕНСИНГ СИСТЕМС (FR)
|
(54) НАСОС ДЛЯ РАЗДАЧИ ЖИДКОГО ВЕЩЕСТВА БЕЗ ДОСТУПА ВОЗДУХА И СООТВЕТСТВУЮЩИЙ ДОЗАТОР
(57) Реферат:
Изобретение относится к дозаторам, на резервуаре которых устанавливают насос. Резервуар может содержать косметические средства или фармацевтические препараты в виде жидкости, крема или геля. Насос имеет цилиндрический корпус, который в нижней части открыт, а в верхней части закрыт поршнем, образованным втулкой. Втулка с одной стороны установлена вокруг нижней части центральной трубки-жиклера с осевым зазором между двумя упорами, соответственно, верхним и нижним, напротив, по меньшей мере, одного эжекционного отверстия, выполненного в указанной трубке. Втулка выполнена с возможностью скольжения с фрикционным контактом с внутренней стенкой указанного корпуса. В дозаторе верхний конец трубки-жиклера насоса соединен с выпускным каналом, выполненным в кнопке. Изобретения обеспечивают плавную и равномерную выдачу вещества, за счет чего можно контролировать дозирование. 2 н. и 10 з.п. ф-лы, 6 ил.
Изобретение относится к насосу для раздачи жидкого вещества без доступа воздуха и к дозатору, в котором используется такой насос.
Если говорить более конкретно, указанный насос предназначен для установки на резервуаре с косметическими средствами или фармацевтическими препаратами в виде жидкости, крема или геля, который закрыт в нижней части специальным подвижным днищем.
Подобные насосы традиционно имеют корпус, в который помещен поршень, закрывающий в положении, соответствующем концу хода, выполненное в нижней части этого корпуса отверстие и снабженный впускным клапаном, например, шарового типа.
В частности, насос, описанный в Европейском патентном документе ЕР 0737628, не имеет ни впускного клапана, ни корпуса, причем поршень перемещается непосредственно в контакте со стенкой горлышка резервуара. Однако этот поршень образован упруго деформируемой мембраной, процесс изготовления которой довольно сложен и требует значительных затрат; кроме того, указанная мембрана характеризуется недостаточной механической прочностью и случайным характером стабильности размеров.
Кроме сказанного, при использовании традиционных насосов, если надо добиться выхода вещества, приходится прикладывать к нему относительно высокое давление, что предполагает необходимость значительного хода поршня и часто сводится к мощному выбросу излишне больших доз.
Пользователи же предпочитают, чтобы выдача вещества происходила достаточно плавно и равномерно, так чтобы можно было контролировать его дозирование.
Таким образом, цель изобретения состоит в том, чтобы устранить технические проблемы, возникающие при работе с существующими до настоящего времени насосами рассматриваемого типа.
Указанная цель достигается с помощью насоса, имеющего цилиндрический корпус, который в нижней части открыт, а в верхней закрыт поршнем, образованным втулкой, которая, с одной стороны, установлена вокруг нижней части центральной трубки-жиклера с осевым зазором между двумя упорами, соответственно, верхним и нижним, напротив по меньшей мере одного эжекционного отверстия, выполненного в указанной трубке, а, с другой стороны, выполнена с возможностью скольжения с фрикционным контактом с внутренней стенкой указанного корпуса.
В соответствии с одним из предпочтительных признаков, указанный корпус имеет в верхней части внутреннюю гильзу, которая имеет верхнее кольцо, предназначенное для обеспечения направленного перемещения трубки-жиклера, и нижнее кольцо, предназначенное для блокирования поршня в положении закрытия эжекционного отверстия.
В соответствии с одним из частных вариантов осуществления, указанная втулка поршня имеет внутреннее цилиндроконическое кольцо, верхний и нижний участки которого поочередно, в зависимости от давления жидкости, входят в контакт с верхним и нижним упорами трубки-жиклера с обеспечением открытия или закрытия эжекционного отверстия с обеспечением герметичности по принципу клапана.
Предпочтительно, чтобы верхняя поверхность указанной втулки имела круглое ребро жесткости, которое ограничивает, вместе с верхним участком внутреннего кольца, канавку, в которую заходит нижнее кольцо для блокирования поршня.
В соответствии с другим вариантом, на нижнем конце трубки-жиклера расположено усеченно-коническое основание с плоской кромкой, верхняя поверхность которого образует нижний упор для втулки указанного поршня под плоскостью расположения эжекционного отверстия.
В соответствии с еще одним вариантом, на нижней части трубки-жиклера расположен периферийный заплечик, нижняя поверхность которого образует верхний упор для втулки указанного поршня над плоскостью расположения эжекционного отверстия.
В соответствии с одним из признаков изобретения, указанный корпус жестко связан посредством поперечной распорки с периферийным фланцем для крепления на резервуаре.
Целесообразно, чтобы указанный фланец имел продолжение в направлении вверх в виде выступающего буртика, на который снаружи может надеваться кожух и в который изнутри может вводиться юбка кнопки дозатора.
Предусмотрена также такая конструкция, в соответствии с которой указанная поперечная распорка может иметь боковую лыску, образующую ограничитель хода для юбки кнопки, что позволяет задать определенный объем дозирования.
Предметом изобретения является также дозатор, содержащий предлагаемый насос и резервуар с дозируемым веществом.
В соответствии с одним из предпочтительных признаков этого дозатора, верхний конец трубки-жиклера насоса соединен с выпускным каналом, выполненным в кнопке, которая имеет наружную юбку и внутреннюю цилиндрическую муфту, выполненную с возможностью надевания со скольжением на указанный корпус с заключением винтовой возвратной пружины во внутреннем объеме, а резервуар герметично закрыт в нижней части с помощью подвижного днища.
В соответствии с одним из конкретных признаков изобретения, сопротивление трения между втулкой и внутренней стенкой корпуса насоса, с одной стороны, и сопротивление трения между подвижным днищем и стенкой резервуара, с другой стороны, превышают сопротивление трения между втулкой и трубкой указанного насоса.
Предпочтительно, чтобы указанное подвижное днище имело центральную чашечку, профиль которой является взаимодополняющим по отношению к профилю усеченно-конического основания трубки-жиклера и/или нижней части указанного корпуса насоса.
Благодаря тому, что количество компонентов насоса согласно изобретению сведено к минимуму, он имеет упрощенную чрезвычайно компактную конструкцию
В частности, корпус насоса представляет собой открытый в нижней части цилиндр, не содержащий никаких клапанов, что позволяет облегчить процесс изготовления методом формования.
Выдача вещества производится достаточно плавно, с соблюдением эргономических требований. Пользователь может регулировать ее посредством легкого нажатия на кнопку дозатора без необходимости приложения к веществу слишком большого давления.
Дело в том, что диаметр нижней части корпуса соответствует диаметру поршня, так что не накладывается никаких ограничений на поверхность сжатия или сечение прохождения вещества в зоне захвата.
В результате достигается преимущество, заключающееся в том, что этого низкого давления оказывается недостаточно для того, чтобы произошел возврат подвижного днища, которое остается, таким образом, постоянно в контакте с находящимся в резервуаре веществом.
Благодаря этим мерам устраняется опасность нарушения функционирования дозатора и сохраняется должная герметичность резервуара.
Сущность изобретения более четко явствует из нижеследующего подробного описания со ссылками на прилагаемые чертежи, на которых:
фиг.1А и 1В представляют собой продольные разрезы конструкции в соответствии с одним из вариантов осуществления насоса согласно изобретению, соответственно, в нерабочем положении (с кожухом) и в положении раздачи (без кожуха);
фиг.2-5 представляют собой детализированные виды в разрезе насоса, показанного на фиг.1А и 1В, на различных этапах раздачи вещества;
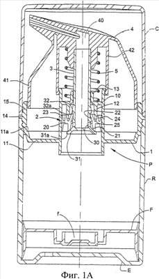
Показанный на фиг.1А и 1В дозатор предназначен для раздачи и дозирования жидких веществ из резервуара без доступа воздуха.
Таким образом, вещество содержится в замкнутой среде с обеспечением защиты от воздействия окружающей среды и предотвращения какого бы то ни было загрязнения, что составляет совершенно обязательное требование при работе с такими чувствительными веществами, как косметические средства или фармацевтические препараты.
Рассматриваемый дозатор снабжен насосом Р, имеющим цилиндрический корпус 1, который в нижней части открыт на полный диаметр с выходом в резервуар R с веществом, закупоренный с помощью подвижного днища F.
В данной конкретной конструкции резервуар R имеет дополнительно основание Е с отверстием.
На фиг.1А дозатор показан в нерабочем положении и/или положении хранения с надетым на него кожухом С.
Вещество заполняет весь объем резервуара R, поднимаясь с заходом во внутренний объем нижней части корпуса 1. Таким образом, нижний край корпуса 1, как видно на чертежах, погружен в вещество.
В нижней части корпус 1 закрыт поршнем, который находится в контакте с веществом. Этот поршень образован втулкой 2, которая расположена вокруг нижней части центральной трубки-жиклера 3.
Втулка 2 имеет наружную в радиальном направлении двойную кромку 23, которая выполнена с возможностью скольжения с фрикционным контактом по внутренней стенке корпуса 1.
Втулка 2 установлена на трубке 3 с небольшим осевым зазором между двумя упорами, соответственно, нижним 31а и верхним 32а, и напротив, по меньшей мере, одного эжекционного отверстия 30, выполненного в поперечном направлении в трубке 3.
Втулка 2 имеет цилиндроконическое внутреннее кольцо 20, верхний 22 и нижний 21 участки которого поочередно, в зависимости от передаваемого жидкостью давления, приходят в герметичный контакт с верхним 32а и нижним 31а упорами трубки 3, что обеспечивает возможность открытия или закрытия отверстия 30 по типу клапана, как это показано на фиг.2-5.
На нижнем конце трубки 3 расположено усеченно-коническое основание 31 с плоской кромкой, верхняя поверхность которого образует нижний упор 31а под плоскостью расположения эжекционного отверстия 30. Это основание 31 закрывает нижний в осевом направлении конец трубки 3.
Над плоскостью расположения эжекционного отверстия 30 на нижней части трубки 3 расположен периферийный заплечик 32, нижняя поверхность которого образует верхний упор 32а для втулки 2.
Между участками 21 и 22 образован угол порядка 160-170°, обеспечивающий получение опоры (наподобие заклинивания) соответственно на наружной стенке трубки 3 для участка 22 и на верхней поверхности основания 31 – для участка 21. Такая усиленная опора позволяет добиться нужной герметичности клапана в закрытом положении.
Кольцо 20 вместе с трубкой 3 ограничивает напротив отверстия 30 внутренний объем вращения с очень незначительными размерами, который обеспечивает возможность расширения и выхода вещества под давлением перед его прохождением через отверстие 30.
Наклонная верхняя поверхность усеченно-конического основания 31 способствует обеспечению направленного перемещения нижнего участка 21 кольца 20 в процессе его относительного смещения вверх при открытии клапана.
Сопротивление fb трения между кольцом 20 и стенкой трубки 3, а более конкретно – между концом нижнего участка 21 и верхней поверхностью основания 31, довольно невелико (от 50 до 100 г), в любом случае меньше сопротивления fa трения между двойной кромкой 23 втулки 2 и внутренней стенкой корпуса 1 (составляющего порядка 700 г).
Кроме того, сопротивление fb трения меньше сопротивления fc трения между подвижным днищем F и внутренней стенкой резервуара R (составляющего порядка 3-4 кг), с учетом относительных поверхностей основания 31 и днища F.
Корпус 1 частично перекрыт в верхней части внутренней гильзой 10, которая снабжена верхним кольцом 13 для обеспечения направленного перемещения трубки 3, и нижним кольцом 12 большего диаметра для блокирования поршня в положении перекрытия эжекционного отверстия 30.
Верхняя поверхность втулки 2 имеет круглое ребро 24 жесткости, которое ограничивает, вместе с верхним участком 22 кольца 20, канавку 25, в которую заходит нижнее кольцо 12 гильзы корпуса.
Как показано на фиг.1А и 1 В, верхний конец трубки-жиклера 3 соединен с выпускным каналом 40, выполненным в кнопке 4, которая имеет наружную юбку 41 и внутреннюю цилиндрическую муфту 42. Эта муфта предназначена для надевания со скольжением на корпус 1 с заключением винтовой возвратной пружины 5 во внутреннем объеме вокруг трубки 3.
Нижний виток пружины 5 опирается на верхнюю поверхность гильзы 10 соосно с верхним кольцом 13.
Корпус 1 жестко связан, посредством поперечной распорки 11, с периферийным фланцем 14 для крепления на верхнем краю резервуара R.
Фланец 14 имеет продолжение в направлении вверх в виде выступающего буртика 15, на который снаружи может надеваться кожух С (при необходимости с использованием средств защелкивания или завинчивания), а изнутри вводиться юбка 41 кнопки 4.
Подвижное днище F имеет центральную чашечку f, профиль которой является взаимодополняющим по отношению к профилю усеченно-конического основания 31 трубки 3 и/или нижней части корпуса 1, что гарантирует полное опорожнение резервуара.
Учитывая, что в процессе опускания внутри корпуса 1 поршень не встречает никакого стопора, для обеспечения дозирования предусмотрено выполнение на распорке 11 специальной боковой лыски 11а. Благодаря этому нижняя кромка юбки 41 кнопки 4 упирается в указанную лыску, что позволяет обеспечить, помимо калибровки пружины 5, возможность задания выдаваемых доз вещества.
В соответствии с одним из вариантов, можно предусмотреть ограничение хода поршня благодаря упору нижней кромки муфты 42 в распорку 11 или опиранию верхней стенки гнезда пружины 5 на верхнюю кромку корпуса 1 насоса.
Ниже следует более детальное описание функционирования насоса с рассмотрением фиг.2-5.
В положении, показанном на фиг.2, дозатор находится в нерабочем состоянии с надетым на кнопку 4 кожухом С, а насос Р бездействует.
Выпускной клапан и эжекционное отверстие 30 перекрыты.
Участок 21 кольца 20 поршня поддерживается в состоянии герметичного опирания на нижний упор 31а благодаря противодействующим усилиям возвратной пружины 5 и передаче этих усилий нижним кольцом 12.
В положении, показанном на фиг.3, после снятия кожуха С пользователь нажимает рукой на кнопку 4.
В результате этого происходят сжатие пружины 5 и опускание трубки 3 через кольцо 13. При этом усеченно-коническое основание 31 вдавливается в корпус 1, создавая в массе вещества некоторое давление.
Тем не менее, учитывая наличие фрикционного контакта (сопротивление fc) между подвижным днищем F и стенкой резервуара R, указанное давление остается недостаточным для того, чтобы произошло опускание днища F.
Одновременно с этим фрикционный контакт (сопротивление fa) между двойной кромкой 23 поршня и стенкой корпуса создает препятствие для движения, в результате чего втулка 2 оказывается обездвиженной на некоторое время, которое, разумеется, очень невелико, но все же достаточно (с учетом небольшой величины сопротивления fb) для обеспечения отделения участка 21 от нижнего упора 31а, а также, в зависимости от величины осевого зазора, опирания участка 22 на верхний упор 32а.
В этих условиях происходит просачивание вещества во внутренний объем между кольцом 20 и трубкой 3, в результате чего оно начинает выходить через отверстие 30, как показано на фиг.3 стрелкой. Это соответствует началу этапа выдачи.
Тем временем нажатие на кнопку 4 продолжается, и вследствие увеличения давления преодолевается сопротивление втулки 2.
При этом происходит плавная выдача вещества через канал 40.
Продолжается опускание трубки 3, и теперь втулка 2 увлекается вниз до тех пор, пока юбка 41 не упрется в лыску 11а, как это видно на фиг.1 В и 4, где основание 31 слегка выступает вниз, наружу от корпуса 1, оставаясь по-прежнему погруженным в вещество.
В этот момент пользователь уже знает, что только что произошла выдача некоторой дозы вещества.
Тогда он прекращает нажатие на кнопку 4, в результате чего сразу же прекращается действие внутреннего давления и происходит подъем трубки 3.
Учитывая опять же обусловленное трением сопротивление, втулка 2 остается неподвижной в контакте со стенкой корпуса в течение очень небольшого времени, которого, однако, достаточно для того, чтобы нижний упор 31а снова пришел в соприкосновение с нижним участком 21 втулки и перекрыл клапан, как показано на фиг.5.
Затем происходит возврат в нерабочее положение под действием возвратной пружины при закрытом клапане, при этом трубка 3 отводит втулку 2 вверх до ее упора в кольцо 12.
Одновременно с этим имеет место подъем подвижного днища F в резервуаре R, благодаря чему компенсируется тот объем вещества, который был затрачен при выдаче.
Формула изобретения
1. Насос для дозатора жидкого вещества без доступа воздуха, отличающийся тем, что он имеет цилиндрический корпус (1), который в нижней части открыт, а в верхней части закрыт поршнем, образованным втулкой (2), которая, с одной стороны, расположена вокруг нижней части центральной трубки-жиклера (3) с осевым зазором между двумя упорами, соответственно верхним (32а) и нижним (31а), напротив по меньшей мере одного эжекционного отверстия (30), выполненного в указанной трубке, а с другой стороны, выполнена с возможностью скольжения с фрикционным контактом с внутренней стенкой указанного корпуса.
2. Насос по п.1, отличающийся тем, что корпус (1) снабжен в верхней части внутренней гильзой (10), которая имеет верхнее кольцо (13), предназначенное для обеспечения направленного перемещения трубки-жиклера (3), и нижнее кольцо (12), предназначенное для блокирования поршня в положении закрытия эжекционного отверстия (30).
3. Насос по п.1 или 2, отличающийся тем, что указанная втулка (2) поршня имеет внутреннее цилиндроконическое кольцо (20), верхний (22) и нижний (21) участки которого поочередно, в зависимости от давления жидкости, приходят в контакт с верхним (32а) и нижним (31а) упорами трубки-жиклера (3) с обеспечением открытия или закрытия эжекционного отверстия (30) и с обеспечением герметичности по принципу клапана.
4. Насос по п.2, отличающийся тем, что указанная втулка (2) поршня имеет внутреннее цилиндроконическое кольцо (20), верхний (22) и нижний (21) участки которого поочередно, в зависимости от давления жидкости, приходят в контакт с верхним (32а) и нижним (31а) упорами трубки-жиклера (3) с обеспечением открытия или закрытия эжекционного отверстия (30) и с обеспечением герметичности по принципу клапана, а верхняя поверхность указанной втулки (2) имеет круглое ребро (24) жесткости, которое вместе с верхним участком (22) внутреннего кольца (20) ограничивает канавку (25), в которую входит нижнее кольцо (12) для блокирования поршня.
5. Насос по п.1, отличающийся тем, что на нижнем конце трубки-жиклера (3) расположено усеченно-коническое основание (31) с плоской кромкой, верхняя поверхность которого образует нижний упор (31а) для втулки (2) поршня под плоскостью расположения эжекционного отверстия (30).
6. Насос по п.1, отличающийся тем, что на нижнем конце трубки-жиклера (3) расположен периферийный заплечик (32), нижняя поверхность которого образует верхний упор (32а) для втулки (2) поршня над плоскостью расположения эжекционного отверстия (30).
7. Насос по п.1, отличающийся тем, что указанный корпус (1) жестко связан посредством поперечной распорки (11) с периферийным фланцем (14) для крепления на резервуаре (R).
8. Насос по п.7, отличающийся тем, что указанный фланец (14) имеет продолжение в направлении вверх в виде выступающего буртика (15), на который снаружи может надеваться кожух (С) и в который изнутри может вводиться юбка (41) кнопки (4) дозатора.
9. Насос по п.7 или 8, отличающийся тем, что указанная поперечная распорка (11) имеет боковую лыску (11а), образующую ограничитель хода для юбки (41) кнопки (4) дозатора.
10. Дозатор, содержащий насос по одному из предшествующих пунктов и резервуар (R), отличающийся тем, что верхний конец трубки-жиклера (3) насоса соединен с выпускным каналом (40), выполненным в кнопке (4), которая имеет наружную юбку (41) и внутреннюю цилиндрическую муфту (42), выполненную с возможностью надевания со скольжением на указанный корпус (1) с заключением винтовой возвратной пружины (5) во внутреннем объеме, а резервуар (R) герметично закрыт в нижней части с помощью подвижного днища (F).
11. Дозатор по п.10, отличающийся тем, что сопротивление (fa) трения между втулкой (2) и внутренней стенкой корпуса (1) насоса, с одной стороны, и сопротивление (fc) трения между днищем (F) и стенкой резервуара (R), с другой стороны, превышают сопротивление (fb) трения между втулкой (2) и трубкой (3) указанного насоса.
12. Дозатор по п.10 или 11, отличающийся тем, что подвижное днище (F) имеет центральную чашечку (f), профиль которой является взаимодополняющим по отношению к профилю усеченно-конического основания (31) трубки-жиклера (3) и/или нижней части корпуса (1) насоса.
РИСУНКИ
|