|
|
(21), (22) Заявка: 2006114776/12, 22.09.2004
(24) Дата начала отсчета срока действия патента:
22.09.2004
(30) Конвенционный приоритет:
01.10.2003 EP 03022055.2
(43) Дата публикации заявки: 27.11.2007
(46) Опубликовано: 27.03.2009
(56) Список документов, цитированных в отчете о поиске:
US 6325226 B1, 04.12.2001. EP 0076778 A1, 13.04.1983. WO 00/23342 A1, 27.04.2000. US 4560077 A, 24.12.1985. WO 96/26121 A1, 29.08.1996. US 463070 A, 18.11.1986. DE 19820266 A1, 18.11.1999. SU 1223835 A3, 07.04.1986. SU 448632 A3, 30.10.1974.
(85) Дата перевода заявки PCT на национальную фазу:
02.05.2006
(86) Заявка PCT:
EP 2004/010636 (22.09.2004)
(87) Публикация PCT:
WO 2005/039996 (06.05.2005)
Адрес для переписки:
129090, Москва, ул. Б.Спасская, 25, стр. 3, ООО “Юридическая фирма Городисский и Партнеры”, пат.пов. С.Р.Абубакирову, рег.№ 931
|
(72) Автор(ы):
ДРЕЙЕР Лино (FR), ГЕЙЛЛО Максим Пьер Жак (FR), ОДЕ Филипп Жерар (FR), ВИДМЕР Себастьян Седрик (FR)
(73) Патентообладатель(и):
ОБРИСТ КЛОУЖЕРЗ СВИТЗЕРЛАНД ГМБХ (CH)
|
(54) КРЫШКА
(57) Реферат:
Изобретение относится к пластиковой крышке для контейнера, а конкретно к крышке с уплотнительным устройством, и направлено на улучшение герметизации емкости при закрывании. Пластиковая крышка для контейнера содержит верхнюю пластину, боковую юбку, зависимую от периферии верхней пластины, уплотнительную полосу, зависимую от верхней пластины и приспособленную для герметичного зацепления со стороной венчика горловины контейнера, и опорный элемент, включающий выступающий направляющий элемент для направления уплотнительной полосы к венчику горловины при установке крышки. Направляющий элемент контактирует с уплотнительной полосой на сравнительно маленькой площади, так что трение между уплотнительной полосой и опорным элементом минимизируется. Уплотнительная полоса наклонена радиально к венчику горловины для улучшения уплотнительного эффекта. 2 н. и 6 з.п. ф-лы, 11 ил.
Настоящее изобретение относится, в общем, к пластиковой крышке для контейнера и конкретно к крышке с уплотнительным устройством для герметизации контейнера.
Настоящее изобретение поэтому особенно пригодно для уплотнения давления, создаваемого в контейнере газированными напитками и т.п.
Особенно эффективная система для обеспечения уплотнения включает использование тонкой и гибкой уплотнительной полосы, зависимой от внутренней поверхности верхней пластины крышки. Например, в патенте США 4623070 описана крышка с кольцевой гибкой уплотнительной полосой, зависимой от ее верхней пластины. Уплотнительная полоса наклонена радиально наружу и расположена так, что когда закрывающая крышка навинчивается на контейнер, венчик горловины контейнера контактирует с уплотнительной полосой. По мере того как закрывающая крышка постепенно навинчивается дальше на контейнер, уплотнительная полоса изгибается вокруг внешнего радиуса венчика горловины с образованием бокового уплотнения и вдоль верхней поверхности горловины с образованием уплотнения сверху. Положение, принимаемое уплотнительной полосой, определяется кольцевым опорным элементом, расположенным в точке пересечения между верхней пластиной крышки и боковой стенкой крышки. Уплотнительная полоса расположена между кольцевым опорным элементом и венчиком горловины контейнера, что приводит к тому, что уплотнительная полоса обернута вокруг венчика горловины контейнера для обеспечения газонепроницаемого уплотнения. Этот тип уплотнений может быть использован в качестве внешнего уплотнения, т.е. уплотнение на внешней поверхности венчика горловины, как в патенте США 4623070; или уплотнение может служить как внутреннее уплотнение, например, как в патенте США 3255907. В каждом случае опорный элемент служит в качестве направляющей поверхности, чтобы заставить уплотнительную полосу принять такое положение на венчике горловины, в котором прочность уплотнения улучшается.
В патенте США 4560077 и в заявке EP 0114127 описаны уплотнительные системы, в которых обеспечены как внешняя, так и внутренняя уплотнительные полосы. В каждом случае обе уплотнительные полосы имеют связанные с ними опорные элементы, которые заставляют уплотнительную полосу более плотно обертываться вокруг венчика горловины контейнера для обеспечения хорошего уплотнения.
Проблема известных систем состоит в том, что поскольку опорный элемент направляет уплотнительную полосу вокруг венчика горловины, между ними возникает относительное скользящее движение. Так как уплотнительная полоса скользит относительно опорного элемента, создаются силы трения. Эти силы трения увеличивают крутящий момент, необходимый для установки и снятия крышки. В ЕР 0114127 также описано использование тонких ребер, выступающих непосредственно от верхней пластины и боковой стенки, в качестве направляющих поверхностей. Однако из-за того, что ребра тонкие и выступают непосредственно из боковой стенки или верхней пластины, ребра являются гибкими и сами будут деформироваться уплотнительной полосой, это создаст увеличенную площадь контакта между ними, вновь увеличивая силы трения.
Настоящее изобретение предлагает пластиковую крышку для контейнера, содержащую верхнюю пластину, боковую юбку, зависимую от периферии верхней пластины, уплотнительную полосу, зависимую от верхней пластины и способную герметично зацепляться со стороной венчика горловины контейнера, и опорный элемент, включающий направляющую поверхность для направления уплотнительной полосы к венчику горловины при установке крышки для увеличения прочности уплотнения и для уменьшения трения между полосой и опорным элементом, причем уплотнительная полоса наклонена к венчику горловины и таким образом улучшается эффект уплотнения.
Настоящее изобретение, таким образом, обеспечивает опорный элемент, который включает специальный выступ, выполняющий функцию направляющей поверхности вместо всего опорного элемента. Из-за того что направляющий элемент выполнен как часть опорного элемента, структура крышки и направляющая поверхность могут быть прочнее, чем если бы направляющая поверхность выступала непосредственно от верхней пластины или боковой юбки крышки.
Настоящее изобретение обеспечивает направляющую поверхность, в которой площадь контакта уплотнительной полосы сокращена для уменьшения трения. Путем уменьшения трения снижается крутящий момент, требуемый для установки и снятия крышки. Дополнительно из-за того что крышка, вероятно, будет использоваться для газированных напитков, предполагается, что верхняя пластина крышки будет куполообразно изгибаться из-за создаваемого избыточного давления. Когда верхняя пластина крышки куполообразно изгибается, уплотнительная полоса вынуждается к смещению относительно венчика горловины контейнера. Благодаря включению уплотнительной системы с низким трением уплотнительной полосе легче войти в новое положение уплотнения.
Путем включения опорного элемента можно обеспечить особые преимущества, если элемент будет расположен на пересечении между боковой стенкой и верхней пластиной, так как пересечение будет упрочнено. Это может обеспечить определенные преимущества, когда крышка куполообразно изгибается.
Уплотнительная полоса наклонена к венчику горловины. Таким образом, уплотнительная полоса уже смещена относительно венчика горловины, так что может быть обеспечено более эффективное уплотнение.
Уплотнительная полоса может слегка сужаться от верхней пластины. Это облегчает извлечение крышки из формы в ходе процесса ее производства. Кроме того, это облегчает процесс укупоривания, так как это позволяет уплотнительной полосе легче скользить вдоль и/или вокруг венчика горловины контейнера.
Внутренняя поверхность свободного конца уплотнительной полосы может сужаться резко. Это резкое сужение позволяет предотвратить вред, причиняемый уплотнительной полосе в ходе укупоривания, из-за несоосности. Такой вред может увеличить крутящий момент, требуемый для откупоривания.
Направляющий элемент может содержать изогнутую направляющую поверхность. Из-за того что направляющая поверхность изогнута, площадь контакта уплотнительной полосы может быть дополнительно сокращена.
Направляющий элемент может быть приспособлен для прижатия уплотнительной полосы к венчику горловины, когда крышка устанавливается, так что прочность уплотнения дополнительно возрастает. Уплотнительная полоса обычно прижимается к стороне венчика горловины направляющим элементом.
Опорный элемент может дополнительно содержать изогнутый участок боковой стенки, который обеспечивает область зазора между уплотнительной полосой и опорным элементом. Это означает, что в области изогнутой боковой стенки уплотнительная полоса не контактирует с опорным элементом или не прижимается к венчику горловины контейнера, так что, пока обеспечивается прочное уплотнение, силы трения, которые следует преодолеть, чтобы разрушить уплотнение, снижаются.
Уплотнительная полоса может быть приспособлена для уплотнения внешней поверхности венчика горловины, так что уплотнительная полоса является так называемым внешним уплотнением.
Помимо уплотнительной полосы, которая уплотняет внешнюю поверхность венчика горловины, крышка может также содержать так называемое укупоривающее или внутреннее уплотнение, которое предназначается для уплотнения внутренней поверхности венчика горловины. Укупоривающее уплотнение может быть расположено так, что оно оказывает внешнюю силу на венчик горловины для вынуждения движения наружу венчика горловины. Это движение наружу венчика горловины может быть использовано для увеличения прочности уплотнения, обеспеченного внешней уплотнительной полосой.
Уплотнительная полоса может альтернативно быть приспособлена для уплотнения внутренней поверхности венчика горловины. В этом случае уплотнительная полоса будет замещать вышеуказанное укупоривающее или оливковое уплотнение.
Конечно, как внутренняя, так и внешняя уплотнительные полосы и соответствующие опорные элементы с направляющими поверхностями могут быть обеспечены на одной крышке.
Настоящее изобретение также обеспечивает контейнер с венчиком горловины совместно с крышкой, описанной здесь выше.
Настоящее изобретение далее описывается подробно на примере его выполнения со ссылкой на прилагаемые чертежи, на которых:
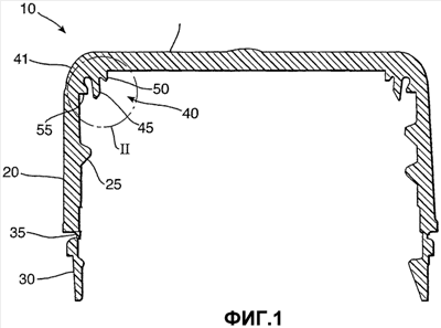
Фиг.1 – вид в сечении пластиковой крышки с уплотнительным устройством согласно первому варианту настоящего изобретения;
Фиг.2а-2f – последовательность увеличенных видов в сечении уплотнительного устройства по Фиг.1, показывающих расположение уплотнения на венчике горловины контейнера;
Фиг.3 – вид в сечении пластиковой крышки с уплотнительным устройством согласно альтернативному варианту настоящего изобретения; и
Фиг.4а-4с – последовательность увеличенных видов в сечении уплотнительного устройства по Фиг.1, показывающих действие избыточного давления в присоединенном контейнере.
На Фиг. 1 показана пластиковая крышка, обозначенная, в целом, позицией 10. Крышка 10 содержит дискообразную верхнюю пластину 15 и цилиндрическую боковую юбку 20, зависимую от периферии верхней пластины 15. Боковая юбка 20 включает внутреннюю винтовую резьбу 25 для зацепления с соответствующей внешней винтовой резьбой на венчике горловины контейнера (не показано). Поясок видимого повреждения 30 хрупко присоединен к нижнему открытому концу боковой юбки 20 перемычками 35 в приспособлении, хорошо известном специалистам в данной области техники. Крышка 10 дополнительно содержит уплотнительное устройство, обозначенное, в целом, позицией 40 и расположенное в области изогнутого пересечения 41 между верхней пластиной 15 и боковой юбкой 20.
Ссылаясь теперь на Фиг.2а, на которой представлен увеличенный вид узла в круге на Фиг.1, уплотнительное устройство 40 содержит уплотнительную полосу 45, верхнее уплотнение 50 и опорный элемент 55. Уплотнительная полоса 45 в этом варианте выполнения выполнена для уплотнения вокруг внешней стороны края контейнера.
Уплотнительная полоса слегка сужается и зависит от верхней пластины 15. Это сужение может быть однородным или может изменяться от конца уплотнительной полосы 45, смежного верхней пластине, к верхушке. Полоса 45 наклонена радиально внутрь, в этом варианте выполнения приблизительно на 12° от вертикальной оси, проходящей через центр верхней пластины 15, хотя возможны и другие углы. На свободном конце полосы 45 внутренняя поверхность 46 сужается резко и радиально наружу с образованием склона 47.
В альтернативном варианте выполнения, в котором уплотнительная полоса уплотняет внутреннюю сторону венчика горловины, уплотнительная полоса 45 будет наклонена радиально наружу. Кроме того, склон 47 находится на противоположной поверхности (т.е. на радиально внешней поверхности).
Верхнее уплотнение 50 расположено радиально внутри от уплотнительной полосы 45 и содержит обычно треугольный выступ, отходящий от верхней пластины 15.
Опорный элемент 55 расположен на пересечении 41 и напоминает «прижимной блок» уплотнительного элемента, который хорошо известен специалистам в данной области техники. Опорный элемент 55 включает изогнутую боковую стенку 60, которая продолжается от верхнего конца уплотнительной полосы 45. Противоположный конец боковой стенки 60 продолжается радиально внутрь для образования изогнутого направляющего элемента 65, который выступает радиально внутрь. Боковая стенка 60 образует обычно С-образное пространство 70, или зазор, между опорным элементом 55 и уплотнительной полосой 45.
Ссылаясь теперь на Фиг.2а-2f, будет описана работа уплотнительного устройства 40. Для ясности позиции приведены только на Фиг.2а. Части Фиг.2b-2f идентичны Фиг. 2а, отличается лишь их взаимное расположение.
На Фиг.2а крышка 10 помещена на верх венчика 75 горловины контейнера для завинчивания на него. Когда крышка 10 навинчивается, склон 47 уплотнительной полосы 45 контактирует с изогнутой верхней наружной поверхностью 80 венчика 75 горловины и начинает скользить по ней, как показано последовательно на Фиг.2b-2c. Из-за взаимного расположения полосы 45 и поверхности 80, при скольжении полосы 45 по поверхности 80 она изгибается радиально наружу.
Когда полоса 45 достигает положения, показанного на Фиг.2d, внешняя поверхность полосы 45 контактирует только с изогнутой направляющей поверхностью 65 опорного элемента 55. Направляющая поверхность 65 предотвращает дальнейший изгиб уплотнительной полосы наружу и направляет полосу 45 к венчику горловины, так что она начинает заворачиваться вокруг венчика, как показано на Фиг.2е. Когда полоса 45 обертывает венчик 75, она скользит относительно направляющей поверхности 65.
В момент, показанный на Фиг.2е, верхнее уплотнение 50 контактирует с верхней поверхностью 85 венчика 75 горловины и начинает деформироваться. Деформация верхнего уплотнения 50 вызывает увеличение крутящего момента, требуемого для поворота крышки, в конечном счете предотвращая дальнейший поворот (без поломки), в положении, показанном на Фиг.2f. Помимо использования уплотнения, таким образом, верхнее уплотнение 50 действует как ограничитель глубины, в то время как навинчивается крышка 10.
В полностью навинченном положении уплотнительная полоса контактирует только с опорным элементом 55 по поверхности 65 из-за того, что стенка 60 изогнута, и из-за получившегося выступающего положения поверхности 65 совместно с зазором 70. Соответственно в то время как уплотнение улучшается при помощи направляющей поверхности 65, уплотнительная полоса 45 удерживается на венчике горловины лишь благодаря контакту на небольшой площади с направляющей поверхности 65. Это означает, что, когда крышку отвинчивают, крутящий момент отвинчивания не является чрезмерно большим, т.е. уплотнение улучшается, но является ограниченным.
На Фиг.3 показан альтернативный вариант выполнения. Крышка 110 включает уплотнительное устройство, идентичное показанному на Фиг.1 и 2, за исключением того, что в этом варианте имеется дополнительное внутреннее укупорочное уплотнение 190, которое продолжается от верхней пластины 115. Укупорочное уплотнение 190 представляет собой внутреннее уплотнение хорошо известного типа, в котором внешняя поверхность 195 включает изогнутый выступ 196 для взаимодействия с внутренней поверхностью 186 венчика горловины.
Фиг.4а-4с показывают предпочтительную работу уплотнительного устройства, когда крышка 110 полностью навинчена на венчик горловины. Из-за того, что крышка 110 предназначена для использования с газированными напитками, внутреннее давление в контейнере, действующее на крышку, будет возрастать с течением времени. Это приведет к куполообразному изгибу верхней пластины 115, как показано последовательно на Фиг.4а-4с. При куполообразном изгибе верхней пластины 115 пластина 115 эффективно удаляется от боковой стенки 120 и верхняя пластина поворачивается вверх. Это приводит к тому, что уплотнительная полоса 145 выдергивается вверх относительно направляющей поверхности 165. Из-за минимального трения между уплотнительной полосой 145 и направляющей поверхностью 165, уплотнительная полоса способна перемещаться относительно венчика горловины таким образом, что она может легко занять новое положение уплотнения. Так как полоса 145 все еще контактирует с направляющей поверхностью 165, она по-прежнему прижимается к венчику, так что уплотнение все еще прочное. Дополнительно, так как зазор 170 изогнут, он сохраняется в течение куполообразного изгиба, так что даже когда верхняя пластина полностью изогнута куполом, полоса 145 не сжимается опорным элементом 155, возможно, за исключением выступа. Это означает, что даже в течение куполообразного изгиба крутящий момент отвинчивания все еще является уменьшенным благодаря зазору 170.
Формула изобретения
1. Пластиковая крышка (10) для контейнера, содержащая верхнюю пластину (15), боковую юбку (20), зависимую от периферии верхней пластины (15), уплотнительную полосу (45), зависимую от верхней пластины и приспособленную для герметичного зацепления со стороной венчика (75) горловины контейнера, и опорный элемент (55), включающий выступающий направляющий элемент (65) для направления уплотнительной полосы (45) к венчику (75) горловины при установке крышки (10), чтобы увеличить прочность уплотнения, причем направляющий элемент контактирует с уплотнительной полосой на сравнительно маленькой площади, так что трение между уплотнительной полосой (45) и опорным элементом (55) минимизируется, отличающаяся тем, что уплотнительная полоса (45) наклонена радиально к венчику (75) горловины для улучшения уплотнительного эффекта.
2. Крышка по п.1, в которой уплотнительная полоса (45) слегка сужается от верхней пластины (15).
3. Крышка по п.1, в которой поверхность (47) свободного конца уплотнительной полосы (45) резко сужается.
4. Крышка (110) по любому из пп.1-3, в которой уплотнительная полоса (145) приспособлена для уплотнения внешней поверхности (180) венчика горловины.
5. Крышка (110) по п.4, в которой крышка (110) дополнительно содержит укупорочное уплотнение (190), приспособленное для уплотнения внутренней поверхности (186) венчика горловины.
6. Крышка (110) по п.5, в которой укупорочное уплотнение (190) приспособлено для создания силы, направленной наружу, на венчик (175) горловины, для вынуждения венчика горловины двигаться наружу, таким образом повышая прочность уплотнения уплотнительной полосы (145).
7. Крышка (10) по любому из пп.1-3, в которой уплотнительная полоса (45) приспособлена для уплотнения внутренней поверхности венчика горловины.
8. Контейнер с венчиком (75) горловины в соединении с крышкой (10) по любому предшествующему пункту.
РИСУНКИ
|
|