|
|
(21), (22) Заявка: 2006123416/12, 02.12.2004
(24) Дата начала отсчета срока действия патента:
02.12.2004
(30) Конвенционный приоритет:
03.12.2003 FR 0314187
(43) Дата публикации заявки: 20.01.2008
(46) Опубликовано: 27.03.2009
(56) Список документов, цитированных в отчете о поиске:
ЕР 0569301 А, 10.11.1993. US 5092684 А, 03.03.1992. DE 3032889 А, 10.12.1981. US 5186543 А, 16.02.1993.
(85) Дата перевода заявки PCT на национальную фазу:
03.07.2006
(86) Заявка PCT:
FR 2004/003096 (02.12.2004)
(87) Публикация PCT:
WO 2005/056408 (23.06.2005)
Адрес для переписки:
103735, Москва, ул. Ильинка, 5/2, ООО “Союзпатент”, пат.пов. И.М.Захаровой
|
(72) Автор(ы):
ЭГГЕРМОН Филипп (FR)
(73) Патентообладатель(и):
С2Ф ФЛЕКСИКО (FR)
|
(54) ЗАСТЕЖКА ДЛЯ ПАКЕТА, ПАКЕТ, А ТАКЖЕ СПОСОБ И МАШИНА ДЛЯ ИЗГОТОВЛЕНИЯ ПАКЕТОВ
(57) Реферат:
Изобретение относится к застежке для пакета, выполненной с возможностью многократного расстегивания и застегивания. Застежка содержит два профиля из термопластического материала, содержащих комплементарные элементы, выполненные с возможностью поочередного зацепления друг с другом для застегивания и разъединения для расстегивания пакетов и обеспечения доступа к их содержимому. Указанные комплементарные элементы выполняют на соответствующих полотнах-основах, причем одно из полотен-основ содержит рельефные рифления, выполненные на внутренней поверхности, направленной в сторону другого полотна-основы. Другое полотно-основа также может содержать рельефные рифления на своей наружной поверхности. Изобретение обеспечивает удобство и надежность пользования пакетом. 4 н. и 12 з.п. ф-лы, 8 ил.
Настоящее изобретение относится к пакетам, снабженным застежкой, выполненной с возможностью многократного последовательного расстегивания и застегивания в зависимости от потребности.
В частности, настоящее изобретение относится к изготовлению таких пакетов с использованием застежек, содержащих два профиля из термопластического материала, содержащие комплементарные элементы, выполненные с возможностью поочередного зацепления друг с другом для обеспечения застегивания пакетов и разъединения для обеспечения расстегивания пакетов и доступа к их содержимому.
Как правило, вышеупомянутые комплементарные элементы образованы конструкцией в виде крючков или соответственно охватывающими и охватываемыми элементами, выполненными на обоих профилях.
До сих пор предлагались самые различные застежки и пакеты, отвечающие вышеупомянутым характеристикам.
На прилагаемых фигурах 1 и 2 показаны два известных примера выполнения застежки из предшествующего уровня техники.
На прилагаемых фиг.1 и 2 показаны застежки, содержащие два полотна-основы 10, 20 с соответствующими комплементарными элементами 12, 22. Согласно не ограничительному примеру, показанному на фиг.1 и 2, эти элементы 12, 22 выполнены соответственно в виде охватываемых и охватывающих профилей.
На фиг.1 показано, что оба полотна 10, 20 содержат на находящихся друг против друга внутренних поверхностях и снаружи профилей 12, 22 продольные рифления, соответственно обозначенные позициями 14 и 24.
Застежка, показанная на фиг.2, содержит аналогичные продольные рифления 16, 26 на наружной поверхности полотен-основ 10, 20.
Одной из функций этих рифлений является облегчение манипулирования полотнами-основами 10, 20 для управления расстегиванием и застегиванием застежки, то есть воздействия усилием соответственно с целью удаления друг от друга профилей для разъединения элементов 12, 22 и воздействия усилием с целью сближения профилей для зацепления друг с другом двух элементов 12 и 22. Рифления 14, 24, 15, 26 помогают пользователю, направляя его пальцы. В рамках варианта, показанного на фиг.1, рифления 14 и 24 также ограничивают зону контакта между двумя профилями застежки, что помогает избежать сваривания во время крепления на пленке.
Известные застежки уже принесли большую пользу.
Вместе с тем они не могут быть признаны в полной мере удовлетворительными.
Целью настоящего изобретения является усовершенствование известных застежек.
В рамках настоящего изобретения эта цель достигается за счет создания застежки, содержащей два профиля из термопластического материала, содержащие комплементарные элементы, выполненные с возможностью поочередного зацепления друг с другом для застегивания пакетов и разъединения для расстегивают пакетов и обеспечения доступа к их содержимому, при этом указанные комплементарные элементы выполняют на соответствующих полотнах-основах, отличающейся тем, что одно и только одно из полотен-основ содержит рельефные рифления, выполненные на внутренней поверхности, направленной в сторону другого полотна-основы.
Согласно другому предпочтительному усовершенствованию настоящего изобретения другое полотно-основа содержит рельефные рифления на своей наружной поверхности.
Объектом настоящего изобретения являются также пакеты, выполненные с использованием такой застежки, а также способ и машина для изготовления таких пакетов.
Другие отличительные признаки, задачи и преимущества настоящего изобретения будут более очевидны из нижеследующего подробного описания со ссылками на прилагаемые чертежи, представленные в качестве не ограничительных примеров, на которых:
Фиг.1 и 2 – схематичный вид в поперечном разрезе застежек из предшествующего уровня техники.
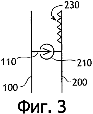
Фиг.3 – аналогичный вид застежки в соответствии с настоящим изобретением.
Фиг.4-8 – схематичный вид пяти вариантов выполнения застежек в соответствии с настоящим изобретением.
На фиг.3 показана застежка в соответствии с настоящим изобретением, содержащая два полотна-основы 100, 200, по существу параллельные друг другу, содержащие соответственно охватываемый запорный элемент 110 и охватывающий запорный элемент 210.
Общая конструкция такой застежки хорошо известна специалистам, и ее подробное описание опускается.
Каждое из обоих полотен-основ 100, 200 находится по обе стороны от соответствующего элемента 110, 210.
Как показано на фиг.3, в соответствии с настоящим изобретением лишь одно и только одно полотно-основа 100, 200 содержит продольные рифления 230 на своей внутренней стороне, обращенной к другому полотну-основе 100, причем только на части полотна-основы 200, находящейся снаружи профильных элементов 110, 210 относительно центра пакета.
На фиг.4 показан вариант выполнения, который отличается от варианта, показанного на фиг.3, тем, что второе полотно-основа 100 также содержит на своей наружной стороне ряд продольных рельефных рифлений 130.
Под термином «продольные» следует понимать то, что рифления 130 и 230 выполнены параллельно элементам 110, 210.
Предпочтительно застежку, то есть полотна-основы 100, 200, комплементарные элементы 110, 210 и рифления 130, 230 выполняют из термопластического материала и предпочтительно путем экструзии.
На фиг.5 показан вариант выполнения, который отличается от варианта, показанного на фиг.4, тем, что рифления выполнены с обратным расположением. Согласно фиг.5 внутренние рифления 130 выполнены на внутренней стороне полотна-основы 100, содержащего охватываемый элемент, тогда как наружные рифления 230 выполнены на наружной поверхности полотна-основы 200, содержащей охватывающий элемент.
На фиг.6 показан вариант выполнения, согласно которому комплементарные элементы 110, 210 имеют конструкцию, выполненную в виде крючков. Общая конструкция такой застежки с комплементарными элементами в виде крючков тоже хорошо известна специалистам, и ее подробное описание опускается.
На фиг.7 показан вариант выполнения, согласно которому оба полотна-основы 100, 200 соединены между собой в виде U-образной конструкции при помощи соединительного полотна 150, расположенного с внутренней стороны застежки, то есть со стороны, противоположной зоне полотен-основ 100, 200, содержащей рельефные рифления 130, 230.
Наконец, на фиг.8 показан предпочтительный вариант выполнения настоящего изобретения, отличающийся тем, что каждое полотно-основа, оборудованная рифлениями, содержит точно семь рифлений.
В качестве не ограничительного примера каждое рифление треугольного сечения имеет в основании высоту и ширину порядка 1/10 мм. Расстояние между двумя смежными рифлениями предпочтительно составляет от 0,5 до 2 мм.
Количество, плотность, размер и сечение рифлений 130, 230 могут выбираться в рамках многочисленных вариантов выполнения. Они не ограничиваются представленными на прилагаемых фигурах примерами. В частности, можно выполнять рифления в основном треугольного сечения, как показано на фиг.3-6 и 8, или в основном закругленного сечения, как показано на фиг.7. Можно также выполнять почти прилегающие друг к другу рифления 130, 230, как показано на фиг.3, или четко отстоящие друг от друга, как показано на фиг.4-6.
Кроме того, рифления, выполненные на наружной поверхности одного полотна-основы могут быть идентичными или отличаться по числу, плотности, сечению и размеру от рифлений, выполненных на другом полотне-основе.
Разумеется, что настоящее изобретение не ограничивается частными вариантами выполнения, описанными выше, а охватывает любые варианты, которые могут быть выполнены в его рамках.
В частности, настоящее изобретение ни в коем случае не ограничивается вариантами выполнения, показанными на прилагаемых фигурах.
Застежка в соответствии с настоящим изобретением может быть выполнена, например, при помощи экструзии в виде отдельного узла, предназначенного для присоединения к пленке, из которой изготавливают пакет, или может быть выполнена заодно с такой пленкой.
Застежки в соответствии с настоящим изобретением позволяют легко производить манипуляции благодаря наличию рифлений 130, 230, при этом не опасаясь заедания, как это происходит в некоторых застежках из предшествующего уровня техники в результате контакта между двумя рифлениями, находящимися друг против друга.
Настоящее изобретение относится также к окошкам, содержащим комплементарные элементы типа велюр/крючок.
Формула изобретения
1. Застежка, содержащая два профиля (100, 200) из термопластического материала, содержащих комплементарные элементы (110, 210), выполненные с возможностью поочередного зацепления друг с другом для застегивания пакетов и разъединения для расстегивания пакетов и обеспечения доступа к их содержимому, при этом указанные комплементарные элементы (110, 210) выполняют на соответствующих полотнах-основах (100, 200), отличающаяся тем, что одно из полотен-основ (100, 200) содержит рельефные рифления (130, 230), выполненные на внутренней поверхности, направленной в сторону другого полотна-основы.
2. Застежка по п.1, отличающаяся тем, что другое полотно-основа (200, 100) содержит рельефные рифления (230, 130) на своей наружной поверхности.
3. Застежка по одному из пп.1 или 2, отличающаяся тем, что рифления (130, 230) выполнены в зоне полотен-основ (100, 200), расположенной снаружи комплементарных элементов (110, 210) относительно центра пакета.
4. Застежка по п.1, отличающаяся тем, что рифления (130, 230) выполнены параллельно комплементарным элементам (110, 210),
5. Застежка по п.1, отличающаяся тем, что содержит охватываемый запорный элемент (110) и охватывающий запорный элемент (210),
6. Застежка по п.1, отличающаяся тем, что комплементарные элементы (110, 210) образованы конструкцией в виде крючка.
7. Застежка по п.1, отличающаяся тем, что комплементарные элементы выполнены в виде конструкции велюр/крючок.
8. Застежка по п.1, отличающаяся тем, что оба полотна-основы (100, 200) соединены между собой в виде U-образной конструкции.
9. Застежка по п.1, отличающаяся тем, что полотна-основы (100, 200) имеют разную ширину.
10. Застежка по п.1, отличающаяся тем, что рифления (130, 230) имеют в основном треугольное сечение.
11. Застежка по п.1, отличающаяся тем, что рифления (130, 230) имеют в основном закругленное сечение.
12. Застежка по п.1, отличающаяся тем, что ее выполняют в виде отдельного узла, предназначенного для присоединения к пленке, образующей пакет.
13. Застежка по п.1, отличающаяся тем, что ее выполняют непосредственно заодно с пленкой.
14. Пакет, отличающийся тем, что содержит застежку, выполненную согласно пп.1-13,
15. Способ изготовления пакетов, отличающийся тем, что содержит этап крепления застежки по одному из пп.1-12 на пленке.
16. Машина для изготовления пакетов, отличающаяся тем, что содержит средства подачи пленки, средства подачи застежки по одному из пп.1-12 и средства крепления застежки на пленке.
РИСУНКИ
|
|