|
| На основании пункта 1 статьи 1366 части четвертой Гражданского кодекса Российской Федерации патентообладатель обязуется заключить договор об отчуждении патента на условиях, соответствующих установившейся практике, с любым гражданином Российской Федерации или российским юридическим лицом, кто первым изъявил такое желание и уведомил об этом патентообладателя и федеральный орган исполнительной власти по интеллектуальной собственности. |
|
(21), (22) Заявка: 2007138174/11, 15.10.2007
(24) Дата начала отсчета срока действия патента:
15.10.2007
(46) Опубликовано: 27.03.2009
(56) Список документов, цитированных в отчете о поиске:
RU 2281889 C1, 20.08.2006. RU 2297953 С1, 27.04.2007. ЕР 0158821 А, 23.10.1985. US 4775120 А, 04.10.1988.
Адрес для переписки:
111555, Москва, Свободный пр-кт, 9, к.2, кв.173, Часовскому А.А.
|
(72) Автор(ы):
Часовской Александр Абрамович (RU), Кириллов Николай Александрович (RU)
(73) Патентообладатель(и):
Часовской Александр Абрамович (RU), Кириллов Николай Александрович (RU)
|
(54) ЛЕТАТЕЛЬНЫЙ АППАРАТ
(57) Реферат:
Изобретение относится к области воздушно-космической техники и может быть использовано при полетах в атмосфере и в космосе. Летательный аппарат содержит корпус, два реактивных двигателя, два амортизатора, имеющих входы, гидравлически сообщенные соответственно с двумя выходами блока управления амортизаторами, цилиндр, выхлопное сопло и две выхлопные трубы. Корпус жестко связан с блоком управления амортизаторами и цилиндром, жестко связанным с двумя выхлопными трубами для выхода воспламененных газов. Первый амортизатор жестко связан с корпусом, имеющим жесткую связь с двумя реактивными двигателями. Второй амортизатор жестко связан с выхлопным соплом для выхода отработанных газов, снабжен двумя предохранительными амортизаторами и пластиной с двумя выступами, установленной между первым и вторым амортизаторами. Цилиндр выполнен с двумя углублениями, выступы пластины выполнены с возможностью смещения вдоль соответствующих отверстий выхлопных труб и движения соответственно углублений цилиндра. Внутри углублений цилиндра размещены предохранительные амортизаторы, расположенные между выступами пластины и вспомогательными выхлопными соплами, которые жестко связаны с углублениями цилиндра. Предохранительные амортизаторы имеют входы, гидравлически сообщенные с третьим выходом блока управления амортизаторами. Достигается уменьшение размера аппарата. 1 ил.
Изобретение относится к области воздушно-космической техники и может быть использовано при полетах в атмосфере и в космосе.
Известен летательный аппарат, изложенный в материалах патента №2134218, зарегистрированный 10 августа 1999 г., автор А.А. Часовской. В нем осуществляется возвратно-поступательное движение поршня внутри цилиндра, который жестко связан с корпусом. Отталкивание корпуса в прямом направлении осуществляется с помощью амортизатора, куда блок управления амортизатором осуществляет дозированную подачу топлива. Однако из-за наличия поршня и удлиненного цилиндра увеличивается громоздкость аппарата.
Известен летательный аппарат, изложенный в патенте №2281889, зарегистрированный 20 августа 2006 г., автор А.А. Часовской. Первоначально аппарат движется с помощью двух реактивных двигателей, жестко связанных с корпусом. Далее для обеспечения ускорения осуществляются отталкивания корпуса в прямом направлении с помощью двух амортизаторов и поршня, осуществляющего возвратно-поступательное движение между этими амортизаторами, воспламененные газы с первого амортизатора выходят через два выхлопных сопла. Второй амортизатор способствует уменьшению длины цилиндра, так как обеспечивает выход воспламененных сжатых поршнем газов через выхлопное сопло. При этом амортизатор может быть и конусообразным в нижней его части. Топливо в амортизаторы поступает с блока управления амортизаторами. Однако наличие поршня увеличивает громоздкость аппарата.
С помощью предлагаемого устройства уменьшается его громоздкость без уменьшения ускорения. Достигается это использованием в качестве цилиндра, цилиндра с двумя углублениями и введением вместо поршня, между первым и вторым амортизаторами, пластины с двумя выступами позади нее, причем первый и второй выступы пластин смещаются вдоль соответствующих отверстий первого и второго выхлопных труб и движутся соответственно внутри первого и второго углублений цилиндра, не выходя за их пределы, внутри которых также вводятся предохранительные амортизаторы позади выступов и впереди вспомогательных выхлопных сопел, жестко связанных с углублениями цилиндра, и имеющих входы, гидравлически сообщенные с третьим гидравлическим выходом блока управления амортизаторами.
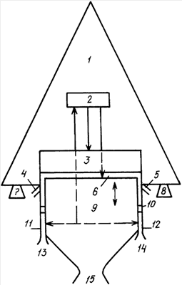
На чертеже приняты следующие обозначения:
1 – корпус;
2 – блок управления амортизаторами;
3 – амортизатор;
4, 5 – выхлопные трубы;
6 – пластина с двумя выступами;
7, 8 – реактивные двигатели;
9 – конусообразный амортизатор;
10 – цилиндр с двумя углублениями;
11, 12 – предохранительные амортизаторы;
13, 14 – вспомогательные выхлопные сопла;
15 – выхлопное сопло,
при этом корпус 1 жестко связан с блоком управления амортизаторами 2 и цилиндром с двумя углублениями 10, жестко связанным с двумя выхлопными трубами 4, 5 и имеющим пластину с двумя выступами внутри между амортизатором 3, жестко связанным с корпусом 1, имеющим жесткую связь с реактивными двигателями 7, 8, и между конусообразным амортизатором 9, жестко связанным с выхлопным соплом 15, и имеющим гидравлическую связь с первым гидравлическим выходом блока управления амортизаторами 2, имеющим второй и третий гидравлические выходы, соответственно связанные с амортизатором 3 и с предохранительными амортизаторами 11, 12 внутри соответствующих углублений цилиндра 10, и жестко связанных с вспомогательными выхлопными соплами 13, 14.
Работа устройства осуществляется следующим образом.
Старт аппарата осуществляется с помощью реактивных двигателей 7, 8. В исходном состоянии выступы пластины с двумя выступами 6 примыкают к основаниям вспомогательных выхлопных сопел 13, 14. Пластина 6 выполнена из легкого жаропрочного материала. По достижении определенной высоты начинается ускорение аппарата. При этом с помощью блока управления амортизаторами 2 с первого и второго его выходов выдается дозированное количество топлива в амортизаторы 9 и 3, между которыми находится пластина с двумя выступами 6 внутри цилиндра с двумя углублениями 10 позади этой пластины. В результате под давлением газов пластина 6 устанавливается в положение, при котором ее выступы загораживают отверстия выхлопных труб 4 и 5. При этом исключается преждевременный выход газов через эти трубы. После установки пластины 6, на ее нижнюю и верхнюю поверхности действуют одинаковые силы давления газов, и по окончании поступления дозированного количества топлива в амортизаторы 3 и 9 газы сжимаются до степени, при которой одновременно осуществляется их воспламенение с помощью блока управления амортизатором 2. При этом отталкивается корпус 1 в прямом направлении, а пластина 6 в обратном направлении, так как давление газов после его воспламенения на верхнюю поверхность пластины превысит давление на нижнюю ее часть в связи с тем, что воспламененные газы в конусообразном амортизаторе 9 будут выходить через выхлопное сопло 15. Благодаря конусообразности амортизатора уменьшаются тормозящие моменты при амортизации. Таким образом осуществляется независимое движение корпуса относительно пластины. По мере движения пластины с двумя выступами 6 в обратном направлении освобождаются отверстия выхлопных труб 4 и 5 от выхода через них воспламененных газов. При выходе газов через выхлопные трубы 4, 5 и выхлопное сопло 15 происходит дополнительное отталкивание аппарата. По мере же движения пластины 6 ее два задних выступа сжимают газы в предохранительных амортизаторах 11, 12, двигаясь внутри углублений цилиндра 10. Топливо в эти амортизаторы предварительно поступает с третьего гидравлического выхода блока управления амортизаторами 2. После воспламенения газов в результате их сжатия они выходят через вспомогательные выхлопные сопла 13. 14. При этом количество топлива устанавливается таким, чтобы остановить движение пластины в обратную сторону. Далее через время, обеспечивающее полный выход отработанных газов из выхлопных труб 4, 5 и выхлопного сопла 15, вновь поступает топливо в амортизаторы 3, 9 и повторяется вышеупомянутый амортизационный цикл. При этом выступы пластины 6 не выходят за пределы углублений цилиндра. Таким образом, по мере следующих друг за другом амортизационных циклов осуществляется увеличение кинетической энергии и ускорения аппарата. При этом осуществляется абсолютное и независимое движение корпуса относительно пластины 6 и газа в амортизаторе 9, выходящего через выхлопное сопло 15.
Предлагаемое устройство может быть использовано при полетах в высоких слоях атмосферы, для выхода в космос и для межпланетных космических сообщений. При этом уменьшается размер аппарата и обеспечивается экономия топлива благодаря осуществлению кинетического движения без наличия поршня и сокращения длины цилиндра.
Формула изобретения
Летательный аппарат, содержащий корпус, два реактивных двигателя, два амортизатора, имеющих входы, гидравлически сообщенные соответственно с двумя выходами блока управления амортизаторами, цилиндр, выхлопное сопло и две выхлопные трубы, корпус жестко связан с блоком управления амортизаторами и цилиндром, жестко связанным с двумя выхлопными трубами для выхода воспламененных газов, первый амортизатор жестко связан с корпусом, имеющим жесткую связь с двумя реактивными двигателями, а второй амортизатор жестко связан с выхлопным соплом для выхода отработанных газов, отличающийся тем, что он снабжен двумя предохранительными амортизаторами и пластиной с двумя выступами, установленной между первым и вторым амортизаторами, цилиндр выполнен с двумя углублениями, а выступы пластины выполнены с возможностью смещения вдоль соответствующих отверстий выхлопных труб и движения соответственно углублений цилиндра, не выходя за их пределы, внутри углублений цилиндра размещены предохранительные амортизаторы, расположенные между выступами пластины и вспомогательными выхлопными соплами, при этом вспомогательные выхлопные трубы жестко связаны с углублениями цилиндра, а предохранительные амортизаторы имеют входы, гидравлически сообщенные с третьим выходом блока управления амортизаторами.
РИСУНКИ
|
|