|
|
(21), (22) Заявка: 2007129530/11, 02.08.2007
(24) Дата начала отсчета срока действия патента:
02.08.2007
(46) Опубликовано: 27.03.2009
(56) Список документов, цитированных в отчете о поиске:
RU 63774 U1, 10.06.2007. РЫБАКОВ К.В., МИТЯГИН В.А. Автомобильные цистерны для нефтепродуктов. – М.: Транспорт, 1989, с. 78, рис. 38. RU 2157322 C1, 10.10.2000. US 4225051 A, 30.09.1980.
Адрес для переписки:
141980, Московская обл., г. Дубна, ул. Жуковского, 2а, ОАО “ГосМКБ “РАДУГА” им. А.Я. Березняка”, патентный отдел
|
(72) Автор(ы):
Дмитриев Альберт Иванович (RU), Зайцев Евгений Викторович (RU), Закота Анатолий Иванович (RU), Карпов Сергей Иванович (RU), Кликодуев Николай Григорьевич (RU), Кучеренко Юрий Стефанович (RU), Мищенко Анатолий Петрович (RU), Пашков Анатолий Николаевич (RU)
(73) Патентообладатель(и):
ОТКРЫТОЕ АКЦИОНЕРНОЕ ОБЩЕСТВО “ГОСУДАРСТВЕННОЕ МАШИНОСТРОИТЕЛЬНОЕ КОНСТРУКТОРСКОЕ БЮРО “РАДУГА” ИМЕНИ А.Я. БЕРЕЗНЯКА” (RU)
|
(54) ТОПЛИВНЫЙ БАК ЛЕТАТЕЛЬНОГО АППАРАТА
(57) Реферат:
Изобретение относится к области авиации, более конкретно – к топливным бакам летательных аппаратов. Топливный бак летательного аппарата содержит эластичную компенсационную емкость, размещенную в полости бака внутри перфорированного контейнера, прикрепленного к элементам конструкции внутренней полости бака. При этом эластичная компенсационная емкость снабжена дренажной горловиной, прикрепленной к стенке бака и сообщенной с окружающей средой. Крепление дренажной горловины к стенке бака выполнено разъемным, бак снабжен монтажным люком с герметичной крышкой, а в контейнере напротив люка выполнено монтажное окно со съемной крышкой. Технический результат изобретения направлен на обеспечение возможности замены эластичной компенсационной емкости и увеличение срока службы топливного бака летательного аппарата. 2 з.п. ф-лы, 6 ил.
Изобретение относится к конструкции топливных баков (ТБ) преимущественно беспилотных летательных аппаратов (ЛА) и может быть использовано в ТБ, длительно хранящихся в заправленном состоянии.
Известен топливный бак летательного аппарата с эластичной емкостью, патент РФ на полезную модель №63774, принятый за прототип, содержащий эластичную компенсационную емкость, размещенную в полости бака внутри перфорированного контейнера, прикрепленного к элементам конструкции полости бака, при этом эластичная компенсационная емкость снабжена дренажной горловиной, прикрепленной к стенке бака и сообщенной с окружающей средой.
Все перечисленные признаки прототипа присутствуют и в предлагаемом техническом решении.
Эластичный материал эластичной компенсационной емкости подвержен “старению” с образованием микротрещин на изгибе, уменьшающих степень его герметичности и приводящих к попаданию воздуха в топливо, а топлива в полость эластичной компенсационной емкости, что ограничивает срок службы ТБ ЛА. В известном ТБ ЛА не обеспечивается замена эластичной компенсационной емкости.
Предлагаемым изобретением решается задача обеспечения возможности замены эластичной компенсационной емкости и, таким образом, увеличения срока службы ТБ ЛА.
Для достижения названного технического результата в ТБ ЛА, содержащем эластичную компенсационную емкость, размещенную в полости бака внутри перфорированного контейнера, прикрепленного к элементам конструкции полости бака, при этом эластичная компенсационная емкость снабжена дренажной горловиной, прикрепленной к стенке бака и сообщенной с окружающей средой, крепление дренажной горловины к стенке бака выполнено разъемным, бак снабжен монтажным люком с герметичной крышкой, а в контейнере напротив люка выполнено монтажное окно со съемной крышкой.
Кроме того, дополнительно, для уменьшения времени и упрощения замены эластичной компенсационной емкости, бак снабжен посадочным гнездом горловины эластичной компенсационной емкости, выполненным в виде стакана, размещенного в полости бака, прикрепленного верхней частью к стенке бака и снабженного съемной крышкой, наружный контур которой выполнен заподлицо с наружной поверхностью бака, при этом горловина эластичной компенсационной емкости снабжена наружной резьбой и упорной поверхностью, а дно стакана имеет осевое отверстие под резьбовую часть горловины эластичной компенсационной емкости, закрепленную в полости стакана гайкой, поджимающей упорную поверхность горловины к дну стакана, при этом соединение горловины эластичной компенсационной емкости с дном стакана снабжено уплотнительными элементами и элементами, фиксирующими горловину от вращения при затягивании крепежной гайки.
А также для дополнительного уменьшения времени и упрощения замены эластичной компенсационной емкости крышка монтажного окна контейнера закреплена на крышке монтажного люка.
Отличительными признаками предлагаемого устройства от прототипа являются выполнение крепления дренажной горловины к стенке бака разъемным, снабжение бака монтажным люком с герметичной крышкой и выполнение в контейнере напротив люка бака монтажного окна со съемной крышкой. Кроме того, дополнительно – снабжение бака посадочным гнездом горловины эластичной компенсационной емкости, выполненным в виде стакана, размещенного в полости бака, прикрепленного верхней частью к стенке бака и снабженного съемной крышкой, наружная поверхность которой выполнена заподлицо с наружной поверхностью бака, при этом горловина эластичной компенсационной емкости снабжена наружной резьбой и упорной поверхностью, а дно стакана имеет осевое отверстие под резьбовую часть горловины эластичной компенсационной емкости, закрепленную в полости стакана гайкой, поджимающей упорную поверхность горловины к дну стакана, при этом соединение горловины эластичной компенсационной емкости с дном стакана снабжено уплотнительными элементами и элементами, фиксирующими горловину от вращения при затягивании крепежной гайки. Также съемная крышка монтажного окна контейнера может быть закреплена на крышке монтажного люка.
Благодаря наличию указанных отличительных признаков в совокупности с известными (указанными в ограничительной части формулы) обеспечивается замена эластичной компенсационной емкости при длительной эксплуатации ТБ, что увеличивает срок службы ТБ. Дополнительно упрощается замена эластичной компенсационной емкости и сокращается время ее проведения, не ухудшаются аэродинамические характеристики ЛА при креплении горловины к стенке бака, обтекаемой воздушным потоком. Уменьшается вероятность повреждения эластичного материала компенсационной емкости при креплении ее горловины к стенке бака.
Предложенное техническое решение может найти применение в топливных баках ЛА, снабженных эластичной компенсационной емкостью, которые должны обеспечивать длительный срок службы.
Предлагаемый ТБ ЛА иллюстрируется чертежами, представленными на фиг.1-6.
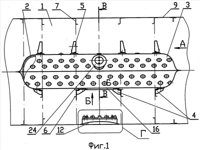
На фиг.1 представлен продольный вид ТБ в разрезе.
На фиг.2 представлен поперечный вид ТБ в разрезе (вид по стрелке А фиг.1).
На фиг.3 представлено крепление крышки монтажного окна контейнера (вид по стрелке Б фиг.1).
На фиг.4 представлена конструкция разъемного крепления горловины к стенке бака по п.2 формулы (сечение В-В фиг.1).
На фиг.5 представлена конструкция люка ТБ (место Г фиг.1).
На фиг.6 представлено устройство крышки монтажного окна контейнера по п.3 формулы.
Представленный на фиг.1-6 топливный бак 1 содержит эластичную компенсационную емкость 2, размещенную во внутренней полости бака 1 внутри перфорированного контейнера 3, см. фиг.1-3, прикрепленного кронштейнами 4 и 5 к элементам 6 и 7 конструкции внутренней полости бака 1, при этом эластичная компенсационная емкость 2 снабжена дренажной горловиной 8, см. фиг.2, прикрепленной к стенке 9 бака 1 разъемным креплением 10 и сообщенной дренажным каналом 11 с окружающей средой. Бак 1 снабжен монтажным люком 12 с герметичной крышкой 13, см. фиг.5, установленной на люк 12 через герметирующую прокладку 14 и закрепленной на люке 12 болтами 15, а в контейнере 3 напротив люка 12 выполнено монтажное окно 16 со съемной крышкой 17, закрепленной на окне 16 при помощи разъемных соединений 18.
Бак 1 снабжен посадочным гнездом горловины 8 эластичной компенсационной емкости 2, выполненным в виде цилиндрического стакана 19, см. фиг.4, размещенного в полости бака 1, прикрепленного верхней частью к стенке 9 бака 1 и снабженного съемной крышкой 20, наружная поверхность которой выполнена заподлицо с наружной поверхностью стенки 9 бака 1, при этом горловина 8 эластичной компенсационной емкости 2 снабжена наружной резьбой 21 и упорной поверхностью 22, а дно 23 стакана 19 имеет осевое отверстие 24 под резьбовую часть 25 горловины 8 эластичной компенсационной емкости 2, закрепленную в полости стакана гайкой 26, поджимающей упорную поверхность 22 горловины 8 к дну 23 стакана 19, при этом соединение горловины 8 эластичной компенсационной емкости 2 с дном 23 стакана 19 снабжено уплотнительными элементами – прокладками 27 и 28 и элементами, фиксирующими от вращения горловину 8 при затягивании крепежной гайки 26 – кольцевого выступа 29 с пазами 30, выполненного на дне 23 стакана 19, и штифтов 31, установленных на горловине 8. Глубина паза 30 в кольцевом выступе 29 выполнена с обеспечением продольного хода штифтов 31 в зацеплении с пазами 30 при зажатии прокладки 27 между дном 23 стакана 19 и упорной поверхностью 22 горловины 8. Эластичный материал емкости 2 прижат к фланцу 32 горловины 8 через шайбу 33 гайкой 34. Крышка 20 скреплена с внутренней поверхностью стакана 19 через уплотнительную прокладку 35 резьбовым соединением 36. В крышке 20 выполнено дренажное отверстие 37 и отверстия 38 под ключ для ее завинчивания и вывинчивания. Крышка 17, см. фиг.6, монтажного окна 16 контейнера 3 может быть закреплена на крышке 13 монтажного люка 12; крепление крышки 17 на крышке 13 может быть осуществлено одним из известных способов, например сваркой, см. фиг.6, при этом в крышке 17 выполнены окна 39 для перетекания топлива в полете.
Устройство по п.1 формулы работает следующим образом, фиг.1-3, 5. После завершения срока службы эластичной компенсационной емкости 2 и слива топлива из бака 1 демонтируется крышка 13 люка 12 путем вывинчивания болтов 15, см. фиг.5. Через люк 12 производится демонтаж разъемного соединения 18, и окно 16 контейнера 3 освобождается от крышки 17. Демонтируется разъемное соединение 10, см. фиг.1, крепления горловины 8 к стенке 9 бака 1, после чего эластичная компенсационная емкость 2 через окно 16 и люк 12 вынимается из полости бака 1 и заменяется новой эластичной компенсационной емкостью 2, монтаж которой осуществляется в обратной последовательности. Перед монтажом новой эластичной компенсационной емкости 2 при необходимости может быть осуществлена замена герметизирующих прокладок 14, 27, 28 и 35. После установки новой эластичной компенсационной емкости 2 срок службы ТБ продлевается. Крышка 17 закрывает окно 16 негерметично, ее функция – поддерживать эластичный материал эластичной компенсационной емкости 2 от проваливания в окно 16 за пределы контейнера 3.
Устройство по п.2 формулы, фиг.1-5, работает аналогично устройству по п.1. Отличие заключается в том, что для демонтажа разъемного крепления 10 горловины 8 к стенке 9 бака 1 специальный ключ вставляется в отверстия 38 крышки 20 (фиг.4), которая снимается путем вывинчивания благодаря резьбовому соединению 36. Далее торцевым ключом, вставленным в полость стакана 19, вывинчивается гайка 26 по резьбе 21 резьбовой части 25 горловины 8, которая при этом не вращается благодаря нахождению штифтов 31 горловины 8 в пазах 30 кольцевого выступа 29 на дне 23 стакана 19. После схода гайки 26 с резьбы 21 резьбовая часть 25 горловины 8, двигаясь поступательно до выхода штифтов 31 из пазов 30, выводится из отверстия 24 донышка 23 стакана 19.
Монтаж крепления горловины 8 к стенке 9 бака 1 осуществляется в обратной последовательности.
Представленная на фиг.4 конструкция разъемного крепления 10 горловины 8 к стенке 9 бака 1 упрощает и ускоряет проведение работ по замене эластичной компенсационной емкости 2, при этом благодаря исключению возможности вращения горловины 8 в стакане 19 и скрепленного с ней эластичного материала компенсационной емкости 2 в контейнере 3 уменьшается вероятность повреждения эластичного материала компенсационной емкости 2 при креплении горловины 8 к стенке 9 бака 1.
Благодаря выполнению наружной поверхности крышки 20 заподлицо с поверхностью стенки 9 бака 1 и креплению горловины 8 к стенке 9 бака 1 не ухудшаются аэродинамические характеристики ЛА, когда наружная поверхность стенки 9 бака 1 обтекается воздушным потоком.
Устройство по п.3, см. фиг.6, работает аналогично устройствам по п.1 и п.2, при этом благодаря креплению съемной крышки 17 окна 16 контейнера 3 на крышке 13 люка 12 бака 1 при демонтаже крышки 13 одновременно обеспечивается и снятие крышки 17 из окна 16, что дополнительно сокращает время монтажа и демонтажа эластичной компенсационной емкости 2 и упрощает проведение монтажных работ.
Формула изобретения
1. Топливный бак летательного аппарата, содержащий эластичную компенсационную емкость, размещенную в полости бака внутри перфорированного контейнера, прикрепленного к элементам конструкции внутренней полости бака, при этом эластичная компенсационная емкость снабжена дренажной горловиной, прикрепленной к стенке бака и сообщенной с окружающей средой, отличающийся тем, что крепление дренажной горловины к стенке бака выполнено разъемным, бак снабжен монтажным люком с герметичной крышкой, а в контейнере напротив люка выполнено монтажное окно со съемной крышкой.
2. Бак по п.1, отличающийся тем, что снабжен посадочным гнездом горловины эластичной компенсационной емкости, выполненным в виде стакана, размещенного в полости бака, прикрепленного верхней частью к стенке бака, и снабженного съемной крышкой, наружная поверхность которой выполнена заподлицо с наружной поверхностью бака, при этом горловина эластичной компенсационной емкости снабжена наружной резьбой и упорной поверхностью, а дно стакана имеет осевое отверстие под резьбовую часть горловины эластичной компенсационной емкости, закрепленную в полости стакана гайкой, поджимающей упорную поверхность горловины к дну стакана, при этом соединение горловины эластичной компенсационной емкости с дном стакана снабжено уплотнительными элементами и элементами, фиксирующими горловину от вращения при затягивании крепежной гайки.
3. Бак по п.1 или 2, отличающийся тем, что крышка монтажного окна контейнера закреплена на крышке монтажного люка бака.
РИСУНКИ
|
|