|
|
(21), (22) Заявка: 2007146210/11, 14.12.2007
(24) Дата начала отсчета срока действия патента:
14.12.2007
(46) Опубликовано: 27.03.2009
(56) Список документов, цитированных в отчете о поиске:
ДАНИЛОВ В.А. Вертолет Ми-8. – М.: Транспорт, 1988, с.117-118. US 3194065 А, 13.07.1965. US 3548649 А, 22.12.1970. US 3844168 А, 29.10.1974. US 3888116 A, 10.06.1975. US 5675095 А, 07.10.1997. US 4450729 A, 29.05.1984. SU 547656 A, 25.02.1977. RU 2065145 C1, 10.08.1996. RU 2252329 C1, 20.05.2005.
Адрес для переписки:
107113, Москва, Сокольнический вал, 2А, ОАО “МВЗ им. М.Л. МИЛЯ”, патентный отдел, В.П. Колодезному
|
(72) Автор(ы):
Карташов Валентин Филиппович (RU), Привалов Евгений Григорьевич (RU), Степанчиков Владимир Алексеевич (RU)
(73) Патентообладатель(и):
ОТКРЫТОЕ АКЦИОНЕРНОЕ ОБЩЕСТВО “МОСКОВСКИЙ ВЕРТОЛЕТНЫЙ ЗАВОД ИМ. М.Л. МИЛЯ” (RU)
|
(54) ХВОСТОВОЙ ВАЛ ТРАНСМИССИИ ВЕРТОЛЕТА
(57) Реферат:
Изобретение относится к конструкции хвостового вала трансмиссии вертолета, оснащенного измерителем крутящего момента. Хвостовой вал трансмиссии вертолета содержит трубчатые секции (1) с соединительными фланцами и опорные шлицевые муфты (3, 4), соединяющие секции, измеритель крутящего момента с датчиком (19) и двумя индукторами в виде зубчатых венцов (13, 18). Базой для измерения выбрана длина одной из трубчатых секций, при этом секция снабжена внутренним валом (7), жестко прикрепленным к одному ее концу, а другой конец внутреннего вала установлен с помощью опоры (20) вблизи другого конца трубчатой секции и снабжен концевым фланцем, расположенным между соединительным фланцем секции и фланцем опорной шлицевой муфты с возможностью их свободного проворота относительно концевого фланца внутреннего вала. Зубчатый венец одного индуктора расположен на концевом фланце внутреннего вала, а зубчатый венец второго индуктора – на соединительном фланце секции. Изобретение повышает надежность летательного аппарата. 2 з.п. ф-лы, 3 ил.
Изобретение относится к авиационной технике, а именно к трансмиссии вертолета, и может быть использовано в конструкции хвостового вала трансмиссии, выполненного с возможностью установки измерителя крутящего момента.
Отечественное вертолетостроение до настоящего времени ограничивалось использованием измерителей крутящего момента при стендовых испытаниях разрабатываемых вертолетов, а закладываемые в конструкцию прочность и ресурс позволяли отказаться от установки непосредственно на агрегатах вертолета измерителей крутящего момента. В настоящее время для соответствия требованиям сертификации авиационной техники в разрабатываемых конструкциях предусматривают установку измерителей крутящего момента на валах некоторых агрегатов, в том числе и на хвостовом вале трансмиссии.
Трансмиссии отечественных вертолетов, например вертолета Ми-8, выполнены с хвостовым валом, имеющим секционную конструкцию («Вертолет Ми-8», Техническое описание, книга II, «Машиностроение», 1970, стр.90, 98).
Известные технические решения, касающиеся выполнения средств для установки на вращающихся валах измерителя крутящего момента (SU 547656, G01L 3/00, 1977; US 3194065, 73-136, 1965; US 3548649, 73-136, 1970; US 3844168, 73-36, 1974; US 3888116, 73-136, 1975), предназначены преимущественно для использования в лабораторных условиях или в общем машиностроении и не учитывают особенностей авиационной техники. Конструкции включают установленные снаружи на участок упругого вала дополнительные элементы типа муфты или рукава, т.е. наружный трубчатый элемент, определяющий базовое расстояние между двумя сечениями вала для измерения его крутильной деформации. С помощью пары зубчатых колес, одно из которых установлено на конце наружного трубчатого элемента, а второе – непосредственно на валу, определяют скручивание вала на базовом участке, анализируя импульсные электромагнитные или световые сигналы датчика с последующим преобразованием сигнала в величину крутящего момента вала.
Однако в отличие от общего машиностроения в авиации подобная доработка вала с наружным креплением к валу рукава, несущего одно из зубчатых колес, может привести к нарушению целостности вала, а также не всегда возможна или не желательна по соображениям общей компоновки летательного аппарата.
Кроме того, секционное решение горизонтальной части хвостового вала вертолета («Вертолет Ми-8», Техническое описание, книга II, «Машиностроение», 1970, стр.90 рис.105, стр.98 – ближайший по конструкции аналог заявляемого устройства) предоставляет возможность иного решения технической задачи – путем использования выбранной части или секции вала в качестве базовой длины отрезка вала при оборудовании вала измерителем крутящего момента. Части хвостового вала, жесткие и шарнирные, соединены между собой шлицевыми муфтами и фланцами, которые соединены четырьмя болтами. Части хвостового вала опираются на опоры, крепящиеся к шпангоутам фюзеляжа и хвостовой балки и содержащие подшипники, в которых вращается вал.
Задачей, решаемой заявляемым техническим решением, является повышение надежности летательного аппарата за счет установки измерителя крутящего момента, показания которого отражены в кабине летчика, а также снижение веса и габаритов оборудования за счет выполнения хвостового вала трансмиссии вертолета со средствами для установки зубчатых индукторов, предназначенных для взаимодействия с датчиком при измерении крутящего момента вала, без использования наружного рукава.
Поставленная задача решена благодаря тому, что хвостовой вал трансмиссии вертолета, содержащий трубчатые секции с соединительными фланцами и опорные шлицевые муфты, соединяющие секции, – снабжен измерителем крутящего момента с датчиком и двумя индукторами в виде зубчатых венцов, связанными с двумя сечениями вала, определяющими базу измерения скручивания вала, причем базой для измерения выбрана длина одной из трубчатых секций, при этом секция снабжена внутренним валом, жестко прикрепленным к одному ее концу, а другой конец внутреннего вала установлен с помощью опоры вблизи другого конца трубчатой секции и снабжен концевым фланцем, расположенным между соединительным фланцем секции и фланцем опорной шлицевой муфты с возможностью их свободного проворота относительно концевого фланца внутреннего вала, причем зубчатый венец одного индуктора расположен на концевом фланце внутреннего вала, а зубчатый венец второго индуктора – на соединительном фланце секции.
При этом в концевом фланце внутреннего вала выполнены окна, а на соединительном фланце секции выполнены выемки для межоконных перемычек фланца внутреннего вала. Кроме того, внутренний вал снабжен промежуточной опорой.
Размещение дополнительного вала, несущего зубчатый венец индуктора, отражающий угловое положение сечения вала, соответствующее одному концу секции, не снаружи вала трансмиссии, а внутри секции вала, при размещении упомянутого зубчатого венца на фланце, выполненном на свободном конце этого внутреннего вала, рядом с зубчатым венцом второго индуктора, позволили создать компактную конструкцию, вписанную в компоновку между элементами типичного секционного хвостового вала трансмиссии вертолета. Это дает возможность повысить надежность вертолетов и модернизировать существующие вертолеты в соответствии с требованиями сертификации авиационной техники.
Свободный проворот фланцевого узла соединения секции с муфтой относительно концевого фланца внутреннего вала, не подверженного скручиванию при передаче крутящего момента, обеспечен указанным взаимным расположением окон и выемок в соответствующих элементах узла.
Внутренний вал снабжен опорой со стороны своего свободного конца, обеспечивающей центрирование концевого фланца, и промежуточной опорой, предотвращающей прогиб вала при высоких оборотах.
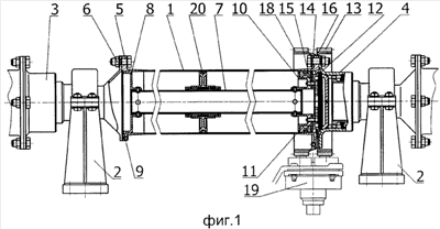
Конструкция секции хвостового вала трансмиссии с измерителем крутящего момента поясняется чертежами, где изображены:
на фиг.1 – разрез одной трубчатой секции вала;
на фиг.2 – увеличенный вид концевой части секции вала фиг.1;
на фиг.3 – концевая часть секции, в разрезе, вид в изометрии.
Хвостовой вал трансмиссии состоит из горизонтальной части: от главного редуктора до промежуточного редуктора, и наклонной части: от промежуточного редуктора до хвостового редуктора. Горизонтальная часть хвостового вала состоит из нескольких трубчатых секций 1, установленных на опорах 2 и соединенных размещенными в опорах шлицевыми муфтами 3, 4. На опорных шлицевых муфтах 3, 4 (в корпусе опоры) в резиновых обоймах установлены радиальные шарикоподшипники (не показаны). Шлицевые муфты 3, 4 предназначены для компенсации угловых и линейных перемещений хвостового вала. Подсоединение трубчатых секций 1 к шлицевым муфтам 3, 4 осуществляется с помощью фланцев 5 и болтов 6. Внутри трубчатой секции 1 хвостового вала расположен внутренний вал 7, один конец которого с помощью фланца 8 жестко прикреплен к соединительному фланцу 5 секции 1 с помощью заклепок 9.
Другой, свободный конец внутреннего вала 7 снабжен: стаканом 10, прикрепленным к нему с помощью заклепок, опорой 11, центрирующей стакан 10, и концевым фланцем 12 с выполненным на нем зубчатым венцом индуктора 13. Фланец 12 прикреплен к стакану 10 через кольцо 14 с помощью болтов 15 и расположен между присоединительным фланцем 16 секции 1 и фланцем опорной шлицевой муфты 4.
Для свободного проворота присоединительного фланца 16 секции 1 (совместно с фланцем шлицевой муфты 4) относительно концевого фланца 12 внутреннего вала 7 при скручивании секции 1 вала под действием крутящего момента – в концевом фланце 12 выполнены окна, расположенные между перемычками 17, а на фланце 16 секции 1 (между зонами расположения отверстий под крепежные болты) выполнены выемки (углубления) для межоконных перемычек 17 фланца 12 внутреннего вала 7 (фиг.2, 3).
На фланце 16 секции 1 установлен с помощью заклепок зубчатый венец второго индуктора 18, расположенный рядом с зубчатым венцом индуктора 13, а вблизи обоих зубчатых индукторов 13 и 18 установлен датчик 19 измерителя крутящего момента, который закреплен с помощью кронштейна (не показан) на опоре шлицевой муфты 4. Зубчатые венцы индукторов 13, 18 связаны, таким образом, с концевыми сечениями секции, определяющими базу для измерения крутильной деформации вала.
В середине секции 1 внутренний вал 7 опирается на дополнительную, промежуточную опору 20, не позволяющую ему прогибаться при вращении с критическими оборотами.
Устройство работает следующим образом.
При передаче крутящего момента происходит закрутка вала хвостовой трансмиссии, в том числе и закрутка на некоторый угол одного конца секции 1 относительно другого конца секции 1 вала. Длина секции 1 (расстояние между двумя фланцами секции) определяет базу измерения скручивания между двумя сечениями вала при измерении крутящего момента хвостового вала трансмиссии. Внутренний вал 7 не закручивается, так как не участвует в передаче крутящего момента. При этом фланец 16 секции 1 вала (с зубчатым венцом индуктора 18) свободно перемещается при закручивании секции относительно концевого фланца 12 внутреннего вала 7 (с зубчатым венцом индуктора 13) и относительно другого фланца 5 секции 1 на тот же угол .
Таким образом, происходит смещение зубьев зубчатого венца индуктора 18 относительно зубьев зубчатого венца индуктора 13 на угол , которое отражается в индуцируемых сигналах и считывается датчиком 19 измерителя крутящего момента, установленным вблизи зубчатых венцов индукторов 13 и 18. Сигналы датчика 19 затем преобразуются в величину крутящего момента вала.
Формула изобретения
1. Хвостовой вал трансмиссии вертолета, содержащий трубчатые секции с соединительными фланцами и опорные шлицевые муфты, соединяющие секции, отличающийся тем, что он снабжен измерителем крутящего момента с датчиком и двумя индукторами в виде зубчатых венцов, связанными с двумя сечениями вала, определяющими базу измерения скручивания вала, причем базой для измерения выбрана длина одной из трубчатых секций, при этом секция снабжена внутренним валом, жестко прикрепленным к одному ее концу, а другой конец внутреннего вала установлен с помощью опоры вблизи другого конца трубчатой секции и снабжен концевым фланцем, расположенным между соединительным фланцем секции и фланцем опорной шлицевой муфты с возможностью их свободного проворота относительно концевого фланца внутреннего вала, причем зубчатый венец одного из индукторов расположен на концевом фланце внутреннего вала, а зубчатый венец второго индуктора – на соединительном фланце секции.
2. Хвостовой вал трансмиссии вертолета по п.1, отличающийся тем, что в концевом фланце внутреннего вала выполнены окна, а на соединительном фланце секции выполнены выемки для межоконных перемычек фланца внутреннего вала.
3. Хвостовой вал трансмиссии вертолета по п.1, отличающийся тем, что внутренний вал снабжен промежуточной опорой.
РИСУНКИ
|
|