|
(21), (22) Заявка: 2006142408/11, 30.11.2006
(24) Дата начала отсчета срока действия патента:
30.11.2006
(43) Дата публикации заявки: 10.06.2008
(46) Опубликовано: 27.03.2009
(56) Список документов, цитированных в отчете о поиске:
RU 2156717, C1, 27.09.2000. Журнал «Моделист-конструктор». 1983, №9, 27.10.2000. RU 2286287 C1, 27.10.2006. RU 2132291 C1, 27.06.1999. US 5454530 A, 03.10.1995.
Адрес для переписки:
420085, г.Казань, ул. Тэцевская, 4а, ОАО “Казанское научно-производственное предприятие “Вертолеты-МИ”
|
(72) Автор(ы):
Тюхтиенко Владимир Иванович (RU)
(73) Патентообладатель(и):
Открытое акционерное общество “Казанское научно-производственное предприятие “Вертолеты-МИ” (RU), Тюхтиенко Владимир Иванович (RU)
|
(54) САМОЛЕТ ГОРИЗОНТАЛЬНОГО ВЗЛЕТА И ПОСАДКИ
(57) Реферат:
Изобретение относится к авиационной технике, более конкретно – к легкомоторной авиации. Самолет содержит фюзеляж, вертикальное хвостовое оперение, два несущих крыла с элеронами, рулями высоты и закрылками. Переднее крыло установлено в носовой части фюзеляжа, а заднее крыло – на верхнем торце киля вертикального хвостового оперения. Изобретение направлено на обеспечение полного использования несущих способностей каждого крыла самолета на режимах взлета и посадки. 1 з.п. ф-лы, 3 ил.
Изобретение относится к авиационной технике и может быть использовано преимущественно в легкомоторной авиации.
Известны самолеты бипланы типа Ан-2 (Полная энциклопедия мировой авиации. Самара. Корпорация «Федоров», 1997 г., стр.52) – [1]. Верхнее крыло у этих самолетов расположено над фюзеляжем на значительном удалении от него. Возникающее в полете аэродинамическое сопротивление верхнего крыла создает кабрирующий момент относительно центра массы (ЦМ) самолета. Этот момент играет положительную роль, т.к. уменьшает кабрирующий момент, который создает горизонтальное оперение (ГО), что ведет к улучшению летных характеристик самолета, т.к. уменьшается общее сопротивление самолета.
Известен самолет горизонтального взлета и посадки с крыльями, установленными с возможностью изменения угла установки несущей поверхности, содержащий фюзеляж, два крыла, расположенных в носовой и хвостовой частях фюзеляжа на шарнирах, оси которых предназначены для обеспечения заданного угла атаки при осуществлении продольного управления самолетом путем изменения угла установки несущей поверхности крыльев, автоматическую систему стабилизации, выполненную с возможностью отключения в момент продольного управления самолетом, при этом оба крыла снабжены интерцепторами или рулями высоты и выполнены одинаковой геометрической формы с одинаковыми размерами (Патент №2244662, В54С 39/08, 3/42, 2005 г.) – [2].
Недостатком аэродинамической компоновки этого самолета применительно к легкомоторным самолетам является отсутствие возможности на режимах посадки и взлета использовать полную несущую способность каждого крыла, оборудованных одинаковой механизацией, т.к. на самолете всегда присутствуют пикирующие моменты, создаваемые как несимметричными профилями крыльев, элементами механизации крыльев (щитками, закрылками, спойлерами), так и расположением ЦМ впереди фокуса средней аэродинамической хорды (САХ) крыла, а кабрирующий момент, уравновешивающий все эти моменты в двухкрылом самолете-прототипе, создатся только за счет большей подъемной силы переднего крыла по сравнению с задним, т.е. за счет разницы подъемных сил крыльев. Исключением являются самолеты этой схемы, у которых, благодаря наличию на борту автоматической системы стабилизации, ЦМ может находиться сзади фокуса самолета, что позволяет произвести одинаковую загрузку крыльев. Полное использование несущих способностей каждого крыла обеспечивает более высокие летные технические данные самолета.
Оборудование легкомоторного двухкрылого самолета системой автоматической стабилизации полета с целью оптимального использования несущих способностей каждого крыла неприемлемо по соображениям дороговизны самолета с таким оборудованием.
Технический результат, на достижение которого направлено заявляемое изобретение, заключается в создании дешевого легкомоторного двухкрылого самолета без оборудования его системой автоматической стабилизации и сопутствующими ей другими системами и механизмами, но с обеспечением полного использования несущих способностей каждого крыла на режимах взлета и посадки.
Технический результат достигается тем, что в самолете горизонтального взлета и посадки, содержащем фюзеляж, вертикальное хвостовое оперение, два несущих крыла с элеронами, рулями высоты и закрылками, из которых переднее крыло установлено в носовой части фюзеляжа, новым является то, что заднее крыло установлено на верхнем торце киля вертикального хвостового оперения.
В заявленном самолете оба крыла могут быть установлены на шарнирах с механизмами поворота крыльев относительно осей шарниров для изменения подъемной силы крыльев.
Установка заднего крыла на киле значительно увеличивает кабрирующие моменты относительно ЦМ от сил сопротивлений этого крыла, что позволяет уравновесить пикирующие моменты на самолете этими силами сопротивления и достичь равенство подъемных сил крыльев на режимах полета с большими Суа, т.е. на режимах взлета и посадки.
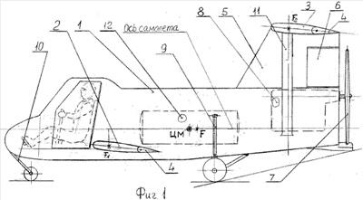
Сущность изобретения поясняется на Фиг.1 – Фиг.3, где:
Фиг.1 – Вид самолета сбоку.
Фиг.2 – Вид самолета спереди.
Фиг.3 – Схема взаимного расположения крыльев и их фокусов, ЦМ, фокуса самолета в положении самолета на режиме посадки в варианте неподвижных крыльев.
Здесь:
1 – фюзеляж;
2, 3 – переднее и заднее крылья, содержащие элероны, рули высоты и закрылки 4;
5 – киль с рулем направления 6 хвостового вертикального оперения;
7 – толкающий винт;
8 – двигатель;
9 и 10 – главная и носовая опоры шасси соответственно;
11 – подкос;
12 – полезная нагрузка;
V – угол тангажа самолета на режиме посадки;
пос – угол атаки крыла на профиле САХ крыла на режиме посадки;
, – радиусы, соединяющие фокусы САХ переднего и заднего крыльев с ЦМ (промеренные САХ);
F1, F2 и F – фокусы крыльев и самолета;
– угол скоса потока от переднего крыла.
Самолет горизонтального взлета и посадки состоит из фюзеляжа 1, в передней части которого размещена кабина пилота, и неподвижно закреплено переднее крыло 2, в задней части установлено вертикальное оперение, состоящее из киля 5 и руля поворота 6, а также установлен двигатель 8 с толкающим винтом 7.
На верхнем торце киля 5 закреплено заднее крыло 3, подкрепленное двумя симметрично расположенными подкосами 11.
Хвостовые части обоих крыльев представляют собой механизм крыла, состоящий из секций элеронов, рулей высоты и закрылков, которые закреплены на осях вращения и фиксируются в различных положениях тягами управления, чем обеспечивают различные режимы полета самолета.
На фюзеляже установлены также опоры шасси: носовая опора 10 и главная опора 9.
В центре фюзеляжа размещена полезная нагрузка 12.
В самолете с поворотными крыльями все режимы полета обеспечиваются поворотом крыльев относительно осей шарниров.
Полет самолета на крейсерских и максимальных скоростях производится при небольших значениях коэффициента подъемной силы крыла Суа, что вызывает незначительное индуктивное сопротивление крыльев. На этих режимах уравновешивание пикирующих моментов производится в основном кабрирующим моментом, создаваемым за счет большей подъемной силы переднего крыла, чем заднего. Этот дисбаланс подъемных сил крыльев в виду небольших значений Суа не вызывает существенных потерь в летно-технических характеристиках самолета.
При переходе на режим посадки пилот, уменьшая тягу силовой установки и, следовательно, скорость полета, рулями высоты и закрылками увеличивает угол тангажа V самолета, а вместе с ним углы атаки обоих крыльев. При этом возрастают Суа обоих крыльев, что увеличивает индуктивное сопротивление Сxi и просто сопротивление Сха крыльев. Так как плечо действия сил сопротивления заднего крыла значительно превосходит плечо действия сил сопротивления переднего крыла, то кабрирующий момент от сопротивления заднего крыла, увеличивающегося по мере увеличения угла V, уменьшает кабрирующий момент, создаваемый за счет разницы подъемных сил крыльев. При достижении угла тангажа посадочного значения Vпос подъемные силы обоих крыльев выравниваются. Необходимо также учесть, что скос потока от переднего крыла в районе расположения заднего крыла также увеличивает сопротивление последнего.
Таким образом, два одинаковых крыла оптимально используются в самолете, т.к. несут практически равную нагрузку на режимах взлета и посадки. И это при размещении ЦМ впереди фокуса F самолета и при отсутствии системы автоматической стабилизации на борту.
В самолете с поворотными крыльями все режимы полета, в том числе взлетный и посадочный режимы, достигаются поворотом крыльев относительно фюзеляжа для обеспечения требуемого для полета угла атаки крыльев: для взлетного взл., для посадочного пос.. При этом угол тангажа не изменится, но механизация крыла также устанавливается во взлетное или посадочное положение.
Расчеты с некоторыми упрощениями, в том числе неучета влияния угла скоса потока на Суа заднего крыла, показывают, что высота киля с установленным на нем крылом, необходимая для уравновешивания пикирующих моментов, имеющихся на самолете, в том числе с размещением ЦМ впереди фокуса самолета для обеспечения статической устойчивости самолета, соизмерима с размерами САХ, а запас статической устойчивости, установленный для режимов крейсерского и скоростного полетов, при переходе на режим посадки-взлета, т.е. с поворотом самолета на угол тангажа Vпос., не уменьшается.
Так, сумма моментов аэродинамических сил относительно ЦМ в безразмерной форме, используя схему Фиг.1, равна:



.

Отсюда: 
где =0,1(10%CAX) – запас статической устойчивости;
Cya=2 – максимальное значение Суа крыльев на режиме посадки;
эф=5 – эффективное удлинение крыла;
Сха 0,24 – коэффициент сопротивления крыльев с = при отклонении закрылков при посадке ([3] – стр.314, Рис.19.9 (б));
Смо=0,16 – коэффициент момента крыльев при отклонении закрылков ([3] – стр.315, Рис.19.11, 1) на посадке;
– коэффициент индуктивного сопротивления крыльев;
7°…12° – угол скоса потока от переднего крыла;
Sin7°=0,12

[3] – Аэродинамика. A.M.Мхитарян. Москва. Машиностроение. 1976.
Таким образом, предлагаемое изобретение имеет следующие преимущества:
1. По сравнению с самолетом-прототипом снижается стоимость самолета, т.к. отпадает необходимость установки на борт системы автоматической стабилизации и сопутствующих ей других систем и механизмов, и при этом достигается оптимальное использование несущих свойств обоих крыльев на режиме взлета и посадки.
2. По сравнению с подобным однокрылым самолетом уменьшается масса крыльев. Так масса двух одинаковых крыльев, геометрически подобных одному крылу и уменьшенных по размерам в раз, т.е. их суммарная площадь равновелика площади одного крыла, легче этого одного крыла на 29%.
Так, 
где: M1 – масса большого крыла;
М2 – масса крыла, уменьшенного в раз;
P1 – нагрузка на большое крыло;
Р2 – нагрузка на уменьшенное крыло в раза, т.е. 2Р2=P1.
Отсюда: 
уменьшение веса крыльев M1-2M2=M1-M1·07092=M1·0,29, т.е на 29%
[4] – (Анализ веса и прочности самолетных конструкций. Ф.Р.Шэнли. Оборонгиз, 1957 г., стр.136, формула 7.47).
3. Упрощается разработка самолета, т.к. отпадает необходимость разработки горизонтального оперения.
4. Компоновка позволяет без осложнений разместить силовую установку в хвосте, например, установить двигатель с толкающим винтом, КПД которого выше, чем тянущего.
Формула изобретения
1. Самолет горизонтального взлета и посадки, содержащий фюзеляж, вертикальное хвостовое оперение, два несущих крыла с элеронами, рулями высоты и закрылками, из которых переднее крыло установлено в носовой части фюзеляжа, отличающийся тем, что заднее крыло установлено на торце хвостового оперения на высоте, определяемой запасом продольной статической устойчивости и средствами механизации крыльев, обеспечивая на режимах взлета и посадки одинаковые максимальные подъемные силы крыльев и балансировку самолета аэродинамическим сопротивлением заднего крыла.
2. Самолет горизонтального взлета и посадки по п.1. отличающийся тем, что заднее крыло установлено на торце хвостового оперения на высоте, равной средней аэродинамической хорде крыла от центра масс.
РИСУНКИ
|