|
|
(21), (22) Заявка: 2006129634/11, 14.01.2005
(24) Дата начала отсчета срока действия патента:
14.01.2005
(30) Конвенционный приоритет:
16.01.2004 US 60/537,294 27.08.2004 US 10/927,911
(43) Дата публикации заявки: 27.02.2008
(46) Опубликовано: 27.03.2009
(56) Список документов, цитированных в отчете о поиске:
US 3447693 А, 03.06.1969. КОЛОМИЙЧЕНКО В.В. и др. Автосцепные устройства подвижного состава железных дорог. – М.: Транспорт, 2002, с.10, 11, 70. ISBN 5-277-02277-5. GB 835175 A, 18.05.1960. US 5443170 A, 22.08.1995. US 2002070189 A1, 13.06.2002. SU 1743960 A1, 30.06.1992. SU 1123919 A1, 15.11.1984. US 5152409 А, 06.10.1992. US 2906415 A, 29.09.1959.
(85) Дата перевода заявки PCT на национальную фазу:
16.08.2006
(86) Заявка PCT:
US 2005/001298 (14.01.2005)
(87) Публикация PCT:
WO 2005/073047 (11.08.2005)
Адрес для переписки:
129090, Москва, ул. Б.Спасская, 25, строение 3, ООО “Юридическая фирма Городисский и Партнеры”, пат.пов. С.А.Дорофееву, рег.№ 146
|
(72) Автор(ы):
СОММЕРФЕЛД Говард Р. (US), РИНГ Майкл Э. (US)
(73) Патентообладатель(и):
УОБТЕК ХОЛДИНГ КОРПОРЕЙШН (US)
|
(54) КОРПУС ДЛЯ УЗЛА ПОГЛОЩАЮЩЕГО АППАРАТА ФРИКЦИОННОГО ТИПА (ВАРИАНТЫ)
(57) Реферат:
Узел поглощающего аппарата фрикционного типа включает в себя корпус (200), имеющий открытый передний конец и закрытый задний конец с первой и второй задними частями, и пару уступов, расположенных между первой и второй задними частями и допускающих посадку узла (10) поглощающего аппарата в гнездо поглощающего аппарата заданной длины. Открытый передний конец включает в себя пару противоположных вертикальных боковых элементов (218), выступающих из него наружу и имеющих вырезы для упорной плиты (222). Обеспечивается более длинный ход поглощающего аппарата. 3 н. и 24 з.п. ф-лы, 3 ил.
Настоящее изобретение относится в целом к узлам поглощающих аппаратов фрикционного типа, используемых для поглощения как ударных, так и тяговых нагрузок, обычно испытываемых железнодорожным подвижным составом в ходе формирования и работы железнодорожного состава на верхнем строении пути, и, более конкретно, это изобретение относится к узлу поглощающего аппарата фрикционного типа, имеющего увеличенный ход.
Узлы поглощающих аппаратов фрикционного типа широко используются в железнодорожной отрасли Соединенных Штатов для обеспечения защиты железнодорожного вагона посредством поглощения ударов в условиях как тяговых, так и ударных нагрузок, и они должны соответствовать различным требованиям Американской железнодорожной ассоциации. Согласно одному аспекту поглощающий аппарат должен поддерживать минимальную амортизирующую способность в течение его срока службы, требуемую стандартом M-901-G Американской железнодорожной ассоциации и составляющую, по меньшей мере, 36000 фунтов при измерении в ходе испытания падающим молотом. Согласно другому аспекту Американская железнодорожная ассоциация требует, чтобы поглощающий аппарат работал без превышения реактивного давления, составляющего 500000 фунтов и воздействующего на тяговые балки грузового вагона, для предотвращения осадки хвостовика сцепки. Согласно другому аспекту поглощающий аппарат должен помещаться в стандартное гнездо железнодорожного вагона, имеющее длину 24,62 дюйма.
Патенты США №№5152409, 5590797 и 3368698, принадлежащие заявителю настоящего изобретения и включенные сюда в качестве ссылочного материала, касаются широко используемых фрикционных поглощающих аппаратов, которые устанавливают с совмещением с центральной тяговой балкой железнодорожного вагона, имеющей пару передних упоров и пару задних упоров. Такие поглощающие аппараты включают в себя корпус, размещенный целиком между передними и задними упорами и имеющий открытую переднюю часть, расположенную вблизи пары передних упоров, и закрытую заднюю часть, которая входит в контакт с парой задних упоров. Внутри задней части корпуса расположен сжимаемый амортизирующий элемент. В передней части корпуса расположен фрикционный амортизирующий элемент. Поглощающие аппараты дополнительно включают в себя пружинный освобождающий механизм для постоянного подпружинивания фрикционного амортизирующего элемента наружу от сжимаемого амортизирующего элемента, таким образом освобождая фрикционный амортизирующий элемент после сжатия поглощающих аппаратов. Сжимаемый амортизирующий элемент, в типичном случае, либо имеет полностью пружинную конфигурацию, как описано в патентах США №№5152409 и 5590797, либо представляет собой комбинацию в форме пружинного и гидравлического узла, как описано в патенте США №3368698.
Известно, что некоторые железные дороги требуют повышенной защиты железнодорожного вагона посредством обеспечения увеличенного хода, составляющего около 4,75 дюйма, для соответствия требованиям. Одновременно поглощающий аппарат с таким увеличенным ходом должен помещаться внутри же гнезда для поглощающего аппарата, имеющего длину 24,625 дюйма, как и поглощающие аппараты, которые имеют ход, составляющий лишь 3,25 дюйма.
Наиболее близкими аналогами настоящего изобретения являются корпуса для длинноходовых узлов поглощающих аппаратов фрикционного типа для железнодорожного вагона, раскрытые в патенте США №3447693. Один из раскрытых в указанном патенте корпусов для длинноходового узла поглощающего аппарата фрикционного типа для железнодорожного вагона, обеспечивающий поглощение ударных и тяговых нагрузок, обычно испытываемых железнодорожным подвижным составом при операции сцепки железнодорожного вагона с составом и в ходе нормальной работы состава на верхнем строении пути, причем сцепка и упорная плита железнодорожного вагона выполнены с возможностью передачи ударных и тяговых нагрузок, при этом упорная плита имеет первую заданную толщину, узел поглощающего аппарата расположен внутри центральной тяговой балки железнодорожного вагона между двумя передними упорами и противоположными по оси двумя задними упорами, при этом гнездо поглощающего аппарата образовано передними и задними упорами и имеет первую заданную длину, содержит первый конец, имеющий первую часть первого заданного сечения и второй заданной длины, вторую часть второго заданного сечения и третьей заданной длины, выровненную по оси с первой частью, причем вторая часть закрыта торцевой стенкой, и пару уступов, имеющих заданную ширину, расположенных между первой и второй частями и упирающихся в рабочую поверхность каждого из задних упоров. Другой из раскрытых в указанном патенте корпусов для длинноходового узла поглощающего аппарата фрикционного типа для железнодорожного вагона, обеспечивающий поглощение ударных и тяговых нагрузок, обычно испытываемых железнодорожным подвижным составом при операции сцепки железнодорожного вагона с составом и в ходе нормальной работы состава на верхнем строении пути, причем сцепка железнодорожного вагона выполнена с возможностью передачи ударных и тяговых нагрузок, при этом узел поглощающего аппарата расположен внутри центральной тяговой балки железнодорожного вагона между двумя передними упорами и противоположными по оси двумя задними упорами, при этом гнездо поглощающего аппарата образовано передними и задними упорами и имеет первую заданную длину, содержит первый конец, имеющий первую заднюю часть первого заданного сечения и второй заданной длины, вторую заднюю часть второго заданного сечения и третьей заданной длины, выровненную по оси с первой частью, причем вторая часть закрыта торцевой стенкой, и пару задних уступов, имеющих первую заданную ширину, расположенных между первой и второй частями и упирающихся в рабочую поверхность каждого из задних упоров. Еще один из раскрытых в указанном патенте корпусов для узла поглощающего аппарата фрикционного типа для железнодорожного вагона, обеспечивающий поглощение ударных и тяговых нагрузок, обычно испытываемых железнодорожным подвижным составом при операции сцепки железнодорожного вагона с составом и в ходе нормальной работы состава на верхнем строении пути, причем сцепка железнодорожного вагона выполнена с возможностью передачи ударных и тяговых нагрузок, при этом узел поглощающего аппарата расположен внутри центральной тяговой балки железнодорожного вагона между двумя передними упорами и противоположными по оси двумя задними упорами, при этом гнездо поглощающего аппарата образовано передними и задними упорами и имеет первую заданную длину, содержит первый конец, имеющий первое заданное сечение и вторую заданную длину, причем первый конец закрыт торцевой стенкой, а торцевая стенка упирается в рабочую поверхность каждого из задних упоров.
Согласно первому объекту настоящего изобретения создан корпус для длинноходового узла поглощающего аппарата фрикционного типа для железнодорожного вагона, обеспечивающий поглощение ударных и тяговых нагрузок, обычно испытываемых железнодорожным подвижным составом при операции сцепки железнодорожного вагона с составом и в ходе нормальной работы состава на верхнем строении пути, причем сцепка и упорная плита железнодорожного вагона выполнены с возможностью передачи ударных и тяговых нагрузок, при этом упорная плита имеет первую заданную толщину, узел поглощающего аппарата расположен внутри центральной тяговой балки железнодорожного вагона между двумя передними упорами и противоположными по оси двумя задними упорами, при этом гнездо поглощающего аппарата образовано передними и задними упорами и имеет первую заданную длину. Корпус содержит первый конец, имеющий первую часть первого заданного сечения и второй заданной длины, вторую часть второго заданного сечения и третьей заданной длины, выровненную по оси с первой частью, причем вторая часть закрыта торцевой стенкой, и пару уступов, имеющих заданную ширину, расположенных между первой и второй частями и упирающихся в рабочую поверхность каждого из задних упоров. Кроме того, корпус содержит второй конец, имеющий четвертую заданную длину, расположенный смежно с первой частью первого конца, причем второй конец выровнен по оси с первым концом, а также сообщается с первой его частью и дополнительно включает в себя пару противоположных вертикальных боковых элементов, выступающих из него наружу.
Предпочтительно, торцевая стенка имеет внутреннюю поверхность.
Предпочтительно, первый конец дополнительно включает в себя установочное средство, расположенное смежно с внутренней поверхностью торцевой стенки для удерживания в центре одного конца сжимаемого амортизирующего элемента, расположенного во второй части первого конца при сжатии и растяжении сжимаемого амортизирующего элемента, причем один конец упирается в, по меньшей мере, часть внутренней поверхности торцевой стенки, закрывающей первый конец корпуса, при этом сжимаемый амортизирующий элемент проходит в продольном направлении от внутренней поверхности торцевой стенки в первую часть первого конца.
Предпочтительно, сжимаемый амортизирующий элемент включает в себя, по меньшей мере, одно упругое сжимаемое средство заданной длины.
Предпочтительно, по меньшей мере, одно упругое сжимаемое средство представляет собой, по меньшей мере, одно из пружинного элемента, гидравлического узла, пакета эластомерных прокладок и их комбинации.
Предпочтительно, по меньшей мере, одно упругое сжимаемое средство представляет собой пару из первого пружинного элемента, имеющего первую заданную жесткость пружины, и второго пружинного элемента, имеющего вторую заданную жесткость пружины.
Предпочтительно, первая часть первого конца выполнена с возможностью размещения посадочного средства, имеющего, по меньшей мере, часть одной его поверхности, упирающуюся в противоположный по оси конец сжимаемого амортизирующего элемента и установленную для продольного движения внутри корпуса для соответственного сжатия и освобождения сжимаемого амортизирующего элемента при приложении и устранении силы, воздействующей на узел поглощающего аппарата.
Предпочтительно, второй конец выполнен с возможностью, по меньшей мере, частичного размещения фрикционного амортизирующего средства для поглощения энергии при сжатии узла поглощающего аппарата, и средство освобождения пружины входит в контакт и проходит в продольном направлении между посадочным средством и фрикционным амортизирующим средством для постоянного подпружинивания фрикционного амортизирующего средства наружу от сжимаемого амортизирующего средства для освобождения фрикционного амортизирующего элемента, когда прилагаемая сила, сжимающая узел поглощающего аппарата, устранена.
Предпочтительно, комбинация второй заданной длины первой части, четвертой заданной длины второго конца, открытой части фрикционного амортизирующего средства и первой заданной толщины упорной плиты равна или меньше первой заданной длины гнезда поглощающего аппарата.
Предпочтительно, первая заданная длина составляет 24,625 дюйма.
Предпочтительно, каждый из пары вертикальных боковых элементов включает в себя ориентированный в продольном направлении вырез для прикрепления к хвостовику сцепки со стандартным клином тягового хомута.
Согласно второму объекту настоящего изобретения создан корпус для длинноходового узла поглощающего аппарата фрикционного типа для железнодорожного вагона, обеспечивающий поглощение ударных и тяговых нагрузок, обычно испытываемых железнодорожным подвижным составом при операции сцепки железнодорожного вагона с составом и в ходе нормальной работы состава на верхнем строении пути, причем сцепка железнодорожного вагона выполнена с возможностью передачи ударных и тяговых нагрузок, при этом узел поглощающего аппарата расположен внутри центральной тяговой балки железнодорожного вагона между двумя передними упорами и противоположными по оси двумя задними упорами, при этом гнездо поглощающего аппарата образовано передними и задними упорами и имеет первую заданную длину. Корпус содержит первый конец, имеющий первую заднюю часть первого заданного сечения и второй заданной длины, вторую заднюю часть второго заданного сечения и третьей заданной длины, выровненную по оси с первой частью, причем вторая часть закрыта торцевой стенкой, и пару задних уступов, имеющих первую заданную ширину, расположенных между первой и второй частями и упирающихся в рабочую поверхность каждого из задних упоров.
Кроме того, корпус содержит второй конец, имеющий первую переднюю часть третьего заданного сечения и четвертой заданной длины, расположенную смежно с первой частью первого конца, причем второй конец выровнен по оси с первым концом и дополнительно сообщается с первой его задней частью, и вторую переднюю часть, проходящую наружу от первой передней части и имеющую расположенные на ней средства для прикрепления к сцепке; при этом пара задних уступов выполнена с возможностью обеспечения прохождения второй задней части первого конца в тяговую балку между парой задних упоров за их рабочие поверхности, а вторая передняя часть включает в себя пару противоположных вертикальных боковых элементов.
Предпочтительно, второй конец включает в себя пару передних уступов, имеющих вторую заданную ширину и расположенных между первой и второй передними частями.
Предпочтительно, первая передняя часть включает в себя пару противоположных первых вырезов для упорной плиты, имеющих пятую заданную длину и первую заданную высоту и упирающихся в пару передних уступов.
Предпочтительно, первая заданная длина составляет 24,625 дюйма.
Предпочтительно, второй конец включает в себя пару противоположных вторых вырезов для упорной плиты, имеющих шестую заданную длину и вторую заданную высоту, причем каждый из вторых вырезов для упорной плиты расположен в одном из первой передней части и вертикальном боковом элементе второй передней части второго конца.
Предпочтительно, пятая заданная длина пары первых вырезов для упорной плиты больше или равна шестой заданной длине пары вторых вырезов для упорной плиты.
Предпочтительно, пятая заданная длина пары первых вырезов для упорной плиты больше шестой заданной длины пары вторых вырезов для упорной плиты.
Предпочтительно, каждый из вертикальных боковых элементов включает в себя ориентированный в продольном направлении вырез для прикрепления к хвостовику сцепки со стандартным клином тягового хомута.
Предпочтительно, вторая передняя часть дополнительно включает в себя пару противоположных горизонтальных поверхностей, расположенных между вертикальными боковыми элементами, образуя коробчатую конструкцию.
Предпочтительно, средства для прикрепления к сцепке, расположенные во втором конце, включают в себя пару противоположных вырезов, каждый из которых расположен в соответствующей противоположной горизонтальной поверхности для прикрепления к хвостовику сцепки со стандартным сцепляющим стержнем.
Предпочтительно, третье заданное сечение первой передней части равно первому заданному сечению первой задней части.
Предпочтительно, второй открытый конец выполнен с возможностью размещения целиком фрикционного амортизирующего средства для поглощения энергии при сжатии узла поглощающего аппарата и пружинного освобождающего средства, входящего в контакт и проходящего в продольном направлении между посадочным средством и фрикционным амортизирующим средством для постоянного подпружинивания фрикционного амортизирующего средства наружу от фрикционного амортизирующего средства для освобождения фрикционного амортизирующего элемента, когда приложенная сила, сжимающая узел поглощающего аппарата, устранена.
Согласно третьему объекту настоящего изобретения создан корпус для узла поглощающего аппарата фрикционного типа для железнодорожного вагона, обеспечивающий поглощение ударных и тяговых нагрузок, обычно испытываемых железнодорожным подвижным составом при операции сцепки железнодорожного вагона с составом и в ходе нормальной работы состава на верхнем строении пути, причем сцепка железнодорожного вагона выполнена с возможностью передачи ударных и тяговых нагрузок, при этом узел поглощающего аппарата расположен внутри центральной тяговой балки железнодорожного вагона между двумя передними упорами и противоположными по оси двумя задними упорами, при этом гнездо поглощающего аппарата образовано передними и задними упорами и имеет первую заданную длину. Корпус содержит первый конец, имеющий первое заданное сечение и вторую заданную длину, причем первый конец закрыт торцевой стенкой, а торцевая стенка упирается в рабочую поверхность каждого из задних упоров. Кроме того, корпус содержит второй конец, имеющий первую переднюю часть третьего заданного сечения и четвертой заданной длины, расположенную смежно с первым концом, причем второй конец противоположен по оси первому концу и дополнительно сообщается с ним, и вторую переднюю часть, проходящую наружу от первой передней части для прикрепления к сцепке; и пару противоположных вырезов для упорной плиты, имеющих заданную длину, причем пара противоположных вырезов для упорной плиты расположена во втором конце.
Предпочтительно, заданная длина пары противоположных вырезов для упорной плиты равна величине хода поглощающего аппарата фрикционного типа для железнодорожного вагона.
Предпочтительно, второй конец включает в себя пару передних уступов, имеющих вторую заданную ширину и расположенных между первой и второй передними частями.
Предпочтительно, первая заданная длина составляет 24,625 дюйма.
Таким образом, согласно настоящему изобретению создан узел фрикционного поглощающего аппарата для железнодорожного подвижного состава, имеющий повышенную амортизирующую способность при соответствии стандарту гнезда для поглощающего аппарата длиной 24,62 дюйма внутри центральной тяговой балки. Узел фрикционного поглощающего аппарата содержит корпус, закрытый на одном конце и открытый на противоположном конце. Корпус имеет двойную заднюю камеру, примыкающую к закрытому концу, и переднюю камеру, примыкающую к открытому концу, который сообщается с двойной задней камерой.
Двойная задняя камера имеет большую первую заднюю часть и меньшую вторую заднюю часть, расположенную вблизи закрытого конца, при этом между первой и второй задними частями расположена пара уступов для обеспечения посадки второй части между двумя задними упорами.
Первая задняя часть выполнена с возможностью размещения сжимаемого амортизирующего элемента с парой пружинных элементов, которые проходят в продольном направлении от второй части к открытой передней части.
Использование двойной задней камеры допускает применение более длинных пружинных элементов, что в комбинации обеспечивает больший ход до 4,75 дюйма и, что более важно, позволяет узлу фрикционного поглощающего аппарата достигать большей амортизирующей способности при расположении в стандартном гнезде поглощающего аппарата, имеющем длину 24,625 дюйма.
В альтернативном варианте вторая задняя часть может быть выполнена с возможностью размещения сжимаемого амортизирующего элемента, являющегося гидравлическим узлом или хорошо известным пакетом эластомерных прокладок или любой их комбинацией.
Кроме того, открытый конец может иметь удлиненную часть, включающую в себя признаки стандартного хомута для направления прикрепления к сцепке железнодорожного транспортного средства.
Техническим результатом, достигаемым согласно настоящему изобретению, является обеспечение более длинного хода поглощающего аппарата с обеспечением возможности соответствия гнезду тяговой балки, имеющей ограниченную длину гнезда.
Таким образом, одной из основных задач настоящего изобретения является создание узла фрикционного поглощающего аппарата, который защищает железнодорожный вагон посредством поглощения ударов при ударных и тяговых нагрузках.
Дополнительной задачей настоящего изобретения является создание узла фрикционного поглощающего аппарата, имеющего повышенную амортизирующую способность по сравнению с используемыми в настоящее время узлами поглощающего аппарата.
Другой задачей настоящего изобретения является создание узла фрикционного поглощающего аппарата, имеющего повышенную амортизирующую способность и имеющего увеличенный рабочий ход.
Кроме того, задачей настоящего изобретения является создание узла фрикционного поглощающего аппарата, имеющего повышенную амортизирующую способность и имеющего увеличенный рабочий ход при возможности непосредственного его прикрепления к сцепке железнодорожного вагона.
Эти и различные другие задачи и преимущества настоящего изобретения будут более понятны специалистам в данной области техники при ознакомлении с нижеследующим более подробным описанием, особенно, когда это описание дано в сочетании с прилагаемыми чертежами и прилагаемой формулой изобретения. На чертежах:
фиг.1 – вид в перспективе узла фрикционного поглощающего аппарата, соответствующего настоящему изобретению, установленного в гнездо железнодорожного вагона длиной 24,625 дюйма, показанного частично;
фиг.2 – продольный вид в сечении узла фрикционного поглощающего аппарата, соответствующего настоящему изобретению;
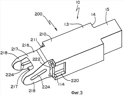
фиг.3 – вид в перспективе узла фрикционного поглощающего аппарата, соответствующего настоящему изобретению, имеющего составляющий с ним единое целое хомут для непосредственного прикрепления к сцепке железнодорожного вагона.
Перед переходом к более подробному описанию настоящего изобретения следует отметить, что для ясности идентичные компоненты, имеющие идентичные функции, обозначены одинаковыми ссылочными позициями на нескольких видах, которые показаны на чертежах.
Настоящее изобретение обеспечивает повышение амортизирующей способности узла фрикционного поглощающего аппарата, имеющего увеличенный ход, составляющий 4,75 дюйма, и помещение его в гнездо длиной 24,625 дюйма благодаря использованию новой конструкции корпуса, имеющего удлиненную заднюю часть, что допускает адаптацию более длинной пружинной конструкции, обеспечивающей более длинный ход и, что более важно, более высокую амортизирующую способность.
Согласно настоящему изобретению, как показано на фиг.1, узел фрикционного поглощающего аппарата, соответствующий настоящему изобретению, обозначенный в целом ссылочной позицией 10, расположен в гнезде 102 центральной тяговой балки железнодорожного вагона, который не показан, обозначенной в целом ссылочной позицией 100 и хорошо известной в данной области техники. Передний упор 104 и противоположный по оси задний упор 106 прикреплены к каждому боковому элементу 103 центральной тяговой балки 100 и формируют гнездо 108 поглощающего аппарата первой заданной длины, составляющей 24,625 дюйма. Соединительный хвостовик 112 сцепки 109 проходит от типичного кулака 110 сцепки в гнездо 102. Сцепка 109 расположена в целом вдоль продольной оси центральной тяговой балки 100. Кулак 110 сцепки 109 входит в зацепление с подобным элементом, отступающим от второго железнодорожного вагона или локомотива для соединения железнодорожных вагонов для движения по железнодорожным рельсам. Между хвостовиком 112 сцепки и узлом 10 фрикционного поглощающего аппарата расположена передняя упорная плита 114 для равномерной передачи удара от кулака 110 сцепки.
Узел 10 фрикционного поглощающего аппарата включает в себя корпус, обозначенный в целом ссылочной позицией 12, имеющий первый закрытый конец, который ориентирован в направлении задних упоров 106, и второй открытый конец, который ориентирован в направлении сцепки 109. Первый закрытый конец содержит первую заднюю часть 13, имеющую первое заданное сечение и вторую заданную длину, и вторую заднюю часть 15, имеющую второе заданное сечение и третью заданную длину, и выровненную по оси с первой задней частью 13. Вторая задняя часть 15 расположена вблизи донной стенки 16, которая в комбинации закрывает торец корпуса 12. Между первой и второй задними частями 13 и 15 соответственно расположена пара выступов 14, имеющих заданную ширину и упирающихся в рабочие поверхности 107 пары задних упоров 106. Такая пара выступов 14 допускает прохождение второй задней части 15 первого закрытого конца в тяговую балку 100 за рабочую поверхность 107 задних упоров 106. Будет понятно, что такая вторая задняя часть 15 будет, по меньшей мере, частично расположена между задними упорами 106.
Передняя часть 20 второго открытого конца корпуса 12, имеющая третье заданное сечение и четвертую заданную длину, расположена вблизи первой задней части 13. Передняя часть 20 противоположна по оси первому закрытому концу и находится в открытом сообщении с ним. Предпочтительно, третье заданное сечение равно первому заданному сечению первой задней части 13.
Вторая задняя часть 15 выполнена с возможностью размещения в нем сжимающегося амортизирующего средства, в целом обозначенного ссылочной позицией 18, один конец которого упирается в, по меньшей мере, часть донной стенки 16 корпуса 12.
Может быть применено установочное средство 36, расположенное смежно с внутренней поверхностью 22 донной стенки 16, для поддержания центрального расположения этого конца сжимающегося амортизирующего элемента 18 внутри второй задней части 15 корпуса 12 при сжатии и растяжении сжимающегося амортизирующего элемента 18.
Как показано на фиг.2, сжимающийся амортизирующий элемент 18 дополнительно проходит в первую заднюю часть 13.
Сжимающийся амортизирующий элемент 18 может содержать, по меньшей мере, одну амортизирующую пружину и гидравлический узел, как описано в патенте США №3368698, или, по меньшей мере, пакет эластомерных прокладок, как описано в патенте США №6488162 и в патенте США №6446820, но, предпочтительно, сжимающийся амортизирующий элемент 18 содержит, по меньшей мере, одну амортизирующую пружину 28, и еще предпочтительнее, сжимающийся амортизирующий элемент 18 содержит пару из первого и второго упругих сжимающихся средств, являющихся парой из первого и второго пружинных элементов 28 и 28а соответственно. Пара из первого и второго пружинных элементов 28 и 28а соответственно имеет пятую заданную длину и первую и вторую жесткости пружины соответственно для обеспечения повышенной амортизирующей способности узла 10 фрикционного поглощающего аппарата в комбинации с корпусом 12, имеющим вторую заднюю часть 15.
Внутри корпуса 12 расположено посадочное средство 24, упирающееся в пару из первой и второй пружин 28 и 28а соответственно, для обеспечения продольного движения в нем для соответствующего сжатия и ослабления сжимающегося амортизирующего элемента 18 при приложении и устранении силы, воздействующей на узел 10 поглощающего аппарата.
По меньшей мере, частично внутри передней части 20 корпуса 12 расположено фрикционное амортизирующее средство, обозначенное в целом ссылочной позицией 42. Фрикционное амортизирующее средство 42 поглощает энергию при приложении силы, достаточной для сжатия узла 10 поглощающего аппарата.
Специалистам в данной области техники будет понятно, что комбинация второй заданной длины первой задней части 13, четвертой заданной длины передней части 20, открытой части фрикционного амортизирующего средства 42 и заданной толщины упорной плиты 114 будет приблизительно равна или немного меньше первой заданной длины гнезда 108 поглощающего аппарата.
Фрикционное амортизирующее средство 42 включает в себя пару отстоящих в боковом направлении внешних неподвижных пластин 44, имеющих внутреннюю фрикционную поверхность 48 и противоположную внешнюю поверхность 46, входящую в контакт с корпусом 12.
Пара отстоящих в боковом направлении подвижных пластин 50 по существу равномерной толщины, имеющих внешнюю фрикционную поверхность 52 и внутреннюю фрикционную поверхность 54 и, по меньшей мере, одну по существу плоскую кромку 56 между внешней фрикционной поверхностью 52 и внутренней фрикционной поверхностью 54, расположена внутри открытого конца узла 10 поглощающего аппарата. Внутренняя фрикционная поверхность 54 имеет кромку 56, входящую в контакт с посадочным средством 24. По меньшей мере, часть внешней фрикционной поверхности 52 с возможностью движения и с трением входит в контакт с внутренней фрикционной поверхностью 48 внешней неподвижной пластины 44.
К подвижным пластинам 50 примыкает пара отстоящих в боковом направлении суживающихся пластин 58, имеющих внешнюю фрикционную поверхность 60 и противоположную внутреннюю фрикционную поверхность 62. Внешняя фрикционная поверхность 60 с возможностью движения и с трением входит в контакт с, по меньшей мере, частью внутренней фрикционной поверхности 54 подвижной пластины 50.
Фрикционное амортизирующее средство 42 дополнительно содержит пару отстоящих в боковом направлении клиновых колодок 64, которые имеют, по меньшей мере, часть внешней фрикционной поверхности 66, с возможностью движения и с трением входящую в контакт с, по меньшей мере, частью внутренней фрикционной поверхности 62 суживающейся неподвижной пластины 58. Клиновые колодки 64 имеют, по меньшей мере, часть одной кромки 68, взаимодействующей с посадочным средством 24, и заданную суживающуюся часть 70 на ее противоположной кромке.
При этом используется центральный клин 72, имеющий пару сопрягающихся суживающихся частей 74 для взаимодействия с суживающейся частью 70 клиновой колодки 64 для инициирования фрикционного сцепления фрикционного амортизирующего средства 42.
Узел 10 фрикционного поглощающего аппарата дополнительно включает в себя пружинное освобождающее средство 76, входящее в контакт и проходящее в продольном направлении между посадочным средством 24 и центральным клином 72, для постоянного подпружинивания фрикционного амортизирующего средства 42 наружу от сжимающегося амортизирующего элемента 18 для освобождения фрикционного амортизирующего средства 42, когда прилагаемая сила, сжимающая узел 10 фрикционного поглощающего аппарата, устранена.
При работе при ударе в кулак 110 сцепки удар передается от хвостовика 112 сцепки через упорную плиту 114 центральному клину 72, вызывая его воздействие на клиновые колодки 64 и, таким образом, одновременное сжатие всех амортизирующих средств. Эти детали будут создавать достаточную амортизацию слабых ударов. Однако после надлежащего хода упорная плита 114 упрется во внешние концы подвижных пластин 50, создающих поглощающее энергию трение между подвижными пластинами 50 и неподвижными пластинами 58 и 44, которые прижаты друг к другу действием клиновых колодок 64. При продолжении этого действия давление между примыкающими поверхностями вставленных пластин резко возрастает вследствие того факта, что клиновые колодки 64 нагружены в направлении амортизирующего механизма 42. Поглощение энергии и диссипация за счет трения и сжатия амортизирующего механизма продолжается, пока узел 10 фрикционного поглощающего аппарата не будет замкнут, включая сжатие амортизирующего элемента 18. Продолжение амортизирующего элемента 18 во вторую заднюю часть 15 корпуса 12 обеспечивает увеличенный его ход и, что более важно, позволяет узлу 10 фрикционного поглощающего аппарата поглощать большие ударные нагрузки от сцепки 109.
При освобождении узла 10 фрикционного поглощающего аппарата сжимаемый амортизирующий элемент 18 остается выровненным благодаря посадочному средству 24.
Корпус, обозначенный в целом ссылочной позицией 200, для узла 10 фрикционного поглощающего аппарата, содержащий составляющую единое целое с ним вилку, которая лучше видна на фиг.3, имеет пару противоположных первых вырезов 220 для упорной плиты, имеющих пятую заданную длину и первую заданную высоту и расположенных в первой передней части 210 второго открытого конца. Вторая передняя часть 216 выступает наружу из первой передней части 210 и содержит пару противоположных вертикальных боковых элементов 218. Каждый боковой элемент 218 имеет второй вырез 222 для упорной плиты, имеющий шестую заданную длину и вторую заданную высоту, и ориентированный в продольном направлении вырез 224 для крепления хвостовика 112 сцепки к стандартному клину тягового хомута (не показан).
Предпочтительно, между боковыми элементами 218 расположена пара противоположных горизонтальных поверхностей 217, образующих коробчатую конструкцию, лучше видную на фиг.1, для усиления структурной целостности вертикальных боковых элементов 218 при работе узла 10 фрикционного поглощающего аппарата.
Специалистам в данной области техники будет очевидно, что в горизонтальных поверхностях 217 может быть выполнена пара противоположных круглых вырезов для соединения со сцепкой 109, представляющей собой стандартную сцепку с F-образным хвостовиком со сцепляющим стержнем (не показан).
Между первой и второй передними частями 210 и 216 соответственно расположена пара передних уступов 211, имеющих вторую заданную ширину и упирающихся в рабочую поверхность 105 каждого из передних упоров 104, когда узел 10 фрикционного поглощающего аппарата находится в конце полного хода поглощения нагрузки.
Хотя в данный момент предпочтительные и различные альтернативные варианты осуществления настоящего изобретения были описаны выше со значительной детализацией с конкретными ссылками на чертежи, следует понимать, что специалисты в данной области техники могут вносить или представлять себе различные дополнительные модификации и/или приспособления настоящего изобретения без отхода от сущности настоящего изобретения и от объема прилагаемой формулы изобретения.
Формула изобретения
1. Корпус для длинноходового узла поглощающего аппарата фрикционного типа для железнодорожного вагона, обеспечивающий поглощение ударных и тяговых нагрузок, обычно испытываемых железнодорожным подвижным составом при операции сцепки железнодорожного вагона с составом и в ходе нормальной работы состава на верхнем строении пути, причем сцепка и упорная плита железнодорожного вагона выполнены с возможностью передачи ударных и тяговых нагрузок, при этом упорная плита имеет первую заданную толщину, узел поглощающего аппарата расположен внутри центральной тяговой балки железнодорожного вагона между двумя передними упорами и противоположными по оси двумя задними упорами, при этом гнездо поглощающего аппарата образовано передними и задними упорами и имеет заданную длину, причем корпус содержит
первый конец, имеющий первую часть первого заданного сечения и второй заданной длины, вторую часть второго заданного сечения и третьей заданной длины, выровненную по оси с первой частью, причем вторая часть закрыта торцевой стенкой, и пару уступов, имеющих заданную ширину, расположенных между первой и второй частями и упирающихся в рабочую поверхность каждого из задних упоров, отличающийся тем, что он содержит второй конец, имеющий четвертую заданную длину, расположенный смежно с первой частью первого конца, причем второй конец противоположен по оси первому концу, а также сообщается с первой его частью и дополнительно включает в себя пару противоположных вертикальных боковых элементов, выступающих из него наружу.
2. Корпус по п.1, отличающийся тем, что торцевая стенка имеет внутреннюю поверхность.
3. Корпус по п.2, отличающийся тем, что первый конец дополнительно включает в себя установочное средство, расположенное смежно с внутренней поверхностью торцевой стенки для удерживания в центре одного конца сжимаемого амортизирующего элемента, расположенного во второй части первого конца при сжатии и растяжении сжимаемого амортизирующего элемента, причем один конец упирается в, по меньшей мере, часть внутренней поверхности торцевой стенки, закрывающей первый конец корпуса, при этом сжимаемый амортизирующий элемент проходит в продольном направлении от внутренней поверхности торцевой стенки в первую часть первого конца.
4. Корпус по п.3, отличающийся тем, что сжимаемый амортизирующий элемент включает в себя, по меньшей мере, одно упругое сжимаемое средство заданной длины.
5. Корпус по п.4, отличающийся тем, что, по меньшей мере, одно упругое сжимаемое средство представляет собой, по меньшей мере, одно из пружинного элемента, гидравлического узла, пакета эластомерных прокладок и их комбинации.
6. Корпус по п.5, отличающийся тем, что, по меньшей мере, одно упругое сжимаемое средство представляет собой пару из первого пружинного элемента, имеющего первую заданную жесткость пружины, и второго пружинного элемента, имеющего вторую заданную жесткость пружины.
7. Корпус по п.3, отличающийся тем, что первая часть первого конца выполнена с возможностью размещения посадочного средства, имеющего, по меньшей мере, часть одной его поверхности, упирающуюся в противоположный по оси конец сжимаемого амортизирующего элемента и установленную для продольного движения внутри корпуса для соответственного сжатия и освобождения сжимаемого амортизирующего элемента при приложении и устранении силы, воздействующей на узел поглощающего аппарата.
8. Корпус по п.1, отличающийся тем, что второй конец выполнен с возможностью, по меньшей мере, частичного размещения фрикционного амортизирующего средства для поглощения энергии при сжатии узла поглощающего аппарата, и средство освобождения пружины входит в контакт и проходит в продольном направлении между посадочным средством и фрикционным амортизирующим средством для постоянного подпружинивания фрикционного амортизирующего средства наружу от сжимаемого амортизирующего средства для освобождения фрикционного амортизирующего элемента, когда прилагаемая сила, сжимающая узел поглощающего аппарата, устранена.
9. Корпус по п.3, отличающийся тем, что комбинация второй заданной длины первой части, четвертой заданной длины второго конца, открытой части фрикционного амортизирующего средства и первой заданной толщины упорной плиты равна или меньше первой заданной длины гнезда поглощающего аппарата.
10. Корпус по п.1, отличающийся тем, что первая заданная длина составляет 24,625 дюйма.
11. Корпус по п.1, отличающийся тем, что каждый из пары вертикальных боковых элементов включает в себя ориентированный в продольном направлении вырез для прикрепления к хвостовику сцепки со стандартным клином тягового хомута.
12. Корпус для длинноходового узла поглощающего аппарата фрикционного типа для железнодорожного вагона, обеспечивающий поглощение ударных и тяговых нагрузок, обычно испытываемых железнодорожным подвижным составом при операции сцепки железнодорожного вагона с составом и в ходе нормальной работы состава на верхнем строении пути, причем сцепка железнодорожного вагона выполнена с возможностью передачи ударных и тяговых нагрузок, при этом узел поглощающего аппарата расположен внутри центральной тяговой балки железнодорожного вагона между двумя передними упорами и противоположными по оси двумя задними упорами, при этом гнездо поглощающего аппарата образовано передними и задними упорами и имеет первую заданную длину, причем корпус содержит первый конец, имеющий первую заднюю часть первого заданного сечения и второй заданной длины, вторую заднюю часть второго заданного сечения и третьей заданной длины, выровненную по оси с первой частью, причем вторая часть закрыта торцевой стенкой, и пару задних уступов, имеющих первую заданную ширину, расположенных между первой и второй частями и упирающихся в рабочую поверхность каждого из задних упоров, отличающийся тем, что он содержит второй конец, имеющий первую переднюю часть третьего заданного сечения и четвертой заданной длины, расположенную смежно с первой частью первого конца, причем второй конец противоположен по оси первому концу и дополнительно сообщается с первой его задней частью, и вторую переднюю часть, проходящую наружу от первой передней части и имеющую расположенные на ней средства для прикрепления к сцепке;
при этом пара задних уступов выполнена с возможностью обеспечения прохождения второй задней части первого конца в тяговую балку между парой задних упоров за их рабочие поверхности, а вторая передняя часть включает в себя пару противоположных вертикальных боковых элементов.
13. Корпус по п.12, отличающийся тем, что второй конец включает в себя пару передних уступов, имеющих вторую заданную ширину и расположенных между первой и второй передними частями.
14. Корпус по п.12, отличающийся тем, что первая передняя часть включает в себя пару противоположных первых вырезов для упорной плиты, имеющих пятую заданную длину и первую заданную высоту и упирающихся в пару передних уступов.
15. Корпус по п.12, отличающийся тем, что первая заданная длина составляет 24,625 дюйма.
16. Корпус по п.12, отличающийся тем, что второй конец включает в себя пару противоположных вторых вырезов для упорной плиты, имеющих шестую заданную длину и вторую заданную высоту, причем каждый из вторых вырезов для упорной плиты расположен в одном из первой передней части и вертикальном боковом элементе второй передней части второго конца.
17. Корпус по п.16, отличающийся тем, что пятая заданная длина пары первых вырезов для упорной плиты больше или равна шестой заданной длине пары вторых вырезов для упорной плиты.
18. Корпус по п.17, отличающийся тем, что пятая заданная длина пары первых вырезов для упорной плиты больше шестой заданной длины пары вторых вырезов для упорной плиты.
19. Корпус по п.12, отличающийся тем, что каждый из вертикальных боковых элементов включает в себя ориентированный в продольном направлении вырез для прикрепления к хвостовику сцепки со стандартным клином тягового хомута.
20. Корпус по п.12, отличающийся тем, что вторая передняя часть дополнительно включает в себя пару противоположных горизонтальных поверхностей, расположенных между вертикальными боковыми элементами, образуя коробчатую конструкцию.
21. Корпус по п.20, отличающийся тем, что средства для прикрепления к сцепке, расположенные во втором конце, включают в себя пару противоположных вырезов, каждый из которых расположен в соответствующей противоположной горизонтальной поверхности для прикрепления к хвостовику сцепки со стандартным сцепляющим стержнем.
22. Корпус по п.12, отличающийся тем, что третье заданное сечение первой передней части равно первому заданному сечению первой задней части.
23. Корпус по п.12, отличающийся тем, что второй открытый конец выполнен с возможностью размещения целиком фрикционного амортизирующего средства для поглощения энергии при сжатии узла поглощающего аппарата и пружинного освобождающего средства, входящего в контакт и проходящего в продольном направлении между посадочным средством и фрикционным амортизирующим средством для постоянного подпружинивания фрикционного амортизирующего средства наружу от фрикционного амортизирующего средства для освобождения фрикционного амортизирующего элемента, когда приложенная сила, сжимающая узел поглощающего аппарата, устранена.
24. Корпус для узла поглощающего аппарата фрикционного типа для железнодорожного вагона, обеспечивающий поглощение ударных и тяговых нагрузок, обычно испытываемых железнодорожным подвижным составом при операции сцепки железнодорожного вагона с составом и в ходе нормальной работы состава на верхнем строении пути, причем сцепка железнодорожного вагона выполнена с возможностью передачи ударных и тяговых нагрузок, при этом узел поглощающего аппарата расположен внутри центральной тяговой балки железнодорожного вагона между двумя передними упорами и противоположными по оси двумя задними упорами, при этом гнездо поглощающего аппарата образовано передними и задними упорами и имеет первую заданную длину, причем корпус содержит
первый конец, имеющий первое заданное сечение и вторую заданную длину, причем первый конец закрыт торцевой стенкой, а торцевая стенка упирается в рабочую поверхность каждого из задних упоров; отличающийся тем, что он содержит
второй конец, имеющий первую переднюю часть третьего заданного сечения и четвертой заданной длины, расположенную смежно с первым концом, причем второй конец противоположен по оси первому концу и дополнительно сообщается с ним, и вторую переднюю часть, проходящую наружу от первой передней части для прикрепления к сцепке; и пару противоположных вырезов для упорной плиты, имеющих заданную длину, причем пара противоположных вырезов для упорной плиты расположена во втором конце.
25. Корпус по п.24, отличающийся тем, что заданная длина пары противоположных вырезов для упорной плиты равна величине хода поглощающего аппарата фрикционного типа для железнодорожного вагона.
26. Корпус по п.24, отличающийся тем, что второй конец включает в себя пару передних уступов, имеющих вторую заданную ширину и расположенных между первой и второй передними частями.
27. Корпус по п.24, отличающийся тем, что первая заданная длина составляет 24,625 дюйма.
Приоритет по пунктам:
16.01.2004 – пп.1-13, 15, 20-23, 27;
27.08.2004 – пп.14, 16-19, 24-26.
РИСУНКИ
|
|