|
(21), (22) Заявка: 2007127955/11, 20.07.2007
(24) Дата начала отсчета срока действия патента:
20.07.2007
(46) Опубликовано: 27.03.2009
(56) Список документов, цитированных в отчете о поиске:
RU 22686900 C1, 10.11.2006. EP 1323610 A1, 02.07.2003. CA 2396525 A1, 01.02.2003.
Адрес для переписки:
680021, г.Хабаровск, ул. Серышева, 47, ДВГУПС, зав. ОПС Н.Ф. Щербаковой
|
(72) Автор(ы):
Доронин Владимир Иванович (RU), Доронин Сергей Владимирович (RU)
(73) Патентообладатель(и):
Государственное образовательное учреждение высшего профессионального образования “Дальневосточный государственный университет путей сообщения” (ДВГУПС) (RU)
|
(54) БУКСОВЫЙ УЗЕЛ ЛОКОМОТИВНОЙ ТЕЛЕЖКИ С РЕГУЛИРУЕМОЙ УСТАНОВКОЙ КОЛЕСНЫХ ПАР
(57) Реферат:
Буксовый узел содержит буксу (1), вертикальную упругую связь (2) буксы с рамой тележки (3), два упругих буксовых поводка (4), каждый из которых первым концом шарнирно соединен с буксой. П-образная каретка (5) установлена в буксовом узле с возможностью поступательного перемещения ее вдоль продольной оси рамы тележки. Вертикальные стойки каретки шарнирно соединены со вторыми концами каждого буксового поводка, а каретка поводком (6) соединена с приводным устройством регулируемой установки колесных пар. Обеспечивается надежность буксовых узлов локомотивных тележек при работе в кривых. 1 ил.
Изобретение относится к железнодорожному транспорту, а именно к локомотивным тележкам с устройством регулируемой установки колесных пар, эксплуатируемых в криволинейных участках пути.
При прохождении локомотивной тележки криволинейных участков пути возникают значительные силы давления гребней колес, набегающих на наружный рельс колеи. Возникновение этих сил обусловлено отклонением осей колесных пар тележки от радиального положения. Значительные силы бокового давления на рельс гребней локомотивных колес вызывают интенсивный износ соответствующих контактирующих поверхностей.
Для уменьшения сил бокового давления выполняется принудительный разворот осей колесных пар в радиальное положение. Для этого локомотивные тележки оснащаются устройствами регулируемой установки колесных пар (РУКП). Но устройства РУКП не обеспечивают точную установку осей колесных пар в радиальное положение из-за значительного сопротивления их развороту со стороны упругих элементов буксового узла, имеющих нормативный коэффициент продольной жесткости Спр=78,5 кН/мм [1].
Такое значение коэффициента Спр при выполнении принудительного разворота осей колесных пар в кривых участках пути создает в упругих элементах большие продольные силы, которые способствуют накоплению повреждений буксовых узлов, сокращению времени их нормального функционирования.
Проблема повышения надежности буксовых узлов локомотивных тележек с устройствами РУКП при работе в кривых заключается в снижении влияния продольных сил упругости в буксовых узлах на процесс принудительного разворота осей колесных пар в радиальное положение.
Известен буксовый узел локомотивной тележки с регулируемой установкой колесных пар, который расположен на соответствующем конце оси каждой колесной пары тележки, управляемой неприводным устройством РУКП [2].
Буксовый узел содержит буксу, вертикальную упругую связь буксы с рамой тележки, два упругих буксовых поводка. Каждый упругий буксовый поводок одним концом шарнирно соединен с буксой, другим – с соответствующим кронштейном рамы тележки. Букса шарнирно соединена с выходным звеном неприводного устройства РУКП.
Известный буксовый узел при движении локомотивной тележки в кривой работает следующим образом. При движении тележки в кривой ось ее задней колесной пары в соответствии с закономерностями вписывания рельсовых экипажей отклоняется от номинального положения в раме тележки на малый угол 2 в направлении, противоположном вписыванию тележки в кривую ( 2>0). Это движение от буксовых узлов задней колесной пары передается через звенья неприводного устройства РУКП к буксовым узлам передней колесной пары, а от них – к оси этой пары. Ось передней колесной пары отклоняется от номинального положения в раме тележки на угол 1=- 2. При этом расстояние между центрами буксовых узлов на наружной рельсовой нити увеличивается, а на внутренней нити – уменьшается. Оси колесных пар приближаются к положениям, характерным для радиальной установки.
Однако модули углов 1 и 2 при вписывании локомотивных тележек в кривые недостаточны для точной радиальной установки колесных пар. Это обусловлено большим сопротивлением развороту осей колесных пар со стороны упругих буксовых поводков. Сопротивление развороту осей колесных пар зависит от коэффициента продольной жесткости буксовых поводков Спр, который в кривых остается равным 78,5 кН/мм, как при движении в прямых. Большое сопротивление развороту колесных пар приводит к тому, что их оси заканчивают разворот до достижения радиальной установки, а в буксовых поводках возникают значительные продольные силы, которые вызывают интенсивные накопления повреждений буксовых узлов и, как следствие, сокращение времени их нормального функционирования.
Низкая надежность известного буксового узла локомотивной тележки с непридным устройством РУКП из-за интенсивного накопления повреждений в процессе эксплуатации является его недостатком.
Наиболее близким к заявляемому устройству по максимальному количеству сходных признаков и достигаемому результату является буксовый узел локомотивной тележки с регулируемой установкой колесных пар, который расположен на соответствующем конце оси каждой колесной пары тележки, управляемой приводным устройством РУКП [3].
Буксовый узел содержит буксу, вертикальную упругую связь буксы с рамой тележки, внешний и внутренний буксовые поводки. Расположенный с торцевой стороны тележки внешний упругий буксовый поводок шарнирно соединен с буксой и с выходным звеном приводного устройства РУКП, а расположенный между колесными парами внутренний упругий буксовый поводок – с буксой и с соответствующим кронштейном рамы тележки.
Буксовые узлы передней колесной пары тележки соединены с первым приводным устройством РУКП, работающим в прямом движении локомотива, а буксовые узлы задней колесной пары – со вторым приводным устройством РУКП, работающим в обратном движении локомотива.
Буксовый узел локомотивной тележки с приводными устройствами РУКП в кривых работает следующим образом. При входе тележки в кривую первое устройство РУКП создает управляющий момент, который посредством внешних буксовых поводков передается на буксы передней колесной пары, а от них – на ось этой пары. Управляющий момент преодолевает активные и реактивные силы, действующие на переднюю колесную пару со стороны рамы тележки и рельсовой колеи, а также силы упругости внутренних буксовых поводков, коэффициент продольной жесткости которых Спр равен его нормативному значению в прямых и кривых участках пути. В результате ось этой колесной пары поворачивается в направлении вписывания тележки в кривую. В установившемся движении тележки управляющий момент, силы упругости внутренних буксовых поводков, активные и реактивные силы, приложенные к передней колесной паре, уравновешиваются. Ось этой пары устанавливается в фиксированное положение в раме тележки, отклоняясь от номинального положения на угол 1 ( 1<0).
На задней колесной паре в этот период движения устройство РУКП отключено и управляющий момент не создается. При входе тележки в кривую на заднюю колесную пару действуют активные и реактивные силы со стороны рамы тележки и рельсовой колеи. Эти силы преодолевают силы упругости внешних и внутренних буксовых поводков, разворачивая ось задней колесной пары в направлении, противоположном вписыванию тележки в кривую. В установившемся движении приложенные к задней колесной паре тележки активные и реактивные силы уравновешиваются силами упругости внешних и внутренних буксовых поводков, а ось этой пары устанавливается в фиксированное положение в раме тележки, отклоняясь от номинального положения на угол 2 ( 2>0).
При этом углы 1 и 2 близки углам, соответствующим радиальной установке колесных пар.
Достоинством известного буксового узла локомотивной тележки с приводными устройствами РУКП является более точная установка колесных пар в положения, близкие к радиальным, за счет активного воздействия управляющего момента на положение буксовых узлов колесных пар в раме тележки.
Недостатком известного буксового узла является его невысокая надежность из-за интенсивного накопления повреждений буксового узла и сокращение времени его нормального функционирования. Это обусловлено тем, что установка оси передней колесной пары в кривых малого радиуса в положение, близкое к радиальному, при сохранении нормативного значения коэффициента продольной жесткости буксовых поводков Спр=78,5 кН/мм требует приложения к колесной паре большого управляющего момента. Так, в кривой радиусом 300 м при скорости локомотива 10 м/с управляющий момент превышает 2000 кНм. От момента такой величины в буксовых поводках возникают значительные продольные силы упругости, которые приводят к интенсивному накоплению повреждений буксового узла и к снижению его надежности.
Задача, решаемая изобретением, заключается в разработке буксового узла локомотивной тележки с регулируемой установкой колесных пар, который имеет высокую надежность при работе в кривых малого радиуса при одновременном значительном снижении управляющего момента устройства регулируемой установки колесных пар, обеспечивающего радиальную установку колесных пар и снижающего боковой износ гребней локомотивных колес и рельсов в кривых участках пути за счет исключения влияния продольных сил упругости буксовых поводков на процесс принудительного разворота осей колесных пар в радиальное положение.
Для решения поставленной задачи буксовый узел локомотивной тележки с регулируемой установкой колесных пар, установленный на соответствующем конце каждой колесной пары тележки, содержащий буксу, вертикальную упругую связь буксы с рамой тележки, два упругих буксовых поводка, каждый из которых первым концом шарнирно соединен с буксой, дополнительно снабжен П-образной кареткой с возможностью поступательного перемещения ее вдоль продольной оси рамы тележки, при этом второй конец каждого упругого буксового поводка шарнирно соединен с соответствующей вертикальной стойкой каретки, а каретка поводком соединена с приводным устройством регулируемой установки колесных пар.
Заявляемое решение отличается от прототипа введением нового узла, а именно П-образной каретки, и новыми взаимосвязями элементов буксового узла, что свидетельствует о соответствии заявляемого решения критерию патентоспособности «новизна».
Благодаря П-образной каретке и новым взаимосвязям элементов буксового узла исключается при движении в кривых влияние продольных сил упругости буксового узла на процесс принудительного разворота осей колесных пар, что приводит к увеличению его надежности при работе в кривых малого радиуса. Это обусловлено тем, что большие силы упругости в буксовых поводках, оказывающие основное влияние на величину управляющего момента, переходят из разряда внешних сил в разряд внутренних сил системы «колесная пара с буксовыми узлами на концах» и поэтому не оказывают влияние на величину управляющего момента. При этом фактическая величина управляющего момента уменьшается, что приводит к уменьшению сил взаимодействия элементов буксовых узлов, снижению интенсивности накопления повреждений буксовых узлов и повышению их надежности при работе в кривых малого радиуса. Причинно-следственная связь «введение каретки как фактора преобразования продольных упругих сил во внутренние силы системы, приводит к снижению интенсивности накопления повреждений буксовых узлов и повышению их надежности при работе в кривых малого радиуса» логически вытекает из известного уровня техники.
Однако с одновременным снижением интенсивности накопления повреждений буксовых узлов на два порядка снижается расчетный управляющий момент устройства для радиальной установки колесных пар (до 16 кНм), что позволяет со значительно меньшей динамической нагруженностью обеспечивать радиальную установку колесных пар и снижать боковой износ гребней локомотивных колес и рельсов.
Причинно-следственная связь «введение каретки как фактора преобразования продольных упругих сил во внутренние силы системы, приводит к уменьшению величины управляющего момента устройства для регулируемой установки колесных пар на два порядка (не менее чем в 100 раз)» логически не вытекает из известного уровня техники. Наличие новой причинно-следственной связи свидетельствует о соответствии заявляемого решения критерию патентоспособности «изобретательский уровень».
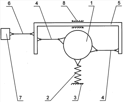
На чертеже представлена схема предлагаемого буксового узла локомотивной тележки с регулируемой установкой колесных пар.
Буксовый узел расположен на соответствующем конце каждой колесной пары локомотивной тележки с приводным устройством РУКП (не показаны).
Буксовый узел содержит буксу 1 с вертикальной упругой связью 2 ее с рамой локомотивной тележки 3, два упругих буксовых поводка 4 и П-образную каретку 5 с поводком 6.
Каждый упругий буксовый поводок 4 первым концом шарнирно соединен с буксой 1, а вторым концом – с соответствующей вертикальной стойкой каретки 5.
Одна из вертикальных стоек или горизонтальная полочка каретки 5 соединена поводком 6 с выходным звеном 7 приводного устройства РУКП.
Каретка 5 расположена в продольных направляющих 8 рамы тележки 3 с возможностью поступательного перемещения ее вдоль продольной оси рамы тележки 3.
Устройство работает следующим образом.
При входе локомотивной тележки в кривую приводное устройство РУКП передней колесной пары создает управляющий момент, который через поводок 6 передается на каретку 5 каждого буксового узла. Каретка 5 смещается в продольной направляющей 8 рамы тележки 3. В том же направлении вместе с кареткой 5 перемещаются буксовые поводки 4, букса 1 каждого буксового узла и связанный с буксой 1 соответствующий конец оси колесной пары. Конец оси колесной пары на наружной рельсовой нити перемещается в направлении движения тележки, а конец оси на внутренней рельсовой нити – на такое же расстояние в противоположном направлении. При этом ось колесной пары поворачивается в направлении вписывания тележки в кривую.
Согласно известному закону сохранения движения центра масс силы упругости буксовых поводков 4, являясь внутренними силами системы «передняя колесная пара с буксовыми узлами на концах оси», не оказывают влияние на указанные перемещения и на величину управляющего момента, который их создает.
Вследствие этого и при установившемся движении тележки управляющий момент уравновешивается только внешними активными и реактивными силами, приложенными к системе «передняя колесная пара с буксовыми узлами на концах оси» со стороны рамы тележки 3 и рельсовой колеи. При этом ось передней колесной пары устанавливается в фиксированное положение в раме тележки, отклоняясь от номинального положения на угол 1 ( 1<0), а управляющий момент является незначительным. Буксовые узлы передней колесной пары тележки работают в условиях малой динамической нагруженности.
Приводное устройство РУКП задней колесной пары при входе локомотивной тележки в кривую устанавливает каретку 5 каждого буксового узла этой пары в фиксированное среднее положение в продольной направляющей 8 рамы тележки 3 и отключается, не создавая в дальнейшем управляющего момента. На заднюю колесную пару действуют активные и реактивные силы со стороны рамы тележки 3 и рельсовой колеи. Эти силы преодолевают силы упругости внешних и внутренних буксовых поводков, разворачивая ось задней колесной пары в направлении, противоположном вписыванию тележки в кривую. В установившемся движении приложенные к задней колесной паре активные и реактивные силы уравновешиваются силами упругости внешних и внутренних буксовых поводков, а ось этой пары занимает фиксированное положение в раме тележки, отклоняясь от номинального положения 2 ( 2>0).
При этом углы 1 и 2 близки углам, соответствующим радиальной установке колесных пар.
Использование заявляемого решения позволяет увеличить время нормального функционирования буксового узла до времени безремонтной работы всей локомотивной тележки за счет уменьшения величины управляющего момента по сравнению с прототипом не менее чем в 100 раз.
Источники информации
1. Магистральные электровозы: Общие характеристики. Механическая часть / В.И.Бочаров, И.Ф.Кодинцев, А.И.Кравченко и др. – М.: Машиностроение, 1991. – С.82.
3. Пат. №2286900 РФ, МПК7 B61F 5/48. (2006.01). Устройство для установки колесных пар локомотивной тележки в кривых / В.И.Доронин, С.В.Доронин; ДВГУПС (РФ). – Заявлено 09.03.2005, Опубл. 10.11.2006, Бюл. №31.
Формула изобретения
Буксовый узел локомотивной тележки с регулируемой установкой колесных пар, установленный на соответствующем конце каждой колесной пары тележки, содержащий буксу, вертикальную упругую связь буксы с рамой тележки, два упругих буксовых поводка, каждый из которых первым концом шарнирно соединен с буксой, отличающийся тем, что в него дополнительно введена П-образная каретка с возможностью поступательного перемещения ее вдоль продольной оси рамы тележки, при этом второй конец каждого упругого буксового поводка шарнирно соединен с соответствующей вертикальной стойкой каретки, а каретка поводком соединена с приводным устройством регулируемой установки колесных пар.
РИСУНКИ
|