|
|
(21), (22) Заявка: 2007146377/11, 17.12.2007
(24) Дата начала отсчета срока действия патента:
17.12.2007
(46) Опубликовано: 27.03.2009
(56) Список документов, цитированных в отчете о поиске:
RU 52794 U1, 27.04.2006. EP 1217135 A1, 26.06.2002. CN 101007535 A1, 01.08.2007.
Адрес для переписки:
109125, Москва, ул. Окская, 4, корп.3, оф.34, ООО “Минаев и партнеры”, пат. пов. А.А. Минаеву, рег.№ 461
|
(72) Автор(ы):
Душкин Виктор Соломонович (RU), Закатов Алексей Сергеевич (RU), Кузькин Антон Викторович (RU)
(73) Патентообладатель(и):
Общество с ограниченной ответственностью “Промышленные вакуумные системы” (RU)
|
(54) СИСТЕМА ОПОРОЖНЕНИЯ ВАКУУМНОГО БАКА-НАКОПИТЕЛЯ ОТХОДОВ ТУАЛЕТОВ ТРАНСПОРТНЫХ СРЕДСТВ
(57) Реферат:
Изобретение относится к санитарно-гигиеническому оборудованию транспортных средств, например железнодорожных вагонов. Система опорожнения вакуумного бака-накопителя отходов туалетов транспортных средств включает откачивающую трубу (1), часть которой выведена из бака-накопителя (2) и снабжена закрепленной на нем оболочкой (3). Между откачивающей трубой (1) и оболочкой (3) имеется зазор. На выведенном конце откачивающей трубы (1) прикреплен штуцер для стыковки со шлангом откачивающего агрегата и установлен запорный узел (5), закрывающий штуцер и зазор между трубой и ее оболочкой (3). Запорный узел (5) состоит из двух подпружиненных стаканов, вставленных с зазором один в другой. Дно наружного стакана имеет отверстие с отогнутыми внутрь краями, образующими цилиндрический борт. Дно внутреннего стакана имеет углубление с цилиндрическими стенками, охватывающее цилиндрический борт с возможностью скольжения по нему, и отверстия, перекрытые управляемым клапаном, предназначенным для впуска в откачивающую трубу (1) и бак-накопитель (2) атмосферного воздуха. Откачку производят через штуцер, при этом атмосферный воздух через зазор между откачивающей трубой (1) и оболочкой (3) заполняет освобождающийся объем бака-накопителя (2). Изобретение упрощает конструкцию и обеспечивает удобство эксплуатации. 9 з.п. ф-лы, 5 ил.
Изобретение относится к санитарно-гигиеническому оборудованию транспортных средств и может быть использовано в туалетах железнодорожных вагонов.
Из описания изобретения к патенту Российской Федерации RU 2250168, кл. В61D 35/00, Е03F 1/00, опубл. 20.04.2005 г. [1], известна система опорожнения вакуумного бака-накопителя туалета транспортного средства, включающая бак-накопитель, сливную трубу и запорный узел. Бак-накопитель, установленный на вагоне, имеет малый объем, он вмещает всего около десяти смывов. Поэтому при больших перегонах неизбежно опорожнение бака-накопителя непосредственно на железнодорожный путь. Последнее обстоятельство в связи возрастающими требованиями к экологии окружающей среды ограничивает сферу применения устройства [1]. Помимо этого в техническом решении [1] для эффективного и быстрого опорожнения бака-накопителя требуются средства повышения в нем давления до 0,5-0,7 бар.
Из описания к заявке на патент WO 02/36406, кл. В61D 35/00, опубл. 10.05.2002 г. [2], известна система опорожнения бака-накопителя туалетов транспортных средств, включающая бак-накопитель, сливную трубу и запорный узел. Опорожнение содержимого бака-накопителя производят в длинную траншею, расположенную под железнодорожными путями, сообщающуюся с канализационной трубой. Большие размеры траншеи даже при тщательном уходе за ее состоянием в связи с испарениями нечистот, несомненно, отрицательно влияют на состав окружающей атмосферы.
Из описания изобретения к патенту Российской Федерации RU 2276642, кл. В61D 35/00, В61К 13/00, опубл. 10.09.2004 г. [3], известна система опорожнения бака-накопителя туалетов транспортных средств, включающая бак-накопитель, сливную трубу и запорный узел. Слив содержимого бака-накопителя в канализационную систему осуществляют через специальные переходные трубы с изменяющейся длиной. Такое решение позволяет защитить атмосферу от газов, выделяемых туалетными стоками, но связано с большими капитальными вложениями и эксплуатационными расходами. Реализация изобретения может окупиться лишь за очень продолжительный срок и представляется рентабельной только в условиях крупных железнодорожных узлов. Кроме того, при использовании вакуумных баков-накопителей должны быть предусмотрены средства для выравнивания давления воздуха в баке-накопителе с атмосферным давлением перед операцией опорожнения бака-накопителя.
Техническим результатом настоящего изобретения является упрощение конструкции и удобство выполнения операции опорожнения вакуумного бака-накопителя туалета транспортного средства.
Указанный технический результат достигается в системе опорожнения вакуумного бака-накопителя отходов туалетов транспортных средств, включающей в себя откачивающую трубу бака-накопителя, одна часть которой опущена в бак-накопитель так, что ее конец находится в нижней точке дна бака-накопителя, а другая часть выведена из бака-накопителя и имеет снаружи закрепленную на ней с зазором оболочку, которая в месте выхода откачивающей трубы из бака-накопителя герметично прикреплена к его стенке, на конце этой части трубы прикреплен штуцер, служащий для присоединения системы к откачивающему агрегату, и установлен запорный узел, который закрывает штуцер и зазор между откачивающей трубой 1 и ее оболочкой 3 и состоит из двух стаканов, вставленных с зазором один в другой, края наружного стакана присоединены с наружной стороны к концу оболочки откачивающей трубы, а края внутреннего стакана имеют фланец с уплотнительным элементом, примыкающим к торцу оболочки откачивающей трубы, в зазоре между двумя упомянутыми стаканами установлена пружина, один конец которой упирается в дно наружного стакана, а другой – во фланец внутреннего стакана, дно наружного стакана имеет отверстие с отогнутыми внутрь стакана краями, образующими в полости этого стакана цилиндрический борт, а дно внутреннего стакана имеет углубление с цилиндрическими стенками, цилиндрический борт дна наружного стакана установлен с зазором в углублении дна внутреннего стакана, которое имеет в своей центральной части одно или несколько сквозных отверстий для впуска в откачивающую трубу атмосферного воздуха, при этом в полости, образованной углублением дна внутреннего стакана, и цилиндрическим бортом отверстия дна наружного стакана установлен с возможностью осевого перемещения до упора в конец углубления внутреннего стакана управляемый клапан для впуска в откачивающую трубу атмосферного воздуха.
Предусмотрены следующие частные случаи выполнения данного изобретения.
Углубление дна внутреннего стакана состоит из основания и присоединенной к основанию головной части, в которой выполнена поперечная перегородка с отверстиями, в состав клапана для впуска в откачивающую трубу атмосферного воздуха входит колпачок, от краев которого отходят в осевом направлении три или более эластичных стержня, имеющие на концах зацепки, причем каждый из этих стержней установлен в одном из отверстий упомянутой поперечной перегородки, внутри колпачка установлена пружина, один конец которой упирается в упомянутую поперечную перегородку, а другой – в дно колпачка, колпачок клапана для впуска в откачивающую трубу атмосферного воздуха закрывает сквозные отверстия углубления дна внутреннего стакана и имеет привод в виде рукоятки со стержнем, заканчивающимся головкой, которую охватывают зацепки эластичных стержней колпачка, прижатые к головке стержня кольцом из упругого материала.
Эластичные стержни, отходящие от колпачка клапана, имеют Т-образное поперечное сечение и установлены в углублении дна внутреннего стакана с возможностью осевого перемещения относительно этого стакана со скольжением по его стенкам.
Рукоятка клапана для впуска в откачивающую трубу атмосферного воздуха частично входит в полость, образуемую цилиндрическим бортом отверстия дна наружного стакана, причем на дне наружного стакана имеется юбка, которая закрывает снаружи место контакта рукоятки клапана с дном наружного стакана.
К торцу оболочки откачивающей трубы прикреплен фланец, к которому примыкает уплотнительный элемент фланца внутреннего стакана. В этом случае фланец, прикрепленный к торцу оболочки откачивающей трубы, может иметь с внутренней стороны выступы для его крепления к наружной поверхности этой трубы.
Наружный стакан имеет фланец, по краям которого выполнены выступы, а фланец на торце оболочки откачивающей трубы имеет ответные этим выступам впадины для образования между оболочкой откачивающей трубы и наружным стаканом соединения байонетного типа.
Между штуцером, прикрепленным к концу откачивающей трубы, и внутренним стаканом запорного узла имеется радиальный зазор, обеспечивающий возможность осевого перемещения внутреннего стакана относительно штуцера со скольжением.
На концевой части оболочки откачивающей трубы закреплен круговой козырек, закрывающий место присоединения наружного стакана к концевой части оболочки этой трубы.
На внутренних стенках наружного стакана у его краев имеются упоры или упорное кольцо, препятствующие выходу внутреннего стакана из наружного стакана при демонтаже запорного узла.
Существо изобретения поясняется следующими чертежами.
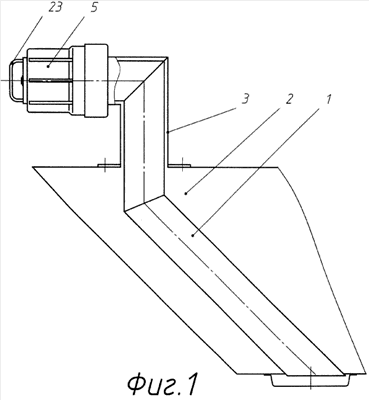
Фиг.1 – общий вид системы опорожнения вакуумного бака-накопителя туалетов транспортных средств, частичный продольный разрез.
Фиг.2 – запорный узел, продольный разрез.
Фиг.3 – то же, поперечный разрез по А-А на фиг.2.
Фиг.4 – то же, поперечный разрез по Б-Б на фиг.2.
Фиг.5 – запорный узел в момент открытия клапана для впуска в откачивающую трубу атмосферного воздуха.
На фиг.1-4 показан предпочтительный вариант предлагаемой системы опорожнения вакуумного бака-накопителя отходов туалетов транспортных средств, находящейся в режиме накопления отходов туалетов обслуживаемого транспортного средства. Бак-накопитель предназначен для работы при пониженном по сравнению с атмосферным давлением (например, приблизительно при 0,5 атм). Как видно из чертежей, система включает откачивающую трубу 1 бака-накопителя 2. Одна часть откачивающей трубы 1 опущена в бак-накопитель 2 так, что конец этой части находится в самой нижней точке его дна. Другая часть откачивающей трубы 1 выведена наружу из бака-накопителя 2 и имеет оболочку 3, закрепленную на откачивающей трубе 1 так, что между оболочкой 3 и откачивающей трубой 1 имеется зазор. Оболочка 3 в месте выхода откачивающей трубы 1 из бака-накопителя 2 герметично прикреплена к его стенке. На конце части трубы 1, выведенной из бака-накопителя 2, прикреплен штуцер 4, предназначенный для присоединения к стыковочным элементам откачивающего агрегата (не показаны). Откачивающий агрегат может быть стационарной установкой, сообщающейся посредством трубопроводов с централизованной канализационной системой, или мобильной установкой, расположенной, например, на автомашине. На конце части откачивающей трубы 1, выведенной из бака-накопителя 2, имеется запорный узел 5, который закрывает штуцер 4 и зазор между откачивающей трубой и ее оболочкой 3 и состоит из двух стаканов, вставленных с зазором один в другой. Края наружного стакана 6 присоединены к концевой части оболочки 3 откачивающей трубы 1. К краям внутреннего стакана 7 прикреплен фланец 8, снабженный уплотнительным элементом 9, примыкающим к торцу оболочки 3 откачивающей трубы 1. В зазоре между стаканами 6 и 7 установлена пружина 10, один конец которой упирается в дно наружного стакана 6, а другой конец упирается во фланец 8 внутреннего стакана 7. Дно наружного стакана 6 имеет отверстие с отогнутыми внутрь стакана краями, образующими в полости этого стакана цилиндрический борт 11. Дно внутреннего стакана 7 имеет углубление 12 с цилиндрическими стенками. Цилиндрический борт 11 дна наружного стакана 6 установлен с зазором в углублении 12 дна внутреннего стакана 7. Углубление 12 имеет в своей центральной части одно или несколько сквозных отверстий 13, предназначенных для пропуска атмосферного воздуха в откачивающую трубу 1. В полости, образованной углублением 12 дна внутреннего стакана 7 и цилиндрическим бортом 11 дна наружного стакана 6, установлен управляемый клапан 14 для впуска в откачивающую трубу 1 атмосферного воздуха. Клапан 14 имеет возможность осевого перемещения до упора в конец углубления 12.
Как показано на фиг.2, углубление дна внутреннего стакана состоит из основания 15 и присоединенной к нему головной части 16, в которой выполнена поперечная перегородка 17 с отверстиями 18. В состав клапана 14 для впуска в откачивающую трубу 1 атмосферного воздуха входит колпачок 19, от которого отходят в осевом направлении три или более эластичных стержня 20, на концах которых имеются зацепки 21, выполненные в виде выступов. Каждый из эластичных стержней 20 установлен с возможностью продольного перемещения в одном из отверстий 18 поперечной перегородки 17. Внутри колпачка 19 установлена пружина 22, один конец которой упирается в поперечную перегородку 17 головной части 16 углубления 12 дна внутреннего стакана 7, а другой конец упирается изнутри в дно колпачка 19. Колпачок 19, будучи прижатым к концу углубления 12, перекрывает сквозные отверстия 13 этого углубления. Клапан 14 для впуска в откачивающую трубу 1 атмосферного воздуха имеет привод в виде рукоятки 23 со стержнем 24, заканчивающимся головкой 25, которую охватывают зацепки 21 эластичных стержней 20 колпачка 19, прижатые к головке 25 посредством кольца 26, выполненного из упругого материала.
Эластичные стержни 20, отходящие в осевом направлении от колпачка 19, имеют Т-образное поперечное сечение и установлены в углублении 12 дна внутреннего стакана 7 с возможностью осевого перемещения относительно этого стакана со скольжением.
Рукоятка 23 клапана 14 для впуска в откачивающую трубу 1 атмосферного воздуха частично входит в полость, образуемую цилиндрическим бортом 11 наружного стакана 6. На дне наружного стакана 6 имеется юбка 27, которая закрывает снаружи место контакта рукоятки 23 с дном наружного стакана 6.
К торцу оболочки 3 откачивающей трубы 1 прикреплен фланец 28, к которому примыкает уплотнительный элемент 9 фланца 8 внутреннего стакана 7. Кроме того, фланец 28 с внутренней стороны имеет выступы 29 для крепления к наружной поверхности откачивающей трубы 1.
Наружный стакан 6 запорного узла 5 имеет закрепленный на нем фланец 30, по краям которого выполнены выступы, а фланец 28 на торце оболочки 3 откачивающей трубы 1 имеет ответные этим выступам впадины. Таким образом реализуется соединение байонетного типа наружного стакана 6 с оболочкой 3 откачивающей трубы 1.
Между штуцером 4, прикрепленным к концу откачивающей трубы 1, и внутренним стаканом 7 имеется радиальный зазор, обеспечивающий возможность осевого перемещения внутреннего стакана 7 относительно штуцера 4 со скольжением.
На концевой части оболочки 3 откачивающей трубы 1 закреплен круговой козырек 31 в виде обечайки, закрывающий от попадания посторонних частиц в место присоединения наружного стакана 6 к концевой части оболочки 3 этой трубы.
На внутренних стенках наружного стакана 6 у его краев установлены упоры 32 или упорное кольцо, препятствующие выходу внутреннего стакана 7 из наружного стакана 6 под действием пружины 10 при операции демонтажа запорного узла 5.
Предлагаемая система работает следующим образом (см. фиг.5).
Используя рукоятку 23, открывают клапан 14 для впуска в откачивающую трубу 1 атмосферного воздуха. Как показано стрелками на фиг.5, воздух проникает в откачивающую трубу 1 через отверстия 13 колпачка 19, а из откачивающей трубы 1 – в бак-накопитель 2. Быстрому прониканию воздуха в откачивающую трубу 2 способствует Т-образная форма поперечного сечения стержней 20, которая выбрана не только для рационального использования их материала, но и для уменьшения сопротивления потоку воздуха во время операции выравнивания давления в баке-накопителе с атмосферным давлением.
После достижения величины давления в баке-накопителе 2, равной атмосферному давлению, размыкают байонетное соединение наружного стакана 6 с оболочкой 3 откачивающей трубы 1 и демонтируют запорный узел 5. После стыковки штуцера 4 с соединительными элементами откачивающей установки (например, со шлангами) включают откачивающую установку. В процессе откачки стоков освобождающийся объем бака-накопителя 2 заполняет воздух, поступающий в этот бак из атмосферы через зазор между оболочкой 3 и откачивающей трубой 1. По окончании операции откачки запорный узел 5 устанавливают в исходное положение и восстанавливают необходимый для функционирования туалетов вакуум внутри бака-накопителя 2. Система готова к обычной работе.
Испытания изготовленного опытного образца предлагаемой системы, установленной в железнодорожном пассажирском вагоне, показали хорошие результаты. Наличие в запорном узле 5 клапана 14 для впуска в откачивающую трубу 1 атмосферного воздуха, а также наличие зазора между откачивающей трубой 1 и ее оболочкой 3 обеспечило удобное и быстрое выравнивание давления в баке-накопителе 2 с атмосферным давлением. На протяжении шести месяцев система работает бесперебойно.
Формула изобретения
1. Система опорожнения вакуумного бака-накопителя отходов туалетов транспортных средств, включающая откачивающую трубу бака-накопителя, одна часть которой опущена в бак-накопитель так, что ее конец находится в нижней точке дна бака-накопителя, а другая часть выведена из бака-накопителя и имеет снаружи закрепленную на ней с зазором оболочку, которая в месте выхода откачивающей трубы из бака-накопителя герметично прикреплена к его стенке, на конце этой части трубы прикреплен штуцер, служащий для присоединения системы к откачивающему агрегату, и установлен запорный узел, который закрывает штуцер и зазор между откачивающей трубой и ее оболочкой, и состоит из двух стаканов, вставленных с зазором один в другой, края наружного стакана присоединены с наружной стороны к концу оболочки откачивающей трубы, а края внутреннего стакана имеют фланец с уплотнительным элементом, примыкающим к торцу оболочки откачивающей трубы, в зазоре между двумя упомянутыми стаканами установлена пружина, один конец которой упирается в дно наружного стакана, а другой – во фланец внутреннего стакана, дно наружного стакана имеет отверстие с отогнутыми внутрь стакана краями, образующими в полости этого стакана цилиндрический борт, а дно внутреннего стакана имеет углубление с цилиндрическими стенками, цилиндрический борт дна наружного стакана установлен с зазором в углублении дна внутреннего стакана, которое имеет в своей центральной части одно или несколько сквозных отверстий для впуска в откачивающую трубу атмосферного воздуха, при этом в полости, образованной углублением дна внутреннего стакана и цилиндрическим бортом отверстия дна наружного стакана, установлен с возможностью осевого перемещения до упора в конец углубления внутреннего стакана управляемый клапан для впуска в откачивающую трубу атмосферного воздуха.
2. Система по п.1, отличающаяся тем, что углубление дна внутреннего стакана состоит из основания и присоединенной к основанию головной части, в которой выполнена поперечная перегородка с отверстиями, в состав клапана для впуска в откачивающую трубу атмосферного воздуха входит колпачок, от краев которого отходят в осевом направлении три или более эластичных стержня, имеющих на концах зацепки, причем каждый из этих стержней установлен в одном из отверстий упомянутой поперечной перегородки, внутри колпачка установлена пружина клапана, один конец которой упирается в упомянутую поперечную перегородку, а другой – в дно колпачка, колпачок клапана для впуска в откачивающую трубу атмосферного воздуха закрывает сквозные отверстия углубления дна внутреннего стакана и имеет привод в виде рукоятки со стержнем, заканчивающимся головкой, которую охватывают зацепки эластичных стержней колпачка, прижатые к головке стержня кольцом из упругого материала.
3. Система по п.2, отличающаяся тем, что эластичные стержни, отходящие от колпачка клапана, имеют Т-образное поперечное сечение и установлены в углублении дна внутреннего стакана с возможностью осевого перемещения относительно этого стакана со скольжением по его стенкам.
4. Система по п.2, отличающаяся тем, что рукоятка клапана для впуска в откачивающую трубу атмосферного воздуха частично входит в полость, образуемую цилиндрическим бортом отверстия дна наружного стакана, причем на дне наружного стакана имеется юбка, которая закрывает снаружи место контакта рукоятки клапана с дном наружного стакана.
5. Система по любому из пп.1 или 2, отличающаяся тем, что к торцу оболочки откачивающей трубы прикреплен фланец, к которому примыкает уплотнительный элемент фланца внутреннего стакана.
6. Система по п.5, отличающаяся тем, что фланец, прикрепленный к торцу оболочки откачивающей трубы, имеет с внутренней стороны выступы для его крепления к наружной поверхности этой трубы.
7. Система по любому из пп.1 или 2, отличающаяся тем, что наружный стакан имеет фланец, по краям которого выполнены выступы, а фланец на торце оболочки откачивающей трубы имеет ответные этим выступам впадины для образования между оболочкой откачивающей трубы и наружным стаканом соединения байонетного типа.
8. Система по любому из пп.1 или 2, отличающаяся тем, что между штуцером, прикрепленным к концу откачивающей трубы, и внутренним стаканом запорного узла имеется радиальный зазор, обеспечивающий возможность осевого перемещения внутреннего стакана относительно штуцера со скольжением.
9. Система по любому из пп.1 или 2, отличающаяся тем, что на концевой части оболочки откачивающей трубы закреплен круговой козырек, закрывающий место присоединения наружного стакана к концевой части оболочки этой трубы.
10. Система по любому из пп.1 или 2, отличающаяся тем, что на внутренних стенках наружного стакана у его краев имеются упоры или упорное кольцо, препятствующие выходу внутреннего стакана из наружного стакана при демонтаже запорного узла.
РИСУНКИ
|
|