|
|
(21), (22) Заявка: 2007124118/11, 26.06.2007
(24) Дата начала отсчета срока действия патента:
26.06.2007
(46) Опубликовано: 27.03.2009
(56) Список документов, цитированных в отчете о поиске:
RU 2149107 C1, 20.05.2000. DE 10341060 A1, 18.03.2004. JP 10129255 A, 19.05.1998. RU 2190541 C2, 10.10.2002.
Адрес для переписки:
443110, г.Самара, ул. Ново-Садовая, 38, кв.154, ООО “НЦИ”, В.Ф. Нагайцеву
|
(72) Автор(ы):
Крупеня Виктор Николаевич (RU)
(73) Патентообладатель(и):
ООО “Мобиль” (RU)
|
(54) ПРОТИВОСОЛНЕЧНЫЙ КОЗЫРЕК
(57) Реферат:
Изобретение относится к области транспортного машиностроения, в частности к противосолнечным козырькам для транспортных средств. Противосолнечный козырек содержит ударопоглощающий каркас, гибкое нетокоподводящее покрытие, поворотную ось и фасонный корпус. Ударопоглощающий каркас размещен в наполнителе из пеноинтегральной смеси, накрыт фасонными частями раскроенного покрытия и выполнен с пазом для консольной опоры, в которой расположена аркообразная пружина. Узел крепления консольного вылета противосолнечного козырька выполнен в виде металлической скобы, жестко соединенной с ударопоглощающим каркасом за счет точечной сварки с ним. Металлическая скоба снабжена прямоугольным пазом, в комбинированных и соосно расположенных по нормали отверстиях которого, по отношению к сторонам, размещена неподвижно закрепленная монтажная ось. На внешней поверхности монтажной оси, непосредственно в пазу металлической скобы, установлена поворотная втулка, предназначенная для фиксации положения противосолнечного козырька на внутренней поверхности крыши автомобиля. Технический результат заключается в повышении надежности крепления в зафиксированном положении противосолнечного козырька. 2 ил.
Изобретение относится к узлам изделий, используемым для применения в автотранспортных средствах и в иных видах воздушного над- и подводного передвижного транспорта. Противосолнечный козырек, предназначен для защиты глаз от солнечных лучей и содержит ударопоглощающий каркас, гибкое покрытие и поворотную ось. Конструкция каркаса размещена в пеноинтегральной смеси наполнителя, которая после отверждения накрыта фасонными частями раскроенного покрытия, сваренного высокочастотной безоблойной сваркой, паз прямоугольной формы служит для консольной опоры устройства в процессе эксплуатации. Кроме того, могут быть использованы материалы пеноинтегральных смесей и качество изготовления, не требующие применения пленочного покрытия. Технический результат заключается в улучшении конструктивного соединения консольной части козырька, что при движении автотранспорта повышает надежность крепления в зафиксированном положении изделия, что делает поездку на автомобиле спокойной и безопасной при внештатных ситуациях.
В известном техническом решении, по патенту на изобретение №2149107, опубл. 2000.05.20, наблюдается наличие базовой фиксации консольного вылета противосолнечного козырька за пленочное покрытие, истираемое в процессе движения автомобиля, что постепенно снижает дизайн поверхностного пленочного покрытия и технологические возможности движущегося автомобиля, так как срывающийся в процессе движения противосолнечный козырек несет в себе явные неудобства для водителя и опасность для находящихся в салоне людей, так как кратковременные неудобства визуального обзора требуют кратковременной остановки транспорта или влекут за собой более значимые последствия.
Задачей технического решения является расширение технологических возможностей нового технического решения за счет строгой фиксации узла консольного держателя противосолнечного козырька на внутренней базовой поверхности крыши автомобиля.
Поставленная задача достигается тем, что противосолнечный козырек, содержащий ударопоглощающий каркас, гибкое нетокоподводящее покрытие, поворотную ось, каркас, размещенный в наполнителе из пеноинтегральной смеси и накрытый фасонными частями раскроенного покрытия, сваренного высокочастотной безоблойной сваркой, выполнен с пазом для консольной опоры, в которой расположена аркообразная пружина, обеспечивающая удержание поворотной оси в двух фиксированных положениях и ином угловом положении относительно наклонного фланца, обеспечивающего требуемое ограничение по углу поворота противосолнечного козырька, содержащего по периферии фасонный корпус, отличающийся тем, что узел крепления консольного вылета противосолнечного козырька выполнен в виде металлической скобы, жестко соединенной с каркасом за счет точечной сварки с ним, скоба снабжена прямоугольным пазом, в комбинированных и соосно расположенных по нормали отверстиях которого, по отношению к сторонам, размещена неподвижно закрепленная монтажная ось, на внешней поверхности которой, непосредственно в пазу металлической скобы, установлена поворотная втулка, предназначенная для фиксации положения противосолнечного козырька на внутренней поверхности крыши автомобиля.
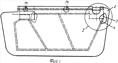
Чертежи: фиг.1 – фронтальная проекция противосолнечного козырька, без показа держателя; фиг.2 – вид I, раскрывающий положение скобы, закрепленной к каркасу, и поясняющий место установки монтажной оси с поворотной втулкой в прямоугольном пазу.
Цифровые обозначения, используемые в чертежах: узел крепления (1); корпус (2) противосолнечного козырька, выполненный из пеноинтегральной смеси; металлическая скоба (3), каркас (4); точечная сварка (5); прямоугольный паз (6-8); отверстия (9 и 10); монтажная ось (11); поверхность (12); втулка (13); отверстие (14), обеспечивающее подачу движения монтажной оси (11) в отверстиях (9 и 10); (15 и 16) – поверхности фасок, способствующие ориентации монтажной оси (13) при установке ее в отверстиях (9 и 10); пленочное покрытие (17).
Описание противосолнечного козырька.
Противосолнечный козырек, содержащий ударопоглощающий каркас, гибкое нетокоподводящее покрытие, поворотную ось, каркас, размещенный в наполнителе из пеноинтегральной смеси и накрытый фасонными частями раскроенного покрытия, сваренного высокочастотной безоблойной сваркой, выполнен с пазом для консольной опоры, в которой расположена аркообразная пружина, обеспечивающая удержание поворотной оси в двух фиксированных положениях и ином угловом положении относительно наклонного фланца, обеспечивающего требуемое ограничение по углу поворота противосолнечного козырька, содержащего по периферии фасонный корпус, выполняют таким образом, что:
– узел крепления (1) консольного вылета противосолнечного козырька выполнен в виде металлической скобы (3), жестко соединенной с каркасом (4) за счет точечной сварки (5) с ним;
– скоба (3) снабжена прямоугольным пазом (6-8) в комбинированных и соосно расположенных по нормали отверстиях (9 и 10) которого, по отношению к сторонам (6 и 8), размещена неподвижно закрепленная монтажная ось (11), на внешней поверхности (12) которой, непосредственно в пазу (6-8) металлической скобы (3), установлена поворотная втулка (13), предназначенная для фиксации положения противосолнечного козырька на внутренней поверхности крыши автомобиля.
Пример выполнения противосолнечного козырька в части узла закрепления, упомянутого на выноске места I.
Противосолнечный козырек, содержащий ударопоглощающий каркас, гибкое нетокоподводящее покрытие, поворотную ось, каркас, размещенный в наполнителе из пеноинтегральной смеси и накрытый фасонными частями раскроенного покрытия, сваренного высокочастотной безоблойной сваркой, выполнен с пазом для консольной опоры, в которой расположена аркообразная пружина, обеспечивающая удержание поворотной оси в двух фиксированных положениях и ином угловом положении относительно наклонного фланца, обеспечивающего требуемое ограничение по углу поворота противосолнечного козырька, содержащего по периферии фасонный корпус, отличающийся тем, что:
1) узел крепления (1) консольного вылета противосолнечного козырька выполнен в виде металлической скобы (3), жестко соединенной с каркасом (4) за счет точечной сварки (5) с ним;
2) скоба (3) снабжена прямоугольным пазом (6-8) в комбинированных и соосно расположенных по нормали отверстиях (9 и 10) которого, по отношению к сторонам (6 и 8), размещена неподвижно закрепленная монтажная ось (11), на внешней поверхности (12) которой, непосредственно в пазу (6-8) металлической скобы (3), установлена поворотная втулка (13), предназначенная для фиксации положения противосолнечного козырька на внутренней поверхности крыши автомобиля.
Промышленная полезность нового технического решения заключается в установке скобы с прямоугольным пазом в противоположной от держателя стороне, причем поворотная втулка, установленная в прямоугольном пазу, не затрагивает пленочного покрытия при фиксации положения противосолнечного козырька, что улучшает дизайн пленочного покрытия (17), а долговечность работы поворотной втулки (13) позволяет свободно обращаться с противосолнечным козырьком при его базировании и координации к внутренней поверхности крыши автомобиля без тревоги за постепенное истирание мест контакта прижима и пазовой зоны противосолнечного козырька.
Экономическая эффективность противосолнечного козырька состоит в повышении долговечности контактных зон истирания, возникающих от базирования к месту зажима козырька, непосредственно за пленочное покрытие (17).
Формула изобретения
Противосолнечный козырек, содержащий ударопоглощающий каркас, гибкое нетокоподводящее покрытие, поворотную ось, ударопоглощающий каркас размещен в наполнителе из пеноинтегральной смеси и накрыт фасонными частями раскроенного покрытия, сваренного высокочастотной безоблойной сваркой, выполнен с пазом для консольной опоры, в которой расположена аркообразная пружина, обеспечивающая удержание поворотной оси в двух фиксированных положениях и ином угловом положении относительно наклонного фланца, обеспечивающего требуемое ограничение по углу поворота противосолнечного козырька, содержащего по периферии фасонный корпус, отличающийся тем, что узел крепления консольного вылета противосолнечного козырька выполнен в виде металлической скобы, жестко соединенной с ударопоглощающим каркасом за счет точечной сварки с ним, металлическая скоба снабжена прямоугольным пазом, в комбинированных и соосно расположенных по нормали отверстиях которого, по отношению к сторонам, размещена неподвижно закрепленная монтажная ось, на внешней поверхности которой непосредственно в пазу металлической скобы установлена поворотная втулка, предназначенная для фиксации положения противосолнечного козырька на внутренней поверхности крыши автомобиля.
РИСУНКИ
|
|