|
|
(21), (22) Заявка: 2007119366/12, 24.05.2007
(24) Дата начала отсчета срока действия патента:
24.05.2007
(46) Опубликовано: 27.03.2009
(56) Список документов, цитированных в отчете о поиске:
RU 2205104 С1, 27.05.2003. SU 1595665 А1, 30.09.1990. Большой энциклопедический словарь. Математика. – М.: Большая российская энциклопедия, 2002, с.156-157, с.449-450. RU 2021135 С1, 15.10.1994. SU 653124 А1, 25.03.1979. UA 68965 А, 16.08.2004.
Адрес для переписки:
450000, Республика Башкортостан, г.Уфа, ул. К. Маркса, 12, УГАТУ, ОИС, В.П. Ефремовой
|
(72) Автор(ы):
Панов Александр Константинович (RU), Белобородова Татьяна Геннадьевна (RU), Жернаков Владимир Сергеевич (RU), Анасов Артур Айдарович (RU)
(73) Патентообладатель(и):
Государственное образовательное учреждение высшего профессионального образования Уфимский государственный авиационный технический университет (RU)
|
(54) ЭКСТРУЗИОННАЯ ГОЛОВКА ДЛЯ ГРАНУЛИРОВАНИЯ ИЗМЕЛЬЧЕННЫХ ВТОРИЧНЫХ ПОЛИМЕРОВ
(57) Реферат:
Изобретение относится к устройствам для гранулирования измельченных вторичных полимеров методом экструзии и может быть использовано в химической промышленности для изготовления гранул. Экструзионная головка для гранулирования измельченных вторичных полимеров содержит корпус с питающим каналом для подачи измельченного материала, прижимной фланец и фильеру с формующими каналами переменной длины. Выпуклая поверхность фильеры обращена в сторону питающего канала. При этом выпуклая поверхность в центре фильеры выполнена в виде верхней части эллипсоида, а к периферии переходит в пологоспадающую поверхность, представляющую собой нижнюю часть однополостного гиперболоида. Достигаемый при этом технический результат заключается в повышении качества гранул благодаря выбору оптимальной геометрии поперечного сечения фильеры. 3 ил.
Изобретение относится к устройствам для гранулирования измельченных вторичных полимеров методом экструзии и может быть использовано в химической промышленности для изготовления гранул.
Известна конструкция экструзионной головки для изготовления стренг, содержащая корпус с каналом для подачи расплава полимеров, размещенный в корпусе цилиндрический коллектор, дроссельную решетку и фильеру с формующими отверстиями, рабочая поверхность которой выполнена по политропической кривой [Авторское свидетельство СССР №653124, МКИ В29F 3/04, 1979. Бюл. №11].
Недостатком этой экструзионной головки является сложность изготовления фильеры, криволинейный профиль которой зависит от многих параметров, нахождение которых для некоторых термопластических материалов невозможно. Кроме того, сложность изготовления экструзионной головки связано с тем, что профиль поперечного сечения фильеры определяется зависимостью с использованием реологических параметров, определение которых является трудоемким.
Наиболее близкой по технической сущности и достигаемому эффекту является экструзионная головка для гранулирования пастообразных материалов для изготовления гранул, содержащая корпус, фильеру и прижимной фланец. Выпуклая поверхность фильеры спрофилирована по квадратичной параболе, а формующие каналы имеют переменную длину, уменьшающиеся от центра фильеры до ее краев [патент Российской Федерации №2205104, МКИ В29В 9/06, В29С 47/30. 2003. Бюл. №15, прототип].
Недостатком известной экструзионной головки является то, что она предназначена только для гранулирования пастообразный материалов. При гранулировании измельченных вторичных полимерных материалов наблюдается неравномерность выхода экструдата из формующих каналов фильеры, выпуклая поверхность которой спрофилирована по квадратичной параболе, и при отсечении гранул на выходе они получаются разной длины, ухудшается их качество.
Изобретение направлено на решение задачи достижения равномерного выхода экструдата из фильеры, повышения качества гранул, получаемых из измельченных вторичных полимеров.
Указанная задача решается за счет того, что в экструзионной головке для гранулирования измельченных вторичных полимеров, содержащей корпус с питающим каналом для подачи измельченного материала, прижимной фланец и фильеру с формующими каналами переменной длины, выпуклая поверхность которой обращена в сторону питающего канала, в отличие от прототипа выпуклый профиль поперечного сечения фильеры выполнен в центральной части в виде эллипсоида, переходящего к периферии пологоспадающей кривой в виде однополостного гиперболоида, причем отношение длины формующих каналов фильеры к диаметру ее выпуклой поверхности находится в пределах от 0,15 до 0,35 и имеет максимальное значение в центре фильеры.
Технический результат, обеспечиваемый экструзионной головкой для гранулирования вторичных полимеров, выражается в повышении качества гранул благодаря выбору оптимальной геометрии поперечного сечения фильеры и отношению длины формующих каналов фильеры к диаметру ее выпуклой поверхности, которое находится в пределах от 0,15 до 0,35.
Если данное отношение меньше 0,15, то гранулы не обладают при формовании достаточной плотностью и не достигается гладкой поверхности, и выходят экструдаты шероховатыми и при отрезании на выходе крошатся даже при незначительном механическом воздействии.
При отношении от 0,15 до 0,35 образующиеся гранулы имеют достаточную прочность и качество.
С увеличением толщины фильеры, а следовательно, и длины формующих каналов свыше 35% от диаметра ее выпуклой поверхности растет гидравлическое сопротивление головки, что, в свою очередь, снижает производительность экструзионной головки.
Гранулированный материал должен обладать размерной точностью гранул. Скорость истечения экструдата в центре фильеры выше, чем на периферии, поэтому для достижения размерной точности гранул необходимо обеспечить равномерность их выхода.
В данном случае выравнивание линейных скоростей выхода экструдата обеспечивается уменьшением гидравлического сопротивления на периферийных участках фильеры вследствие того, что длина формующих каналов уменьшается от центра фильеры к ее периферии. Фильера выполнена в центре в виде эллипсоида, а к периферии переходит в виде пологоспадающей кривой однополостного гиперболоида. Форма поверхности фильеры указанных участков в каждом отдельном случае подбирается конструктивно в зависимости от гранулируемого материала.
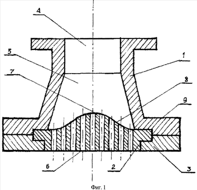
Сущность изобретения поясняется чертежами: на фиг.1 показан поперечный разрез экструзионной головки для гранулирования измельченных вторичных полимеров; на фиг.2 – поперечный разрез фильеры.
Экструзионная головка для гранулирования измельченных вторичных полимеров в соответствии с фиг.1 состоит из корпуса 1, фильеры 2 и прижимного фланца 3. Питающий канал головки образован цилиндрическим каналом 4 для подачи измельченного полимера, переходящим в конический канал 5, и формующими каналами 6, выполненными в фильере 2.
Выпуклая поверхность фильеры 2 спрофилирована в центральной части в виде эллипсоида 7, переходящего к периферии плоскоспадающей кривой в виде однополостного гиперболоида 8, а формующие каналы 6 имеют переменную длину, уменьшающуюся от центра фильеры до ее краев, прижимной фланец 3 крепится к корпусу при помощи болтового соединения 9.
На фиг.2 показан поперечный разрез фильеры, построение выпуклого профиля которого выполнено следующим образом.
Принимая за начало координат 0 пересечения оси фильеры с ее выпуклым профилем 7 (y1, x1) и 8 (у2, х2) и плоским основанием фильеры (у3, х3), координатные оси расположены в соответствии с фиг.2.
После профилирования выпуклого профиля фильеры в ней высверливались формующие каналы диаметром 6 мм с шагом 10 мм.
Зная длины (Li) формующих каналов, расположенных на фильере, определяли отношение длины формующих каналы фильеры к диаметру ее выпуклой части Li/D, которое находилось в пределах от 0,15 до 0,35.
Эксрузионная головка для гранулирования измельченных вторичных полимеров работает следующим образом.
Измельченный материал через цилиндрический канал 4 подается в конический канал 5, где равномерно распределяется по его сечению и выходит через формующие каналы 6 переменной длины, образуя экструдат, который затем отрезается в гранулы.
Давление в канале головки уменьшается по мере удаления от его центра к периферии.
Выравнивание давления в канале головки обеспечивается благодаря тому, что выпуклый профиль поперечного сечения фильеры выполнен в центральной части в виде эллипсоида 7, переходящего к периферии пологоспадающей кривой в виде однополостного гиперболоида 8 в соответствии с фиг.1.
Предлагаемое изобретение наиболее полезно для грануляции измельченных вторичных различных полимерных материалов.
Экспериментальные исследования экструзионной головки для гранулирования измельченных вторичных полимеров проводились на опытной установке с экструдатом АТЛ-45, имеющий шнек длиной 45 мм и длиной 1125 мм.
Экструзионная головка имела следующие размеры: общий диаметр 210 мм, длина 170 мм, диаметр питающего канала 60 мм, диаметр выпуклой поверхности 150 мм, толщина центральной части фильеры 60 мм, диаметр формующих каналов фильеры 6 мм, шаг между ними 10 мм.
Гранулированию подвергали измельченный вторичный полимер марки ПВД 1580-020 при Т=150-170°С и давлении экструзии Р=3,5-4,0 МПа.
Получали прочие гранулы четкой цилиндрической формы с ровной гладкой поверхностью и одинаковой длины.
Предполагаемая экструзионная головка для гранулирования измельченных вторичных полимеров позволяет благодаря выбору оптимальной геометрии поперечного сечения фильеры повысить качество получаемых гранул.
Формула изобретения
Экструзионная головка для гранулирования измельченных вторичных полимеров, содержащая корпус с питающим каналом для подачи измельченного материала, прижимной фланец и фильеру с формующими каналами переменной длины, выпуклая поверхность которой обращена в сторону питающего канала, отличающаяся тем, что выпуклая поверхность в центре фильеры выполнена в виде верхней части эллипсоида, а к периферии переходит в пологоспадающую поверхность, представляющую собой нижнюю часть однополостного гиперболоида.
РИСУНКИ
|
|