|
|
(21), (22) Заявка: 2007122227/12, 13.06.2007
(24) Дата начала отсчета срока действия патента:
13.06.2007
(46) Опубликовано: 27.03.2009
(56) Список документов, цитированных в отчете о поиске:
SU 1754465 А1, 15.08.1992. RU 2021125 C1, 15.10.1994. RU 2036094 C1, 27.05.1995. GB 1372435 A, 30.10.1974.
Адрес для переписки:
680035, г.Хабаровск, ул. Тихоокеанская, 136, ООО “Микс-Технология”, директору В.А. Иванову
|
(72) Автор(ы):
Иванов Валерий Александрович (RU), Богачев Анатолий Петрович (RU), Захарычев Сергей Петрович (RU), Авдеев Владимир Алексеевич (RU), Отмахов Дмитрий Валентинович (RU)
(73) Патентообладатель(и):
ООО “Микс-Технология” (RU)
|
(54) ДОЗИРУЮЩЕ-СМЕШИВАЮЩИЙ АППАРАТ
(57) Реферат:
Изобретение относится к устройствам для изготовления и дозирования высоковязких полимерных литьевых композиций, высоконаполненных порошками, рублеными волокнами, и подачи готового компаунда в форму и может быть использовано в различных отраслях промышленности, например в машиностроении, химической и т.д., для приготовления смесей композиционных материалов. Для повышения производительности, точности, стабильности дозирования и качества получаемого продукта аппарат содержит подогреваемый корпус для приготовления компаунда с устройством для дозированной подачи порошковых и жидких компонентов, выполненным в виде ленточного транспортера с загрузочными бункерами компонентов, оборудованными электронными весами, и выполненные в виде шестеренчатых или плунжерных насосов с раздельным приводом дозаторы подачи компаунда и отвердителя в смеситель, имеющий промывочную систему. Кроме того, подогреватель корпуса выполнен в виде электрокалорифера, а промывочная система состоит из насоса, трубопровода и емкости с растворителем. Для работы аппарата предусмотрена автоматическая система управления. 3 з.п. ф-лы, 2 ил.
Изобретение относится к устройствам для изготовления и дозирования высоковязких полимерных литьевых композиций, высоконаполненных порошками, рублеными волокнами, и подачи готового компаунда в форму и может быть использовано в различных отраслях промышленности, например в машиностроении, химической и т.д., для приготовления смесей композиционных материалов.
Известно устройство для приготовления компаундов на основе полимерных смол, содержащее корпус с коническими стенками и разгрузочным патрубком, соосно размещенный внутри корпуса центральный приводной вал и водило, установленное с возможностью относительного вращения вокруг центрального вала, размещенные на водиле дополнительные валы, оси которых расположены параллельно стенкам корпуса, при этом дополнительные валы размещены с возможностью вращения и соединены приводами, связанными с центральным валом, при этом центральный и дополнительные валы снабжены спиралями круглого сечения, закрепленными на водиле, кроме того, центральный вал охвачен спиралью по всей длине, а дополнительные валы выполнены из верхних и нижних гладких частей с меньшими и большими диаметрами и охвачены спиралями в верхних частях (патент РФ №1720867, БИ №11, 1992, В29В 7/38).
Недостатком такого устройства является сложность использования композиций, требующих введения отвердителей на конечном этапе смешивания. При введении отвердителя для отверждения компаунда нарушается непрерывность технологического процесса, из-за того возникает необходимость освобождать полностью корпус от смеси для исключения отверждения композиции и блокирования вращающихся валов перед каждой загрузкой новой партии компонентов. Это снижает производительность процесса смешивания.
Наиболее близким к предлагаемому устройству является смеситель, который содержит корпус с коническими стенками и разгрузочным патрубком, соосно размещенный внутри корпуса центральный приводной вал и водило, установленное с возможностью относительного вращения вокруг центрального вала, размещенные на водиле дополнительные валы, оси которых расположены параллельно стенкам корпуса, при этом дополнительные валы размещены с возможностью вращения и соединены приводами, связанными с центральным валом, при этом центральный и дополнительные валы снабжены спиралями круглого сечения, закрепленными на водиле, кроме того, центральный вал охвачен спиралью по всей длине, а дополнительные валы выполнены из верхних и нижних гладких частей с меньшими и большими диаметрами и охвачены спиралями в верхних частях, кроме того, устройство содержит смеситель компаунда с отвердителем в виде корпуса с патрубками подачи компаунда и отвердителя и размещенный внутри корпуса ротор, охваченный шнеком, выполненным в виде упругой винтовой спирали, привод ротора и разгрузочный патрубок (патент РФ №1754465, БИ №30, 1994, В29В 7/10).
Недостатком известного устройства является невозможность точной дозированной подачи компаунда и отсутствие промывной системы для очистки корпуса смесителя компаунда с отвердителем, а также отсутствие системы для поддержания определенного температурного режима в зонах смешивания. Это снижает качество готового продукта.
Цель изобретения – повышение производительности, точности, стабильности дозирования и качества получаемого продукта.
Указанная цель достигается тем, что в предлагаемом техническом решении, содержащем корпус с коническими стенками и разгрузочным патрубком, соосно размещенный внутри корпуса центральный приводной вал и водило, установленное с возможностью относительного вращения вокруг центрального вала, размещенные на водиле дополнительные валы, оси которых расположены параллельно стенкам корпуса, при этом дополнительные валы размещены с возможностью вращения и соединены приводами, связанными с центральным валом, при этом центральный и дополнительные валы снабжены спиралями круглого сечения, закрепленными на водиле, кроме того, центральный вал охвачен спиралью по всей длине, а дополнительные валы выполнены из верхних и нижних гладких частей с меньшими и большими диаметрами и охвачены спиралями в верхних частях, кроме того, устройство содержит смеситель компаунда с отвердителем в виде корпуса с патрубками подачи компаунда и отвердителя и размещенный внутри корпуса ротор, охваченный шнеком, выполненным в виде упругой винтовой спирали, привод ротора и разгрузочный патрубок, согласно изобретению аппарат дополнительно оборудован устройством для дозированной подачи порошковых и жидких компонентов в зону приготовления компаунда, дозаторами подачи компаунда и отвердителя, снабжен подогревателем корпуса, имеет промывную систему для смесителя компаунда с отвердителем, которые объеденены автоматической системой управления, выполненной в виде технологического контроллера. Кроме того, устройство для дозированной подачи порошковых и жидких компонентов выполнено в виде ленточного транспортера с загрузочными бункерами компонентов оборудованными электронными весами. Кроме того, дозаторы подачи компаунда и отвердителя выполнены в виде шестеренчатых или плунжерных насосов с раздельным приводом. Кроме того, подогреватель корпуса выполнен в виде электрокалорифера. Кроме того, промывная система состоит из насоса, трубопровода и емкости с растворителем.
Оборудование аппарата устройством для дозированной подачи порошковых и жидких компонентов в зону приготовления компаунда и дозаторами подачи компаунда и отвердителя позволяет увеличить точность и стабильность дозирования как исходных компонентов, так и приготовленного компаунда с отвердителем, что повышает производительность, снижает нетехнологические расходы материалов и повышает качество продукции, для которой используют полимерную композицию.
Оборудование аппарата подогревателем корпуса обеспечивает высокое качество смешивания, снижает расход электроэнергии на привод смесителя.
Оборудование аппарата промывной системой для смесителя компаунда с отвердителем позволяет производить качественную очистку устройства и исключает его поломки.
Объединение всех дополнительных устройств автоматической системой управления, выполненной в виде технологического контроллера, позволяет повысить производительность и качество процесса изготовления продукции за счет обеспечения гибкого легкопереналаживаемого управления технологическим процессом в условиях многономенклатурного производства и быстрого изменения технологии изготовления, улучшить условия труда обслуживающего персонала.
Выполнение устройства для дозированной подачи порошковых и жидких компонентов в виде ленточного конвейера с загрузочными бункерами компонентов, оборудованными электронными весами, повышает производительность и качество за счет повышения точности смеси и сокращения времени на подготовительные операции.
Использование в качестве дозаторов подачи компаунда и отвердителя шестеренчатых или плунжерных насосов с раздельным приводом повышает точность дозирования и обеспечивает их необходимое количественное соотношение в зависимости от природы, типа и качества используемых в технологическом процессе материалов.
Использование в качестве подогревателя корпуса электрокалорифера позволяет осуществлять контроль и автоматическое регулирование температурного режима приготовления компаунда с целью его оптимизации.
Использование в качестве промывной системы насоса, трубопровода и емкости с растворителем обеспечивает управление процессом промывки в зависимости от режимов эксплуатации аппарата.
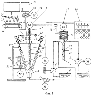
Сущность изобретения поясняется чертежами. На фиг.1 приведена схема устройства, на фиг.2 – основные функциональные блоки и узлы технологического контроллера.
Дозирующе-смешивающий аппарат (фиг.1) состоит из смесителя 1 компаунда, смесителя 2 компаунда с отвердителем, шестеренного или плунжерного насоса 3 подачи компаунда, шестеренного или плунжерного насоса 4 подачи отвердителя, которые имеют раздельный электропривод, насоса 5 промывной системы, емкости отвердителя 6, емкости 7 растворителя, привода смесителя 1 в виде электродвигателя 8, водила 9 привода мешалок смесителя 1, рамы 10, подвески 11, на которой смонтирован смеситель 2 компаунда с отвердителем, планетарный привод 12 с электродвигателем 13 смесителя 2 компаунда с отвердителем. Смеситель 1 состоит из корпуса 14 конической формы, в котором расположены центральная мешалка 15 и две боковые мешалки 16, которые базируются на водиле 9. Боковые мешалки 16 имеют привод вращения от электродвигателя 8 через муфту 17 и ременные передачи 18 с передаточным числом, равным единице. Мешалки 15 и 16 снабжены спиралями 19, закрепленными в водиле 9 и охватывающими поверхность стержней, на которых смонтированы мешалки 16. Смеситель 2 устроен как одношнековый, т.е. его мешалка 20 располагается по оси цилиндрического корпуса 21 и охватывается спиралью 22 круглого сечения, закрепленной неподвижно в водиле последней ступени планетарного привода 12. Витки спирали 22 по внешней поверхности примыкают к внутренней поверхности корпуса 21 смесителя 2. Аппарат оборудован устройством для дозированной подачи порошковых и жидких компонентов в зону приготовления компаунда, который выполнен в виде ленточного транспортера 23 с загрузочными бункерами 24 оборудованными электронными весами 25. Подогреватель корпуса 14 выполнен в виде электрокалорифера 26. Устройство подачи жидкого полимерного материала в смеситель 1 компаунда состоит из емкости 27 насоса 28 с приводом от электродвигателя 29. Автоматическая система управления представляет собой управляющий технологический контроллер 30 (с использованием известной элементной базы) с цифровой индикацией 31 и световой индикацией 32. Основные функциональные блоки и узлы технологического контроллера 30 представлены на фиг.2 и включают в себя микроконтроллер 33 (с портами Р, Р1 и Р2), буферный усилитель 34, регистр-защелку 35, память программ 36, клавиатуру 37, модуль датчиков 38, модуль управления индикацией 39 и модуль управления внешними устройствами 40. Модуль управления внешними устройствами 40 соединен с устройствами: смесителем 1 компаунда, смесителем 2 компаунда с отвердителем, насосом 3 подачи компаунда, насосом 4 подачи отвердителя, насосом 5 промывной системы, электронными весами 25 и электрокалорифером 26. Модуль датчиков 38 (состоит из датчиков известной конструкции и принципа работы) включает датчик 41 смесителя 1, датчик 42 смесителя 2, датчик 43 насоса 3, датчик 44 насоса 4, датчик 45 насоса 5, датчик 46 электронных весов 25, датчик 47 электрокалорифера 26.
Дозирующее-смешивающий аппарат работает следующим образом.
Полимерный материал, например эпоксидная смола, посредством насоса 28, а также порошковые наполнители, например фторопласт, графит и рубленое стекловолокно, в требуемых соотношениях загружаются ленточным транспортером 23, на который поступают из загрузочных бункеров 24 предварительно взвешенные электронными весами 25 компоненты, в корпус смесителя 1 компаунда, перемешиваются центральной мешалкой 15 и боковыми мешалками 16. Вращение центральной мешалки 15 и боковым мешалкам 16 сообщается от электродвигателя 8 через муфту 17 и ременные передачи 18. При вращении стержней мешалок 16 налипающая к их поверхностям композиция вовлекается в движение. В центральной части конуса 14 смесителя 1 компаунд вовлекается во вращение и масса нагнетается спиралью 19 вдоль стержня центральной мешалки 15 в нижнюю зону конуса 14, а затем поднимается вдоль стенок в верхние слои. Образуются два круга циркуляции массы. Вращение стержней мешалок 16 вызывает вращение водила 9, на котором они подвешены. Периферийные мешалки 16, вращаясь вместе с водилом 9, перемешивают пристеночные слои компаунда, поднимая их снизу вверх. Через некоторое время от начала перемешивания водило 9 плавно набирает частоту вращения, и циркуляция смешиваемого компаунда усиливается. Постепенно скорость водила 9 выходит на частоту, стабильную для конкретного загруженного объема массы. Кроме того, в процессе перемешивания, посредством автоматической системы управления, устанавливают оптимальную температуру перемешиваемого компаунда (оптимальная температура перемешивания зависит от природы компонентов смеси, их количества, соотношения и определяется экспериментально, например, для описываемого примера – 45-50°С), при которой заканчивают процесс перемешивания. Для выгрузки готового компаунда из смесителя 1, дозирования его и отвердителя используют шестеренные или плунжерные насосы 3 и 4 (известной конструкции и принципа работы), которые посредством раздельного привода подают компаунд в определенной пропорции (устанавливают экспериментально) в смеситель 2. Входной патрубок смесителя 2 устроен по типу «труба в трубе». Компаунд подают по внешней части, а отвердитель – по оси потока по внутренней трубке в требуемом соотношении. Стержень мешалки 20 смесителя 2 приводится во вращение от электродвигателя 13 через планетарный привод 12, снижающий частоту вращения до требуемой, обеспечивающей качество перемешивания по длине подачи массы вдоль корпуса 21 на выгрузку. Для обеспечения готовности аппарата к новому циклу работы предусмотрена система промывки смесителя 2 в виде насоса 5 и емкости 7 с растворителем для освобождения корпуса 21 и мешалки 20 от остатков композиции и подготовки его к новому циклу работы. Автоматическое управление посредством технологического контроллера 30 осуществляют от клавиатуры 37, которая имеет, например, 12 клавиш. Клавиатура подключена к выводам порта P1. Сканирование клавиатуры осуществляют программно с помощью алгоритма «бегущего нуля» известным способом. Текущая информация отображается на светодиодных 3 и цифровых индикаторах 32, 31. Управление индикацией осуществляют через модуль 39. Способ организации интерфейса микроконтроллера с цифровой индикацией – динамический. Для этой цели используют регистровый файл, который хранит коды символов. Регистровый файл доступен только для записи. Регенерацию изображения символов на индикаторах производят путем выборки данных из регистрового файла с помощью устройства управления индикацией. Сигналы от датчиков приведены к уровням TTL (транзисторно-транзисторная логика) в модуле 38, запоминаются в регистре 35, а затем считываются микроконтроллером 33. Модуль 40 получает коды с шины данных, которые определяют последовательность включения и выключения исполнительных механизмов дозирующе-смешивающего аппарата (смесителем 1 компаунда, смесителем 2 компаунда с отвердителем, насосом 3 подачи компаунда, насосом 4 подачи отвердителя, насосом 5 промывной системы, электронными весами 25 и электрокалорифером 26).
Использование технологического контроллера позволяет оператору знать количество композиции, поступившей в форму в любой момент времени, задавать требуемые объемы перекачки компаунда, необходимого для дальнейшего формования изделий, обеспечивать необходимую точность и соотношение подачи порошковых и жидких компонентов, осуществлять контроль и поддержание температуры в смесителе 1, дозировку композиции из компаунда и отвердителя (посредством изменения производительности шестеренчатых или плунжерных насосов 3 и 4) и устанавливать периодичность промывки смесителя 2.
Предлагаемая конструкция дозирующе-смешивающего аппарата позволяет повысить производительность за счет автоматизации непрерывного процесса получения полимерных композиций, увеличить точность и стабильность дозирования и смешивания компаунда с отвердителем, улучшить качество показателей выпускаемого материала, улучшить условия труда.
Формула изобретения
1. Дозирующе-смешивающий аппарат, содержащий корпус с коническими стенками, разгрузочным патрубком и подогревателем, соосно размещенный внутри корпуса центральный приводной вал и водило, установленное с возможностью относительного вращения вокруг центрального вала, размещенные на водиле дополнительные валы, оси которых расположены параллельно стенкам корпуса, дополнительные валы размещены с возможностью вращения и соединены приводами, связанными с центральным валом, центральный и дополнительные валы снабжены спиралями круглого сечения, закрепленными на водиле, центральный вал охвачен спиралью по всей длине, а дополнительные валы выполнены из верхних и нижних гладких частей с меньшими и большими диаметрами и охвачены спиралями в верхних частях, причем аппарат содержит устройство для дозированной подачи порошковых и жидких компонентов для приготовления компаунда и дозаторы подачи компаунда и отвердителя в смеситель, имеющий промывочную систему и включающий корпус с патрубками подачи компаунда и отвердителя и размещенный внутри корпуса ротор, охваченный шнеком, выполненным в виде упругой винтовой спирали, привод ротора и разгрузочный патрубок, при этом устройство для дозированной подачи порошковых и жидких компонентов выполнено в виде ленточного конвейера с загрузочными бункерами компонентов, оборудованными электронными весами.
2. Дозирующе-смешивающий аппарат по п.1, характеризующийся тем, что дозаторы подачи компаунда и отвердителя выполнены в виде шестеренчатых или плунжерных насосов с раздельным приводом.
3. Дозирующе-смешивающий аппарат по п.2, характеризующийся тем, что подогреватель корпуса выполнен в виде электрокалорифера.
4. Дозирующе-смешивающий аппарат по п.3, характеризующийся тем, что промывочная система состоит из насоса, трубопровода и емкости с растворителем.
РИСУНКИ
|
|