|
|
(21), (22) Заявка: 2007121633/02, 08.06.2007
(24) Дата начала отсчета срока действия патента:
08.06.2007
(46) Опубликовано: 27.03.2009
(56) Список документов, цитированных в отчете о поиске:
US 7188552 В1, 13.03.2007. SU 969507 А1, 05.11.1982. RU 2020051 С1, 30.09.1994. US 2651229 A1, 08.09.1953. GB 2410713 A, 10.08.2005.
Адрес для переписки:
394006, г.Воронеж, ул. 9 Января, 36, оф.516, ИППЦ ВО, А.М.Инцертову
|
(72) Автор(ы):
Кротов Владимир Ильич (RU), Паутов Юрий Михайлович (RU)
(73) Патентообладатель(и):
Кротов Владимир Ильич (RU), Паутов Юрий Михайлович (RU)
|
(54) ГАЙКОВЕРТ
(57) Реферат:
Изобретение относится к машиностроению, в частности к ручному инструменту, и может быть использовано для выполнения слесарно-сборочных и монтажных работ в труднодоступных местах. Гайковерт включает привод и исполнительный механизм в виде шпинделя с отверстием, полый переходник, взаимодействующий своей нижней частью с гайкой, а верхней частью – с отверстием шпинделя, полый опорный стакан с упором и крышку, связанную с верхней торцовой поверхностью опорного стакана. Верхняя торцовая поверхность опорного стакана выполнена в виде чередующихся выступов и выемок, взаимодействующих, соответственно, с чередующимися выемками и выступами, выполненными на нижней торцовой поверхности крышки. Шпиндель выполнен с возможностью вращения относительно крышки в плоскости вращения гайки. Опорный стакан может быть выполнен в виде полого цилиндра или полого многогранника. Привод может быть выполнен гидравлическим. В результате достигается упрощение изготовления гайковерта, повышается качество эксплуатации и обеспечивается возможность приложения значительных крутящих моментов к гайкам при их затяжке и отпуске без повреждения шпилек. 4 з.п. ф-лы, 3 ил.
Изобретение относится к машиностроению, в частности к ручному инструменту, и может быть использовано для выполнения слесарно-сборочных и монтажных работ в труднодоступных местах.
Известен гайковерт [заявка на изобретения №93021444 от 23.04.1993; МПК-6: В25В 21/00; дата публикации: 1995.11.27] для сборки и разборки резьбовых соединений в труднодоступных местах.
Известен также гаечный ключ Митковского [заявка на изобретения №94023289 от 17.06.1994; МПК-6: В25В 13/46; дата публикации: 1996.11.20] для выполнения слесарно-сборочных и монтажных работ в труднодоступных местах. Ключ работает по принципу “обгонной муфты”.
Известен гайковерт [описание изобретения к патенту РФ №2020051; МПК-6: В25В 21/02; дата публикации: 1994.09.30], содержащий полый вал, закрепленный на нем ключ и приспособление для фиксации гаек, и снабженный сбрасывателем гаек в виде жестко связанных друг с другом охватывающей полый вал втулки и размещенного внутри ключа съемника, а приспособление для фиксации гаек выполнено в виде установленной в съемнике жестко связанной с ключом цанги с выступом на конце для взаимодействия с внутренней поверхностью гайки.
Известны также гайковерты с различными типами приводов, например, наиболее близкий к предлагаемому гидравлический гайковерт [описание изобретения к патенту РФ №2247647; МПК-7: В25В 21/00; дата публикации: 2005.03.10], включающий привод и исполнительный механизм, выполненный в виде съемной кассеты с корпусом, содержащим храповой механизм, в том числе храповое колесо с отверстием, взаимодействующим с гайкой.
Недостатками известных устройств являются сложность их изготовления, а также низкое качество проведения работ, требующих высоких нагрузок при затяжке и отпуске гаек с исключением боковых изгибающих нагрузок на шпильки, например, в процессе уплотнения-разуплотнения напорных резервуаров.
Целью изобретения является устранение указанных недостатков и обеспечение возможности приложения значительных крутящих моментов к гайкам при их затяжке и отпуске без повреждения шпилек.
Для решения указанной технической задачи гайковерт, включающий привод и исполнительный механизм в виде шпинделя с отверстием, снабжен переходником, взаимодействующим своей нижней частью с крепежным элементом, например, гайкой, а верхней частью с отверстием шпинделя, полым опорным стаканом, по меньшей мере, с одним упором и крышкой, связанной с верхней торцовой поверхностью опорного стакана, при этом, верхняя торцовая поверхность опорного стакана выполнена в виде чередующихся выступов и выемок, взаимодействующих, соответственно, с чередующимися выемками и выступами, выполненными на нижней торцовой поверхности крышки, а шпинделю придана возможность вращения относительно крышки в плоскости вращения гайки, перпендикулярной оси ее вращения.
Опорный стакан может быть выполнен в виде полого цилиндра или полого многогранника. Для доступа к гайке, установленной на шпильке, переходник выполнен полым. Вращение шпинделя с закрепленной в нем верхней частью переходника осуществляется посредством гидравлического привода с использованием гидростанции.
Техническим результатом предлагаемого изобретения является возможность приложения крутящего момента при затяжке или отпуске гаек строго в плоскости, перпендикулярной их оси вращения, при этом боковые изгибающие нагрузки на шпильки отсутствуют.
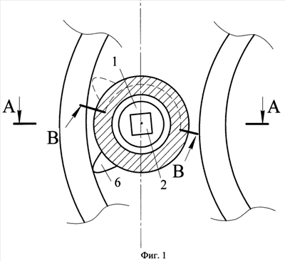
На фиг.1 показан вид гайковерта сверху при его установке в труднодоступном месте.
На фиг.2 показан общий вид сечения А-А.
На фиг.3 показан общий вид сечения В-В в зоне контакта крышки и опорного стакана.
Гайковерт включает привод (не показан), исполнительный механизм в виде шпинделя 1 с отверстием 2, переходник 3, взаимодействующий своей нижней частью с гайкой 4, а верхней частью с отверстием 2 шпинделя 1, полый опорный стакан 5 с упором 6 и крышку 7, связанную с верхней торцовой поверхностью опорного стакана 5. Упор 6 взаимодействует с неподвижной относительно гайки 4 конструкцией 8. Верхняя торцовая поверхность опорного стакана 5 выполнена в виде чередующихся выступов 9 и выемок 10, взаимодействующих, соответственно, с чередующимися выемками 10 и выступами 9, выполненными на нижней торцовой поверхности крышки 7. Шпинделю 1 придана возможность вращения относительно крышки 7 в плоскости вращения гайки 4.
Опорный стакан 5 может быть выполнен в виде полого цилиндра или полого многогранника. Для доступа к гайке 4, установленной на шпильке 11, переходник 3 выполнен полым. Вращение шпинделя 1 с закрепленной в нем верхней частью переходника 3 осуществляется посредством гидравлического привода с использованием гидростанции (не показаны).
Гайковерт работает следующим образом. На подлежащую затяжке или отпуску гайку 4, навинченную на шпильку 11, устанавливают переходник 3 с головкой, соответствующей типоразмеру гайки 4. На переходник 3 сверху опускают полый опорный стакан 5 с упором 6, фиксирующим стакан 5 от перемещений относительно конструкции 8. На опорный стакан 5 и верхнюю часть переходника 3 сверху опускают крышку 7 и шпиндель 1, отверстие 2 которого совпадает с верхней частью переходника 3 и обеспечивает их совместное вращение в горизонтальной плоскости относительно опорного стакана 5 крышки 7, которые в горизонтальной плоскости неподвижны относительно друг друга и конструкции 8 за счет взаимодействия ответных выступов 9 и выемок 10. Вращение шпинделя 1 обеспечивает гидропривод (не показан).
Техническим результатом предлагаемого изобретения является возможность приложения крутящего момента при затяжке или отпуске гаек строго в плоскости, перпендикулярной их оси вращения, при этом боковые изгибающие нагрузки на шпильки отсутствуют.
Использование предлагаемого изобретения позволяет обеспечить надежность и качество работ, например, в процессе уплотнения-разуплотнения напорных резервуаров, связанных с приложением высоких нагрузок при затяжке и отпуске гаек без повреждения шпилек, за счет исключения воздействующих на них боковых изгибающих нагрузок, чего нельзя достичь при работе с обычными гайковертами.
Формула изобретения
1. Гайковерт, включающий привод и исполнительный механизм в виде шпинделя с отверстием, отличающийся тем, что он снабжен переходником, выполненным с возможностью взаимодействия своей нижней частью с крепежным элементом, например гайкой, и взаимодействующим верхней частью с отверстием шпинделя, полым опорным стаканом по меньшей мере с одним упором и крышкой, связанной с верхней торцовой поверхностью опорного стакана, которая выполнена в виде чередующихся выступов и выемок, взаимодействующих, соответственно, с чередующимися выемками и выступами, выполненными на нижней торцовой поверхности крышки, а шпиндель имеет возможность вращения относительно крышки в плоскости вращения гайки, перпендикулярной оси ее вращения.
2. Гайковерт по п.1, отличающийся тем, что опорный стакан выполнен в виде полого цилиндра.
3. Гайковерт по п.1, отличающийся тем, что опорный стакан выполнен в виде полого многогранника.
4. Гайковерт по п.1, отличающийся тем, что переходник выполнен полым.
5. Гайковерт по любому из пп.1-4, отличающийся тем, что исполнительный механизм снабжен гидравлическим приводом.
РИСУНКИ
|
|