|
(21), (22) Заявка: 2007120987/02, 04.06.2007
(24) Дата начала отсчета срока действия патента:
04.06.2007
(46) Опубликовано: 27.03.2009
(56) Список документов, цитированных в отчете о поиске:
ОДИНЦОВ Л.Г. Упрочнение и отделка деталей поверхностным пластическим деформированием. – М.: Машиностроение, 1987, с.165-171. SU 841936 A1, 30.06.1981. SU 588073 A1, 15.01.1978. SU 804404 A1, 15.02.1981. SU 870096 A1, 07.10.1981. JP 56003101 A, 13.01.1981.
Адрес для переписки:
302020, г.Орел, Наугорское ш., 29, ОрелГТУ
|
(72) Автор(ы):
Мудров Василий Васильевич (RU), Сотников Владимир Ильич (RU), Ткаченко Артем Николаевич (RU)
(73) Патентообладатель(и):
Государственное образовательное учреждение высшего профессионального образования “Орловский государственный технический университет” (ОрелГТУ) (RU)
|
(54) УСТРОЙСТВО ДЛЯ ОБРАБОТКИ ПЛОСКИХ ТОРЦОВ ЗАГОТОВОК ИЗ МЯГКИХ СТАЛЕЙ
(57) Реферат:
Изобретение относится к области обработки металлов резанием и пластическим деформированием поверхностного слоя плоского торца заготовок деталей из мягких сталей. Устройство содержит комбинированную фрезу с резцами и выглаживателями, кассеты для закрепления заготовок и держатель кассет. Кассеты имеют плоскость, выполненную с возможностью закрепления на ней заготовок в шахматном порядке на расстоянии между осями последних, меньшем, чем расстояние между резцами и выглаживателями комбинированной фрезы. Держатель выполнен с плоскостью, перпендикулярной оси фрезы. В результате чего повышается производительность и уменьшается время, необходимое на установку и снятие заготовок. 3 ил.
Изобретение относится к области обработки металлов резанием и пластическим деформированием поверхностного слоя плоского торца заготовок деталей из мягкой стали или цветных металлов.
Известен способ комбинированной обработки резанием и выглаживанием плоских торцовых поверхностей заготовок из мягких сталей. Для его осуществления предложены разные конструкции устройств, в том числе с фрезой, содержащей резец и подпружиненный выглаживатель /1/.
Недостатком известного устройства для обработки плоских торцов заготовок из мягкой стали является низкая производительность при условии обеспечения высоких требований к плоскостности и шероховатости поверхности плоского торца детали, а также большие потери времени на установку и снятие обработанных заготовок.
Задачей изобретения является повышение производительности обработки плоских торцов заготовок на фрезерном станке при условии обеспечения высоких требований к плоскостности и шероховатости поверхности плоского торца детали, а также уменьшение времени, необходимого на установку и снятие заготовок.
Поставленная задача решается с помощью предлагаемого устройства для обработки плоских торцов заготовок из мягких сталей, содержащего комбинированную фрезу с резцами и выглаживателями, кассеты для закрепления заготовок и держатель кассет, причем кассеты имеют плоскость, выполненную с возможностью закрепления на ней заготовок в шахматном порядке на расстоянии между осями последних, меньшем, чем расстояние между резцами и выглаживателями комбинированной фрезы, а держатель выполнен с перпендикулярной оси фрезы плоскостью, на которой закреплены кассеты.
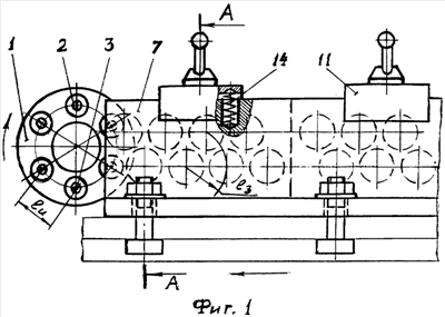
Конструкция устройства, применяемого на фрезерном станке, показана на фиг.1 – вид спереди, на фиг.2 – вид в разрезе по А-А, на фиг.3 – вид траекторий движения инструментов по торцу заготовки.
Устройство содержит комбинированную фрезу 1 с резцами 2, выглаживателями 3 и винтами 4. На столе 5 станка закреплен болтами с гайками 6 специальный держатель 7, выполненный в форме угольника. К плоскости держателя, перпендикулярной оси фрезы, крепятся с помощью планки 8, зажимной рукоятки 9, шпильки 10 и прижимов 11 кассеты 12 с ввернутыми в них в два ряда в шахматном порядке заготовками 13. Пружины 14 предназначены для подъема прижимов 11 при отвинчивании барашков.
Шахматное расположение заготовок на кассете с расстоянием l3 между их осями, меньшим расстояния lи между осями инструментов, позволяет обеспечить компактную установку заготовок на плоскости кассеты. Кроме отмеченного, это позволяет избежать участия в обработке плоскости одной заготовки одновременно двух инструментов. На кассете можно установить четыре ряда заготовок, если их диаметр в четыре раза меньше диаметра фрезы по вершинам резцов.
Количество кассет, применяемых при обработке заготовок, зависит от их длины, длины стола станка и величины его хода. Длина кассеты зависит от числа заготовок, закрепляемых на кассете. Кассета не должна быть большой по массе, чтобы не затруднять ее съем и установку на держателе, а также замену обработанных заготовок на необработанные, производимую вне станка для уменьшения его простоев.
Направление вращения фрезы и подачи заготовок, показанное стрелками на фиг.1, способствует прижиму кассет и держателя к столу при обработке заготовок.
Регулирование осевого положения резцов и выглаживателей фрезы производится винтами 4 при ослабленных контргайках на них. При этом надо закрепить на держателе кассету без заготовок и по ее наружной поверхности выставить в одной плоскости резцы, а затем, подложив под них щуп толщиной 0,1 мм (рекомендуется /1/ при обработке мягких материалов), выставить до упора в плоскость кассеты выглаживатели. После этого надо законтрить контргайки на винтах 4.
Для замены кассеты необходимо повернуть рукоятку 9 на несколько оборотов по часовой стрелке. При этом прижим 11 поднимается пружинами 14, освобождая кассету 12 от крепления к держателю. После установки кассеты с необработанными заготовками рукоятку поворачивают в обратную сторону.
Траектории движения инструментов по торцу заготовки различны. На фиг.За показаны следы обработки торца при прохождении заготовкой первой половины диаметра фрезы, на фиг.3б – второй половины, на фиг.Зв – окончательные следы обработки в значительно увеличенном виде, так как рекомендуемая подача заготовки на один резец не более 0,1 мм. Учитывая релаксацию первоначально деформированного выглаживателями поверхностного слоя материала торца и больший вылет выглаживателей, повторное поперечное прохождение инструментов над обработанной поверхностью является окончательной выглаживающей операцией.
Минимальное количество инструментов на комбинированной фрезе может быть равно двум – один резец и один выглаживатель, но при этом мала величина подачи заготовок. Ее увеличение может быть обеспечено применением на фрезе нескольких резцов и одного или нескольких выглаживателей. Однако при этом необходима их точная установка на разном расстоянии от оси фрезы в пределах увеличения подачи заготовок, что усложняет конструкцию фрезы.
Жесткость конструкции устройства, позволяющая получить высокое качество плоского торца деталей, обеспечена за счет:
– надежного крепления кассет с малым вылетом к плоскости держателя, перпендикулярной оси фрезы;
– надежного крепления и малого вылета резцов и выглаживателей из корпуса фрезы;
– прижима кассет и держателя к столу станка силой резания.
Повышение производительности при обработке плоских торцов заготовок из мягких сталей обеспечена за счет:
– компактного размещения заготовок в шахматном порядке в несколько рядов на плоскости кассет;
– применения для обработки торцов заготовок комбинированной фрезы с резцами и выглаживателями;
– простой установки, съема и крепления кассет на держателе.
Источники информации:
1. Одинцов Л.Г. Упрочнение и отделка деталей поверхностным пластическим деформированием. – М.: Машиностроение, 1987. – 327 с.
Формула изобретения
Устройство для обработки плоских торцов заготовок из мягких сталей, содержащее комбинированную фрезу с резцами и выглаживателями, кассеты для закрепления заготовок и держатель кассет, отличающееся тем, что кассеты имеют плоскость, выполненную с возможностью закрепления на ней заготовок в шахматном порядке на расстоянии между осями последних, меньшем, чем расстояние между резцами и выглаживателями комбинированной фрезы, а держатель выполнен с перпендикулярной оси фрезы плоскостью, на которой закреплены кассеты.
РИСУНКИ
|