|
(21), (22) Заявка: 2007114386/02, 16.04.2007
(24) Дата начала отсчета срока действия патента:
16.04.2007
(43) Дата публикации заявки: 27.10.2008
(46) Опубликовано: 27.03.2009
(56) Список документов, цитированных в отчете о поиске:
RU 2074804 C1, 10.03.1997. SU 1738585 A1, 07.06.1992. SU 707758 A1, 05.01.1980. SU 1382547 A1, 23.03.1988. SU 1785865 A1, 07.01.1993. SU 988521 A1, 15.01.1983. GB 1456288 A, 24.11.1976.
Адрес для переписки:
601910, Владимирская обл., г. Ковров, ул. Маяковского, 19, ГОУ ВПО Ковровская государственная технологическая академия им. В.А. Дегтярева, рук. патентного подразделения Е.П. Серкиной
|
(72) Автор(ы):
Житников Юрий Захарович (RU), Житников Борис Юрьевич (RU), Матросова Юлия Николаевна (RU), Матросов Александр Евгеньевич (RU)
(73) Патентообладатель(и):
ГОУ ВПО “Ковровская государственная технологическая академия имени В.А. Дегтярева” (RU)
|
(54) СПОСОБ УСТАНОВКИ ПЛОСКИХ УПЛОТНЕНИЙ НА СОБИРАЕМЫЙ УЗЕЛ С РЕЗЬБОВЫМИ ОТВЕРСТИЯМИ
(57) Реферат:
Изобретение относится к машиностроению и может быть использовано для установки плоских уплотнений на собираемый узел с резьбовыми отверстиями. Осуществляют подачу уплотнения с отверстиями исполнительным органом к собираемому узлу и доориентацию уплотнений относительно плоскости собираемого узла. Доориентацию уплотнений относительно плоскости собираемого узла осуществляют в горизонтальной и вертикальной плоскостях. Доориентацию уплотнений осуществляют за счет совмещения осей резьбовых отверстий собираемого узла с осями отверстий уплотнения путем поворота исполнительного органа вокруг оси OZ, его смещения вдоль оси OY при взаимодействии с вертикальной направляющей и поворота исполнительного органа вокруг оси ОХ и оси OY при его взаимодействии с горизонтальной направляющей. При этом обеспечивают выполнение системы неравенств, приведенной в формуле изобретения. В результате чего расширяются технологические возможности заявленного способа. 5 ил., 1 табл.
Изобретение относится к машиностроению и может быть использовано для установки плоских уплотнений.
Известен способ монтажа эластичной кольцевой детали на базовую поверхность (А.С. №1742024, кл. В23Р 19/08, 1992 г.), в котором деталь деформируют центробежными силами при вращении, нагревают и устанавливают на базовую поверхность, затем охлаждают.
Недостатком способа является подгорание кольцевого уплотнения по наружному диаметру при его попадании на базовую поверхность под действием сил трения при скольжении и подгорание детали по внутреннему диаметру при сбрасывании уплотнения в канавку.
Наиболее близким по технической сущности к предлагаемому решению является способ установки плоского уплотнения на собираемый узел с резьбовыми отверстиями, осуществляемый устройством для сборки деталей (Патент РФ №2074804С1 кл. В23Р 19/00, 1997 г.).
В известном способе плоское уплотнение с отверстиями подают на собираемый узел с резьбовыми отверстиями исполнительным органом и доориентируют уплотнение относительно плоскости собираемого узла штырями с коническими наконечниками, входящими в отверстия уплотнения и резьбового отверстия.
Недостатком данного способа является невозможность его использования на поворотных подающих устройствах, когда погрешности положения центров резьбовых отверстий на узле относительно исходного положения осей исполнительного органа резко возрастают.
Задачей, решаемой изобретением, является расширение технологических возможностей способа установки уплотнений путем обеспечения возможности установки плоских уплотнений при значительном смещении осей резьбовых отверстий на узле относительно исходного положения осей отверстий на уплотнениях.
Это достигается тем, что в способе установки плоских уплотнений на собираемый узел с резьбовыми отверстиями, включающем подачу уплотнения с отверстиями исполнительным органом к собираемому узлу и доориентацию уплотнений относительно плоскости собираемого узла, доориентацию уплотнений относительно плоскости собираемого узла осуществляют в горизонтальной и вертикальной плоскостях. Это осуществляется за счет совмещения осей резьбовых отверстий собираемого узла с осями отверстий уплотнения путем поворота исполнительного органа в горизонтальной плоскости XOY вокруг оси OZ на угол  и его смещения вдоль оси OY на S2 при взаимодействии с вертикальной направляющей, расположенной над плоскостью собираемого узла, и поворота исполнительного органа в вертикальных плоскостях YOZ вокруг оси ОХ на угол  и XOZ вокруг оси OY на угол  при его взаимодействии с горизонтальной направляющей, расположенной над плоскостью собираемого узла. При этом обеспечивают выполнение следующей системы неравенств:

где S2 – смещение исполнительного органа в процессе доориентации;
S =( 1+ 2)R – относительная погрешность смещения края плоскости поворота в горизонтальной плоскости;
Sш – относительная погрешность смещения положения исполнительного органа относительно номинального положения;
 1 – угол поворота плоскости исполнительного органа относительно оси ОХ для обеспечения совмещения узла и уплотнения с учетом всех погрешностей;
r – расстояние от оси поворота исполнительного органа Z до торца края плоскости поворота;
 1 – угловая погрешность положения узла на плоскости поворота относительно его номинального положения;
 2 – угловая погрешность положения плоскости поворота относительно ее номинального положения;
R – расстояние от оси вращения до края плоскости поворота;
 – предельный угол поворота (доориентации) узла и уплотнения в горизонтальной плоскости ХОУ вокруг оси OZ;
 – угол перекоса плоскостей узла и уплотнения в вертикальной плоскости YOZ вокруг ОХ;
Sф – относительная погрешность несовпадения плоскости исполнительного органа относительно плоскости узла за счет разворота исполнительного органа;
 – предельный угол доориентации узла и уплотнения в вертикальной плоскости XOZ вокруг OY;
Sк – относительная погрешность смещения нижней части исполнительного органа от перекоса вертикальной оси O1Z и оси симметрии исполнительного органа O2Z1 за счет несовпадения центра масс исполнительного органа с его осью симметрии;
– расстояние от точки привеса до плоскости исполнительного органа.
Введение доориентации плоского уплотнения относительно плоскости собираемого узла в горизонтальной и вертикальной плоскостях расширяет технологические возможности способа по сравнению с прототипом, что подтверждается следующим.
В основе способа установки плоских уплотнений лежит условие необходимости обеспечения совмещения сопрягаемых поверхностей соединяемых деталей – плоскости и осей отверстий уплотнения и поверхности и осей резьбовых отверстий узла.
Установка и доориентация плоских уплотнений относительное собираемого узла осуществляется при выполнении следующих условий:
I. Для исключения относительных перекосов сопрягаемых поверхностей уплотнений и узла и обеспечения надежной установки уплотнений необходимо создание податливости исполнительного органа, выраженной в ограничении поворота исполнительного органа вокруг точки привеса. При этом:
во-первых, необходимо осуществление поворота исполнительного органа в горизонтальной плоскости ХОУ вокруг OZ на угол  для обеспечения ограничения максимального угла поворота  и для создания стабильного фиксированного положения системы в начальный момент;
во-вторых, необходимо выполнение поворота в вертикальной плоскости YOZ вокруг ОХ на угол  .
в-третьих, выполнение поворота в вертикальной плоскости XOZ вокруг OY на угол  .
II. Должна быть обеспечена точность относительного положения плоскости и осей отверстий уплотнения и поверхности и осей резьбовых отверстий собираемого узла, которая определяется:
– точностью изготовления и расположения элементов устройства, обеспечивающих начальное относительное положение уплотнения и плоскости собираемого узла;
– обеспечением поворота плоскости с собираемым узлом на позицию сборки;
– обеспечением точности взаимного расположения собираемого узла и исполнительного органа в начальный момент сборки.
Рассмотрим процесс выполнения обоих условий, т.е. исключение относительных перекосов сопрягаемых поверхностей уплотнений и узла и обеспечение точности относительного положения плоскости и осей отверстий уплотнения и поверхности и осей резьбовых отверстий собираемого узла.
При осуществлении перемещения исполнительного органа в процессе сборки произойдет его взаимодействие с вертикальной направляющей, расположенной над плоскостью собираемого узла, что вызовет поворот исполнительного органа в горизонтальной плоскости ХОУ вокруг OZ на угол  .
Тогда возможное смещение осей направляющих и уплотнения на исполнительном органе будет равно:
S= S + Sш+ S1,
где S1= ·r,
где S – относительная погрешность смещения края плоскости поворота в горизонтальной плоскости.
S =( 1+ 2)R,
R – расстояние от оси вращения до края плоскости поворота;
 1 – угловая погрешность положения узла на плоскости поворота относительно его номинального положения;
 2 – угловая погрешность положения плоскости поворота относительно ее номинального положения;
 = 1+ 2 – суммарная погрешность;
S1 – погрешность смещения исполнительного органа в плоскости ХОУ относительно его номинального положения;
Sш – относительная погрешность смещения положения исполнительного органа относительно номинального положения;
 1 – угол поворота плоскости исполнительного органа относительно оси ОХ для обеспечения совмещения узла и уплотнения с учетом всех погрешностей;
r – расстояние от оси поворота исполнительного органа Z до края плоскости поворота.
Для доориентации осей отверстий уплотнения относительно осей резьбовых отверстий собираемого узла при взаимодействии с вертикальной направляющей должно компенсироваться смещение S, что обеспечивается угловой податливостью исполнительного органа (поворота вокруг точки привеса) и его смещением в процессе доориентации.
Для обеспечения надежной сборки необходимо выполнение условия адаптации: смещение исполнительного органа в процессе доориентации должно быть больше относительной погрешности смещения исполнительного органа вдоль оси Y (вокруг оси OZ) S2. Тогда справедливо неравенство:
S2> S + Sш+ 1·r
Кроме того, необходимо, чтобы для предельного угла поворота вокруг оси OZ (доориентации) выполнялось следующее условие:

где S2 – смещение исполнительного органа в процессе доориентации;
r – расстояние от оси поворота исполнительного органа Z до края плоскости поворота.
При силовом взаимодействии исполнительного органа с горизонтальной направляющей, расположенной над плоскостью собираемого узла, необходимо осуществление поворота исполнительного органа в вертикальной плоскости YOZ вокруг ОХ на угол  .
Угол перекоса плоскостей узла и уплотнения в вертикальной плоскости YOZ вокруг ОХ  запишется:

где Sф – относительная погрешность несовпадения плоскости исполнительного органа относительно плоскости узла за счет разворота исполнительного органа;
r – расстояние от оси поворота исполнительного органа Z до края плоскости поворота.
При силовом взаимодействии исполнительного органа с горизонтальной направляющей, расположенной над плоскостью собираемого узла, необходимо осуществление поворота в вертикальной плоскости XOZ вокруг OY на угол  .
Предельный угол доориентации узла и уплотнения в вертикальной плоскости XOZ вокруг OY  запишется:

где Sк – относительная погрешность смещения нижней части исполнительного органа от перекоса вертикальной оси O1Z и оси симметрии исполнительного органа O2Z1 за счет несовпадения центра масс исполнительного органа с его осью симметрии;
– расстояние от точки привеса до плоскости исполнительного органа.
Анализ погрешностей позволил установить, что наличие смещений и углов перекосов сопрягаемых поверхностей узла и уплотнения можно компенсировать за счет силового взаимодействия плоскости исполнительного органа, на которой расположено уплотнение, и направляющих, расположенных над плоскостью, на которой устанавливается уплотнение, что позволит обеспечить доориентацию и установку уплотнения относительно собираемого узла, а условия совмещения осей резьбовых отверстий собираемого узла с осями отверстий уплотнения запишутся:

Таким образом, выполнение этих условий собираемости обеспечивает возможность доориентации плоских уплотнений относительно собираемого узла в горизонтальной и вертикальной плоскостях, что позволяет устанавливать плоские уплотнения на узел с резьбовыми отверстиями при значительном смещении осей резьбовых отверстий на узле относительно исходного положения осей отверстий на уплотнениях по сравнению с прототипом.
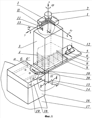
На фиг.1 представлена схема устройства для реализации данного способа. На фиг.2 изображено положение исполнительного органа в пространстве. На фиг.3, 4 и 5 изображены положения исполнительного органа и узла на плоскости поворота.
Устройство содержит плиту 1, в отверстия которой вставлена ось 2, жестко связанная с питателем 3 уплотнений 4, образуя шарнирный подвес первого податливого крепления. На нижней плите 5 питателя 3 закреплен пневмоцилиндр 6, соединенный штоком 7 с шибером 8, который снабжен упором 9. В нижней торцовой части питателя 3 расположено окно 10 для выхода шибера 8. В плиту 1 запрессован штифт 11, который через пружину 12 связан с ограничительным штифтом 13, жестко закрепленным на питателе 3. Ось 2 и пружины 12, своими концами связанные со штифтами 11 и 13, образуют второе податливое крепление. В нижнюю часть питателя 3 запрессован штифт 14, который через пружину 15 соединен с основанием. Штифт 14 с пружинами 15 образует третье податливое крепление. Для установки собираемого узла устройство содержит спутник 16, закрепленный на поворотном столе 17. Верхняя часть спутника 16 имеет поворотную крышку 18 с пазом 19 под размер устанавливаемого уплотнения 4. Крышка 18 снабжена плоской пружиной 20.
Доориентация уплотнения 4, расположенного на шибере 8 в пространстве, происходит по трем направлениям (фиг.2). Доориентация плоского уплотнения 4 относительно плоскости его установки на собираемом узле осуществляется при помощи шарнирного подвеса питателя 3 первого податливого крепления к неподвижной поверхности плиты 1 и упора шибера 8 заходными фасками б’ в горизонтальные фаски паза 19 поворотом на углы  ,  ,  (фиг.2).
При повороте на угол  относительная погрешность смещения нижней части шибера 8 от перекоса вертикальной оси O1Z и оси симметрии исполнительного органа O2Z1 за счет несовпадения центра масс исполнительного органа с его осью симметрии Sk находится из фиг.3 (вид по стрелке А на фиг.2) При повороте на угол  относительная погрешность несовпадения плоскости шибера 8 относительно плоскости узла Sф находится из фиг.4 (вид по стрелке Б на фиг.2). При повороте на угол  величина смещения шибера 8 в процессе доориентации S2 находится из фиг.5 (вид по стрелке С на фиг.2). Доориентация плоского уплотнения 4 по направлению его перемещения осуществляется за счет второго податливого крепления, при этом шибер 8 заходными фасками а’, упираясь в вертикальные заходные фаски а паза 19, доориентируется по направлению его перемещения относительно паза 19 за счет поворота питателя 3 вокруг оси 2 на угол  (фиг.1). При этом процесс доориентации должен осуществляться за счет силового взаимодействия перемещаемого шибера 8 с уплотнением 4 и направляющих, расположенных над плоскостью, на которой устанавливается уплотнение, а плоскость установки уплотнения на собираемый узел не ограничена выступами и упорами. Приведение шибера 8 и питателя 3 в исходное положение осуществляется за счет пружин 12 второго податливого крепления и пружин 15 третьего податливого крепления.
Пример:
Осуществляли подачу уплотения толщиной 1 мм. Расстояние от оси вращения до края плоскости поворота R=400 мм; расстояние от точки привеса до плоскости исполнительного органа =800 мм; расстояние от оси поворота исполнительного органа Z до торца края плоскости поворота r=50 мм; угловая погрешность положения узла на плоскости поворота относительно его номинального положения  1=±20′; угловая погрешность положения плоскости поворота относительно ее номинального положения  2=±20′. При этом смещение исполнительного органа в процессе доориентации S2=3,164 мм; предельный угол поворота (доориентации) узла и уплотнения в горизонтальной плоскости ХОУ вокруг оси OZ  =3,62°; угол перекоса плоскостей узла и уплотнения в вертикальной плоскости YOZ вокруг ОХ  =1°, а предельный угол доориентации узла и уплотнения в вертикальной плоскости XOZ вокруг OY  > , но не больше 2°.
Диапазоны параметров, характеризующих доориентацию уплотнения относительно собираемого узла, сведены в таблицу.
| Параметр |
S2, мм |
 , ° |
 , ° |
 , ° |
| Диапазон |
3-8 |
1-5 |
1-3 |
1-5 |
| значений |
|
|
|
|
В результате эксперимента установлено, что способ обеспечивает возможность доориентации плоского уплотнения толщиной 1 мм относительно собираемого узла в горизонтальной плоскости на угол 3,62° и вертикальной плоскости на угол 1°, при этом возможно смещение исполнительного органа в процессе доориентации на 3,164 мм относительно исходного положения, что в два раза больше, чем в прототипе.
Формула изобретения
Способ установки плоских уплотнений на собираемый узел с резьбовыми отверстиями, включающий подачу уплотнения с отверстиями исполнительным органом к собираемому узлу и доориентацию уплотнений относительно плоскости собираемого узла, отличающийся тем, что доориентацию уплотнений относительно плоскости собираемого узла осуществляют в горизонтальной и вертикальной плоскостях за счет совмещения осей резьбовых отверстий собираемого узла с осями отверстий уплотнения путем поворота исполнительного органа в горизонтальной плоскости ХОУ вокруг оси OZ на угол  и его смещения вдоль оси OY на S2 при взаимодействии с вертикальной направляющей, расположенной над плоскостью собираемого узла, и поворота исполнительного органа в вертикальных плоскостях YOZ вокруг оси ОХ на угол  и XOZ вокруг оси OY на угол  при его взаимодействии с горизонтальной направляющей, расположенной над плоскостью собираемого узла, при этом обеспечивают выполнение следующей системы неравенств:

где S2 – смещение исполнительного органа в процессе доориентации;
S =( 1+ 2)R – относительная погрешность смещения края плоскости поворота в горизонтальной плоскости;
Sш – относительная погрешность смещения положения исполнительного органа относительно номинального положения;
 1 – угол поворота плоскости исполнительного органа относительно оси ОХ для обеспечения совмещения узла и уплотнения с учетом всех погрешностей;
r – расстояние от оси поворота исполнительного органа Z до края плоскости поворота;
 1 – угловая погрешность положения узла на плоскости поворота относительно его номинального положения;
 2 – угловая погрешность положения плоскости поворота относительно ее номинального положения;
R – расстояние от оси вращения до края плоскости поворота;
 – предельный угол поворота – доориентации узла и уплотнения в горизонтальной плоскости ХОУ вокруг оси OZ;
 – угол перекоса плоскостей узла и уплотнения в вертикальной плоскости YOZ вокруг оси ОХ;
Sф – относительная погрешность несовпадения плоскости исполнительного органа относительно плоскости узла за счет разворота исполнительного органа;
 – предельный угол доориентации узла и уплотнения в вертикальной плоскости XOZ вокруг OY;
Sk – относительная погрешность смещения нижней части исполнительного органа от перекоса вертикальной оси O1Z и оси симметрии исполнительного органа O2Z1 за счет несовпадения центра масс исполнительного органа с его осью симметрии;
– расстояние от точки привеса до плоскости исполнительного органа.
РИСУНКИ
|