|
|
(21), (22) Заявка: 2007107580/02, 28.02.2007
(24) Дата начала отсчета срока действия патента:
28.02.2007
(43) Дата публикации заявки: 10.09.2008
(46) Опубликовано: 27.03.2009
(56) Список документов, цитированных в отчете о поиске:
US 4794822 А, 03.01.1989. SU 348294 А, 01.01.1972. SU 1238936 А2, 23.06.1986. SU 1661350 А1, 07.07.1991.
Адрес для переписки:
443100, г.Самара, ул. Молодогвардейская, 244, СамГТУ, главный корпус, патентный отдел
|
(72) Автор(ы):
Богомолов Родион Михайлович (RU), Крылов Сергей Михайлович (RU), Прилуцкий Ванцетти Александрович (RU), Ревякин Евгений Владимирович (RU)
(73) Патентообладатель(и):
Государственное образовательное учреждение высшего профессионального образования Самарский государственный технический университет (RU)
|
(54) УСТРОЙСТВО ДЛЯ УСТАНОВКИ ЗАГОТОВКИ ЛАПЫ БУРОВОГО ДОЛОТА
(57) Реферат:
Устройство включает корпус, установленные на нем базирующий механизм с тремя с параллельными осями пальцами, зажимной механизм с передаточными звеньями от силового органа. Для повышения точности ориентации оси пальцев расположены совпадающими с вершинами равнобедренного треугольника, из которых два – цилиндрической формы малого диаметра – с вершинами основания равнобедренного треугольника, а третий, выполненный в виде полной сферы, – с вершиной его высоты. При этом размеры основания и высоты соотносятся по отношению h/b=3-6, где h, b – длина высоты и основания соответственно. Концы малых пальцев расположены в одной плоскости, параллельной основанию корпуса, имеющей перепад относительно вершины большого пальца. Малые пальцы закреплены на первой, а большой палец – на второй платформах, установленных на корпусе с возможностью регулирования их продольного положения относительно друг друга вдоль продольной плоскости симметрии корпуса, перпендикулярной его основанию. При этом зажимной механизм выполнен в виде Г-образной планки, имеющей возможность перемещения в направляющих корпуса в направлении, перпендикулярном его основанию, соединенной передаточными звеньями в виде двух Г-образных двуплечих рычагов, соединенных между собой посредством шарниров планкой, и с плунжером, имеющим возможность перемещения в корпусе и соединенным болтом с силовым органом. 5 ил.
Изобретение относится к машиностроению, а именно к производству буровой техники, в частности буровых долот. Может быть использовано в других отраслях машиностроения – при изготовлении деталей сложных форм.
Известны аналогичные устройства (патент US 4794822, В21К 5/02, 1989 – 5 с.; – Справочник технолога по автоматическим линиям / А.Г.Косилова, А.Г.Лыков, О.М.Деев и др.; Под ред. А.Г.Косиловой. – М.: Машиностроение, 1982 – 320 с., ил., с.120, рис.3; Кузнецов В.С. и Пономарев Б.А. Универсально-сборочные приспособления. Альбом монтажных чертежей. М.: Машиностроение, 1974. – 156 с., ил., с.17, с.21, с.26, с.27, с.42, с.51), в которых используют базирующий механизм с двумя или тремя пальцами с параллельными осями. Такие аналогичные устройства отличаются простотой базирования – на несколько отверстий с параллельными осями. Однако устройство имеет недостаток имеют недостаток. Они позволяют базировать на установочные базы, для чего требуются дополнительные установочные элементы.
В качестве прототипа наиболее близко по своей технической сущности подходят устройство для установки заготовок (патент US 4794822, В21К 5/02, 1989 – 5 с.), в котором используют для базирования три пальца с параллельными осями. Устройство-прототип позволяет просто и быстро устанавливать заготовку. Но при этом за готовку базируют по направляющей и опорной базам. Для базирования по установочной базе, когда заготовка должна быть лишена трех степеней свободы, в устройстве должны предусматриваться дополнительные установочные элементы. Да и технологические базы заготовки, как правило, должны быть обработаны. Для заготовок деталей сложной формы, к которым относятся лапы бурового долота, это сопряжено с дополнительными трудностями ее ориентации.
Заявляемое устройство лишено указанного недостатка.
Технической задачей, которую решает изобретение, является повышение точности установки заготовки лапы бурового долота и возможность установки широкой номенклатуры размеров заготовки.
Сущность изобретения заключается в том, что в устройстве для установки лапы бурового долота, содержащем корпус, установленные на нем базирующий механизм в виде пальцев с параллельными осями и зажимной механизм с передаточными звеньями от силового органа, отличающемся тем, что базирующий механизм включает три пальца, расположенные по вершинам равнобедренного треугольника, два из которых выполнены цилиндрической формы и малого диаметра и их оси совпадают с вершинами основания равнобедренного треугольника, а ось третьего, выполненного в виде неполной сферы, – с вершиной высоты равнобедренного треугольника, отношение размеров основания и высоты которого равны h/b=3…6, где h, b – длина высоты и основания соответственно, при этом концы малых пальцев расположены в одной плоскости, параллельной основанию корпуса, выполненной с перепадом относительно конца большого пальца, малые пальцы закреплены на первой, а большой палец – на второй платформах, установленных на корпусе с возможностью регулирования их продольного положения относительно друг друга вдоль продольной плоскости симметрии корпуса, перпендикулярной его основанию, а зажимной механизм выполнен в виде Г-образной планки, имеющей возможность перемещения в направляющих корпуса в направлении, перпендикулярном основанию корпуса, соединенной передаточными звеньями в виде двух Г-образных двуплечих рычагов, соединенных между собой посредством шарниров и планки и с плунжером, имеющим возможность перемещения в корпусе, соединенным болтом с силовым органом».
Отличительными признаками изобретения по сравнению с прототипом являются: иное выполнение пальцев, а именно один большего диаметра сферической формы, два других цилиндрической формы меньшего диаметра и со сферическим торцом; иное расположение пальцев, а именно их оси совпадают с вершинами вытянутого равнобедренного треугольника, соотношение длин высоты и основания которого задано в пределах 3…6, причем торцы малых пальцев лежат в одной плоскости, параллельной плоскости основания корпуса, и с перепадом относительно торца большого пальца; иная степень установки пальцев: они расположены – два (малых) – на одной платформе, большой – на второй платформе. Платформы имеют возможность вместе с пальцами занимать бесступенчато разное регулируемое положение относительно друг друга и относительно корпуса; зажимной механизм выполнен в виде подвижной Г-образной планки, соединенной с плунжером посредством двух Г-образных рычагов, соединенных между собой посредством шарниров и планки, а плунжер может быть соединен посредством болта с силовым органом.
Перечисленные отличительные признаки позволяют решить названную техническую задачу: повышение точности установки заготовки лапы бурового долота.
Так, названное выполнение пальцев позволяет с помощью их лишить заготовку всех шести степеней свободы. Большой палец сферической формы имеет возможность взаимодействовать с ответным сферическим отверстием заготовки. Этим он лишает ее возможности перемещения в направлении, перпендикулярном плоскости основания корпуса устройства: возможности перемещения в направлении продольной оси симметрии корпуса и возможности перемещения в направлении, перпендикулярном продольной оси симметрии корпуса. Малых два пальца цилиндрической формы и соответствующего диаметра и точности их межцентрового расстояния позволяют лишить заготовку оставшихся трех степеней свободы, а именно трех поворотов.
Такое исполнение пальцев, при котором они одновременно выполняют две функции, которые в прототипе исполняют разные базирующие элементы, позволяет уменьшить две группы погрешностей: погрешности базирования и погрешности изготовления самого устройства. В итоге повышается точность установки заготовки.
Кроме того, уменьшается погрешность закрепления за счет того, что направление силы тяги силового органа, плунжера и силы закрепления совпадают. Этого свойства устройства удается достигнуть путем заявленного выполнения передаточных звеньев и зажимного элемента – Г-образной планки.
Установка пальцев на двух платформах с возможностью их перемещения позволяет решить вторую часть технической задачи: расширение номенклатуры размеров устанавливаемых в устройстве заготовок лап бурового долота.
Таким образом, доказана возможность решения технической задачи с помощью реализации отличительных признаков изобретения.
Анализ других технических решений, аналогов и прототипа позволил сделать вывод о том, что в них отсутствуют отличительные признаки, свойственные изобретению. Следовательно, они являются существенными.
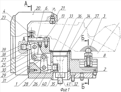
Заявка снабжена следующими графическими материалами: фиг.1 – вид спереди устройства; фиг.2 – вид сверху; фиг.3 – вид сбоку; фиг.4, 5 – разрезы АА и ББ.
Корпус устройства состоит из плиты 1 и собственно корпуса 2, соединенных между собой как одно целое. Корпус 2 несет на себе базирующий механизм и зажимной механизм. Базирующий механизм состоит из большого пальца 3 и двух малых пальцев 4, 5. Малые пальцы 4, 5 закреплены на первой платформе 6 посредством неподвижной посадки. Большой палец 3, выполненный в виде неполной сферы 7, закреплен на второй платформе 8 посредством неподвижной посадки. Ось I большого пальца 3, оси II, III малых пальцев 4, 5 расположены в вершинах равнобедренного треугольника I, II, III симметричного относительно продольной плоскости 00 симметрии устройства, перпендикулярной плоскости ОПОП его основания. Вершины малых пальцев лежат в одной плоскости ОВОВ, параллельной плоскости ОПОП основания. Длины высоты h и основания b треугольника относятся как . Большой палец 3 имеет перепад H по высоте расположения торцов относительно малых пальцев 4, 5 в плоскости OO. Малые пальцы 4, 5 выполнены цилиндрической формы с торцом, закругленным по радиусу. Следовательно, малые пальцы имеют возможность касаться дна 9 базовых отверстий 10 заготовки 11, а самих отверстий – с зазором. Большой палец 3 имеет возможность соприкасаться своей сферой 7 по некоторой площадке со сферическим базовым отверстием 12 заготовки 11. Первая платформа 6 вместе с малыми пальцами 4, 5 закреплена на корпусе 2 посредством болтов 13. Положение первой платформы 6 вместе с малыми пальцами 4, 5 может регулироваться за счет перемещения ее выступа 14 вдоль паза 15 корпуса 2. Положение второй платформы 8 вместе с большим пальцем 3 может также изменяться относительно малых пальцев 4, 5 и корпуса 2 за счет перемещения ее выступа 16 вдоль паза 17 и последующего закрепления болтами 18 с помощью планок 19.
Зажимной механизм включает Г-образную планку 20 с зажимным наконечником 21, имеющим возможность контактировать с заготовкой 2. Г-образная планка 20 имеет возможность перемещаться по направляющим 22, выполненным в корпусе 2. Силовое замыкание Г-образной планки осуществляется с помощью планки 23 и винтов 24.
Передаточные звенья включают два Г-образных двуплечих рычага 25, 26, имеющих возможность поворачиваться на штырях 27, 28 и соединенных между собой посредством планки 29 и шарниров 30, 31. В центральной части корпуса 2 выполнено сквозное отверстие 32, в которое запрессована втулка 33, внутри которой имеет возможность по подвижной посадке перемещаться плунжер 34 с болтом 35. Отверстие 32 закрыто крышкой 36 посредством винтов 37. Плунжер 34 посредством болта 35 имеет возможность быть соединенным с силовым органом (условно не показан). Г-образный двуплечий рычаг 25 соединен с Г-образной планкой 20 посредством контакта его шарнирного плеча 38 с пазом 39. Г-образный двуплечий рычаг 26 соединен с плунжером 34 посредством контакта его шарнирного плеча 40 с пазом 41.
Устройство для установки заготовки лапы бурового долота в динамике. Перед выполнением технологической операции, например «фрезерование двугранного угла», устройство собирают и настраивают по величине перепада H по высоте торцов большого пальца 3 и малых пальцев 4, 5, а также по величине высоты h треугольника I, II, III. Величина перепада Н обеспечивается выбором соответствующего типоразмера второй платформы 8 и подгонкой ее по размеру на устройстве. Величина высоты h обеспечивается соответствующей регулировкой положения первой и второй платформ 6, 8 на корпусе 2 устройства с помощью измерительных инструментов.
Устройство устанавливают на станок. При этом соединяют плунжер 34 посредством болта 35 с силовым органом, например гидроприводом. Заготовка 11 с предварительно установленными базовыми отверстиями 10, 12 устанавливается в устройство. При базировании заготовки 11 ее сферическое базовое отверстие 12 соприкасается со сферическим торцом 7 большого пальца 3, а дно 9 базовых цилиндрических отверстий 10 – с торцами малых пальцев 4, 5. Для исключения защемления заготовки диаметры малых пальцев 4, 5 выполнены с гарантированными зазорами относительно базовых отверстий 10.
Для закрепления заготовки 11 включается силовой орган. Он перемещает плунжер 34 в направлении основания ОПОП устройства с силой тяги Т. Плунжер 34 давит на шарнирное плечо 40 двуплечего рычага 26, тот через планку 29, двуплечий рычаг 25. Двуплечий рычаг 25 своим шарнирным плечом 38, взаимодействуя с пазом 39, перемещает Г-образную планку 20. Г-образная планка 20 передвигается вместе с зажимным наконечником 21 до тех пор, пока зажимной наконечник 21 не коснется поверхности заготовки и разовьет силу зажима Р3. После окончания силового замыкания установка заготовки 11 завершена.
Заготовку 11 обрабатывают, например, фрезерованием поверхности двугранного угла.
После окончания обработки заготовки 11 включают обратный ход силового органа. При этом плунжер 34 перемещается в сторону от основания устройства. Все механизмы устройства работают в обратном порядке. Зажимной наконечник 21 отходит от заготовки 11. Она свободна. Ее снимают с устройства, устанавливают следующую заготовку 11.
При необходимости далее устанавливать заготовки лап другого типоразмера поступают по одному из двух вариантов. Устройство для предыдущего типоразмера заготовок заменяют другим. Либо предыдущее отправляют на переналадку, при которой заменяют первую и вторую платформы вместе с набором соответствующих большого и малых пальцев по порядку, описанному выше.
Пример конкретного применения. Требуется обработать 9 партий заготовок лап борового долота, у которых величины h и H колеблются в пределах:
h=260; 240; 190; 278 мм;
H=88,7; 82; 95; 79; 88; 74; 95; 74,83; 65; 88; 61; 47; 38 мм.
При этом диаметр базовых отверстий под малые пальцы составляет d =11,09+0,05 мм, радиус базового сферического отверстия под большой палец R =9,55 мм. Базовые отверстия находятся на межцентровом расстоянии В=40 мм. В устройстве малые пальцы имеют диаметр , а большой палец D=19,05-0,02. Для реализации поставленной задачи для каждой партии заготовок используют вторую платформу с соответствующими размерами h1. Например, 24,05; 27,12; 32,05; 32,17; 41,12; 50,05 мм и т.д.
Настраивают и выверяют указанные размеры устройства. Устанавливают устройство на обрабатывающий центр модели MCV-1270 и соединяют его с силовым органом станка. Заготовку лапы устанавливают тремя базовыми отверстиями на большой и два малых пальца. Закрепляют заготовку согласно описанной выше процедуре. Выполняют предварительное фрезерование плоскостей двугранного угла под углами =49°, =11° и =120°+15 . Использование заявляемого устройства для установки заготовки лапы бурового долота позволило повысить точность расположения обрабатываемых поверхностей в 2-3 раза по сравнению с установкой на необработанные технологические базы. При этом в несколько раз сократилось число устройств для установки заготовки.
Конструкция и принцип действия устройства могут быть использованы при механической обработке и в других отраслях машиностроения при изготовлении деталей сложной формы.
Экономическая эффективность использования заявляемого устройства установки заготовки может быть определена как разность экономического эффекта использования буровых долот при эксплуатации, собранных из лап повышенной точности, и дополнительных затрат на обработку искусственных технологических баз, а также за счет сокращения числа устройств.
Формула изобретения
Устройство для установки заготовки лапы бурового долота, содержащее корпус, установленные на нем базирующий механизм в виде пальцев с параллельными осями и зажимной механизм с передаточными звеньями от силового органа, отличающееся тем, что базирующий механизм включает три пальца, расположенных по вершинам равнобедренного треугольника, два из которых выполнены цилиндрической формы и малого диаметра и их оси совпадают с вершинами основания равнобедренного треугольника, а ось третьего, выполненного в виде неполной сферы, – с вершиной высоты равнобедренного треугольника, отношение размеров основания и высоты которого равны , где h, b – длина высоты и основания соответственно, при этом концы малых пальцев расположены в одной плоскости, параллельной основанию корпуса, выполненной с перепадом относительно конца большого пальца, малые пальцы закреплены на первой, а большой палец – на второй платформах, установленных на корпусе с возможностью регулирования их продольного положения относительно друг друга вдоль продольной плоскости симметрии корпуса, перпендикулярной его основанию, а зажимной механизм выполнен в виде Г-образной планки, имеющей возможность перемещения в направляющих корпуса в направлении, перпендикулярном основанию корпуса, соединенной передаточными звеньями в виде двух Г-образных двуплечих рычагов, соединенных между собой посредством шарниров и планки и с плунжером, имеющим возможность перемещения в корпусе, соединенным болтом с силовым органом.
РИСУНКИ
|
|