|
|
(21), (22) Заявка: 2007108307/02, 25.07.2005
(24) Дата начала отсчета срока действия патента:
25.07.2005
(30) Конвенционный приоритет:
06.08.2004 IT UD2004A000167
(43) Дата публикации заявки: 20.09.2008
(46) Опубликовано: 27.03.2009
(56) Список документов, цитированных в отчете о поиске:
US 5465922 A, 14.11.1995. DE 20002849 U1, 28.12.2000. US 6318660 В1, 20.11.2001. US 5772151 A, 30.06.1998. SU 1733155 A1, 15.05.1992.
(85) Дата перевода заявки PCT на национальную фазу:
06.03.2007
(86) Заявка PCT:
IT 2005/000440 (25.07.2005)
(87) Публикация PCT:
WO 2006/013604 (09.02.2006)
Адрес для переписки:
103735, Москва, ул. Ильинка, 5/2, ООО “Союзпатент”, пат.пов. Ю.В.Облову, рег.№ 905
|
(72) Автор(ы):
КАСТЕЛЛАНИ Федерико (IT)
(73) Патентообладатель(и):
С.И.М.А.К. С.П.А. (IT)
|
(54) УСТРОЙСТВО ДЛЯ НАМАТЫВАНИЯ КАТУШКИ МЕТАЛЛИЧЕСКОЙ ПРОВОЛОКИ НА УСОВЕРШЕНСТВОВАННОЙ МОТАЛЬНОЙ ОПРАВКЕ
(57) Реферат:
Изобретение относится к намоточному механизму для намотки металлической проволоки или катанки. Намоточный механизм содержит вертикальную оправку с множеством секторов, подвижно закрепленных шарнирами на основании в дискообразной пластине основания вместе с верхними лепестками, шарнирно закрепленными в верхней части оправки, которая перемещается из положения, перпендикулярного по отношению к осевой линии оправки, образуя катушку для проволоки или катанки, в такое положение, в котором она направлена вверх, обеспечивая при этом возможность снять сформированный моток проволоки или катанки, и предохранительные средства, предотвращающие перемещение секторов во время формирования катушки, при этом перед началом вращения и во время вращения оправки лепестки, смонтированные на шарнирах, снабжены кулачком, который при поворачивании его в нижнем направлении в процессе формирования катушки закрепляет соответствующий сектор с наружной его стороны на верхней части для удерживания его на своем месте под воздействием на него центробежной силы, образуя при этом первое верхнее предохранительное соединение, секторы вставляются своей нижней частью во фланец основания с образованием второго предохранительного соединения, противодействующего центробежной силе, и внутренний промежуточный зуб Т-образной формы является удлинителем каждого сектора, закрепляемого во внутренней канавке Т-образной формы с зазором относительно центрального соединительного корпуса оправки. Обеспечивается исключение блокировки установки. 5 з.п. ф-лы, 13 ил.
Область техники, к которой относится изобретение
Настоящее изобретение относится к устройству для наматывания бунта металлической проволоки на усовершенствованном барабане.
В частности, настоящее изобретение относится к предохранительной системе для барабана, имеющего увеличенное количество подвижных секторов, которые выдвигаются по направлению к стороне, откуда снимается бунт, а также к предохранительной системе, обеспечивающей защиту от опасности раскрывания или же высвобождения упомянутых секторов при их раскрывании под воздействием центробежной силы, в соответствии с ограничительной частью основного пункта формулы изобретения.
Настоящее изобретение применимо также и ко всем типам моталок, предназначенным для намотки металлической проволоки или же катанки, поступающей от соответствующей производственной установки, которая расположена по ходу технологического процесса перед такой моталкой, например от агрегата горячей прокатки.
Однако при этом нет никаких оснований для исключения возможности того, что такая производственная установка, которая расположена по ходу технологического процесса перед такой моталкой, может быть и какого-нибудь другого типа, например это может быть установка для холодной прокатки, для вытягивания, для поверхностной обработки проволоки и т.д.
Уровень техники
Применение установок такого типа известно при современном уровне техники в данной области.
Более того, также известны следующие устройства, применяемые в упомянутых установках: устройство для введения проволоки, наматываемой вокруг барабана, и предохранительное устройство, обеспечивающее защиту от опасности разъединения составных элементов с оправкой во время ее вращения.
Кроме того, широко известны также предохранительные системы, обеспечивающие надежную блокировку составных секторов, образующих барабан, в рабочем их положении и разблокировку этих секторов по окончании процесса, необходимую для извлечения обработанного бунта.
Наличие предохранительных систем необходимо для предотвращения разъединения указанных секторов относительно соединяющей их системы, которое может произойти под воздействием центробежной силы, возникающей при высокой скорости вращения барабана во время наматывания, что может привести к серьезным авариям. Общеизвестные системы являются недостаточно надежными и не могут гарантировать полную безопасность.
Для обеспечения правильной работы установки также необходимо наличие соответствующих вставляющих систем для проволоки, наматываемой вокруг барабана, однако существующие системы являются весьма сложными, имеют громоздкую составную конструкцию, но, прежде всего, все они недостаточно надежны, поэтому в случае если еще в самом начале очередной операции проволока не будет хорошо зажата, то потом может произойти остановка всего рабочего процесса, что в результате приведет к блокировке установки с весьма серьезными и очень опасными последствиями.
Раскрытие изобретения
Задачей настоящего изобретения является упрощение конструкции установки и улучшение ее качественных характеристик с обеспечением при этом оптимальных эксплуатационных характеристик установки.
Поставленная задача решена посредством наличия отличительных признаков, указанных в основном пункте формулы изобретения.
Отличительные признаки, указанные в зависимых пунктах формулы изобретения, определяют собой предпочтительные технические решения.
Настоящее изобретение позволяет улучшить эксплуатационные характеристики всей моталки в целом.
Краткое описание чертежей
Далее следует подробное описание настоящего изобретения со ссылками на прилагаемые чертежи, иллюстрирующие предпочтительные варианты выполнения настоящего изобретения, на которых представлено:
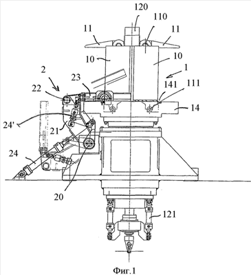
фиг.1 и 2 – вид сбоку и вид сверху моталки, выполненной в соответствии с предпочтительным вариантом выполнения настоящего изобретения;
фиг.3-5 – три разных стадии работы зажимного устройства для проволоки;
фиг.6 и 7 – вид сбоку и вид сверху для одного из вариантов выполнения моталки;
фиг.8-10 – три разных стадии работы зажимного устройства для проволоки;
фиг.11, 13 – вертикальная проекция с частичным разрезом и вид сверху барабана с опущенными лепестками, находящимися в положении, в котором к барабану подсоединены секторы посредством соответствующих трех предохранительных соединительных деталей, а именно верхней соединительной детали – посредством зубьев или лепестка, которые обеспечивают внешнее зацепление, промежуточной скользящей закрепляющей соединительной детали и нижней, вставляемой внутрь соединительной детали для основания секторов барабана на пластине, которая представляет собой фланец основания барабана;
фиг.12 – вид аналогичный фиг.11, но уже с поднятыми лепестками в положении расцепления.
Осуществление изобретения
Как показано на фигурах, предложенная система содержит моталку (1), приводимую в действие посредством электродвигателя с конической зубчатой передачей (AM) таким образом, чтобы она поворачивалась в нижнем направлении. Моталка содержит фланец (14) основания и барабан, состоящий из четырех (но возможно также и другое их количество) секторов (10), которые выполнены подвижными и крепятся к нижней части посредством шарниров, а при перемещении их в сторону верхней части изменяют образуемую ими цилиндрическую форму на усеченно-коническую форму, то есть они при этом отводятся по направлению к центру посредством четырех лепестков (11), поворачивающихся на соответствующих штифтах (110) благодаря наличию зубчатого соединения (AD) их с осевым валом (120), в котором выполнено отверстие (122), предназначенное для пропускания охлаждающей жидкости, и который перемещается в вертикальном направлении, а также и осевом направлении посредством нижних гидравлических динамических цилиндров (121) таким образом, посредством шестеренчатой передачи они выполнены с возможностью поворота из положения, перпендикулярного по отношению к оси барабана (1-10), показанного на фиг.1, 6 и 11, в положение подъема вверх (фиг.12), причем первое указанное рабочее положение предназначено для формирования бунта, а второе положение – для извлечения бунта.
Кроме того, для барабана (1-10) предусматривается следующее:
– зубец (IS) на шарнирно закрепленных лепестках (111), выполненный с возможностью фиксирования снаружи на верхней части соответствующего сектора (10) при нисходящем вращении в процессе формирования бунта для зажимания под воздействием центробежной силы, образующий первое верхнее предохранительное соединение;
– второе предохранительное соединение (IN), образованное секторами (10), вставленными своей нижней частью во фланец (14) основания для противодействия центробежной силе снизу, и
– внутренний Т-образный промежуточный зуб (101), выполненный в виде выступа сектора (10), закрепленного в принимающей Т-образной канавке с зазором (1230) относительно центрального соединительного корпуса (123) барабана.
Таким образом, секторы (10), имея Т-образный промежуточный зуб (101), могут свободно передвигаться по внутренней стороне указанной закрепляющей внутренней канавки (1230), образуя тем самым третье промежуточное предохранительное соединение (IM), предотвращающее опасность того, что в результате воздействия очень большой центробежной силы указанные секторы могут освободиться и выдвинуться наружу еще до того, как начнут образовываться витки, что будет пояснено здесь далее при описании зажимного устройства (2).
Как показано на приведенных фигурах, перемещение секторов (10) в наружном направлении осуществляется в результате поворачивания их вокруг шарниров (111) основания с преодолением при этом соответствующего усилия, создаваемого расположенным снизу пружинным устройством (13), благодаря чему и происходит их перемещение, осуществляемое посредством кулачка (112). Как показано в представленном на фиг.13 сечении А-А по фиг.11, Т-образный промежуточный зуб (101), находясь в таком своем положении, при котором выполняется формирование катушки, имеющей цилиндрическую форму, упирается во внутренние стенки закрепляющий внутренней опорной поверхности (1230), в то время как этот зуб, постепенно выдвигаясь, немного отводится по направлению к центру, что показано штрих-пунктирной линией на фиг.12.
Таким образом, предусматривается наличие тройного предохранительного соединения, противодействующего центробежной силе, возникающей в результате вращения больших масс и представляющей собой особо серьезную опасность перед тем, как начнется формирование катушки.
Что касается выполнения операции заправки проволоки, решающее значение в этом отношении имеет наличие такого устройства для введения проволоки, которое имеет другую форму, а не форму полуокружности, располагается по касательной и снабжено круглым аркообразным продолжением (2).
Указанное устройство содержит рычаг (21) и передний рычаг (23) с промежуточным шарниром (22), причем рычаг (21) шарнирно соединен с основанием (20) рассматриваемой конструкции и приводится в действие посредством соответствующего гидродинамического приводного средства (24), предназначенного для перемещения рычага (21), а также соответствующего гидродинамического приводного средства (24 ), предназначенного для перемещения переднего рычага (23), и устанавливается в одном из следующих трех своих положений:
I – первое положение, в котором она вплотную примыкает к цилиндрической оправке (1-10) и фланцу (14) основания, обеспечивая возможность вставить проволоку, продвинуть ее немного вперед и осуществить закрепление проволоки в канавке зажимного устройства, расположенного на фланце (14);
II – второе положение, которое находится в непосредственной близости по отношению к первому положению, а именно отстоит от указанного первого положения лишь совсем незначительно, и в которое рычаг (21) переводится по сигналу, получаемому от датчика давления масла, установленного в указанном гидродинамическом приводном средстве (24 ), предназначенном для перемещения переднего рычага, с учетом сигнала, получаемого от датчика перемещения собственного вала в тот момент, когда указанный вал упирается в зажимное устройство;
III – дополнительное удаленное положение в отведенном наружу состоянии, в котором рычаг (21) не мешает формированию бунта и в которое он перемещается посредством указанного гидродинамического приводного средства (24), предназначенного для перемещения рычага (21).
Может предусматриваться наличие противодействующей предохранительной скобы (3), но особой необходимости в применении такой скобы, в принципе, не наблюдается, причем такая скоба будет выполняться аналогичной первой такой скобе и регулироваться так же, как и она (фиг.6-7), но при этом она не будет представлять собой соответствующую направляющую для проволоки, а предпочтительно будет являться всего лишь только полукруглой крышкой, имеющей ровную поверхность и расположенной над канавкой (141) для исключения опасности разъединения головки, предназначенной для закрепления проволоки и оснащенной первым таким устройством.
На основании проведенных исследований было установлено, что данное устройство превосходит по своим эксплуатационным качествам все существующие устройства такого типа, поскольку крепление всегда осуществляется уже в первом соединительном устройстве (2).
Все три различные стадии крепления показаны для обоих случаев соответственно на фиг.3-5 для предпочтительного варианта технического решения, показанного на фиг.1 и 2, а также на фиг.8-10 для альтернативного варианта выполнения настоящего изобретения, представленного на фиг.6 и 7 и снабженного системой обеспечения противодействующей защиты, представляющей собой крышку.
Работа зажимного устройства осуществляется следующим образом:
а) проволока (фиг.3) вводится в прямолинейный участок ввода проволоки (230), выполненный в переднем рычаге зажимного устройства, который расположен по касательной относительно барабана (1-10);
б) центральный элемент, расположенный непосредственно сразу же за прямолинейным участком ввода проволоки (230), выполненным в рычаге (23), продолжает движение вместе с участком (231), выполненным в виде кольцевой дуги, сопряженной с барабаном, который проталкивает проволоку наподобие клина в ребристую канавку, имеющую форму «елочки» или же спирали, с тем, чтобы проволока продвинулась немного дальше, зацепившись за канавку (141), при этом скорость протягивания барабана – моталки (V2) несколько превышает скорость продвижения проволоки вперед (VI); этот второй элемент содержит нажимную пластину (232), которая, воздействуя на проволоку, проталкивает ее дальше вниз вглубь канавки (141);
в) третий участок (233) удерживает головку, предназначенную для закрепления проволоки, в отведенном для нее месте и выполняется плоским, при этом предотвращается возможность выхода головки с этого места наружу в верхнем направлении. В этой зоне выполняется закрепление проволоки за счет сцепления ее с соответствующей поверхностью, сила которого определяется разностью скоростей V1
Таким образом, следует отметить, что нет никакой необходимости в применении противодействующей направляющей, а в том случае если потребуется обеспечить еще большую степень защиты при проведении работ, то такую направляющую можно было бы использовать в качестве дополнительного предохранительного приспособления.
Таким образом, вся эта система в целом существенно упрощается, обеспечивая при этом максимальную безопасность и оптимальную эксплуатационную характеристику.
Во всяком случае, следует в интересах обеспечения надлежащей безопасности целиком заключить предлагаемое устройство в соответствующий корпус, имеющий достаточно прочную конструкцию, которая выполняется из металлических плит, полностью окружающих собой данное устройство во избежание аварий или же возникновения какой-либо опасности.
За ходом рабочего процесса непрерывно наблюдает посредством замкнутой телевизионной системы дежурный оператор, находящийся в кабине управления, где расположен, помимо телевизионной камеры, также и пульт дистанционного управления.
С обеспечением при этом соответствующих преимуществ упомянутое зажимное устройство (2) расположено, по существу, в пределах заднего сектора со стороны зажима для проволоки, имеющегося в барабане, в виде сверху.
Кроме того, с обеспечением при этом соответствующих преимуществ это устройство может быть расположено также, по существу, под углом в 45° по отношению к упомянутому сектору, при этом обеспечивается значительно больший охват по ширине при введении проволоки внутрь (на соответствующей фигуре указанный угол показан равным 90°).
Исключительно важные преимущества можно получить обеспечив ориентацию предлагаемого устройства в осевом направлении, а именно по ходу осуществления технологического процесса, поскольку в этом случае для предлагаемого устройства максимальный охват в выдвинутом его положении, то есть в пределах соответствующей U-образной области с более чем достаточным углом охвата, составляющим 180°, при этом данное устройство приобретает в предельном своем положении U-образную форму при наличии у него всего лишь только одного хвостовика, который представляет собой его прямолинейный участок ввода проволоки (230), в то время как остальные два его участка (231, 233) образуют при этом максимальную кольцевую дугу с углом охвата, составляющим 180°.
Формула изобретения
1. Моталка (1) для намотки металлической проволоки или катанки, содержащая вертикальный барабан с множеством секторов (10), подвижно закрепленных посредством шарниров у нижней части дискообразной опорной пластины (14) и согласованных с верхними лепестками (11), шарнирно закрепленными на верхней части барабана, выполненный с возможностью перемещения из положения, перпендикулярного к оси (1-10) барабана для образования компактного бунта проволоки или катанки, в направленное вверх положение для обеспечения возможности съема мотка проволоки или катанки, и предохранительные средства для предотвращения перемещения секторов (10) в процессе формирования бунта, отличающаяся тем, что для обеспечения безопасности перед началом вращения и во время вращения барабана предусмотрены три крепежных средства: зубец (IS) на каждом из лепестков (11), закрепленных на шарнирах (111), выполненный с возможностью фиксирования снаружи на верхней части соответствующего сектора (10) при нисходящем вращении в процессе формирования бунта для зажимания под воздействием центробежной силы, образующий первое верхнее предохранительное соединение; второе предохранительное соединение (IN), образованное секторами (10), вставленными своей нижней частью во фланец (14) основания для противодействия центробежной силе снизу, и внутренний Т-образный промежуточный зуб (101), выполненный в виде выступа сектора (10), закрепленного в принимающей Т-образной канавке с зазором (1230) относительно центрального соединительного корпуса (123) барабана.
2. Моталка (1) по п.1, отличающаяся тем, что смонтированные на своих шарнирах (111) лепестки (11) снабжены кулачком (112), выполненным с возможностью выталкивания секторов (10) наружу при поворачивании его вниз, для противодействия усилию, развиваемому пружиной (13) основания, которая растягивается, удерживая упомянутые секторы (10) в отведенном назад положении.
3. Моталка (1) по любому из пп.1 или 2, отличающаяся тем, что снабжена устройством для введения проволоки, форма которого отлична от полукруглой, размещенным тангенциально круглому аркообразному продолжению (2) рычага (21) и переднего рычага (23), соединенных шарниром (22), с возможностью приведения в действие посредством соответствующих приводных средств (24, 24 ) в одном из трех своих положений: первом положении, вплотную примыкающем к цилиндрическому барабану и фланцу (14) основания, для обеспечения возможности введения проволоки, продвижения ее вперед и закрепления проволоки в канавке (141) зажимного устройства, расположенного на фланце (14); втором положении, непосредственно примыкающем к первому положению, а именно слегка разъединенным с первым положением, активируемым посредством датчика последующего захвата переднего конца проволоки в канавке (141), с возможностью дальнейшего проталкивания в то же самое время переднего конца проволоки посредством спиральных ребер, присутствующих на боковой стороне сектора (10), в канавку (141) за счет разности скоростей, существующей между скоростью продвижения проволоки V1 и периферийной скорости протягивания барабана-моталки V2, причем V1
дополнительном удаленном положении за пределами помех формированию бунта, когда скорость продвижения проволоки V1 и периферийная скорость вращения барабана-моталки V2 идентичны друг другу, а именно при условии, по существу, совпадающей по времени скорости V1=V2, определяющем превалирование скорости, сообщаемой под воздействием тягового усилия, возникающего при вращении барабана.
4. Моталка (1) по любому из пп.1 или 2, отличающаяся тем, что зажимное устройство для проволоки расположено, по существу, в заднем квадранте барабана со стороны зажима для проволоки в виде сверху.
5. Моталка (1) по любому из пп.1 или 2, отличающаяся тем, что устройство осевой ориентации введения проволоки расположено ниже по потоку и выполнено, по существу, U-образной формы, при этом хвостовик устройства имеет прямолинейный участок ввода проволоки (230), а остальные два его участка (231, 233) выполнены в виде кольцевой дуги, сопряженной с барабаном.
6. Моталка (1) по любому из пп.1 или 2, отличающаяся тем, что она целиком помещена в защитную металлическую конструкцию, выполненную полностью закрытой и бронированной для предотвращения возможного выбрасывания из нее какой-либо детали в случае аварии, заедания или же отсоединения отдельных ее деталей, и снабжена средствами воспроизведения с замкнутой телевизионной системой с телекамерой для обеспечения возможности непрерывного наблюдения дежурного оператора за ходом рабочего процесса и управления этим процессом посредством монитора и средств дистанционного управления.
РИСУНКИ
;
|
|