|
|
(21), (22) Заявка: 2007101018/02, 09.01.2007
(24) Дата начала отсчета срока действия патента:
09.01.2007
(43) Дата публикации заявки: 20.07.2008
(46) Опубликовано: 27.03.2009
(56) Список документов, цитированных в отчете о поиске:
RU 2040353 C1, 25.07.1995. SU 238504 A, 15.07.1969. RU 2254948 C1, 27.06.2005. FR 2203683 A, 17.05.1974.
Адрес для переписки:
427620, Удмуртская Республика, г. Глазов, ул. Белова, 7, патентно-информационный отдел ОАО ЧМЗ
|
(72) Автор(ы):
Зайцев Владимир Леонидович (RU), Кропачев Сергей Юрьевич (RU), Лукин Михаил Васильевич (RU), Сапурин Лев Юрьевич (RU), Филиппов Владимир Борисович (RU), Дылдин Вадим Леонидович (RU), Миронов Валерий Георгиевич (RU), Митберг Борис Яковлевич (RU)
(73) Патентообладатель(и):
Открытое акционерное общество “Чепецкий механический завод” (ОАО ЧМЗ) (RU)
|
(54) УСТРОЙСТВО ДЛЯ УСТАНОВКИ ВОЛОЧИЛЬНОГО ИНСТРУМЕНТА
(57) Реферат:
Изобретение предназначено для повышения точности настройки волочильного инструмента при волочении прутков, труб и профилей на станах линейного типа, включая многониточные. Устройство содержит доску с обоймой, несущей волоку с возможностью поворота последней относительно двух взаимно перпендикулярных осей. Возможность индивидуального совмещения оси канала волоки с осью волочения на каждой нитке многониточного стана обеспечивается за счет того, что в доске выполнено одно сквозное продольное цилиндрическое отверстие и несколько перпендикулярных ему поперечных сквозных цилиндрических отверстий в количестве, равном числу нитей волочения, в продольном отверстии размещено с возможностью поворота вокруг своей оси и осевого перемещения такое же количество цилиндрических обойм, в каждой из которых выполнено два взаимно перпендикулярных сквозных цилиндрических отверстия, причем одно из них расположено соосно какому-либо из поперечных отверстий доски, а в другом установлен с возможностью поворота вокруг своей оси и осевого перемещения волокодержатель, имеющий паз, предназначенный для неподвижной установки волоки соосно первому отверстию обоймы и соответственно одному из поперечных отверстий доски. 2 ил.
Изобретение относится к области металлургии и предназначено для использования при волочении прутков, труб и профилей на станах линейного типа, включая многониточные.
Известно, что кривизна, приобретаемая изделием в процессе волочения, зависит от установки инструмента. Очевидно, правильной следует считать установку, обеспечивающую соосность рабочих поверхностей инструмента с осью волочения. Кроме снижения кривизны изделия, такая установка обеспечивает равномерный износ рабочей поверхности волок. В результате увеличивается стойкость волок и повышается качество изделий за счет уменьшения количества задиров поверхности и повышения точности их размеров.
Известны устройства, в которых с целью обеспечения соосности рабочих поверхностей инструмента с осью волочения имеется возможность изменять положение инструмента относительно оси волочения, например волокодержатели с регулируемыми сферическими обоймами для совмещения оси волоки и захватных приспособлений тележки и самоцентрируемые устройства с шаровыми обоймами (З.И.Перциков. Оборудование для волочения труб. – М.: Металлургия, 1977, с. 29-31).
Выбор конструкции этих устройств основывается на предположении, что ось волочения (ось канала волоки) и ось симметрии наружной поверхности волоки совпадают. Однако технология изготовления инструмента и условия его эксплуатации, в частности при износе волоки и ее перешлифовке, не гарантируют совпадения этих осей. Повороты волоки при настройке вышеназванных устройств позволяют совместить с осью волочения ось наружной поверхности волоки, являющейся базовой. Ось канала волоки, в общем случае, перекрещивается с осью симметрии наружной поверхности волоки и в большинстве известных устройств может быть установлена только параллельно оси волочения при несовпадении оси канала волоки и оси симметрии наружной поверхности волоки. Например, автоматическое устройство, описанное в патенте RU 21444427, В21С 1/00, 3/12, 1998 г., позволяет поворачивать волоку относительно четырех осей. Отклонение от оси волочения в данном устройстве компенсируется автоматически. Однако данное устройство не предусматривает возможность линейного смещения волоки перпендикулярно оси волочения и не позволяет исключить возникновение поворачивающего момента из-за несовпадения центра тяжести подвижных частей и центра приложения сил, возникающего при волочении.
Известно устройство (авт. св. СССР № 238504, опубл. 10.03.69), выполненное в виде двух установленных одна в другой рамок, оси поворота которых пересекаются с осью волочения, обе рамки снабжены индивидуальными приводами, причем наружная рамка установлена на ползуне, направляющая которого выполнена, в свою очередь, в виде ползуна, подвижного в вертикальной плоскости, перпендикулярно к плоскости перемещения первого ползуна. Устройство обеспечивает возможность проводить независимую настройку четырех параметров – поворачивать волоку относительно двух взаимоперпендикулярных осей и линейно перемещать волоку по двум взаимно перпендикулярным относительно оси волочения направлениям. Устройство позволяет компенсировать несовершенство формы волоки и неоднородность поперечного сечения протягиваемого изделия, например при волочении профиля. Контроль правильности настройки данного устройства ведется по степени остаточной кривизны.
Недостатками этого устройства являются сложность и большие габариты, которые не позволяют установить устройство в доску, например, трехниточного волочильного стана линейного типа. Недостатком является и несимметричность действия тягового усилия на опорные поверхности устройства.
Наиболее близким к заявляемому является устройство для установки волочильного инструмента (патент РФ № 2040353, опубл. 25.07.95), включающее доску со сферической внутренней поверхностью и размещенную в ней обойму, имеющую наружную контактную сферическую поверхность и несущую волоку, причем в доске и обойме выполнены радиальные пазы, в которых закреплены выступающие пальцы, оси которых проходят через общий центр шаровых поверхностей, причем под выступающую часть пальца, закрепленного в доске, выполнен сквозной свободный паз в обойме, а под выступающую часть пальца, закрепленного в обойме, выполнен сквозной свободный паз в доске.
Это устройство позволяет осуществлять независимый поворот вокруг каждой из двух взаимно перпендикулярных осей, проходящих через центр сферы в плоскости, перпендикулярной оси волочения. Но для совмещения оси канала волоки с осью волочения, волокодержатель должен иметь возможность не только поворота, но и смещения в поперечных к оси волочения направлениях. Такое смещение в данном устройстве возможно только совместно с доской, что при многониточном волочении не позволяет его использовать для точной настройки стана. Таким образом, сфера применения описываемого устройства ограничена однониточными станами. При многониточном волочении требуется индивидуальный для каждой нити не только поворот волоки, но и ее параллельный перенос, что не может быть обеспечено перемещением по горизонтали и вертикали волочильной доски. В лучшем случае может быть настроена только одна нитка. Но и это является проблематичным, поскольку штатная регулировка волочильной доски в пазах предназначена не для текущих настроек, а для установки доски при монтаже или при капитальном ремонте стана.
Задачей изобретения является обеспечение точности настройки волочильного инструмента, в том числе на многониточных волочильных станах линейного типа при одновременной простоте конструкции. Технический результат – индивидуальное совмещение оси канала волоки с осью волочения на каждой нитке многониточного стана.
Для достижения этого технического результата в устройстве для установки волочильного инструмента, содержащем доску с обоймой, несущей волоку с возможностью поворота последней относительно двух взаимно перпендикулярных осей, в доске выполнено одно сквозное продольное цилиндрическое отверстие и несколько перпендикулярных ему поперечных сквозных цилиндрических отверстий в количестве, равном числу нитей волочения, в продольном отверстии размещено с возможностью поворота вокруг своей оси и осевого перемещения такое же количество цилиндрических обойм, в каждой из которых выполнено два взаимно перпендикулярных сквозных цилиндрических отверстия, причем одно из них расположено соосно какому-либо из поперечных отверстий доски, а в другом установлен с возможностью поворота вокруг своей оси и осевого перемещения волокодержатель, имеющий паз, предназначенный для неподвижной установки волоки соосно первому отверстию обоймы и соответственно одному из поперечных отверстий доски.
Возможность продольного перемещения и поворота каждой из обойм и волокодержателей позволяет волокодержателю каждой нитки перемещаться относительно доски с обеспечением индивидуального совмещения оси канала волоки с осью волочения на каждой нитке многониточного стана, чем и достигается высокая точность настройки.
Заявляемое изобретение иллюстрируется чертежами, представленными на фиг.1 и фиг.2.
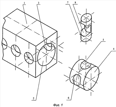
На фиг.1 показана изометрическая проекция устройства для настройки волочильного инструмента устройства трехниточного стана, представленного, для наглядности, в разобранном состоянии.
На фиг.2 – схема настройки отдельной нитки по одной из двух плоскостей регулировки.
Устройство для установки волочильного инструмента (фиг.1) содержит доску 1, в которой имеется одно продольное отверстие 2 и три перпендикулярных ему поперечных отверстия 3. В отверстии 2 размещены с возможностью вращательного и осевого перемещения три обоймы 4 (на фиг.1, с целью упрощения, показана одна из трех обойм), каждая из которых имеет два сквозных взаимоперпендикулярных отверстия 5 и 6, оси которых расположены в плоскости, перпендикулярной оси обоймы. Каждую из обойм 4 размещают в доске 1 таким образом, чтобы отверстие 5 было расположено соосно одному из поперечных отверстий 3 доски 1. В отверстие 6 предварительно установлен с возможностью осевого и вращательного перемещения волокодержатель 7, в котором выполнен паз 8 для неподвижной установки волоки (не показана). Ось паза 8 перпендикулярна оси волокодержателя 7. После сборки паз 8 и отверстие 5 оказываются расположенными против отверстия 3 доски 1. Обрабатываемая деталь (труба, пруток, профиль) подается через отверстие 3.
На фиг.2 показаны проекции базовых осей на одну из двух плоскостей регулировки нитки и приведена схема настройки в этой плоскости. Для определенности плоскость регулировки нити принята вертикальной и содержащей ось волочения нитки. Ось волокодержателя 7 нитки может не находиться на рассматриваемой вертикальной плоскости, но в пределах точности изготовления ей параллельна, и поэтому проектируется на нее без изменения масштаба, пересекая ось волочения нитки в т. О. Конструкция по фиг.1 позволяет осуществлять параллельный перенос оси волокодержателя 7 совместно с обоймой 4 в направлении оси последней пересекающей ось волочения нитки под прямым углом в горизонтальной плоскости. В рассматриваемой плоскости настройки этот перенос не отображается, т.е. проекция оси волокодержателя 7 при осевом перемещении обоймы 4 не меняет своего положения и масштаба длины.
От вертикали ось волокодержателя 7 показана отклоненной на угол . Изменение этого угла является одной из регулировок в данной плоскости. Ось паза 8 волокодержателя 7, как показано на фиг.2, составляет прямой угол с осью волокодержателя 7, что гарантируется в пределах точности изготовления. Угол может изменяться, как указывалось выше, поворотом волокодержателя 7 совместно с обоймой 4 вокруг оси последней, проектирующейся в т. О. Эта проекция свидетельствует о перпендикулярности оси обоймы 4 к оси волочения нитки, что также гарантируется изготовлением. Из четырех параметров настройки (два поворота и два осевых смещения) в рассматриваемой плоскости производится два: поворот обоймы 4 вокруг собственной оси (т. О) и смещение волокодержателя 7 вдоль своей оси. Остальные два параметра регулировки (поворот волокодержателя 7 вокруг собственной оси и смещение вдоль собственной оси обоймы 4) требует для рассмотрения вторую плоскость настройки, горизонтальную, т.е. содержащую ось волочения ниток и ось обоймы 4. Эта плоскость для всех ниток общая. Т.к. ход настройки в этой плоскости ничем не отличается от хода нижеописанной настройки в вертикальной плоскости нитки, то его из рассмотрения исключаем.
Главной из осей, участвующих в настройке по рассматриваемой плоскости, является, очевидно, ось канала волоки. В известных устройствах эта ось полагается совпадающей с осью паза 8. Для наглядности описания, на фиг.2, ось канала волоки отклонена от оси волочения нарочито утрированно, и, называя ее проекцией (см. проекция оси канала волоки), подчеркиваем несовпадение ее с плоскостью настройки. Наклон проекции оси канала волоки к оси волочения нитки обозначен как угол . Точка пересечения проекции оси канала волоки с осью волочения нитки обозначена как т. А и не совпадает с центром поворота при настройке (т. О). Не проходит она и через точку пересечения оси паза 8 с осью волокодержателя 7 (т. К). Точки пересечения ее с той и другой осями на фиг.2 не обозначены, но выделены. Точку О принимаем за начало координат, а ось волочения нитки и вертикаль, проходящую через т. О, – за оси координат. Если снабдить устройство шкалами для отсчета перемещений (в данной плоскости это, повторяем, поворот обоймы 4 и осевое перемещение волокодержателя 3), то для случая по фиг.2 на них прочтутся числовые значения угла и длины ОК. Выставление нулей по шкалам, очевидно, ставит на ось волочения нитки ось волокодержателя 7. Естественно, это совмещение осей гарантируется технологией изготовления и, следовательно, соблюдается лишь в пределах точности последнего.
Устройство работает следующим образом. Путем измерения находим угол между проекцией оси канала волоки и осью волочения нитки. Поворачиваем против часовой стрелки обойму 4 вокруг собственной оси, проектирующейся, как указывалось выше, в т. О. Вместе с обоймой 4 поворачивается находящийся в ее отверстии 5 волокодержатель 7 (фиг.1). На схеме, по фиг.2, это обозначено как переход т. Р, являющейся основанием перпендикуляра, опущенного из т. О на проекцию оси канала волоки, в т. Р’, лежащую на вертикали через т. О. После перехода представленные оси занимают следующие положения: проекция оси канала волоки параллельна сохранившей свое положение оси волочения нитки, ось волокодержателя 7 приобретает угол + с сохранившей свое положение вертикалью через т. О, ось паза 7 повернута как одно целое с осью волокодержателя 7, точка пересечения ее с последней, т. К, перешла в т. К’. Измеряем сумму + и длину ОР=ОР’.
Опускаем волокодержатель 7 с волокой в отверстии 5 обоймы 4 на величину
P’P”=OP/cos( + ).
Т. Р’ перемещается на ось волочения в т. Р” нитки, проекция оси канала волоки совмещается с осью волочения нитки, характеризующая положение оси паза 8 волокодержателя 7 т. К’ переходит в т. К”.
Аналогичные действия производят в другой плоскости регулировки, общей, как указывалось выше, для всех ниток. При этом будут задействованы оставшиеся два управляющих воздействия: поворот вокруг собственной оси волокодержателя 7 и смещение вдоль оси обоймы 4.
Также необходимо поступить со второй и третьей нитками. Количество ниток принципиального значения не имеет.
Порядок настройки отдельной нитки может быть изменен, а именно: сначала перемещают вниз волокодержатель 7 на величину ОР/cos( + ) (переход РР'”), затем поворотом обоймы 4 против часовой стрелки совершают переход Р'”Р”. Предварительно измерением должен быть найден угол . Конечный результат, очевидно, не меняется.
Совмещение проекции оси канала волоки с осью волочения нитки в плоскости чертежа по фиг.2 не привело к совмещению с осью волочения нитки проекции оси паза 8 волокодержателя 7. Напротив, при «идеальном» изготовлении деталей устройства (ось обоймы 4, как выше отмечено, проектируется в т. О, т.е. строго перпендикулярна оси волочения нитки, проекция оси волокодержателя 7 в плоскости чертежа фиг.2 не меняет масштаба длины и проходит через ту же т. О, проекция оси паза 8 находится также без изменения масштаба в плоскости чертежа фиг.2 и пересекает ось волокодержателя 7 в т. К) проекция оси паза 8 волокодержателя 7 после регулировки оказывается наклоненной под углом + к оси волочения нитки. При этом т. К последовательно переходит в тт. К’, К” при первом варианте настройки. Очевидно, второй вариант изменит переход т. К в т. К”, но на фиг.2 его не обозначаем. После осевой подвижки обоймы 4 при регулировке во второй плоскости настройки, очевидно, проекция оси паза 8 волокодержателя 7 своего положения на рассматриваемой плоскости не меняет, хотя сама ось паза 8 перемещается, оставаясь параллельной плоскости чертежа по фиг.2.
Таким образом, в отличие от известных устройств, нацеленных на установку на ось волочения посадочного места под инструмент (паза 8), заявляемое устройство на ось волочения устанавливает инструмент путем смещения с оси волочения посадочного места (паза 8).
К дополнительному техническому результату заявляемого устройства следует отнести возможность снижения требований к точности изготовления деталей. Точность расчета снизится в том случае, если формулы не смогут быть трансформированы с учетом допущенных погрешностей. Но это, в принципе, не исключает возможности идеально настроиться.
Механизмы для осуществления регулировочных перемещений могут быть стандартными. То же касается фиксации, необходимой по окончании настройки.
Возможны и отличные варианты исполнения. Например, непрямой угол между осями волокодержателя 7 и обоймы 4. Или, не пересечение, а перекрещивание их осей.
Габариты волокодержателя 7 и обоймы 4 могут быть существенно снижены изменением формы этих деталей.
Заявляемое изобретение позволяет компенсировать индивидуальные отклонения параметров волоки и опорных поверхностей от идеальных (несовпадение осей) при многониточном волочении, что обеспечивает высокую точность настройки, при этом также достигается симметричность действия тягового усилия на опорные поверхности при нагружении.
Простота конструкции открывает широкие возможности для механизации настройки и авторегулирования процесса волочения. В известных устройствах возможна лишь минимизация ущерба, в то время как предлагаемое устройство позволяет его исключить полностью.
Формула изобретения
Устройство для установки волочильного инструмента, содержащее доску с обоймой, несущей волоку с возможностью поворота последней относительно двух взаимно перпендикулярных осей, отличающееся тем, что в доске выполнено одно сквозное продольное цилиндрическое отверстие и несколько перпендикулярных ему поперечных сквозных цилиндрических отверстий в количестве, равном числу нитей волочения, в продольном отверстии размещено с возможностью поворота вокруг своей оси и осевого перемещения такое же количество цилиндрических обойм, в каждой из которых выполнено два взаимно перпендикулярных сквозных цилиндрических отверстия, одно из которых – первое расположено соосно какому-либо из поперечных отверстий доски, а в другом установлен с возможностью поворота вокруг своей оси и осевого перемещения волокодержатель, имеющий паз для неподвижной установки волоки соосно первому отверстию обоймы и соответственно одному из поперечных отверстий доски.
РИСУНКИ
|
|