|
|
(21), (22) Заявка: 2007129292/11, 30.07.2007
(24) Дата начала отсчета срока действия патента:
30.07.2007
(46) Опубликовано: 27.03.2009
(56) Список документов, цитированных в отчете о поиске:
RU 2036022 C1, 27.05.1995. WO 9324242 A1, 09.12.1993. WO 9406572 A1, 31.03.1994. JP 2000303159 A, 31.10.2000. US 6569242 B2, 27.05.2003. JP 2005002449 A, 06.01.2005. US 6886757 B2, 03.05.2005. JP 2004225101 A, 12.08.2004.
Адрес для переписки:
350072, г.Краснодар, ул. Московская, 2, ГОУВПО “КубГТУ”, ОИ и промышленной собственности и экспертизы проектов, проректору по НиИД, проф. В.С. Симанкову
|
(72) Автор(ы):
Мелехин Леонид Федорович (RU), Люханов Андрей Валерьевич (RU), Филатов Михаил Анатольевич (RU)
(73) Патентообладатель(и):
Государственное образовательное учреждение высшего профессионального образования “Кубанский государственный технологический университет” (ГОУВПО “КубГТУ”) (RU)
|
(54) УСТРОЙСТВО ДЛЯ ДЕТОНАЦИОННОГО НАПЫЛЕНИЯ ВНУТРЕННИХ ПОВЕРХНОСТЕЙ ДЕТАЛЕЙ
(57) Реферат:
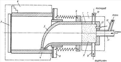
Устройство включает детонационную пушку, дозаторы порошка и горючих газов, систему зажигания. Защитная камера образуется напыляемой деталью (4) и двумя крышками (5, 6), одна из которых установлена на стволе (1) пушки и снабжена упругим элементом. Пушка установлена на механизме горизонтального перемещения (7). Пушка состоит из ствола, камеры сгорания (2) и разгонной части (3). Разгонная часть образована изгибом конца ствола по радиусу до прямого угла с конусным сужением в конце при соотношении диаметров от 1/3 до 1/4. Ствол и разгонная часть детонационной пушки расположены внутри напыляемой детали. Деталь приводится во вращение механизмом (8). Обеспечивается возможность детонационного напыления внутренних поверхностей деталей для повышения их износостойкости. 1 з.п. ф-лы, 1 ил.
Изобретение относится к устройствам в области напыления покрытий детонационным способом и может быть использовано для упрочнения внутренних поверхностей деталей, работающих в условиях повышенного коррозионного, эрозионного и абразивного воздействия в различных отраслях машиностроения и ремонта машин, например, при восстановлении гильз двигателей внутреннего сгорания.
По патенту RU № 2106915 предложен способ детонационного нанесения покрытий и устройство для его осуществления, включающий предварительную подготовку поверхности, напыление в защитной камере и последующую механическую обработку с напылением дискретно-локальными участками наружных поверхностей с использованием передвижной защитной камеры. По патенту нельзя производить напыление внутренних поверхностей типа зеркала гильз двигателей внутреннего сгорания.
В патенте RU №2140334 заявлен способ и устройство для детонационного напыления при заполнении ствола смесью горючих газов и взрыва их для выброса на наружную поверхность изделия при разогревании порошка в разрядной камере и направлении его в разгонный участок с малой скоростью. Устройство имеет несколько стволов, расположенных по образующей конуса. В этом устройстве невозможно напыление внутренних поверхностей деталей типа гильз двигателей внутреннего сгорания.
В патенте RU №2150337 на способ детонационного напыления поверхностей деталей приведено описание напыления наружных поверхностей взрывной волной при подаче порошка с помощью металла в газообразном состоянии, что обеспечивает повышение производительности и качества поверхности. Устройство показано в виде пушки с прямолинейным стволом, что не позволяет наносить покрытия на внутренние поверхности деталей машин, например гильз двигателей внутреннего сгорания.
Задача напыления внутренних поверхностей не решена.Таких деталей в машиностроении много, и надо решать вопрос о напылении внутренних поверхностей деталей детонационным способом с целью повышения износостойкости поверхностей типа зеркала гильз двигателей внутреннего сгорания.
Поставленная задача решается в предлагаемом устройстве, включающем детонационную пушку, дозаторы порошка и горючих газов с системой зажигания и защитную камеру, образованную напыляемой деталью и двумя крышками. Сама пушка установлена на механизме горизонтального перемещения, а деталь вращается механизмом вращения. Ствол пушки с разгонной частью расположены внутри напыляемой детали. Соотношение диаметров конуса разгонной части составляет от 1/3 до 1/4.
На чертеже показано устройство для напыления внутренних поверхностей. Ствол 1 пушки, имеющий камеру сгорания 2 и разгонную часть 3, входит внутрь напыляемой детали 4, которая с крышками 5 и 6 образуют закрытую зону напыления. Крышка 6 установлена на стволе 1 и имеет упругий элемент. Сама пушка установлена на механизме горизонтального перемещения 7, а деталь 4 приводится во вращение механизмом 8. Для подвода ацетилена имеется патрубок 9, для кислорода – патрубок 10, для смеси порошка – патрубок 11, для подвода азота – патрубок 12. Смесь воспламеняется искрой через свечу 13.
После нанесения каждой дозы порошка ствол пушки продувается азотом для удаления продуктов сгорания. Этот процесс повторяется автоматически с частотой 3-4 Гц. Крышка 6 подводится к торцу детали и упруго поджимается к нему. Деталь вращается, а ствол совершает возвратно-поступательные перемещения относительно обрабатываемой поверхности, осуществляя напыление внутренней поверхности.
Пример. В лаборатории КубГТУ проводится напыление внутренней поверхности гильзы цилиндров двигателя автомобиля КАМАЗ – 740-10020021. Для установки использован токарный станок, шпиндель которого применяется для вращения детали 4, а в качестве механизма горизонтального перемещения 7 использован суппорт станка. Через патрубок 9 подается ацетилен, через патрубок 10 подается кислород в определенном соотношении. Через патрубок 11 впрыскивается напыляемый металл. Через патрубок 12 подается азот. Газовая смесь поджигается с помощью электрической искры свечой 13. Взрыв сообщает образующейся смеси в камере сгорания высокую скорость по стволу 1, конец которого изогнут по радиусу до прямого угла и имеет сужающийся канал 7 до выхода к поверхности напыления. Уменьшение живого сечения канала ствола значительно увеличивает скорость истечения напыляемой струи, что повышает адгезию с основным металлом.
Формула изобретения
1. Устройство для детонационного напыления внутренних поверхностей, включающее детонационную пушку, дозаторы порошка и горючих газов с системой зажигания и защитную камеру, образованную напыляемой деталью, приводимой во вращение механизмом вращения, и двумя крышками, одна из которых установлена на стволе пушки и снабжена упругим элементом, пушка установлена на механизме горизонтального перемещения и состоит из ствола, камеры сгорания и разгонной части, образованной изгибом ствола по радиусу до прямого угла с конусным сужением в конце, причем ствол и разгонная часть детонационной пушки расположены внутри напыляемой детали.
2. Устройство по п.1, отличающееся тем, что соотношение диаметров конуса разгонной части составляет от 1/3 до 1/4.
РИСУНКИ
|
|