|
|
(21), (22) Заявка: 2006141301/12, 23.11.2006
(24) Дата начала отсчета срока действия патента:
23.11.2006
(43) Дата публикации заявки: 27.05.2008
(46) Опубликовано: 27.03.2009
(56) Список документов, цитированных в отчете о поиске:
RU 2201806 С2, 10.11.2002. SU 1831375 A3, 30.07.1993. GB 191004961 А, 25.08.1910. GB 2311022 А, 17.09.1997.
Адрес для переписки:
182100, Псковская обл., г. Великие Луки, пл. Ленина, 1, ФГОУ ВПО ВГСХА
|
(72) Автор(ы):
Гусейнов Руслан Григорьевич (RU), Макарова Галина Васильевна (RU), Шилин Владимир Александрович (RU), Ипатов Алексей Николаевич (RU)
(73) Патентообладатель(и):
Федеральное Государственное Образовательное Учреждение Профессионального Образования “Великолукская государственная сельскохозяйственная академия” (RU)
|
(54) ЦЕНТРОБЕЖНЫЙ СЕПАРАТОР С БЕЗРЕДУКТОРНЫМ ПРИВОДОМ
(57) Реферат:
Изобретение относится к оборудованию для разделения суспензий и эмульсий на фракции и может быть использовано в сельском хозяйстве и пищевой промышленности. Центробежный сепаратор для разделения молока на фракции включает емкость для молока, разделительный барабан и его привод. При этом приводной вал разделительного барабана и вал турбины выполнен в виде единого целого, причем турбина размещена в отдельной изолированной от разделительного барабана камере и получает вращение от отработанных газовоздушных смесей. Для регулирования частоты вращения турбины у ее впускного сопла имеется перепускное устройство, отводящее часть газов от турбины. Конструктивные особенности заявленного изобретения позволяют упростить конструкцию, повысить надежность, снизить энергоемкость и возможность использования сепаратора в условиях малого фермерского хозяйства. 1 ил.
Изобретение по кл. 7 В04В 1/08, 9/06 относится к оборудованию для разделения суспензий и эмульсий на фракции и может быть использовано в сельском хозяйстве и пищевой промышленности. Центробежный сепаратор включает в себя емкость для молока, разделительный барабан и его привод. Последний состоит из типовой газовой турбины системы турбонаддува дизелей. Энергия выхлопных газов поступает от выхлопного коллектора двигателя в сопло турбины и создает крутящий момент на ее лопастях. Вал турбины посредством соединительной муфты напрямую соединен с валом сепаратора, благодаря чему турбина передает вращение разделительному барабану без каких-либо посреднических передач. Частота оборотов турбины варьируется от 40 до 65 тыс. мин-1. Поэтому для регулировки частоты вращения и ее приближению к нужной (около 10 тыс. мин-1) используется регулятор – это простое устройство, размещенное у впускного сопла турбины и отводящее часть газов от него, тем самым снижая напор газов на лопатки турбины и снижая частоту вращения. Входная и выходная часть сопла турбины находится в нижней его части на значительном расстояние от емкости для молока, что никоим образом не мешает процессу сепарации. Сепаратор имеет достаточно простую конструкцию и обеспечивает снижение энергозатрат.
Сущность изобретения заключается в следующем.
Изобретение относится к устройствам для разделения суспензий на фракции в поле центробежных сил и может быть использовано в сельском хозяйстве и пищевой промышленности.
Известен центробежный сепаратор для разделения жидкости на легкую и тяжелую фракции (патент RU 2201806, В04В 1/08, 9/06), включающий в себя емкость для молока, разделительный барабан и его привод.
Работает сепаратор следующим образом.
Жидкость при помощи трубопровода подается под давлением в полую ось снизу, из нее через отверстие подается в полость барабана. Устройство для отвода сливок, в свою очередь, содержит полую ось с поперечной перегородкой и радиальные отверстия, а также участок полой оси выше поперечной перегородки для дальнейшего перемещения сливок. Устройство для отвода обрата должно быть выполнено в виде трубок, расположенных в зоне его накопления на периферии барабана.
Привод сепаратора включает в себя укрепленные на основании барабана в зоне, наиболее удаленной от его оси вращения, трубки с соплами. Сопла расположены снаружи основания под углом 90° в горизонтальной плоскости.
При осуществлении процесса разделения молоко под давлением через трубопровод поступает в полую ось, откуда через отверстия перемещается в сепарационное пространство барабана через полости тарелкодержателя. При заполнении барабана часть молока поступает в трубки и выбрасывается через сопла, расположенные снаружи основания барабана под углом 90° в горизонтальной плоскости, и создает реактивную силу для его вращения. Эта часть молока через отводной патрубок подается в резервуар, где перемешивается и вновь поступает на переработку в барабан сепаратора в уже установившемся режиме разделения. Оставшаяся часть молока заполняет внутреннюю полость барабана и при достижении достаточного давления барабан приобретает рабочее число оборотов. Для разделения жидкости на тонкие слои и достижения более высокого эффекта разделения в барабане сепаратора установлены конические тарелки, набранные на полом тарелкодержателе. При достижении барабаном рабочей части вращения молоко находится в поле действия центробежных сил. Под действием центробежных сил происходит разделение молока на фракции. При этом более легкая составляющая – сливки – оттесняется к центру вращения барабана и через отверстия полой оси в верхней ее части после поперечной перегородки отводится через канал полой оси из барабана сепаратора. Более тяжелая составляющая – обрат – скапливается на периферии барабана в зоне расположения трубок с соплами и в установившемся режиме разделения через сопла сбрасывается в подколпаковое пространство сепаратора и через патрубок самотеком направляется в резервуар.
Задача изобретения заключается в создании сепаратора для разделения молока на фракции, который был бы надежен в работе, имел простую конструкцию, малую энергоемкость и возможность использования в условиях малого фермерского хозяйства.
Технический результат – упрощение конструкции, повышение надежности, снижение энергоемкости и возможность использования сепаратора в условиях малого фермерского хозяйства.
Указанный технический результат достигается тем, что в известном устройстве для вращения барабана используется гидропривод.
В предлагаемом устройстве указанный технический результат достигается тем, что центробежный сепаратор для разделения молока на фракции включает емкость для молока, разделительный барабан и его привод, согласно изобретению приводной вал разделительного барабана и вал турбины выполнен в виде единого целого, причем турбина размещена в отдельной изолированной от разделительного барабана камере и получает вращение от отработанных газовоздушных смесей, при этом для регулирования частоты вращения турбины у ее впускного сопла имеется перепускное устройство, отводящее часть газов от турбины.
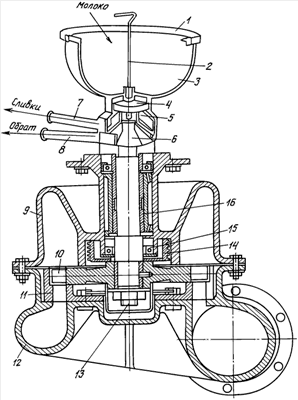
Изобретение поясняется чертежом, на котором схематично представлен предлагаемый сепаратор и система его привода.
Центробежный сепаратор для разделения молока на фракции состоит из отражателя 1, крана 2, приемника молока 3, поплавка 4, находящегося в поплавковой камере 5, барабана сепаратора 6, имеющего устройство, как и у других разделительных барабанов, приемника сливок 7 и приемника обрата 8.
Приводом сепаратора является газовая турбина от системы турбонаддува дизелей, она состоит из корпуса газосборника 9, диска турбины 10, соплового венца 11, вала турбонагнетателя 13, газового лабиринта 14, масляного уплотнителя 15 и подшипника скольжения 16, все это размещено внутри корпуса турбины 12. При работе турбина получает вращающий момент от энергии раскаленных газов. От дисков турбины 10 вращающий момент передается валу турбонагнетателя 13, который посредством муфты соединен с валом сепаратора вращающего барабана. Таким образом, вращение передается валу сепаратора прямо от привода без редуктора.
Конструктивно барабан 6 не имеет ни каких отличий от барабана других центробежных сепараторов.
Устройство для отвода сливок 7, в свою очередь, также является типовым, таким же как и у других сепараторов с ручным приводом и, вообще, сепараторов открытого типа.
Устройство для отвода обрата также имеет аналогичную конструкцию.
Сепаратор работает следующим образом. При осуществлении процесса разделения молоко подается в емкость приемника молока 3, откуда через кран 2 поступает в полую ось, а затем в поплавковую камеру 5, откуда оно перемещается в сепарационное пространство барабана 6, при заполнении барабана 6 молоко в поле действия центробежных сил барабана разделяется на фракции (обрат и сливки).
При этом более легкая составляющая – сливки – оттесняется в верхнюю часть барабана и отводится через канал для отвода сливок 7. Более тяжелая составляющая – обрат – скапливается на периферии барабана и отводится в приемник обрата 8.
Формула изобретения
Центробежный сепаратор для разделения молока на фракции, включающий емкость для молока, разделительный барабан и его привод, отличающийся тем, что приводной вал разделительного барабана и вал турбины выполнены в виде единого целого, причем турбина размещена в отдельной изолированной от разделительного барабана камере и получает вращение от отработанных газовоздушных смесей, при этом для регулирования частоты вращения турбины у ее впускного сопла имеется перепускное устройство, отводящее часть газов от турбины.
РИСУНКИ
|
|