|
|
(21), (22) Заявка: 2006115526/12, 05.05.2006
(24) Дата начала отсчета срока действия патента:
05.05.2006
(43) Дата публикации заявки: 27.11.2007
(46) Опубликовано: 27.03.2009
(56) Список документов, цитированных в отчете о поиске:
RU 2195370 С2, 27.12.2002. SU 1738370 А1, 07.06.1992. RU 2262989 С2, 27.03.2005. GB 444543 А, 23.03.1936.
Адрес для переписки:
188802, Ленинградская обл., г. Выборг, ул. Б. Гвардейская, 3, кв.11, В.А. Старокожеву
|
(72) Автор(ы):
Старокожев Виктор Алексеевич (RU)
(73) Патентообладатель(и):
Старокожев Виктор Алексеевич (RU)
|
(54) СЕПАРАТОР ДЛЯ РАЗДЕЛЕНИЯ ЭМУЛЬСИЙ
(57) Реферат:
Изобретение относится к оборудованию для разделения эмульсий на фракции в поле центробежной силы и может быть использовано в пищевой и других отраслях промышленности. Сепаратор включает барабан, содержащий основание и крышку, пакет конических тарелок, тарелкодержатель с корпусом опорным конусом и крышкой, камеры предварительной сепарации эмульсии, образованные вертикальными перегородками, расположенные между ними приемные зоны легкой фракции с каналами, отводящими легкую фракцию, выделенную в пакете тарелок, в зону вывода легкой фракции, выделенной в камерах предварительной сепарации, устройстве для предотвращения попадания воздуха в камеры предварительной сепарации, напорные камеры легкой и тяжелой фракций с напорными дисками и питающую трубу. Опорный конус тарелкодержателя снабжен дополнительным защитным конусом, отражающим поток эмульсии, а днища каналов, отводящих легкую фракцию из приемных зон, жестко заподлицо связаны с дополнительным защитным конусом и имеют обтекаемую форму. Изобретение обеспечивает увеличение производительности сепаратора за счет снижения турбулизации эмульсии в камерах предварительной сепарации, ликвидации подсоса недостаточно просепарированной эмульсии с крупными включениями в нижние межтарелочные зазоры и более равномерную загрузку пакета тарелок. 2 ил.
Изобретение относится к оборудованию для разделения эмульсий на фракции в поле центробежной силы и может использоваться в пищевой и других отраслях промышленности.
Ближайшим техническим решением предлагаемому является сепаратор для разделения эмульсий, преимущественно молока, включающий установленный на вертикальном валу барабан, содержащий основание и крышку, пакет конических тарелок, тарелкодержатель с корпусом, опорным конусом и крышкой, камеры предварительной сепарации, расположенные между ними приемные зоны легкой фракции, напорные камеры легкой и тяжелой фракций с напорными дисками и трубой, подающей эмульсию в барабан, устройство для предотвращения проникновения воздуха в камеры предварительной сепарации каналы, сообщающие приемные зоны легкой фракции, выделенной в пакете конических тарелок, с зонами вывода легкой фракции, выделенной в камерах предварительной сепарации (RU 2262989, В04B).
Недостатком этого сепаратора является наличие зон турбулизации эмульсии вокруг наклонных днищь приемных зон, а так же подсос крупных частиц осадка и легкой фракции с недостаточно просепарированной эмульсией в нижние межтарелочные зазоры, что снижает эффективность сепарирования.
Технический результат изобретения заключается в повышении производительности сепаратора.
Для достижения этого результата в предлагаемом сепараторе для разделения эмульсий, преимущественно молока, включающем барабан, содержащий основание и крышку, пакет конических тарелок, тарелкодержатель с корпусом, опорным конусом и крышкой, скрепленных жестко вертикальными перегородками, камеры предварительной сепарации эмульсии, расположенные между ними приемные зоны легкой фракции, сообщенные каналами с зонами вывода легкой фракции, выделенной в камерах предварительной сепарации, опорный конус тарелкодержателя в верхней части снабжен дополнительным защитным конусом, одновременно выполняющим функцию наклонных днищ приемных зон, причем опорный конус, дополнительный защитный конус и днища каналов, сообщающих приемные зоны с зонами вывода легкой фракции из камер предварительной сепарации выполнены заподлицо и эти днища каналов имеют обтекаемую форму.
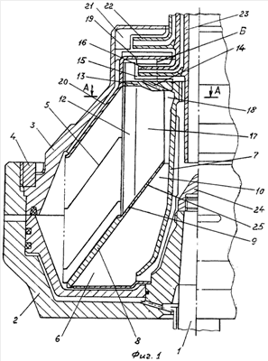
Изобретение поясняется чертежами, на фиг.1 показан продольный частичный разрез барабана сепаратора, на фиг.2 – разрез А-А на фиг.1.
Сепаратор включает установленный на вертикальном валу 1 барабан, содержащий основание 2, крышку 3, скрепленные гайкой 4, пакет конических тарелок 5, тарелкодержатель 6 с корпусом 7, опорным конусом 8 с дополнительным защитным конусом 9. Полость барабана между внутренней поверхностью пакета конических тарелок и корпусом тарелкодержателя разделена жестко связанными с ним радиальными вертикальными перегородками 10, для размещения которых в дополнительном защитном конусе выполнены пазы (возможен вариант выполнения его из частей, жестко связанных с опорным конусом). Между перегородками 10 размещены камеры предварительной сепарации 11, между которыми расположены приемные зоны 12 для легкой фракции, поступающей из пакета тарелок. В верхней части тарелкодержатель снабжен крышкой 13 с каналами 14 для прохода легкой фракции в напорную камеру 15 диска 16. Стенки приемных зон 12 развиты в сторону корпуса тарелкодержателя, образуя каналы 17 для прохода легкой фракции из приемных зон в зону вывода легкой фракции из камер предварительной сепарации 18.
Сверх пакета конических тарелок установлена разделительная тарелка 19, образующая с крышкой 3 каналы 20 для прохода тяжелой фракции в напорную камеру 21 диска 22, а в осевой части барабана установлена питающая труба 23, по которой в барабан подается исходная эмульсия. Барабан закреплен на вертикальном валу 1 гайкой 24, днища каналов 17, 25 жестко заподлицо соединены с дополнительным защитным конусом и имеют обтекаемую форму для снижения турбулизации потока эмульсии. Дополнительный защитный конус одновременно выполняет функцию наклонных днищ приемных зон 12. Радиальные вертикальные перегородки, размещенные под приемными зонами укорочены, так как их функцию выполняют стенки каналов 17 и приемных зон, разделяя камеры предварительной сепарации вместе с другими вертикальными радиальными перегородками, развитыми по высоте до крышки тарелкодержателя. Вход каналов 14 в напорную камеру 15 находится в слое легкой фракции при работающем сепараторе, что предотвращает попадание воздуха в камеры предварительной сепарации. Работает сепаратор следующим образом. После набора рабочей частоты вращения барабаном, в него из питающей трубы 23 подается исходная эмульсия, например молоко, которое поступает в камеры предварительной сепарации, где из молока в центробежном поле выделяются жировые частицы и механические включения с частицами молочного белка, последние под действием центробежных сил направляются в шламовое пространство барабана, а жировые частицы в виде сливок, под действием центростремительного ускорения скапливаются у наружной поверхности корпуса тарелкодержателя и перемещаются вверх в зону вывода 16, куда поступают и сливки из приемных зон и каналов 17. Два потока сливок смешиваются, причем это смешивание продолжается в каналах 14 и напорной камере 15. Напорным диском 16 сливки выводятся под требуемым давлением и необходимой концентрацией из сепаратора. Регулировка производится с помощью внешних дросселей на отводящих патрубках сепаратора (не показаны).
Дополнительный защитный конус 9 под приемными зонами 12 выполняет роль отражателя потока эмульсии с значительным снижением ее турбулизации, ликвидирует подсос недостаточно просепарированной эмульсии в нижние межтарелочные пространства пакета конических тарелок, креме того, отражая поток молока к середине пакета тарелок, он способствует более равномерной загрузке межтарелочных пространств по высоте пакета, увеличивает путь и время нахождения молока в камерах предварительной сепарации, что, вцелом, повышает эффективность сепарации и производительность сепаратора.
Изобретение может использоваться в сепараторах открытого, полузакрытого и закрытого исполнения.
Формула изобретения
Сепаратор для разделения эмульсий, преимущественно молока, включающий барабан, содержащий основание и крышку, пакет конических тарелок, тарелкодержатель с корпусом, опорным конусом и крышкой, камеры предварительной сепарации эмульсии, образованные вертикальными перегородками, расположенные между ними приемные зоны легкой фракции с каналами, выводящими легкую фракцию из зон сепарирования, напорные камеры легкой и тяжелой фракций с напорными дисками и питающей трубой, отличающийся тем, что опорный конус тарелкодержателя снабжен дополнительным защитным конусом, отражающим поток эмульсии, к которому заподлицо жестко прикреплены днища отводящих легкую фракцию каналов, причем эти днища имеют обтекаемую форму.
РИСУНКИ
TZ4A – Поправки к описаниям изобретений
Часть описания, где обнаружена ошибка: Текст опис., страница 4, строки 13-15
Напечатано: …, а жировые частицы в виде сливок, …, скапливаются … и перемещаются вверх в зону вывода 16,…
Следует читать: …, а жировые частицы в виде сливок, …, скапливаются … и перемещаются вверх в зону вывода 18,…
Номер и год публикации бюллетеня: 9-2009
Извещение опубликовано: 27.06.2009 БИ: 18/2009
|
|