|
|
(21), (22) Заявка: 2007107059/03, 16.02.2007
(24) Дата начала отсчета срока действия патента:
16.02.2007
(43) Дата публикации заявки: 27.08.2008
(46) Опубликовано: 27.03.2009
(56) Список документов, цитированных в отчете о поиске:
US 4560113 A, 24.12.1985. RU 2159535 C1, 27.11.2000. SU 1719061 A1, 15.03.1992. RU 2029675 C1, 27.02.1995. RU 2259274 C1, 27.08.2005. SU 1375321 A1, 23.02.1988. DE 19945568 A1, 23.09.1999.
Адрес для переписки:
197022, Санкт-Петербург, Аптекарская наб., 20, лит. А, ООО “Новые Технологии”
|
(72) Автор(ы):
Игнатов Владимир Иванович (RU), Гурылев Александр Владимирович (BY)
(73) Патентообладатель(и):
ООО “Новые технологии” (RU)
|
(54) ЦЕНТРОБЕЖНАЯ УСТАНОВКА
(57) Реферат:
Изобретение относится к центробежным установкам с вертикальным валом вращения. Установка содержит загрузочное устройство, корпус с расположенным в нем разгонным ротором, отбойным устройством, вертикальным опорным узлом и разгрузочное устройство. Коаксиально разгонному ротору расположены отбойное устройство, выполненное в виде кольца, сплошного или составленного из отдельных элементов, и, по меньшей мере, один держатель, выполненный, по меньшей мере, с одним пазом. Отбойное устройство расположено в пазе держателя с зазором. Один торец отбойного устройства оперт на упор, а другой торец отбойного устройства поджат, по меньшей мере, одним упругим элементом, например пружиной, размещенным в пазе держателя между торцом отбойного устройства и дном паза держателя. Держатель с пазом и упор закреплены, по меньшей мере, на одной направляющей, сопряженной с пазом держателя. Изобретение увеличивает ремонтопригодность и надежность установки. 3 з.п. ф-лы, 1 ил.
Область техники
Изобретение относится к области машиностроения, а именно к центробежным установкам (ЦУ) с вертикальным валом вращения для осуществления технологических процессов, связанных с дроблением, измельчением и классификацией исходного материала.
Предшествующий уровень техники
Известна ЦУ (ударно-центробежная дробилка), содержащая загрузочное устройство, корпус, разгонный ротор, отбойное устройство (отбойные плиты), ступенчатый кронштейн, вертикальный опорный узел и двигатель (Патент США №4699326, кл. В02С 19/00, 1987). При этом отбойное устройство с отбойными плитами по мере износа может переставляться с помощью ступенчатого кронштейна по вертикали относительно разгонного ротора.
Недостатком указанной ЦУ является малый ресурс работы, вызванный необходимостью остановки ЦУ для переустановки отбойного устройства с отбойными плитами, кроме этого перестановка производится вручную, после разборки ЦУ.
Из известных ЦУ с перемещаемыми по вертикали отбойными плитами наиболее близким по совокупности существенных признаков и достигаемому техническому результату является ЦУ (ударно-центробежная дробилка), включающая загрузочное устройство, корпус, разгонный ротор, отбойное устройство (отбойные плиты), ступенчатые упоры для отбойных плит, вертикальный опорный узел и двигатель (Патент США №4560113, кл. В02С 23/00, 1985).
Недостатком указанной ЦУ (дробилки) является низкий ресурс работы, вызванный необходимостью остановки дробилки для перестановки отбойных плит, перестановка отбойных плит происходит после разборки ЦУ вручную.
Сущность изобретения
Задачей изобретения является создание ЦУ, обладающей высокой надежностью, увеличенным временем работы без замены отбойных пластин, за счет автоматической установки отбойных плит взамен изношенных без остановки и разборки ЦУ и обеспечение более полного использования материала плиты.
Указанный технический результат достигается тем, что ЦУ содержит загрузочное устройство, корпус с расположенным в нем разгонным ротором, отбойным устройством, вертикальным опорным узлом, и разгрузочное устройство, при этом согласно изобретению коаксиально разгонному ротору расположены отбойное устройство, выполненное в виде кольца, сплошного или составленного из отдельных элементов, и, по меньшей мере, один держатель, выполненный, по меньшей мере, с одним пазом, отбойное устройство расположено в пазе держателя с зазором, при этом один торец отбойного устройства оперт на упор, а другой торец отбойного устройства поджат, по меньшей мере, одним упругим элементом, например пружиной, размещенным в пазе держателя между торцом отбойного устройства и дном паза держателя, держатель с пазом и упор закреплены, по меньшей мере, на одной направляющей, сопряженной с пазом держателя.
Указанное конструктивное выполнение отбойного устройства и держателя и их взаимное расположение с наличием упругих элементов позволяет повысить производительность ЦУ за счет увеличения времени работы до замены отбойного устройства и снижения технологического времени на регламентное обслуживание установки.
Целесообразно, чтобы держатель с пазом и упор были выполнены в виде колец, сплошных или составленных из несвязанных между собой элементов. Выполнение держателя и упора в указанном конструктивном виде позволяет установить их коаксиально разгонному ротору, а выполнение держателя и упора из составных элементов упрощает изготовление и обслуживание установки.
Целесообразно, чтобы в дне паза держателя было выполнено, по меньшей мере, одно сквозное отверстие. Наличие отверстия (отверстий) в дне паза держателя обеспечивает высыпание измельчаемого материала из паза и предотвращает заклинивание отбойного устройства при его вертикальном перемещении внутри паза.
Целесообразно, чтобы отбойное устройство в радиальном направлении состояло из двух частей, изготовленных из материалов с разной износостойкостью, при этом к разгонному ротору обращена часть отбойной плиты, изготовленная из более износостойкого материала. Такое выполнение отбойного устройства позволяет увеличить работу установки без замены отбойного устройства или его составных элементов.
Проведенный анализ уровня техники показал, что заявленная совокупность существенных признаков, изложенная в формуле изобретения, неизвестна. Это позволяет сделать вывод о ее соответствии критерию “новизна”.
Для проверки соответствия заявленного изобретения критерию “изобретательский уровень” проведен дополнительный поиск известных технических решений с целью выявления признаков, совпадающих с отличительными от прототипа признаками заявленного технического решения. Установлено, что заявленное техническое решение не следует явным образом из известного уровня техники. Следовательно, заявленное изобретение соответствует критерию “изобретательский уровень”.
Сущность изобретения поясняется чертежом и описанием конструкции заявленной установки.
На чертеже представлен осевой разрез одного их возможных вариантов конструктивного выполнения ЦУ.
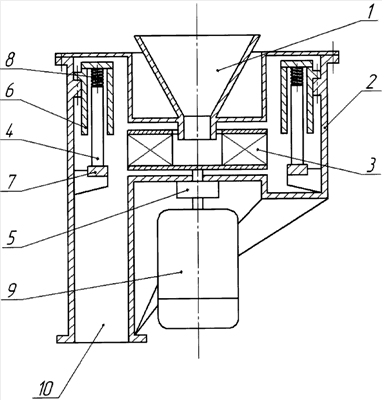
Указанный вариант ЦУ состоит из загрузочного устройства 1, корпуса 2, разгонного ротора 3, отбойного устройства 4 в виде кольца, вертикального опорного узла 5, например в виде подшипникового узла, держателя 6, упора для отбойного устройства 7, упругих элементов пружин 8, расположенных в пазах держателя над отбойным устройством, двигателя 9, отверстия 10 для удаления измельченного материала. Возможны и другие варианты конструктивного выполнения ЦУ, например с отбойным устройством, выполненным из отдельных элементов и из материалов, имеющих различную скорость износа, с нижним размещением упругих элементов и т.п.
Сведения, подтверждающие возможность осуществления изобретения
ЦУ работает следующим образом. Исходный материал (например, гранитный щебень) загружается через загрузочное устройство 1 в корпус 2, далее материал попадает в центр быстровращающегося ротора 3. Разгонный ротор 3 разгоняет материал до большой скорости. Материал вылетает из разгонного ротора и разрушается от удара об отбойное устройство 4. Измельченный материал высыпается из корпуса установки через отверстие 10. В процессе работы происходит износ нижней части отбойной плиты 4, после полного износа нижней части плиты она падает на упор 7 под действием силы тяжести и пружины 8. Процесс измельчения продолжается дальше, отбойные плиты по мере износа периодически самостоятельно падают на упор до практически полного износа. Упор 7 установлен неподвижно ниже зоны вылета измельчаемого материала из разгонного ротора, поэтому он практически не изнашивается. Кроме этого упор можно изготавливать из материала с высоким сопротивлением износу по отношению к материалу, из которого изготовлены отбойные плиты. На основании вышеизложенного можно сделать вывод, что заявленная ЦУ может быть реализована на практике с достижением заявленного технического результата, т.е. она соответствует критерию «промышленная применимость».
Формула изобретения
1. Центробежная установка, содержащая загрузочное устройство, корпус с расположенным в нем разгонным ротором, отбойным устройством, вертикальным опорным узлом и разгрузочное устройство, отличающаяся тем, что коаксиально разгонному ротору расположены отбойное устройство, выполненное в виде кольца, сплошного или составленного из отдельных элементов, и, по меньшей мере, один держатель, выполненный, по меньшей мере, с одним пазом, отбойное устройство расположено в пазу держателя с зазором, при этом один торец отбойного устройства оперт на упор, а другой торец отбойного устройства поджат, по меньшей мере, одним упругим элементом, например пружиной, размещенным в пазу держателя между торцом отбойного устройства и дном паза держателя, держатель с пазом и упор закреплены, по меньшей мере, на одной направляющей, сопряженной с пазом держателя.
2. Центробежная установка по п.1, отличающаяся тем, что держатель с пазом и упор выполнены в виде колец, сплошных или составленных из не связанных между собой элементов.
3. Центробежная установка по п.1 или 2, отличающаяся тем, что в дне паза держателя выполнено, по меньшей мере, одно сквозное отверстие.
4. Центробежная установка по п.1, отличающаяся тем, что отбойное устройство в радиальном направлении состоит из двух частей, изготовленных из материалов с разной износостойкостью, при этом к разгонному ротору обращена часть отбойного устройства, изготовленная из более износостойкого материала.
РИСУНКИ
PC4A – Регистрация договора об уступке патента СССР или патента Российской Федерации на изобретение
Прежний патентообладатель:
Общество с ограниченной ответственностью “Новые технологии”
(73) Патентообладатель:
Закрытое акционерное общество “Новые технологии”
Договор № РД0055137 зарегистрирован 02.10.2009
Извещение опубликовано: 20.11.2009 БИ: 32/2009
|
|