|
|
(21), (22) Заявка: 2007110003/03, 19.03.2007
(24) Дата начала отсчета срока действия патента:
19.03.2007
(43) Дата публикации заявки: 27.09.2008
(46) Опубликовано: 27.03.2009
(56) Список документов, цитированных в отчете о поиске:
SU 1747153 А1, 15.07.1992. SU 884718 А1, 30.11.1981. SU 1132976 А1, 07.01.1985. SU 695708 А1, 05.11.1979. RU 21031 U1, 20.12.2001. US 3771733 А, 13.11.1973.
Адрес для переписки:
393760, Тамбовская обл., г. Мичуринск, ул. Интернациональная, 101, ФГОУ ВПО Мичуринский государственный аграрный университет
|
(72) Автор(ы):
Завражнов Анатолий Иванович (RU), Дьячков Сергей Владимирович (RU)
(73) Патентообладатель(и):
ФГОУ ВПО “Мичуринский государственный аграрный университет” (RU)
|
(54) УСТРОЙСТВО ДЛЯ ИЗМЕЛЬЧЕНИЯ КОРМОВ
(57) Реферат:
Изобретение относится к устройствам для измельчения кормов и может быть использовано в комбикормовой промышленности. Устройство содержит загрузочный бункер с дозирующей заслонкой, дробильную камеру открытого типа с молотками и деками, трубопровод отвода измельченного продукта, шнек для вывода готового продукта. Также оно оснащено загрузочным шнековым транспортером, магнитным сепаратором и расходомером. Над ротором дробилки установлен сепаратор-измельчитель, соединенный с дробильной камерой трубопроводом для отвода измельченного продукта и состоящий из жалюзийной решетки, разбрасывающей тарелки, камеры отвода готового продукта, шнека для вывода готового продукта, патрубков выхода крупной и мелкой фракций и привода разбрасывающей тарелки. Изобретение повышает производительность устройства и качество получаемого продукта. 1 ил.
Изобретение относится к сельскохозяйственному производству, в частности к устройствам для измельчения кормов, и может быть использовано в комбикормовой промышленности.
Одной из конструкций молотковых дробилок является дробилка открытого типа, работающая в замкнутом цикле с сепаратором. В рабочем процессе этой дробилки можно выделить наличие измельчаемого материала, частицы которого находятся в различных фазах измельченности и представляют собой циркулирующую нагрузку. Величина циркулирующей нагрузки в значительной степени влияет на производительность устройства.
Известно устройство для измельчения кормов, содержащее разделительную камеру, в которой расположен дефлектор криволинейной формы, возвратный канал и регулировочную заслонку.
Недостатком данного устройства является то, что регулирование крупности помола осуществляется за счет подачи недоизмельченных и целых зерен в готовый продукт.
Известно устройство для измельчения кормов, содержащее дробильную камеру с загрузочным патрубком, ротором и расположенным под ним выгрузным шнеком, разделительную камеру, соединенную с дробильной камерой криволинейным трубопроводом.
Недостаток известного устройства заключается в том, что применение перфорированных поверхностей под ротором и в разделительной камере не позволяет своевременно выделить готовый продукт из-за низкой пропускной способности решет. Это приводит к переизмельчению материала и высокому содержанию пылевидной фракции. Тем самым не обеспечивается требуемое качество готового продукта из-за неоднородности частиц.
Наиболее близким по техническому решению является устройство для измельчения кормов, содержащее загрузочный бункер с дозирующей заслонкой, дробильную камеру открытого типа с молотками и деками, трубопровод отвода измельченного продукта, жалюзийную решетку, шнек для вывода готового продукта.
Недостатком данного устройства является отсутствие доизмельчения частиц корма на жалюзийной решетке, что приводит к увеличению циркулирующей нагрузки, вследствие чего к снижению производительности.
Цель изобретения – повышение производительности устройства и качества готового продукта.
Указанная цель достигается тем, что над ротором дробилки установлен сепаратор-измельчитель, который доизмельчает крупные частицы, снижая величину циркулирующей нагрузки.
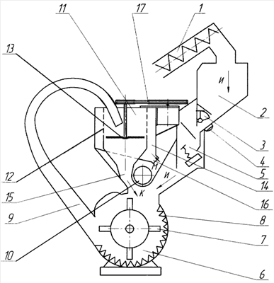
На чертеже изображено устройство для измельчения кормов.
Устройство для измельчения кормов содержит загрузной шнековый транспортер 1, загрузочный бункер 2 с дозирующей заслонкой 3, магнитный сепаратор 4 и расходомер 5, дробильную камеру открытого типа 6 с молотками 7 и деками 8, трубопровод отвода измельченного продукта 9, шнек для вывода готового продукта 10, сепаратор-измельчитель 11, состоящий из жалюзийной решетки 12, разбрасывающей тарелки 13, камеры отвода готового продукта 14, патрубков выхода крупной 15 и мелкой фракций 16, привода 17 разбрасывающей тарелки.
Технологический процесс измельчения зерна происходит следующим образом. Шнековым транспортером 1 зерно подается в загрузочный бункер 2. Из бункера 2 через дозирующую заслонку 3 и магнитный сепаратор 4 зерно поступает в расходомер 5, а затем – в дробильную камеру 6. В дробильной камере 6 зерновой материал измельчается под действием молотков 7 и дек 8 и поступает по трубопроводу 9 вместе с воздушным потоком в сепаратор-измельчитель 10. Мелкая и доизмельченная в нем крупная фракции материала под действием сообщенной им кинетической энергии лопастями разбрасывающей тарелки 13 и воздушного потока проходят через жалюзийную решетку 12 в камеру готового продукта 14 и поступают на шнек 10 для вывода готового продукта.
Неизмельченная часть материала, не прошедшая через жалюзийную решетку 12, поступает на возврат в дробильную камеру 6 через патрубок 15 вывода крупной фракции.
Повышение производительности составляет 20-23%.
Формула изобретения
Устройство для измельчения кормов, содержащее загрузочный бункер с дозирующей заслонкой, дробильную камеру открытого типа с молотками и деками, трубопровод отвода измельченного продукта, шнек для вывода готового продукта, отличающееся тем, что оно оснащено загрузочным шнековым транспортером, магнитным сепаратором и расходомером, а над ротором дробилки установлен сепаратор-измельчитель, соединенный с дробильной камерой трубопроводом для отвода измельченного продукта и состоящий из жалюзийной решетки, разбрасывающей тарелки, камеры отвода готового продукта, шнека для вывода готового продукта, патрубков выхода крупной и мелкой фракций и привода разбрасывающей тарелки.
РИСУНКИ
|
|