|
(21), (22) Заявка: 2006102029/15, 19.05.2004
(24) Дата начала отсчета срока действия патента:
19.05.2004
(30) Конвенционный приоритет:
26.06.2003 EP 03014359.8
(43) Дата публикации заявки: 27.07.2006
(46) Опубликовано: 27.03.2009
(56) Список документов, цитированных в отчете о поиске:
US 2635684 А, 21.04.1953. JP 62282629 А, 08.12.1987. SU 921618 A1, 23.04.1982. SU 1169725 A, 30.07.1985. EP 1312410 A1, 21.05.2003.
(85) Дата перевода заявки PCT на национальную фазу:
26.01.2006
(86) Заявка PCT:
EP 2004/005377 (19.05.2004)
(87) Публикация PCT:
WO 2005/002718 (13.01.2005)
Адрес для переписки:
101000, Москва, М.Златоустинский пер., 10, кв.15, “ЕВРОМАРКПАТ”, пат.пов. И.А.Веселицкой, рег. № 11
|
(72) Автор(ы):
БЕДЕТТИ Джанфранко (IT)
(73) Патентообладатель(и):
УРЕА КАЗАЛЕ С.А. (CH)
|
(54) СПОСОБ ГРАНУЛИРОВАНИЯ В ПСЕВДООЖИЖЕННОМ СЛОЕ И СООТВЕТСТВУЮЩИЙ ГРАНУЛЯТОР
(57) Реферат:
Настоящее изобретение относится к способу гранулирования в псевдоожиженном слое различных веществ, например мочевины, нитрата аммония, хлорида аммония и других аналогичных им гранулируемых веществ. В предлагаемом способе гранулирования вещества в псевдоожиженном слое (F1) с охлаждением готовых гранул во втором псевдоожиженном слое (F2) один и тот же поток охлаждающего воздуха последовательно используют для непрерывного формирования и поддержания охлаждающего (F2) и гранулирующего (F1) псевдоожиженных слоев, которые расположены последовательно относительно указанного потока протекающего через них воздуха. Гранулятор для гранулирования в псевдоожиженном слое содержит самонесущую конструкцию, имеющую форму контейнера и ограничивающую внутреннюю полость, в которой протекает процесс гранулирования и в которой расположена перегородка, служащая опорой для гранулирующего псевдоожиженного слоя (F1). Гранулятор имеет расположенный во внутренней полости самонесущей конструкции под перегородкой с отступом от нее образующий основание лист, который служит опорой для охлаждающего псевдоожиженного слоя (F2), состоящего из полученных в гранулирующем псевдоожиженном слое (F1) горячих гранул. Слои сообщаются через перегородку, выполненную перфорированной, решетчатой, сетчатой или иным образом проницаемой для газа. Во внутренней полости вертикально расположен переточный стояк, по которому готовые гранулы из гранулирующего псевдоожиженного слоя (F1) ссыпаются в охлаждающий псевдоожиженный слой (F2). Под образующим основание листом расположены устройства для подачи и распределения сжижающего воздуха во внутренней полости самонесущей конструкции и формирования и поддержания охлаждающего и гранулирующего псевдоожиженных слоев. Технический результат: уменьшение расхода воздуха, необходимого для завершения процесса гранулирования. 2 н. и 5 з.п. ф-лы, 2 ил.
Область техники, к которой относится изобретение
Настоящее изобретение относится к способу гранулирования в псевдоожиженном слое различных веществ, например мочевины, нитрата аммония, хлорида аммония и других аналогичных им гранулируемых веществ. Изобретение относится, в частности, к способу гранулирования в псевдоожиженном слое с охлаждением полученных гранул во втором псевдоожиженном слое и их направлением после охлаждения на хранение и/или на упаковку. Изобретение относится также к гранулятору для осуществления указанного выше способа.
Уровень техники
При гранулировании в псевдоожиженном слое образование гранул определенного вещества происходит путем непрерывного роста (в объеме и массе) затравочных зерен или частиц этого вещества, которое непрерывно подают в псевдоожиженный слой одновременно с потоком соответствующего находящегося в жидком состоянии вещества для выращивания гранул. Вещество для выращивания гранул, которое имеет ту же природу, что и гранулируемое вещество, и находится в жидком состоянии, смачивает затравочные зерна и растущие гранулы, которые в совокупности образуют псевдоожиженный слой, прилипает к ним и затвердевает на них.
Находящееся в жидком состоянии вещество для выращивания гранул, которое подают в псевдоожиженный слой при определенной температуре, которая, например, при гранулировании мочевины лежит в пределах от 120 до 140°С, затвердевает на затравочных кристаллах и при сохранении своих адгезионных свойств налипает на постепенно растущие в псевдоожиженном слое гранулы.
Температура наружной поверхности образующихся в псевдоожиженном слое гранул на выходе из псевдоожиженного слоя по существу не отличается от температуры подаваемого в псевдоожиженный слой в жидком состоянии вещества для выращивания гранул.
При гранулировании, в частности, мочевины температура наружной поверхности образовавшихся в псевдоожиженном слое гранул на выходе из него колеблется от 110 до 120°С.
Полученные гранулы для их дальнейшего использования, например, в качестве удобрений необходимо охлаждать до температуры, при которой их можно хранить на соответствующем складе. Гранулы мочевины, в частности, обычно хранят при температуре около 50°С.
Для соблюдения этого требования был предложен другой способ гранулирования в псевдоожиженном слое с охлаждением готовых гранул.
Такой способ гранулирования в псевдоожиженном слое описан, в частности, в патенте US 4219589, в котором полученные в первом псевдоожиженном слое горячие гранулы охлаждают во втором псевдоожиженном слое.
Однако при всех своих очевидных преимуществах этот способ гранулирования в псевдоожиженном слое обладает одним очень серьезным недостатком.
Помимо высокого расхода воздуха, необходимого для формирования и поддержания первого псевдоожиженного слоя, в котором происходит процесс образования гранул, этот способ требует и непрерывного расхода большого количества воздуха для формирования и поддержания второго, охлаждающего готовые гранулы, псевдоожиженного слоя и соответственного увеличения потребляемой энергии, дополнительный расход которой, как очевидно, отрицательно сказывается на экономичности всего процесса гранулирования.
Краткое изложение сущности изобретения
В основу настоящего изобретения была положена задача разработать способ гранулирования в псевдоожиженном слое указанного в начале описания типа, функциональные особенности которого позволяли бы устранить описанные выше недостатки известных способов и, в частности, существенно уменьшить суммарный расход воздуха, необходимого для завершения процесса гранулирования.
Эта задача решается с помощью предлагаемого в изобретении способа гранулирования соответствующего вещества в псевдоожиженном слое с охлаждением готовых гранул во втором псевдоожиженном слое, отличающегося тем, что один и тот же поток сжижающего воздуха используют для непрерывного формирования и поддержания охлаждающего и соответственно гранулирующего псевдоожиженных слоев, которые расположены по существу последовательно относительно указанного потока протекающего через них воздуха.
Другие особенности и преимущества изобретения более подробно рассмотрены ниже на примере одного из вариантов осуществления предлагаемого в изобретении способа гранулирования в псевдоожиженном слое со ссылкой на прилагаемые к описанию чертежи, которые лишь иллюстрируют изобретение, но не ограничивают его объем.
Краткое описание чертежей
На прилагаемых к описанию чертежах, в частности, показано:
на фиг.1 – схематичный вид в аксонометрии гранулятора для гранулирования различных веществ в псевдоожиженном слое предлагаемым в изобретении способом и
на фиг.2 – схематичный разрез гранулятора, показанного на фиг.1.
Предпочтительный вариант осуществления изобретения
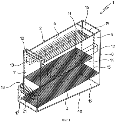
На прилагаемых к описанию чертежах показан обозначенный общей позицией 1 гранулятор, предназначенный для гранулирования соответствующих веществ в псевдоожиженном слое предлагаемым в изобретении способом.
Показанный на чертежах гранулятор имеет жесткую самонесущую конструкцию 2, которая выполнена в виде контейнера, имеющего форму параллелепипеда, и которая ограничивает полость А, в которой в двух описанных более подробно ниже псевдоожиженных слоях F1 и F2 происходит процесс гранулирования предлагаемым в изобретении способом.
Несущая конструкция 2 гранулятора (называемая в дальнейшем просто контейнером 2) имеет две длинные боковые стенки 5, 6 и короткие переднюю (или верхнюю) 7 и заднюю 8 стенки и закрыта сверху не показанной на чертежах крышкой, а в основании изготовлена полой из двух листов – верхнего листа 4 и нижнего листа 4а.
Одной из отличительных особенностей предлагаемого в изобретении гранулятора является наличие в нем расположенного между нижним краем 7а верхней (передней) стенки 7 контейнера 2 и верхним листом 4 состоящего из двух листов основания прохода (или окна) 20, через который внутренняя полость А контейнера 2 сообщается с окружающим пространством. В соответствии с другой отличительной особенностью изобретения листы 4 и 4а основания контейнера 2 примыкают к его задней стенке 8 и проходят под его передней стенкой 7, выступая за ее пределы на заданную величину. К передним свободным краям листов 4, 4а основания приварена передняя, расположенная по существу параллельно передней (верхней) стенке 7 контейнера, панель 17, которая образует в нижней передней части контейнера своего рода карман 18, который в показанном на чертежах варианте проходит по всей ширине передней стенки 7 контейнера и через окно 20 сообщается с его внутренней полостью А.
Листы 4, 4а основания контейнера 2, его задняя стенка 8 и передняя панель 17 образуют в основании контейнера камеру 19, которая непосредственно сообщается с его внутренней полостью А через верхний лист 4 основания, который для этого выполнен перфорированным, сетчатым, решетчатым или иным образом проницаемым для газа. Расположенная в основании контейнера под его внутренней полостью А камера 19 имеет ограниченную высоту и предназначена, о чем более подробно сказано ниже, для равномерного распределения подаваемого в полость А потока сжижающего воздуха.
Еще одной отличительной особенностью изобретения является коническая форма распределительной камеры 19, которая постепенно сужается от задней стенки 8 контейнера 2 к передней панели 17. Такая геометрия распределительной камеры обеспечивается определенным наклоном нижнего листа 4а основания к его верхнему листу 4 с постепенным уменьшением расстояния между листами основания в направлении передней панели 17.
Внутри контейнера 2 на некотором расстоянии от его задней стенки 8 расположена параллельная ей прямоугольная вертикальная панель 15, которая образует внутри контейнера у его задней стенки камеру 16.
Вертикальная панель 15 крепится к противоположным длинным стенкам 5 и 6 контейнера 2, и ее нижний горизонтальный край 15а, расположенный на некотором расстоянии от верхнего листа 4 основания контейнера, образует проход (или окно) 25, через который расположенная в задней части контейнера камера 16 сообщается с его внутренней полостью А. Камера 16 сообщается с внутренней полостью А контейнера также через отверстие 11, выполненное в верхней части панели 15.
Внутри контейнера 2 на определенном расстоянии от верхнего листа 4 основания расположена прямоугольная перегородка 14, которая по периметру герметично крепится к длинным боковым стенкам 5, 6, передней стенке 7 контейнера и к панели 15. Перегородка 14, которая образует во внутренней полости А контейнера зону В гранулирования и служит опорой для псевдоожиженного слоя F1, в котором протекает процесс гранулирования загружаемого в гранулятор вещества, выполнена перфорированной, сетчатой, решетчатой или иным образом проницаемой для сжижающего воздуха, необходимого для формирования и подержания псевдоожиженного слоя F1.
На фиг.1 схематично показаны расположенный в верхней части контейнера 2 обычный (известный как таковой) распределитель 10 затравочных зерен или частиц гранулируемого вещества и (также хорошо известные и поэтому не требующие подробного описания) распределители 12 и 13 находящегося в жидком состоянии вещества для выращивания гранул.
На фиг.2 схематично показан расположенный на задней стенке 8 контейнера патрубок 22, через который в камеру 19 подают воздух. Патрубок 22 соединен известными и поэтому не показанными на чертеже устройствами с внешней магистралью, из которой в камеру 19 под избыточным давлением подают необходимый для гранулирования в псевдоожиженном слое воздух.
Ниже со ссылкой на фиг.1 и 2 рассмотрен один из вариантов осуществления предлагаемого в изобретении способа гранулирования.
При непрерывной подаче в гранулятор затравочных зерен или частиц гранулируемого вещества и вещества, необходимого для выращивания гранул, в зоне В над перегородкой 14 образуется гранулирующий псевдоожиженный слой F1. Формирование и подержание этого гранулирующего псевдоожиженного слоя происходит при непрерывной подаче в камеру 19 сжижающего воздуха, который проходит из нее через перфорированный лист 4 основания в расположенную под перегородкой 14 нижнюю часть внутренней полости А контейнера. В процессе гранулирования (роста гранул) высота псевдоожиженного слоя F1 постепенно увеличивается, и его свободная поверхность поднимается до (предварительно рассчитанного) уровня нижнего края отверстия 11. В тот момент, когда свободная поверхность псевдоожиженного слоя F1 доходит до нижнего края отверстия 11, образующиеся в псевдоожиженном слое очень горячие готовые гранулы (температура которых зависит от температуры вещества, из которого выращивают гранулы) заданного размера начинают непрерывным потоком, как в плотине, “переливаться” из псевдоожиженного слоя вниз через нижний край отверстия 11.
Начиная с этого момента, высота гранулирующего псевдоожиженного слоя F1 остается по существу постоянной.
Готовые гранулы непрерывным потоком проходят через промежуточную (направляющую) камеру 16 и “падают” (каскадом) на состоящий из готовых гранул псевдоожиженный слой F2, который формируется на верхнем перфорированном листе 4 основания контейнера и в котором они охлаждаются тем же потоком сжижающего воздуха, которым формируется и поддерживается псевдоожиженный слой F1. Образующийся в потоке сжижающего воздуха второй псевдоожиженный слой F2 состоит только из готовых гранул, которые заполняют внутреннюю полость А контейнера над верхним перфорированным листом 4 его основания, промежуточную камеру 16 и сообщающийся с ней карман 18.
Давление на свободной поверхности псевдоожиженного слоя F2 в промежуточной камере 16 и в кармане 18 меньше давления на свободной поверхности псевдоожиженного слоя F2 во внутренней полости А контейнера между стенками 7 и 15, и поэтому с учетом того, что все эти зоны функционально похожи на сообщающиеся сосуды, высота псевдоожиженного слоя F2 в промежуточной камере 1 6 и в кармане 18 оказывается больше высоты псевдоожиженного слоя F2 на верхнем перфорированном листе 4 основания контейнера между стенками 7 и 15.
Необходимо подчеркнуть, что охлаждающий псевдоожиженный слой F2 сообщается с верхним гранулирующим псевдоожиженным слоем F1 только через перегородку 14, которая служит его опорой.
Необходимо также отметить, что промежуточная камера 16 выполняет функцию канала или так называемого стояка или переточной трубы, по которой горячие гранулы из псевдоожиженного слоя F1 попадают в псевдоожиженный слой F2.
В псевдоожиженном слое F2 в процессе теплообмена с частью потока сжижающего воздуха готовые гранулы постепенно охлаждаются. Поэтому расположенную между листом 4 основания контейнера и перегородкой 14 часть внутренней полости А контейнера можно назвать зоной охлаждения гранул.
При соответствующей высоте (охлаждающего) псевдоожиженного слоя F2 его свободная поверхность в кармане 18 доходит до верхнего края передней панели 17, через который из контейнера 2 выгружают готовые и охлажденные гранулы.
Поскольку свойства псевдоожиженного слоя похожи, как известно, на свойства жидкости, уровень гранул в кармане 18, в промежуточной камере 16 и во внутренней полости А контейнера во время работы стабилизируется на соответствующей пьезометрической высоте.
Необходимо подчеркнуть, что от высоты передней панели 17 зависит не только высота псевдоожиженного слоя F2, но и среднее время нахождения готовых гранул в зоне охлаждения, а тем самым и температура готовых гранул, выгружаемых из предлагаемого в изобретении контейнера (гранулятора) 2.
Начиная с момента “выгрузки” готовых гранул процесс получения гранул предлагаемым в изобретении способом в предлагаемом в изобретении грануляторе продолжается в установившемся режиме.
Главной отличительной особенностью предлагаемого в изобретении способа гранулирования является формирование и поддержание псевдоожиженных слоев F1 и F2 соответственно для гранулирования и охлаждения готовых гранул одним и тем же потоком сжижающего воздуха, который проходит через оба псевдоожиженных слоя F1 и F2, по существу последовательно расположенных относительно него.
Второй отличительной особенностью предлагаемого в изобретении способа является по существу каскадное перетекание готовых горячих гранул из гранулирующего псевдоожиженного слоя в охлаждающий псевдоожиженный слой.
Основным преимуществом настоящего изобретения является существенное по сравнению с известными способами гранулирования в псевдоожиженном слое снижение расхода сжижающего воздуха, необходимого для формирования и поддержания псевдоожиженного слоя. При высоком расходе сжижающего воздуха, необходимого для гранулирования в псевдоожиженном слое, заметное снижение расхода воздуха соответственно обеспечивает и существенное снижение потребляемой энергии.
В наиболее предпочтительном варианте осуществления изобретения верхняя часть передней панели 17 выполнена в виде подвижной заслонки 21, положение которой по высоте можно соответствующим образом регулировать (ее перемещением в вертикальном направлении). Регулирование положения заслонки по высоте позволяет динамически регулировать высоту охлаждающего псевдоожиженного слоя F2 и при любой температуре сжижающего воздуха, подаваемого во внутреннюю полость А гранулятора, подавать в псевдоожиженный слой F1 воздух с оптимальной температурой (например, разной, но постоянной зимой и летом), а также отказаться за счет этого от применения неэффективных теплообменников.
Настоящее изобретение не исключает возможности внесения в рассмотренный выше вариант различных изменений и усовершенствований, не выходя при этом за объем изобретения, определяемый его формулой.
Так, например, ширина кармана 18 и промежуточной камеры 16 может быть меньше ширины соответственно короткой передней стенки 7 контейнера и его внутренней панели 15.
Формула изобретения
1. Способ гранулирования определенного вещества в псевдоожиженном слое (F1) с охлаждением готовых гранул во втором псевдоожиженном слое (F2), отличающийся тем, что один и тот же поток охлаждающего воздуха последовательно используют для непрерывного формирования и поддержания охлаждающего (F2) и соответственно гранулирующего (F1) псевдоожиженных слоев, которые расположены, по существу, последовательно относительно указанного потока протекающего через них воздуха.
2. Способ по п.1, отличающийся тем, что готовые гранулы гранулируемого вещества ссыпаются, по существу, каскадом из гранулирующего псевдоожиженного слоя в охлаждающий псевдоожиженный слой.
3. Гранулятор для гранулирования в псевдоожиженном слое способом по п.1, содержащий самонесущую конструкцию (2), имеющую, по существу, форму контейнера и ограничивающую внутреннюю полость (А), в которой протекает процесс гранулирования и в которой расположена перегородка (14), служащая опорой для гранулирующего псевдоожиженного слоя (F1), отличающийся тем, что он имеет расположенный во внутренней полости (А) самонесущей конструкции под перегородкой (14) с отступом от нее образующий основание лист (4), который служит опорой для состоящего из полученных в гранулирующем псевдоожиженном слое (F1) горячих гранул охлаждающего псевдоожиженного слоя (F2), сообщающегося с гранулирующим псевдоожиженным слоем (F1) через перегородку (14), выполненную перфорированной, решетчатой, сетчатой или иным образом проницаемой для газа, расположенный вертикально во внутренней полости (А) переточный стояк (16), по которому готовые гранулы из гранулирующего псевдоожиженного слоя (F1) ссыпаются в формирующийся на образующем основание листе (4) охлаждающий псевдоожиженный слой (F2), и расположенные под образующим основание листом (4) устройства (22, 19) для подачи и распределения сжижающего воздуха во внутренней полости (А) самонесущей конструкции и формирования и поддержания охлаждающего псевдоожиженного слоя (F2) и гранулирующего псевдоожиженного слоя (F1), которые расположены последовательно относительно указанного потока протекающего через них воздуха.
4. Гранулятор по п.3, отличающийся тем, что переточный стояк (16) образован камерой (16), которая ограничена стенкой (8) самонесущей конструкции (2) и расположенной в ее внутренней полости (А) с отступом от указанной стенки вертикальной панелью (15), нижний горизонтальный край (15а) которой не доходит до образующего основание листа (4) и образует проход (25), соединяющий указанную камеру (16) над образующим основание листом (4) с внутренней полостью (А) самонесущей конструкции.
5. Гранулятор по п.4, отличающийся тем, что переточный стояк (16) имеет отверстие (11), через которое он сообщается с верхней частью внутренней полости (А) самонесущей конструкции.
6. Гранулятор по п.3, отличающийся тем, что охлаждающий псевдоожиженный слой (F2) сообщается с окружающим пространством через карман (18), расположенный между стенкой (7) самонесущей конструкции (2) и передней панелью (17), которая предпочтительно параллельно верхней стенке (7) самонесущей конструкции крепится к образующему основание листу (4), служащему опорой для охлаждающего псевдоожиженного слоя (F2).
7. Гранулятор по п.6, отличающийся тем, что на верхнем крае передней панели (17) установлена подвижная заслонка (21), регулируемая по высоте путем ее перемещения в вертикальном направлении.
РИСУНКИ
|