|
|
(21), (22) Заявка: 2007108010/15, 22.02.2007
(24) Дата начала отсчета срока действия патента:
22.02.2007
(43) Дата публикации заявки: 10.09.2008
(46) Опубликовано: 27.03.2009
(56) Список документов, цитированных в отчете о поиске:
RU 2049537 С1, 10.12.1995. SU 687652 А, 30.06.1986. SU 1103892 А, 23.07.1984. JP 2005082454 А, 31.03.2005.
Адрес для переписки:
192171, Санкт-Петербург, ул. Бабушкина, 36, корп.1, ФГУП НИТИОМ, пат.пов. Т.А. Репкиной
|
(72) Автор(ы):
Русан Вячеслав Владимирович (RU), Таганцев Дмитрий Кириллович (RU), Липовский Андрей Александрович (RU), Карапетян Гарегин Оганесович (RU)
(73) Патентообладатель(и):
Федеральное государственное унитарное предприятие “Научно-исследовательский и технологический институт оптического материаловедения Всероссийского научного центра “Государственный оптический институт им. С.И. Вавилова” (ФГУП “НИТИОМ ВНЦ “ГОИ им. С.И. Вавилова”) (RU), Закрытое акционерное общество “АГРОВИТ” (ЗАО “АГРОВИТ”) (RU)
|
(54) УСТРОЙСТВО ДЛЯ ПОЛУЧЕНИЯ ГРАНУЛ ИЗ РАСПЛАВА
(57) Реферат:
Изобретение предназначено для получения стеклянных гранул сферической или полусферической формы, применяемых в качестве стеклообразного удобрения пролонгированного действия. Устройство для получения гранул из расплава включает нагревательный модуль 1, содержащий тигель 3 с донным патрубком 4, приемный модуль 2, содержащий входную емкость в виде перевернутого конуса 7, компрессор 13, накопитель 16. Внутри конуса вблизи его верхнего края для приема падающих капель расплава установлена платформа-демпфер 18 в виде тонкой металлической пластины, плоскость которой обращена внутрь конуса и наклонена относительно горизонтали и вертикали. Изобретение позволяет упростить процесс образования гранул из расплава, уменьшить габариты устройства и повысить качество образованных гранул по форме и идентичности их размеров. 1 ил.
Изобретение относится к устройствам для гранулирования материалов из расплавленного состояния путем превращения жидкого расплава в каплеобразную форму и предназначено, в частности, для получения стеклянных гранул сферической или полусферической формы, применяемых в качестве стеклообразного удобрения пролонгированного действия.
Основные принципы получения гранул стекла из расплава, используемые в химической и смежных отраслях, заключаются в том, что гранулируемый материал расплавляется в специальном тигле с донным патрубком, из которого через узкое выходное отверстие расплавленное стекло вытекает в виде тонкой струи, части которой отрываются от донного патрубка под действием силы тяжести, падают вниз и после затвердевания образуют стеклянные гранулы. Размеры гранул могут контролироваться диаметром выходного отверстия донного патрубка, температурой расплава стекла в его канале и их последующей обработкой. Как правило, донный патрубок находится внутри специального отдельного нагревателя, который независимо от главного нагревателя, регулирует непрерывный режим образования стеклянных гранул. При этом тигель с донным патрубком может пополняться шихтой или боем стекла.
Для приема образующихся гранул выходное отверстие донного патрубка согласуется с приемным модулем, который может иметь различную конструкцию, для выполнения конкретных задач.
Из уровня техники известны способы и устройства для гранулирования жидких материалов. В патенте РФ №2049537, опубликованном 10.12.1995 по классу МПК B01J 2/06, заявлено устройство для получения гранулируемых материалов, которое содержит корпус в виде перевернутого усеченого конуса, закрытого сверху фланцем с отверстием для ввода расплава, а нижняя часть конуса снабжена заслонкой. Внутри корпуса размещены параллельно друг другу горизонтальные кольцевые трубы, соединенные с патрубками для ввода хладагентов – воды и воздуха. Для предотвращения перелива хладагента корпус снабжен дренажной трубой.
В данном устройстве расплав гранулируемого вещества попадает в барботируемый жидкий хладагент, где происходит деформация расплава и его размельчение, охлаждение и превращение в гранулы, поступающие затем по наклонному желобу в накопитель. Заслонка регулирует наполнение корпуса жидким хладагентом, который под действием сжатого воздуха образует псевдокипящий слой.
Данное техническое решение для создания гранул из расплава связано с применением жидкого хладагента – воды, что создает дополнительную сложность устройства и всего технологического процесса грануляции. Также здесь нет уверенности, что создаваемые гранулы будут обладать достаточно хорошими характеристиками по их форме, размеру и идентичности, особенно в случаях, когда материал гранул может вступать в химическую реакцию с водой.
В патенте РФ №2049538, опубликованном 10.12.1995 по классу МПК В01J 2/06, описана установка для гранулирования расплавов, содержащая корпус, в верхней части которого размещен первый гранулятор в виде открытого снизу перевернутого усеченного конуса, а в нижней части корпуса расположен второй гранулятор в виде открытого сверху усеченного конуса. Оба гранулятора снабжены средствами ввода хладагента. Капли расплава, образованные в первом грануляторе, увлекаются потоком хладагента и попадают во второй гранулятор, где в результате воздействия на капли псевдокипящей жидкости происходит разламывание крупных капель на мелкие, их охлаждение и образование гранул. Установка позволяет проводить процесс без использования движущихся деталей в рабочей зоне.
В описанном устройстве также, как и в первом аналоге, используется жидкий хладагент, дополнительно усложняется способ и устройство гранулирования, не может достигаться достаточный эффект по качеству создаваемых гранул.
В патенте РФ №2209660, опубликованном 10.08.2003 по классу МПК B01J 2/02, описано устройство для гранулирования расплава, содержащее обогреваемую накопительную емкость, в днище которой смонтированы сообщенные с выходными соплами дозирующие камеры с установленными в них подвижными плунжерами, связанными с ползуном привода возвратно-поступательного движения, а в стенках камер выполнены выходящие в емкость боковые каналы, перекрываемые плунжерами при их движении, и размещенную снаружи под выходными соплами охлаждаемую поверхность для формования гранул, причем между каждой дозирующей камерой и выходным соплом установлен подпружиненный клапан, который способствует регулированию выталкиваемой дозы расплава и исключает его самопроизвольное вытекание.
В патенте заявлен эффект стабильного объема гранул в широком диапазоне вязкости расплава. Однако данное устройство имеет недостатки, связанные со сложностью конструкции, наличием большого количества подвижных частей.
В патенте JP №2005082454 (по информации базы данных esp@cenet), опубликованном 31.03.2005 по основному классу МПК B01J 2/02, описаны способ гранулирования расплава и устройство, в котором капли расплава сначала попадают на вращающуюся диспергирующую поверхность – диск, а затем на коническую поверхность, которая также вращается, но отдельно от диска. К недостаткам этого технического решения можно отнести сложность процесса гранулирования и конструкции из-за обилия механических вращающихся частей.
За прототип предлагаемого изобретения принят первый аналог – патент РФ №2049537.
Задача изобретения заключается в упрощении способа получения гранул из расплава, достижении компактности устройства, уменьшении его габаритов, а также в повышении качества образованных гранул по их форме и идентичности размеров. Технический результат достигается за счет осуществления подачи расплава в виде капель и использования хладагента только в виде воздушного потока и соответствующего оригинального решения конструкции гранулятора при отсутствии движущихся частей.
Задача решается в устройстве для получения гранул из расплава, включающем нагревательный модуль, содержащем тигель с донным патрубком, каждый из которых расположен в соответствующей регулируемой по температуре зоне печи, и приемный модуль, входная емкость которого выполнена в виде перевернутого конуса с нижним выходным отверстием, верхнее отверстие которого расположено под выходным отверстием донного патрубка нагревательного модуля. Устройство содержит компрессор для нагнетания воздуха вовнутрь конуса и накопитель для приема образованных гранул.
В отличие от прототипа выходное отверстие донного патрубка нагревательного модуля выполнено с необходимыми формой и размерами, обеспечивающими выход расплава в виде капель, верхняя часть конуса выполнена открытой, а нижняя часть конуса с выходным отверстием вставлена в отверстие на боковой стенке горизонтальной трубы, один конец которой соединен с компрессором, а другой конец снабжен заслонкой и сообщается с расположенным под ним накопителем. Внутри конуса вблизи края верхнего отверстия установлена платформа – демпфер, предназначенная для приема из патрубка капель расплава и их первоначального формирования в гранулы и охлаждения. Данная платформа выполнена в виде тонкой пластины, плоскость которой обращена внутрь конуса и расположена с небольшим наклоном относительно горизонтали и вертикали, в результате чего падающие капли расплава ударяются об нее и мгновенно скатываются в емкость конуса.
Подача капель расплава в конусную емкость при встречном воздушном потоке обеспечивает необходимое воздушное охлаждение каждой капли, т.е. создаются условия, при которых капли не слипаются, не успевают соединиться друг с другом и формируются каждая в гранулу.
Приемная емкость в виде открытого сверху перевернутого конуса позволяет воздушному потоку, поступающему в нее снизу, образовывать воздушный конус, в котором падающие капли расплава сразу охлаждаются и перемещаются в различных направлениях, не прилипая одна к другой. Первоначальное попадание капель расплава на пластину-демпфер обеспечивает предварительно сформированным на ней каплям снижение скорости и изменение направления для их дальнейшего передвижения, что способствует предотвращению соединения следующих друг за другом падающих капель. Соответствующая мощность воздушного потока и его регулирование с помощью заслонки обеспечивают необходимый режим для затвердевания капель расплава и перемещения образованных гранул в накопитель.
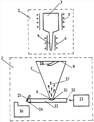
На чертеже представлен общий вид конструкции устройства, где 1 – нагревательный модуль, 2 – приемный модуль.
Нагревательный модуль 1 содержит тигель 3 с донным патрубком 4, расположенные в двухзонной печи каждый в своей зоне – в зонах 5 и 6 соответственно. Приемный модуль 2 содержит емкость 7 в виде перевернутого конуса, верхнее входное отверстие которого 8 обращено к выходному отверстию донного патрубка 4, а нижнее отверстие 9 конуса 7 входит в отверстие 10 на боковой стенке горизонтальной трубы 11. Труба 11 с одного своего конца 12 соединена с компрессором 13, а на противоположном конце 14 трубы 11 расположена заслонка 15. Конец 14 трубы 11 является выходным отверстием для части воздушного потока и образованных гранул, под которым установлен накопитель 16. Компрессор 13 создает в объеме конуса 7 воздушный поток, обозначенный цифрой 17. Внутри конуса 7, вблизи его верхнего края, напротив выходного отверстия донного патрубка 4 закреплена пластина-демпфер 18, плоскость которой обращена внутрь конуса и имеет наклон относительно горизонтали и вертикали.
Процесс гранулирования стекломассы происходит следующим образом. Нагревательный модуль 1 устанавливается на специальной платформе высотой три метра. Приемный модуль 2 располагается на полу под нагревательным модулем 1 так, чтобы выходное отверстие донного патрубка 4 находилось по центру входного отверстия 8 емкости конуса 7. Расположение тигля 3 в зоне 5 печи и расположение его донного патрубка 4 в зоне 6 печи обеспечивает независимый контроль температуры стекломассы в чаше тигля и донном патрубке. Как правило, чаша тигля 3, наполненная боем стекла, нагревается до температуры выше температуры плавления. Донный патрубок 4 нагревается до температуры, когда вязкость стекла в нем становится достаточной для того, чтобы расплав стекла начал медленно вытекать из выходного отверстия, расположенного на кончике донного патрубка 4, и образовывать капли за счет поверхностного натяжения. Размер выходного отверстия донного патрубка должен обеспечивать равномерное вытекание расплава в виде одинаковых капель.
Таким образом, подбор оптимального режима зоны печи 6 и размера выходного отверстия донного патрубка 4 тигля 3 нагревательного модуля 1 способствует первоначальному формированию гранул из стекломассы.
Образованные на выходе нагревательного модуля 1 капли расплава попадают в приемный модуль 2 на платформу-демпфер 18, с которой они скатываются в емкость конуса 7, в котором снизу через отверстие 9 создается восходящий воздушный поток 17, образованный компрессором 13, подключенным к отверстию 12 горизонтальной трубы 11, у которой просверлено отверстие 10 в боковой стенке, в которое вставлен низ конуса 1. В результате в объеме конуса 7 действует воздушная струя, удерживающая и охлаждающая капли расплава до их затвердевания, которые постепенно опускаются вниз, достигают выхода из отверстия 9, попадают в горизонтальную трубу 11 и под действием воздушного потока внутри этой трубы поставляются в накопитель 16, расположенный под окончанием – отверстием 14 трубы 11. Выходное отверстие 14 трубы 11 снабжено заслонкой 15, с помощью которой достигается управление мощностью воздушного потока в охлаждающей емкости – конусе 7.
Пример конкретного выполнения устройства для получения гранул из расплава стекла: конструкция конуса 7 выполнена из алюминия, имеет высоту один метр с диаметрами входного и выходного отверстий 180 мм и 15 мм соответственно. На верхнем краю конуса закреплена с помощью зажима прямоугольная пластина 18 из тонкого дюралевого листа толщиной 0,5 мм размером 70×30 мм, при этом пластина – демпфер 18 закреплена одной из меньших сторон и имеет вид флажка, обращенного внутрь конуса с некоторым наклоном по вертикали и горизонтали. Горизонтальная труба 11 выполнена из металла длиной 250 мм с наружным диаметром 25 мм, толщиной стенок 2 мм.
Для получения гранул фосфатного стекла на основе метафосфатов использовался стекритовый тигель объемом 0,7 л с высотой чаши 170 мм, внешний диаметр которой 90 мм, а толщина стенок 7 мм. Донный патрубок 4 имеет длину 140 мм, диаметр поперечного сечения от дна чаши до выходного отверстия равномерно сужается и имеет средний наружный диаметр 14 мм, а средний диаметр канала равен 8 мм, диаметр выходного отверстия – 2 мм. Температура расплава в чаше тигля достигала 1000°С, а в донном патрубке – 800°С.
Выход капель расплава из отверстия патрубка происходит в режиме двух капель в секунду. Внутри конуса 7 создавался воздушный поток с помощью компрессора с всасывающей мощностью 500 Вт в течение 10 часов. Средний диаметр образованных гранул составлял 5 мм. Производительность процесса грануляции составляла не менее 1500 гранул в час. Обеспечено достаточно хорошее качество полученных гранул стекла – обтекаемая, почти сферическая форма и одинаковость по размеру. При этом процесс образования гранул не требовал дополнительных механических устройств и дополнительного охлаждения. Накопитель 17 периодически разгружался от гранул по мере его заполнения. Выход годного продукта составлял 85%.
Предлагаемое устройство целесообразно использовать для изготовления стеклообразного удобрения пролонгированного действия.
Формула изобретения
Устройство для получения гранул из расплава, включающее нагревательный модуль, содержащий тигель с донным патрубком, расположенные каждый в отдельной зоне двухзонной печи, и приемный модуль, входная емкость которого выполнена в виде перевернутого конуса с нижним выходным отверстием, верхнее отверстие которого расположено под выходным отверстием донного патрубка нагревательного модуля, а также компрессор и накопитель, отличающееся тем, что выходное отверстие донного патрубка выполнено формой и размером, обеспечивающими выход расплава из него в виде капель, верхняя часть конуса выполнена открытой, а нижнее отверстие входит в отверстие на боковой стенке горизонтальной трубы, один конец которой соединен с компрессором, а другой конец снабжен заслонкой и сообщается с расположенным под ним накопителем, при этом на внутренней поверхности конуса вблизи края его верхнего отверстия закреплена платформа-демпфер для приема капель расплава, выполненная в виде тонкой металлической пластины, плоскость которой обращена внутрь конуса и имеет небольшой уклон от вертикали и горизонтали.
РИСУНКИ
|
|