|
|
(21), (22) Заявка: 2007111236/15, 28.03.2007
(24) Дата начала отсчета срока действия патента:
28.03.2007
(43) Дата публикации заявки: 10.10.2008
(46) Опубликовано: 27.03.2009
(56) Список документов, цитированных в отчете о поиске:
US 5861089 А, 19.01.1999. US 6391268 А, 21.05.2002. SU 1389808 А1, 23.04.1988. SU 912204 А, 15.03.1982. SU 948394 А, 07.08.1982. US 3540994, 17.11.1970. RU 2020998 C1, 15.10.1994. GB 849022 A, 21.09.1960. JP 54-2977 A, 24.07.1980.
Адрес для переписки:
111123, Москва, ш. Энтузиастов, 38, ФГУП ГНИИХТЭОС, НИПЛО, генеральному директору П.А. Стороженко
|
(72) Автор(ы):
Ершов Олег Леонидович (RU), Жигалин Григорий Яковлевич (RU), Кочурков Андрей Александрович (RU), Поливанов Александр Николаевич (RU), Смульский Анатолий Васильевич (RU), Стороженко Павел Аркадьевич (RU)
(73) Патентообладатель(и):
Федеральное государственное унитарное предприятие “Государственный ордена Трудового Красного Знамени научно-исследовательский институт химии и технологии элементоорганических соединений” (ФГУП ГНИИХТЭОС) (RU)
|
(54) СПОСОБ ОБЕЗВОЖИВАНИЯ КРЕМНИЙОРГАНИЧЕСКИХ ЖИДКОСТЕЙ И УСТРОЙСТВО ДЛЯ ЕГО ОСУЩЕСТВЛЕНИЯ
(57) Реферат:
Изобретение относится к обезвоживанию кремнийорганических жидкостей, например гидролизата диметилдихлорсилана (ДМДХС), и может быть использовано в кремнийорганических производствах для выделения воды и водных растворов хлористого водорода из кремнийорганических жидкостей. Способ заключается в воздействии на эмульсию, представляющую собой диспергированную водную фазу и непроводящую сплошную среду кремнийорганической жидкости, электрическим полем, которое создают постоянным и/или переменным электрическим потенциалом, приложенным к одному или более электродам, при напряженности поля от 2 до 12 кВ/см, градиенте напряженности поля от 1,0 до 40 кВ/см и плотности тока (0,1÷10)·10-6 мА/см2, при удельной объемной электрической мощности (1,2÷20)·10-3 Вт/дм3. Устройство имеет размещенные внутри корпуса электроды, выполненные из электропроводных сеток, свернутых в форме тел вращения, либо призмы, либо в виде одного или более рядов вертикальных струн или стержней, расположенных по замкнутой линии. Технический результат состоит в повышении эффективности электроочистки. 2 н. и 4 з.п. ф-лы, 7 ил.
Изобретение относится к способам и устройствам обезвоживания кремнийорганических жидкостей, таких как, например, гидролизат диметилдихлорсилана (ДМДХС). Изобретение может быть использовано в кремнийорганических производствах для выделения воды и водных растворов хлористого водорода из кремнийорганических жидкостей.
Базовым сырьем для крупнотоннажных производств силиконовых продуктов (жидкостей, каучуков, компаундов и др.) является гидролизат ДМДХС. Технологический процесс получения гидролизата ДМДХС на завершающем этапе включает стадии отделения остаточной влаги путем отстаивания диспергированной в гидролизате водной фазы и последующей фильтрации. Для достижения в полученном гидролизате требуемого уровня влаги с помощью названных методов необходимо затратить довольно много времени, процесс сопровождается образованием большого количества отходов и потерями целевого продукта.
В нефтяной промышленности хорошо известным и практикуемым способом для улучшения сепарации нефтяных эмульсий, содержащих диспергированную воду, является использование высоковольтных электрических полей. Кроме распространенных аппаратов тепловой обработки и осадителей, использующих механические методы для коалесценции, эти поля значительно ускоряют коалесценцию и сепарацию несмешиваемых жидкостей.
В патенте США №3207686 описывается электрический дегидратор, использующий переменное напряжение, прилагаемое к электроду для повышения сепарации дисперсии воды и сырой нефти, содержащей газы.
В способах обезвоживания эмульсий сырой нефти с водой путем улучшения коалесценции в электрическом поле, вид электрического напряжения, подводимого к электродам, считается важным в определении эффективности процесса. Считается, что электрическое поле, создаваемое источником переменного напряжения, более эффективно при разделении относительно обводненных эмульсий, в то время как электрическое поле, созданное источником постоянного напряжения, может быть более эффективным при разделении более «сухих», т.е. менее обводненных, эмульсий, где размеры частиц водной фазы малы. Поэтому описываются аппараты, использующие электрические поля, обладающие характеристиками как переменного, так и постоянного напряжения.
Патент США №3772180 описывает систему для получения ряда электрических полей, через которые пропускается смесь воды и масла для последующего воздействия полей в качестве сил для коалесценции капель воды до размеров, достаточно больших для их эффективного гравитационного осаждения из масла. В частности, описывается приложение к электродной системе некоторой формы постоянного напряжения, распределенной в смеси, для образования ряда полей, которые сначала действуют как поле, генерируемое постоянным напряжением, которое будет вызывать нужную миграцию капель дисперсной воды относительно электродов.
Патент США №3939395 описывает подачу выпрямленного переменного напряжения для использования в аппарате электрической сепарации водной эмульсии при прохождении эмульсии через электрическое поле.
В патенте США №4054451 описывается аппарат электрообработки для сепарации эмульсии типа «вода в масле», который использует как переменное напряжение, прикладываемое к электродам, так и постоянное. Аппарат снабжен множеством тарелок, через которые эмульсия проходит последовательно. Эмульсия сначала проходит через тарелку или тарелки, которые имеют переменный потенциал, приложенный к ним, а затем последовательно проходит через тарелки, которые имеют пульсирующий потенциал постоянного напряжения, приложенный к ним.
Патент США №4308127 описывает аппарат для снижения влагосодержания эмульсии, где сплошная среда обладает низкой диэлектрической постоянной. В аппарате для эффективного разделения жидких фаз образовано множество электрических полей. Эмульсии сначала пропускаются через одно из электрических полей между изолированными электродами. Начиная с разрушения эмульсии с помощью первого электрического поля, эмульсия затем течет в электрическом поле, образованном приложением потенциала переменного напряжения к неизолированным электродам. Конечная стадия представляет пропускание почти полностью разрушенной эмульсии через электрическое поле между электродами, имеющими потенциал постоянного напряжения, которые скомпонованы для постепенного понижения своих полей.
В патенте США №4126537 утверждается, что одной из проблем при использовании электрических полей для улучшения сепарации эмульсий, является постоянная напряженность полей. Когда поле начинает коалесцировать диспергированные капли, его силовое воздействие на увеличивающиеся капли значительно возрастает. При постоянной напряженности поля, увеличенные капли перемещаются в сплошной среде достаточно быстро, в результате чего возникают сдвиговые силы в жидкости, в которой они диспергированы, и происходит дробление или фрагментирование увеличенных капель. Описывается аппарат, обеспечивающий прохождение эмульсии через электрическое поле с понижающейся напряженностью в направлении течения смеси, снижая таким образом фрагментацию капель от воздействия сдвиговых усилий. Понижающаяся напряженность достигается путем последовательного повышения расстояния между электродами.
Описанные выше патенты относятся к проблеме, связанной с обезвоживанием сырой нефти и петролейных дистиллятов в нефтепереработке. Описанные патенты не принимают во внимание то, что кремнийсодержащие жидкости представляют собой уникальные материалы, которые могут образовывать очень стойкие эмульсии с другими жидкостями, в том числе на водной основе, и что такие эмульсии, в которых две фазы имеют различные диэлектрические константы и плотности, могут существовать очень длительный период времени, измеряемый иногда месяцами без заметного разделения.
Эти уникальные свойства кремнийорганических жидкостей объясняются особенностями строения. В отличие от органических жидкостей кремнийорганические жидкости при высоких диэлектрических характеристиках (удельное объемное сопротивление V·10-14=0,2-5,0 Ом·см; диэлектрическая проницаемость при частоте 103 Гц = 2,6-3,0; электрическая прочность при частоте 50 Гц = 15-28 кВ/мм) обладают высокой термической стабильностью, низкой температурой застывания, устойчивостью к действию излучений различного типа. Хорошие эксплуатационные характеристики кремнийорганических жидкостей, обусловленные наличием в их структуре силоксановых связей Si-O-Si, позволяют им длительно, по сравнению с органическими жидкостями, сохранять высокий уровень диэлектрических характеристик в тяжелых условиях эксплуатации [М.В.Соболевский и др. Свойства и области применения кремнийорганических продуктов. «Химия», М., 1975].
Патент США №5861089 (МПК B01D 17/06, опубл. 19 января, 1999 г.), принятый здесь за прототип, указывает, что кремнийорганические жидкости могут быть обезвожены путем воздействия электрического поля на эмульсии. В соответствии с указанным прототипом, предложен способ обезвоживания кремнийорганических жидкостей, заключающийся в воздействии на эмульсию, представляющую собой диспергированную водную фазу и непроводящую сплошную среду кремнийорганической жидкости, электрическим полем, таким образом влияя на коалесценцию дисперсной среды в капли с размерами, пригодными для эффективного гравитационного выделения из сплошной фазы, где диспергированная фаза и сплошная среда обладают различными диэлектрическими константами и плотностями, при этом электрическое поле создается постоянным и/или переменным электрическим потенциалом, либо пульсирующим электрическим потенциалом постоянного тока, либо электрическим потенциалом, имеющим характеристики как переменного, так и постоянного тока, приложенным к одному или более электродам. Приведенное в описании устройство для обезвоживания кремнийорганических жидкостей, включает корпус с патрубком ввода эмульсии, представляющей собой диспергированную водную фазу и непроводящую сплошную среду кремнийорганической жидкости, патрубком вывода обезвоженной кремнийорганической жидкости и патрубком вывода водной фазы, и один или более электроды, размещенные внутри корпуса, при этом к электродам приложен постоянный и/или переменный электрический потенциал, либо пульсирующий электрический потенциал постоянного тока, либо электрический потенциал, имеющий характеристики как переменного, так и постоянного тока. Электроды выполнены в виде плоскопараллельных пластин.
Описанный способ, как отмечается, особенно полезен для снижения остаточной воды и хлорида, присутствующих в полисилоксанах, получаемых путем гидролиза органохлорсиланов.
В примерах, содержащихся в описании, приводятся режимы проведения процесса обезвоживания полидиметилсилоксановой жидкости (температура процесса, расход эмульсии, линейная скорость, напряжение на электродах) применительно к аппарату с плоскопараллельными электродами. Указанное процентное содержание воды на входе в аппарат и выходе характеризует достаточно высокую степень очистки.
К сожалению, приведенные в описании примеры не дают полного представления о способе: в описании нет никаких данных о геометрии электродов и межэлектродного пространства, о величине силы тока протекающего между электродами, что мешает судить об основных параметрах электрического поля, характеризующих способ (напряженность электрического поля Е, измеряемую в кВ/см, градиент напряженности электрического поля Е, как меру пространственной неоднородности электрического поля, измеряемый в кВ/см2, и плотность электрического тока проводимости, измеряемую в мА/см2). В описании отмечается, что «способ воздействия электрического поля на эмульсию и устройство для осуществления такого воздействия не являются критическими для данного изобретения и могут быть любыми из тех, которые известны в данной области техники».
С таким утверждением нельзя согласиться, поскольку для эффективного обезвоживания эмульсий пригоден далеко не любой способ воздействия, определяемый параметрами процесса. Эти параметры для каждой конкретной эмульсии свои, причем параметры процесса электрообезвоживания для одной и той же системы «жидкость/вода» в значительной степени зависят от влагосодержания эмульсии (степени обводненности сплошной среды), наличия или отсутствия твердых включений, их плотности, степени проводимости и пр. Ниже будет показано, что технологические параметры процесса, применяемые в основном для обезвоживания нефти и нефтепродуктов, не могут обеспечить эффективного обезвоживания кремнийорганических жидкостей.
Лишь в качестве примера, в описании к указанному патенту на Фиг.2 приводится изображение одного из воплощений предложенного способа, в котором сплошной средой является силиконовая жидкость, такая как полидиметилсилоксан, а диспергированной фазой – вода. Из этого примера очевидна пространственная однородность электрического поля, создаваемого между плоскопараллельными сплошными электродами. Это приводит к тому, что диэлектрическая составляющая воздействия на частицу оказывается ничтожно малой, и это, в свою очередь, снижает эффективность обезвоживания кремнийорганических жидкостей.
Задачей настоящего изобретения является устранение указанных недостатков и повышение эффективности процесса обезвоживания кремнийорганических жидкостей.
Указанная задача достигается тем, что предложен новый способ и устройство обезвоживания кремнийорганических жидкостей. Способ, заключающийся в воздействии на эмульсию, представляющую собой диспергированную водную фазу и непроводящую сплошную среду кремнийорганической жидкости, электрическим полем, таким образом влияя на коалесценцию диспергированной фазы в капли с размерами, пригодными для эффективного гравитационного выделения из сплошной среды, где диспергированная фаза и сплошная среда обладают различными диэлектрическими константами и плотностями, при этом электрическое поле создается постоянным и/или переменным электрическим потенциалом, либо пульсирующим электрическим потенциалом постоянного тока, либо электрическим потенциалом, имеющим характеристики как переменного, так и постоянного тока, приложенным к одному или более электродам, отличается тем, что процесс проводят при средней напряженности электрического поля Е от 2 до 12 кВ/см, причем в электрическом поле создают области электрической неоднородности, характеризуемые градиентом напряженности электрического поля Е от 1 до 40 кВ/см2, и при плотности тока электрической проводимости i=(0,1÷10)·10-6 А/см2, при этом удельная объемная электрическая мощность wоб составляет величину (1,2÷20)·10-3 Вт/см3;
Устройство для обезвоживания кремнийорганических жидкостей, включающее корпус с патрубком ввода эмульсии, представляющей собой диспергированную водную фазу и непроводящую сплошную среду кремнийорганической жидкости, патрубком вывода обезвоженной кремнийорганической жидкости и патрубком вывода водной фазы, и один или более электроды, размещенные внутри корпуса, при этом к электродам приложен постоянный и/или переменный электрический потенциал, либо пульсирующий электрический потенциал постоянного тока, либо электрический потенциал, имеющий характеристики как переменного, так и постоянного тока, отличается тем, что, по меньшей мере, те электроды, к которым приложен электрический потенциал, выполнены проницаемыми для эмульсии, при этом электроды выполнены из электропроводных сеток, свернутых либо в форме тел вращения (оболочковых форм), либо в виде призмы, либо выполненных в виде одного или более рядов вертикальных струн или стержней, расположенных по замкнутой линии; при этом тела вращения представляют собой цилиндр, либо конус, либо шар, либо эллипсоид, либо их сочетание. Основание призмы может быть в виде треугольника, либо квадрата, либо четырехугольника, либо ромба, либо пяти- и боле многоугольника; поперечное сечение струн или стержней имеет вид плоской фигуры с развитым периметром, при этом поперечное сечение может представлять форму прямоугольника, или уголка, или тавра, или швеллера, или двутавра, или круга, или квадрата, или шестигранника, или мальтийского креста, или многоконечной звезды.
Использование электрических полей со средней напряженностью от 2 до 12 кВ/см обусловлено тем, что при значениях менее 2 кВ/см (которая, обычно, является максимальной величиной для большинства водонефтяных эмульсий) разрушение водных эмульсий кремнийорганических жидкостей проходит очень медленно, либо вовсе незаметно, что с коммерческой точки зрения является неприемлемым. С другой стороны, максимальное значение напряженности 12 кВ/см для режима электросепарации определяется условием начала дробления капли в электрическом поле. Дробление капель также снижает эффективность процесса электросепарации.
Создание в электрическом поле областей электрической неоднородности, характеризуемых градиентом напряженности Е в диапазоне от 1 до 40 кВ/см2, позволяет проводить выделение капель водной фазы под воздействием двух электрических сил: кулоновской (Fq), зависящей в основном от квадрата напряженности поля Е2, и диэлектрической (Fd), возникающей за счет неоднородности электрического поля, определяемой градиентом напряженности Е.
Суммарная электрическая сила, являясь векторной величиной, в процессе электросепарации постоянно меняется, т.к. кулоновская сила при передаче заряда от одной частицы к другой (в случае, если частицы электропроводящие) соответственно меняет направление и величину действующей силы. Визуально можно наблюдать колебание капли по мере перезарядки, и именно в этот момент перезарядки частицы, сталкиваясь, сливаются в более крупные. Влияние диэлектрической силы выражается в воздействии неоднородности электрического поля на частицы любого характера, в том числе и непроводящие. Эта сила всегда направлена в сторону области более высокой напряженности, что способствует повышению локальной концентрации дисперсной фазы в области максимальных значений градиента напряженности. Расчетно-числовая оценка соотношения сил для частиц 1-2 мкм в кремнийорганических жидкостях показывает, что при градиентах электрического поля Е=8÷10 кВ/см2 это соотношение равно 1. При дальнейшем повышении градиента напряженности диэлектрическая сила увеличивается прямо пропорционально увеличению Е и она станет превышать значение кулоновской силы. Визуально можно наблюдать прекращение колебательных движений частиц дисперсной фазы и налипание их на поверхности электродов в местах максимальных значений Е. Увеличение количества налипших на электрод частиц дисперсной фазы приводит к увеличению гидравлических сил, их срывающих, но в более крупных размерах. Для электрообезвоживания кремнийорганических жидкостей область оптимальных соотношений кулоновских и диэлектрических сил, воздействующих на частицу водной фазы, особенно в приэлектродных зонах, при одновременном динамическом воздействии потока эмульсии, проходящей через электрод, и гравитационном отделении укрупненных капель воды, характеризуется значениями электрической неоднородности Е в диапазоне от 1 до 40 кВ/см2.
Величина плотности электрического тока проводимости эмульсии i, как следствие приложенного напряжения к конкретному составу эмульсии при определенной геометрии электродов и межэлектродного пространства и конкретной гидродинамической обстановки, характеризует сложные обменные процессы и тепловые эффекты, сопровождающие взаимодействие капель водной фазы с электродами и друг с другом, их коалесценцию и выделение из сплошной кремнийорганической среды. Оптимальная область величин плотности электрического тока проводимости эмульсии i определена в пределах i=(0,1÷10)·10-6 А/см2. При этом, за пределами указанной области эффективность процесса обезвоживания существенно снижается за счет того, что при более низких значениях i, характерных для низкой обводненности эмульсий, требуется большое время пребывания в электрическом поле, что отрицательно сказывается на габаритах оборудования и, таким образом, понижает эффективность процесса. С другой стороны, более высокие значения i, характерные для эмульсий с высоким обводнением, несколько видоизменяют картину взаимодействия капель водной фазы в электрическом поле. Дело в том, что при сближении капель во внешнем электрическом поле среднее напряжение поля между их ближайшими точками возрастает и может превысить пробивное напряжение разделяющей капли пленки сплошной среды. Это приводит к электрическому пробою между каплями, потенциалы на них выравниваются и силовое воздействие прекращается. С прекращением силового взаимодействия между каплями ослабевает и процесс их коалесценции. Повышение электропроводности эмульсии снижает эффективность ее обработки в электрическом поле, так как ускоряет процесс отекания электрических зарядов с капель водной фазы и, тем самым, снижает величину их силового взаимодействия.
Удельная объемная электрическая мощность wоб (произведение E·i) – это комплексный показатель процесса обезвоживания. Этот показатель имеет вполне реальный физический смысл, означающий энергетический уровень единицы объема межэлектродного пространства, который характеризует, прежде всего, энергетическую емкость процесса. При электрообезвоживании кремнийорганических жидкостей установлена область оптимальных значений wоб, которая составляет величину (1,2÷20)·10-3 Вт/см3. За пределами этой области процесс протекает неэффективно: либо весьма вяло при wоб ниже минимального рекомендуемого значения мощности, либо сопровождается нежелательными эффектами, приводящими к непроизводительным тратам электроэнергии, и даже нарушениями в электропроводящих цепях (искрение на электродах, разогрев проводников и эмульсии и т.п.) – при wоб выше максимального рекомендуемого значения указанного диапазона мощности.
Использование в качестве электродов проволочных сеток, вертикальных струн или стержней обеспечивает возможность прохода эмульсии через электрод и создает в межэлектродном пространстве области локальной неоднородности электрического поля, что, существенно не повышая в целом среднюю напряженность поля, способствует эффективному разделению эмульсии в приэлектродной зоне. При каждом проходе через сетку эмульсия пересекает область высокой локальной неоднородности электрического поля, что существенно интенсифицирует коалесценцию капель водной фазы и, тем самым, повышает эффективность разделения эмульсии.
Вполне понятно, что чем больше отклонение зазора между электродами от эквидистантного и выше кривизна поверхности электродов, тем более неоднородным будет электрическое поле. В случае использования сеток наблюдается особенно значительное увеличение градиента напряженности и, соответственно, диэлектрической силы в зоне сетки на расстоянии размера ячейки сетки. Эффективная работа сетчатого электрода обеспечивается воздействием диэлектрической силы, действующей на каплю в зоне сетчатого электрода, вокруг поверхности проволоки, и чем меньше диаметр проволоки, тем больше градиент напряженности электрического поля и, соответственно, диэлектрическая сила воздействия на каплю. Величина этой силы может значительно превышать кулоновскую силу.
По сравнению с сетками, вертикальные струны и стержни не содержат поперечных элементов конструкции, затрудняющих отекание укрупненных капель водной фазы под действием гравитации, особенно в высоковязких жидкостях. Вертикальная ориентированность струнных и стержневых электродов (в направлении действия сил тяжести) способствует эффективному отводу укрупненных капель из приэлектродной зоны под действием гравитации, не допуская, таким образом, чрезмерной обводненности эмульсии в этой области.
Существо предложенного технического решения поясняется рисунками, приведенными здесь лишь в качестве примера, но никак не ограничения предлагаемого технического решения.
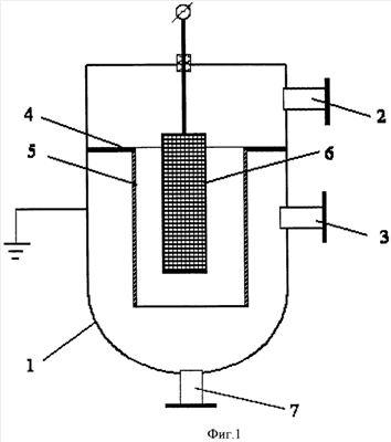
На фигуре 1 изображен один из вариантов электрообезвоживателя в продольном осевом сечении для случая, когда оба электрода выполнены из металлической сетки.
На фигуре 2 показано поперечное сечение электродов для случая, когда внутренний электрод выполнен из ряда вертикальных стержней круглого сечения, расположенных по окружности, а наружный электрод – сплошной.
На фигуре 3 представлен график, показывающий изменение напряженности электрического поля (E) в межэлектродном пространстве по варианту поперечного сечения электродов, изображенному на фигуре 2.
На фигуре 4 показано поперечное сечение электродов для случая, когда внутренний электрод выполнен из ряда вертикальных стержней круглого сечения, расположенных по сторонам треугольника.
На фигуре 5 показано поперечное сечение электродов для случая, когда внутренний электрод выполнен из ряда вертикальных стержней круглого сечения, расположенных по сторонам квадрата.
На фигуре 6 показаны различные возможные варианты (а-с) поперечного сечения электродных стержней.
На Фигуре 7 представлена принципиальная технологическая схема установки, работающей по предлагаемому способу обезвоживания кремнийорганических жидкостей.
Электрообезвоживатель (см. фиг.1) состоит из корпуса 1 с патрубками 2 и 3 для ввода эмульсии и вывода обезвоженной жидкости, соответственно. На диафрагме 4 по оси корпуса (коаксиально) укреплен внешний трубчатый (цилиндрический сетчатый проницаемый) электрод 5, внутри которого, также осесимметрично или асимметрично (асимметричное расположение создает дополнительный градиент напряженности в межэлектродном пространстве) расположен внутренний сетчатый электрод 6, соединенный с источником высокого напряжения. Трубчатый электрод 5, как и корпус в целом, заземлены. Для вывода отделившейся водной фазы внизу аппарата имеется патрубок 7.
Электрообезвоживатель работает следующим образом. Кремнийорганическая жидкость, содержащая диспергированную водную фазу в виде мельчайших капелек, вводится в аппарат через патрубок 2 и попадает в межэлектродное пространство, определяемое зазором между электродами 5 и 6. При подаче высокого электрического напряжения на центральный электрод и заземлении внешнего трубчатого электрода, как показано на фиг.1, в межэлектродном пространстве возникает электрическое поле, характеризуемое напряженностью электрического поля Е. В отличие от плоскопараллельных электродов, где электрическое поле однородно, т.е. напряженность электрического поля одинакова во всех точках пространства между электродами, в данном случае электрическое поле неоднородно (см. фиг.3). Искривление профиля напряженности является следствием кривизны формы электродов (наружные ветви графика) и кривизны поверхности центрального электрода (внутренние ветви графика). Благодаря воздействию электрического поля на частицы диспергированной водной фазы, эти частицы участвуют в сложных процессах обмена зарядов как между частицами, так и между частицами и поверхностью электродов, приводящих к коалесценции мелких частичек в более крупные. Крупные частицы удерживаются поверхностью электродов до тех пор, пока они не вырастут до размеров, достаточно больших для их осаждения в нижнюю часть аппарата, откуда они выводятся через патрубок 7. Обезвоженная в значительной степени кремнийорганическая жидкость выводится из аппарата через патрубок 3.
Примеры
Приведенные ниже примеры (со ссылкой на фигуру 7) показывают возможность реализации непрерывного способа получения обезвоженных кремнийорганических жидкостей (гидролизат ДМДХС, полиметилсилоксановые жидкости и т.д.), в соответствии с предложенным техническим решением, и достижения высоких качественных показателей целевого продукта по содержанию воды. Вполне понятно, что примеры иллюстративны и никак не лимитирующие.
На схеме фигуры 7 выносками обозначены: 1 – емкость обводненной кремнийорганической жидкости, 2 – насос-дозатор, 3 – устройство для обезвоживания кремнийорганической жидкости, 4 – сборник обезвоженной жидкости, 5 – сборник воды, 6 – высоковольтный источник питания, 7 -киловольтметр, 8 – миллиамперметр.
Принцип работы установки станет понятен из описания примеров.
Пример 1.
Получение обезвоженного гидролизата ДМДХС в непрерывном режиме.
Из емкости обводненной кремнийорганической жидкости 1 водная эмульсия гидролизата ДМДХС с содержанием воды 2,0 мас.% подается насосом-дозатором 2 со скоростью 2,0 л/час в верхнюю часть устройства для обезвоживания кремнийорганической жидкости 3. С помощью высоковольтного источника питания 6 на сетчатый центральный электрод устройства 3 подают высокое постоянное напряжение, наружный электрод и корпус аппарата заземляют. При этом между электродами создается средняя напряженность электрического поля Е величиной 5 кВ/см (определялось по показаниям киловольтметра 7 с учетом расстояния между электродами). Конструкция сетчатого электрода обеспечивает в приэлектродной зоне локальный градиент напряженности электрического поля Е=15 кВ/см2 (определение градиента напряженности и соотношения действующих на частицу сил выполняется по известным соотношениям, приведенным, например, в [Логинов В.И. Обезвоживание и обессоливание нефтей. «Химия», М., 1979]). Плотность тока электрической проводимости i составляла 1·10-6 А/см2 (определялась по показаниям миллиамперметра 8 с учетом площадей поверхности электродов). При этом удельная объемная электрическая мощность wоб составила величину 5·10-3 Вт/см3 (произведение Е на i). Из верхней части устройства 3 обезвоженный гидролизат ДМДХС поступает в сборник обезвоженной жидкости 4, из нижней – вода поступает в сборник воды 5.
Обезвоженный гидролизат по данным лабораторных анализов содержит 0,2 мас.% воды.
Пример 2
Обезвоживание полиметилсилоксановой (ПМС) жидкости с вязкостью 25 мм2/с осуществляли с использованием того же оборудования, что и в Примере 1.
Скорость подачи жидкости в устройство 3 составляет 3,5 л/час. Содержание капель воды в ПМС-жикости – 1,5 мас.% (устойчивая эмульсия). Напряженность электрического поля Е составила – 15,0 кВ/см. Геометрические параметры сетки центрального электрода были изменены по сравнению с Примером 1, при этом градиент напряженности электрического поля Е составил величину 8 кВ/см2. Плотность тока электрической проводимости i составляла 0,5·10-6 А/см2. При этом удельная объемная электрическая мощность wоб составила величину 7,5·10-3 Вт/см3.
По данным лабораторных анализов обезвоженная ПМС-жидкость содержит 0,04 мас.% воды.
Таким образом, совокупность отличительных признаков предлагаемого технического решения позволяет создать непрерывный способ обезвоживания кремнийорганических жидкостей, дающий возможность достижения минимальных значений содержания воды в целевом продукте.
Формула изобретения
1. Способ обезвоживания кремнийорганических жидкостей, заключающийся в воздействии на эмульсию, представляющую собой диспергированную водную фазу и непроводящую сплошную среду кремнийорганической жидкости, электрическим полем, таким образом влияя на коалесценцию диспергированной фазы в капли с размерами, пригодными для эффективного гравитационного выделения из сплошной среды, где диспергированная фаза и сплошная среда обладают различными диэлектрическими константами и плотностями, при этом электрическое поле создается постоянным и/или переменным электрическим потенциалом, либо пульсирующим электрическим потенциалом постоянного тока, либо электрическим потенциалом, имеющим характеристики как переменного, так и постоянного тока, приложенным к одному или более электродам, отличающийся тем, что процесс проводят при средней напряженности электрического поля Е от 2 до 12 кВ/см, причем в электрическом поле создают области электрической неоднородности, характеризуемые градиентом напряженности электрического поля Е от 1 до 40 кВ/см2, и при плотности тока электрической проводимости i=(0,1÷10)·10-6 А/см2, при этом удельная объемная электрическая мощность wоб составляет величину (1,2÷20)·10-3 Вт/см3.
2. Устройство для обезвоживания кремнийорганических жидкостей, включающее корпус с патрубком ввода эмульсии, представляющей собой диспергированную водную фазу и непроводящую сплошную среду кремнийорганической жидкости, патрубком вывода обезвоженной кремнийорганической жидкости и патрубком вывода водной фазы, и один или более электроды, размещенные внутри корпуса, при этом к электродам приложен постоянный и/или переменный электрический потенциал, либо пульсирующий электрический потенциал постоянного тока, либо электрический потенциал, имеющий характеристики как переменного, так и постоянного тока, отличающееся тем, что, по меньшей мере, те электроды, к которым приложен электрический потенциал, выполнены проницаемыми для эмульсии, при этом электроды выполнены из электропроводных сеток, свернутых либо в форме тел вращения (оболочковых форм), либо в виде призмы, либо выполненных в виде одного или более рядов вертикальных струн или стержней, расположенных по замкнутой линии.
3. Устройство по п.2, отличающееся тем, что тела вращения представляют собой цилиндр, либо конус, либо шар, либо эллипсоид, либо их сочетание.
4. Устройство по п.2, отличающееся тем, что основание призмы может быть в виде треугольника, либо квадрата, либо четырехугольника, либо ромба, либо пяти- и более/многоугольника.
5. Устройство по п.2, отличающееся тем, что поперечное сечение струн или стержней имеет вид плоской фигуры с развитым периметром.
6. Устройство по п.5, отличающееся тем, что поперечное сечение представляет форму прямоугольника, или уголка, или тавра, или швеллера, или двутавра, или круга, или квадрата, или шестигранника, или мальтийского креста, или многоконечной звезды.
РИСУНКИ
|
|