|
|
(21), (22) Заявка: 2007108721/14, 06.09.2005
(24) Дата начала отсчета срока действия патента:
06.09.2005
(30) Конвенционный приоритет:
07.09.2004 US 60/607,764
(43) Дата публикации заявки: 27.10.2008
(46) Опубликовано: 27.03.2009
(56) Список документов, цитированных в отчете о поиске:
DE 10211391 А, 02.10.2003. CN 2614647 Y, 12.05.2004. RU 2234287 C2, 20.08.2004. RU 2181991 C2, 10.05.2002.
(85) Дата перевода заявки PCT на национальную фазу:
09.04.2007
(86) Заявка PCT:
US 2005/031923 (06.09.2005)
(87) Публикация PCT:
WO 2006/029235 (16.03.2006)
Адрес для переписки:
105215, Москва, Щелковское ш., 48, стр. 1, а/я 26, Н.А.Рыбиной
|
(72) Автор(ы):
ЧАН Джон Джеффри (US), ГАЛЛ Дуглас А. (US)
(73) Патентообладатель(и):
ДЗЕ ПРОКТЕР ЭНД ГЕМБЛ КОМПАНИ (US)
|
(54) ЭЛЕКТРИЧЕСКАЯ ЗУБНАЯ ЩЕТКА
(57) Реферат:
Изобретение относится к области гигиены и предназначено для чистки зубов. Электрическая зубная щетка содержит ручку, головку, имеющую продольную ось и первый и второй держатели щетины, шейку, расположенную между упомянутыми ручкой и головкой, двигатель, расположенный внутри упомянутой ручки, и вал, кинематически связанный с упомянутым двигателем таким образом, что может совершать колебательные движения в поперечном направлении. Вал кинематически связан с упомянутыми первым и вторым держателями щетины для обеспечения поперечных движений упомянутого второго держателя щетины и колебаний упомянутого первого держателя щетины относительно оси, по существу перпендикулярной продольной оси упомянутой головки. Технический результат изобретения заключается в обеспечении разнообразных движений щетины, механической эффективности и компактности конструкции. 11 з.п. ф-лы, 7 ил.
ОБЛАСТЬ ПРИМЕНЕНИЯ
Изобретение относится к электрическим зубным щетках, в частности к зубным щеткам, имеющим качающийся вал.
ПРЕДШЕСТВУЮЩИЙ УРОВЕНЬ ТЕХНИКИ
Известны электрические щетки, использующие различные приводные механизмы. Однако по-прежнему актуальна задача создания электрической зубной щетки, использующей такой приводной механизм, который мог бы обеспечить разнообразные движения держателя щетины, механическую эффективность и имел бы более простую и компактную конструкцию.
В патенте RU 2234287 описана зубная щетка, содержащая ручку, шейку и головку, в которой размещены подвижный держатель щетины, окруженный с двух сторон неподвижной щетиной. В ручке размещен электродвигатель, с выходным валом которого через систему зубчатых колес кинематически связан вращающийся вал, проходящий через шейку к головке щетки. Посредством конических колес вращение вала передается на подвижный держатель щетины. При этом щетина на подвижном держателе более жесткая, чем неподвижная щетина. Такая щетка обеспечивает более глубокую очистку за счет вращающегося подвижного держателя щетины с жесткой щетиной. Однако при пользовании сохраняется необходимость двигать щетку как при чистке зубов обычной щеткой, и, кроме того, конструкция привода, включающая большое количество зубчатых колес, достаточно сложна.
В патенте RU 2181991 описана зубная щетка, содержащая ручку и щеточную часть. В ручке размещен электродвигатель, выходной вал которого посредством зубчатых колес и кривошипного механизма кинематически связан с балансиром, закрепленным в ручке на оси качения и имеющим трубку, выходящую из ручки. За счет указанной кинематической связи свободный конец трубки балансира совершает колебательные движения в направлении, перпендикулярном оси трубки. На трубку посажена щеточная часть, имеющая держатель щетины. Внутри трубки балансира размещен вал, приводимый во вращение посредством шатунного механизма, связанного с упомянутым кривошипным механизмом. На дистальном конце вала установлено коническое зубчатое колесо, кинетически связанное с коническим зубчатым колесом на валу держателя щетины. В итоге держатель щетины может вращаться за счет указанного соединения с валом, а за счет того, что щеточная часть посажена на балансир, может совершать возвратно-поступательные перемещения вдоль оси вращения держателя щетины. Описанная конструкция обеспечивает одновременное вращательное и возвратно-поступательное движение держателя щетины, что способствует лучшему очищению зубов, однако указанный результат достигается за счет сложного кинематического механизма. Кроме того, двигатель должен быть достаточной мощности, чтобы проворачивать весь механизм и обеспечивать возвратно-поступательные перемещения всей щеточной части. Соответственно, это ведет к увеличению габаритов конструкции и энергопотребления.
Технической задачей, на решение которой направлено заявляемое изобретение, является создание зубной щетки, обеспечивающей разнообразные перемещения щетины и имеющей при этом простую и компактную конструкцию.
СУЩНОСТЬ ИЗОБРЕТЕНИЯ
Заявлена электрическая зубная щетка. Электрическая зубная щетка имеет ручку, головку с первым и вторым держателями щетины и продольной осью и шейку, расположенную между ручкой и головкой. Двигатель расположен внутри ручки. Вал кинематически связан с двигателем. Вал качается в поперечном направлении и кинематически связан с первым и вторым держателями щетины, при этом он приводит второй держатель щетины в движение в поперечном направлении и вызывает поворот первого держателя щетины вокруг оси, по существу перпендикулярной продольной оси головки.
КРАТКОЕ ОПИСАНИЕ ЧЕРТЕЖЕЙ
Сущность изобретения поясняется чертежами, на которых представлено:
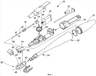
Фиг.1 – детальное трехмерное изображение электрической щетки, выполненной в соответствии с заявляемым изобретением;
Фиг.2 – вид сверху вала, втулки-вкладыша и ведомого зубчатого колеса электрической зубной щетки, изображенной на Фиг.1;
Фиг.3 – вид сбоку головки зубной щетки, изображенной на Фиг.1;
Фиг.4 – вид сверху головки, изображенной на Фиг.3;
Фиг.5 – вид сверху другого варианта головки, пригодной к использованию в зубной щетке, изображенной на Фиг.1;
Фиг.6 – вид сбоку первого держателя щетины зубной щетки, изображенной на Фиг.1,
Фиг.7 – другой вид сбоку первого держателя щетины, изображенного на Фиг.6.
ПОДРОБНОЕ ОПИСАНИЕ ИЗОБРЕТЕНИЯ
Различные примеры заявляемого изобретения, показанные на чертежах, имеют одну и ту же нумерацию для элементов на всех представленных видах. Опишем электрическую зубную щетку 20, представленную на Фиг.1. Электрическая зубная щетка 20 содержит ручку 22, шейку 24 и головку 26. Шейка 24 может быть выполнена и как самостоятельный элемент, и как единое целое с ручкой 22. Ручка 22 имеет колпачок 28, который имеет резьбовое соединение с ручкой 22. Электрический двигатель 30 расположен внутри ручки 22 вместе с источником питания. Источник питания может быть выполнен в виде одной или более батареек 32, которые помещены в лоток 34, выполненный внутри ручки 22. Двигатель 30 имеет вращаемый выходной вал и закрепленное на нем зубчатое колесо 38. Зубчатое колесо 38 приводит в действие ведомое зубчатое колесо 40, которое в свою очередь кинематически связано с валом 42, снабженным элементом сочленения 44 с продолговатым пазом 45 и который приводится в действие с помощью установленного эксцентрично стержня 41 зубчатого колеса 40. Паз 45 выполнен вдоль продольной оси вала 42. Вал 42 содержит втулку-вкладыш 46, которая фиксированно установлена внутри ручки 22 или шейки 24. Втулка-вкладыш 46 может быть выполнена из любого эластичного материала, который позволяет валу 42 качаться относительно нее. К числу пригодных материалов относятся эластомерные полимеры, такие как натуральная или искусственная резина. Втулка-вкладыш 46 действует как опора, относительно которой вал 42 качается. Для достижения желаемой величины поперечных движений конца вала 42, расположенного рядом с головкой 26, размещение втулки-вкладыша 46 может варьироваться вдоль длины вала 42. Когда зубчатое колесо 40 вращается, вал 42 совершает движения относительно втулки-вкладыша 46 в поперечном направлении, как это хорошо видно на Фиг.2. Поперечное движение вала 42 осуществляется в основном или полностью в одной плоскости.
Головка 26 имеет первый свободный конец 48 и второй конец 50, который входит в зацепление с шейкой 24. Головка содержит один или несколько держателей щетины. Электрическая щетка 20 содержит два держателя щетины. Первый держатель 52 расположен рядом с первым концом 48 головки, а второй держатель 54 – рядом со вторым концом 50 головки, при этом нижние поверхности первого и второго держателей щетины соприкасаются с верхней поверхностью головки. Первый держатель 52 щетины колеблется относительно оси 56, которая по существу перпендикулярна продольной оси 58 головки 26, как это видно на Фиг.3. Второй держатель 54 щетины совершает возвратно-поступательные движения в поперечном направлении, т.е. совершает движения в направлении, перпендикулярном продольной оси головки, как это видно на Фиг.4. Несмотря на то, что изображенные на Фиг.4 движения по существу перпендикулярны продольной оси головки 26, предполагается, что держатель 54 щетины может производить и другие поперечные движения. Например, второй держатель 54 щетины может колебаться или качаться относительно оси поворота, выполненной в виде шпильки или штыря 53. Упомянутые шпилька или штырь 53 могут быть размещены в разных местах на втором держателе 54 щетины, как например, на другом его конце или в середине, что обеспечивает различные типы движения в поперечном направлении.
Вал 42 проходит через выступ 60 второго держателя 54 щетины. Выступ 60 имеет прорезь 62, через которую проходит часть вала 42. Выступ 60 помещают в прорезь 64 головки 26, которая направляет держатель 54 при выполнении им поперечных движений. Конец 66 вала 42 кинематически входит в зацепление с прорезью 64 (Фиг.6 и Фиг.7) первого держателя 52 щетины для обеспечения колебательных движений первого держателя 52 щетины вокруг оси 56.
Важно заметить, что любые описанные здесь признаки, аспекты и детали любого метода и/или продукта могут использоваться в сочетании, полностью или частично, с любыми другими признаками, аспектами и деталями одного или нескольких других описанных здесь методов или продуктов.
Поскольку изобретение детально описано и проиллюстрировано, то для специалиста в данной области очевидно, что в соответствии с сущностью изобретения могут быть осуществлены различные изменения и модификации. Именно поэтому в прилагаемых пунктах формулы изобретения отражены такие изменения и модификации, которые лежат в рамках сущности изобретения.
На все документы, приводимые выше, даны ссылки; цитирование любого документа не следует истолковывать как признание того, что они представляют уровень техники по отношению к изобретению.
Формула изобретения
1. Электрическая зубная щетка, содержащая ручку, головку, имеющую продольную ось и первый и второй держатели щетины, шейку, расположенную между упомянутыми ручкой и головкой, двигатель, расположенный внутри упомянутой ручки, и вал, кинематически связанный с упомянутым двигателем таким образом, что может совершать колебательные движения в поперечном направлении, при этом вал кинематически связан с упомянутыми первым и вторым держателями щетины для обеспечения поперечных движений упомянутого второго держателя щетины и колебаний упомянутого первого держателя щетины относительно оси, по существу перпендикулярной продольной оси упомянутой головки.
2. Электрическая зубная щетка по п.1, у которой упомянутый второй держатель щетины совершает движения в основном перпендикулярные относительно упомянутой продольной оси упомянутого второго держателя щетины.
3. Электрическая зубная щетка по п.1, у которой упомянутый второй держатель щетины дополнительно содержит ось поворота, относительно которой упомянутый второй держатель щетины совершает поперечные движения.
4. Электрическая зубная щетка по п.1, которая дополнительно содержит втулку-вкладыш, при этом упомянутый вал проходит сквозь втулку-вкладыш и качается относительно нее.
5. Электрическая зубная щетка по п.4, у которой упомянутая втулка-вкладыш расположена приблизительно в середине по длине упомянутого вала.
6. Электрическая зубная щетка по п.4, у которой упомянутый вал совершает поперечные движения в основном в одной плоскости.
7. Электрическая зубная щетка по п.4, у которой упомянутая втулка-вкладыш выполнена из эластомерного полимера.
8. Электрическая зубная щетка по п.4, у которой нижние поверхности упомянутых первого и второго держателей щетины соприкасаются с верхней поверхностью упомянутой головки.
9. Электрическая зубная щетка по п.4, у которой второй держатель щетины содержит выступ, который проходит через отверстие в упомянутой головке.
10. Электрическая зубная щетка по п.9, у которой упомянутый вал входит в зацепление с упомянутым выступом упомянутого второго держателя щетины и входит в зацепление с частью упомянутого первого держателя щетины.
11. Электрическая зубная щетка по п.9, у которой упомянутый второй держатель щетины расположен между упомянутым первым держателем щетины и упомянутой шейкой.
12. Электрическая зубная щетка по п.1, у которой упомянутая ручка содержит, по меньшей мере, одну батарейку.
РИСУНКИ
|
|