|
|
(21), (22) Заявка: 2007143001/14, 22.11.2007
(24) Дата начала отсчета срока действия патента:
22.11.2007
(46) Опубликовано: 27.03.2009
(56) Список документов, цитированных в отчете о поиске:
Адрес для переписки:
109382, Москва, а/я 16, пат.пов. А.А.Слыхову
|
(72) Автор(ы):
Ефименко Николай Алексеевич (RU), Грицюк Андрей Анатольевич (RU), Середа Андрей Петрович (RU)
(73) Патентообладатель(и):
Ефименко Николай Алексеевич (RU), Грицюк Андрей Анатольевич (RU), Середа Андрей Петрович (RU)
|
(54) СПОСОБ ЛЕЧЕНИЯ ДЕФЕКТОВ КОСТЕЙ ПРЕДПЛЕЧЬЯ
(57) Реферат:
Изобретение относится к травматологии и ортопедии и может быть применимо для лечения дефектов костей предплечья. Производят пластику малоберцовым трансплантатом на перонеальных сосудах с фиксацией пластиной. Пластина имеет продольные овальные отверстия, удаленная от центра пластины гладкая наклонная к центру отверстия поверхность которых выполнена с возможностью смещения головки установочного шурупа к центру отверстия при вворачивании установочного шурупа в кость, а на ориентированной к центру пластины поверхности отверстий выполнена резьба. Фиксируют трансплантат в средней части пластины блокирующими винтами, имеющими на своей головке резьбу. Помещают между пластиной и реципиентной костью спицы толщиной от 1,5 мм по обе стороны от торцов трансплантата. Ввинчивают установочные шурупы у наклонной поверхности ближайших к трансплантату отверстий пластины, фиксируя пластину к реципиентной кости. Перемещают кости до сжатия ими трансплантата за счет смещения реципиентной кости при соскальзывании головки установочного шурупа по наклонной части отверстия. Вворачивают в оставшиеся отверстия пластины над реципиентной костью блокирующие винты. Вынимают спицы и установочные шурупы. Вворачивают блокирующие винты сквозь освободившиеся после удаления установочных шурупов отверстия в пластине в обе части реципиентной кости предплечья. Способ позволяет уменьшить давление фиксатора на надкостницу, обеспечить стабильную фиксацию. 25 ил.
Изобретение относится к области медицины, а именно к травматологии и ортопедии при лечении дефектов предплечья, и может быть использовано при лечении дефектов других костей.
Известен способ лечения дефектов костей предплечья, включающий в себя ориентирование и фиксацию частей кости предплечья и сопряженного с ними костного фрагмента или трансплантата с использованием винтовых стержней (патент США №4273116, НКИ 606-54, 1981 г.).
Недостатком известного способа является нарушение функции мышц и сухожилий при длительной фиксации спицами, нарушение пронационно-супинационной функции предплечья, наличие входных ворот для проникновения инфекции, снижение качества жизни пациента и психологические трудности при проведении восстановительного этапа лечения по причине громоздкости применяемого аппарата внешней фиксации и длительная послеоперационная иммобилизация. Кроме того, при использовании известного способа возникают технические трудности при выполнении микрососудистого этапа операции, связанные с тем, что чрезвычайно сложно качественно выполнить шов сосудов при создаваемых помехах рукам хирурга аппаратом внешней фиксации.
Наиболее близким к предложенному способу является способ лечения дефектов костей предплечья, включающий в себя васкуляризированную микрососудистую пластику малоберцовым трансплантатом на перонеальных сосудах с последующей фиксацией соединяемых костей аппаратом внешней фиксации (патент РФ №2062064, МПК А61 В 17/56, 1993.06.23).
Данному способу присущи те же недостатки, что и приведенному выше способу, а именно: нарушение функции мышц и сухожилий при длительной фиксации спицами, нарушение пронационно-супинационной функции предплечья, наличие входных ворот для проникновения инфекции, снижение качества жизни пациента и психологические трудности при проведении восстановительного этапа лечения по причине громоздкости применяемого аппарата внешней фиксации. Кроме того, при использовании известного способа возникают технические трудности при выполнении микрососудистого этапа операции, связанные с тем, что чрезвычайно сложно качественно выполнить шов сосудов при создаваемых помехах рукам хирурга аппаратом внешней фиксации.
Технический результат от использования заявленного способа заключается в обеспечении благоприятных условий для приживления трансплантата и профилактике нарушения функции сухожилий и мышц: стабильная фиксация трансплантата, создание билокальной торцевой компрессии реципиентной кости и трансплантата; минимизация давления фиксатора на надкостницу; отсутствие послеоперационной иммобилизации; отсутствие препятствия движениям мышц и сухожилий в виде спиц аппарата внешней фиксации, отсутствие входных ворот для инфекции и повышение уровня качества жизни пациента за счет отсутствия внешней фиксации.
Указанный технический результат достигается за счет того, что в способе лечения дефектов костей предплечья, включающем в себя васкуляризированную микрососудистую пластику малоберцовым трансплантатом на перонеальных сосудах с последующей фиксацией соединяемых костей, фиксацию соединяемых костей осуществляют пластиной с продольными овальными отверстиями, состоящими из двух частей, удаленная от центра пластины гладкая наклонная поверхность которых выполнена с возможностью смещения головки установочного шурупа к центру пластины при его вворачивании в кость, на ориентированной к центру пластины поверхности отверстий выполнена резьба, которая при взаимодействии с резьбой головки блокирующего винта обеспечивает угловую стабильность винта. Трансплантат фиксируют в средней части пластины блокируемыми винтами, получая при этом минимальную силу давления пластины на надкостницу. Затем прикрепляют пару «пластина-трансплантат» к реципиентной кости предплечья двумя установочными шурупами, которые эксцентрично завинчивают у наклонной поверхности ближайших к трансплантату отверстий пластины по обе стороны от трансплантата, предварительно между пластиной и костью предплечья по обе стороны от торцов трансплантата поперечно их оси вставляются спицы толщиной от 1,5 мм. Осуществляют торцевую компрессию трансплантата и реципиентной кости вследствие осевого смещения реципиентной кости по направлению к трансплантату при завинчивании установочного шурупа. После этого в оставшиеся отверстия пластины, расположенные над реципиентной костью предплечья, завинчивают блокирующие винты, выполняя таким образом стабилизацию торцевой компрессии с минимальным давлением пластины на надкостницу. После удаления установочных шурупов сквозь освободившиеся отверстия в пластине в обе части дефектной кости предплечья вворачивают упомянутые блокирующие винты.
Сравнение заявленного технического решения с уровнем техники, известным из научно-технической и патентной документации на дату приоритета в основной и смежной рубриках, не выявило способ, которому присущи признаки, идентичные всем признакам, содержащимся в предложенной заявителем формуле изобретения, включая характеристику назначения. Т.е. совокупность существенных признаков заявленного решения ранее не была известна и не тождественна каким-либо известным техническим решениям, следовательно, оно соответствует условию патентоспособности «новизна».
Заявленное техническое решение промышленно применимо, поскольку оно может быть реализовано промышленным способом при производстве медицинского оборудования и осуществимо и воспроизводимо в процессе осуществления способа, а отличительные признаки способа позволяют получить заданный технический результат, т.е. являются существенными.
Анализ известных технических решений в области изобретения показал, что предложенный способ не следует для специалиста явным образом из уровня техники, поскольку не выявлены решения, имеющие признаки, совпадающие с отличительными признаками изобретения, и не подтверждена известность влияния отличительных признаков на указанный в материалах заявки технический результат. Т.е. заявленное решение имеет признаки, которые отсутствуют в известных технических решениях, а использование этих признаков в заявленной совокупности существенных признаков дает возможность получить новый технический результат, следовательно, предложенное техническое решение может быть получено только путем творческого подхода и неочевидно для среднего специалиста в этой области, т.е. соответствует условию патентоспособности изобретения «изобретательский уровень».
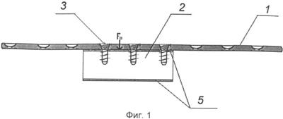
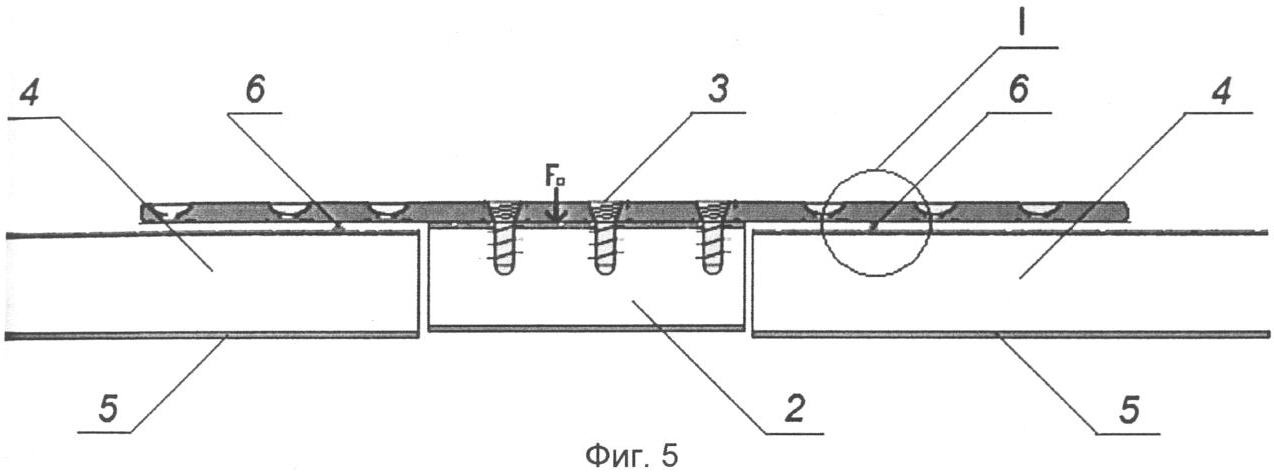
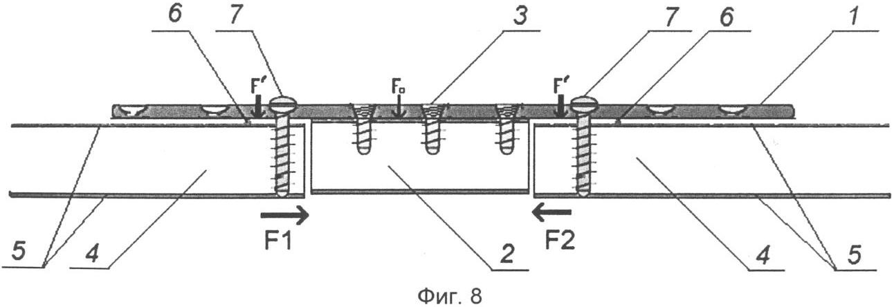
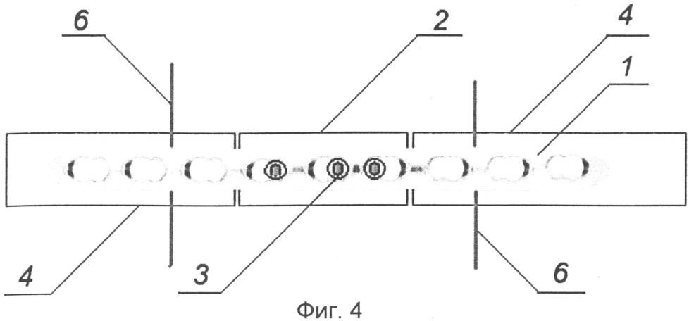
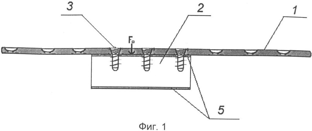
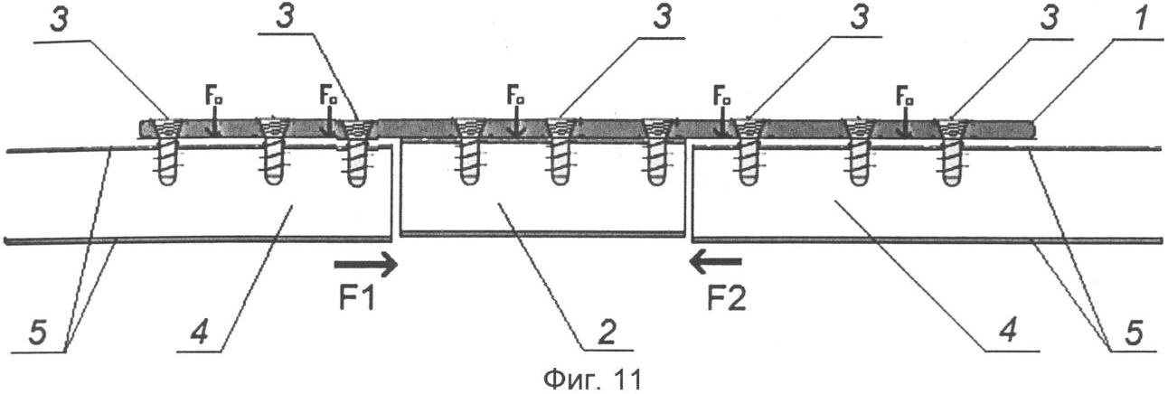
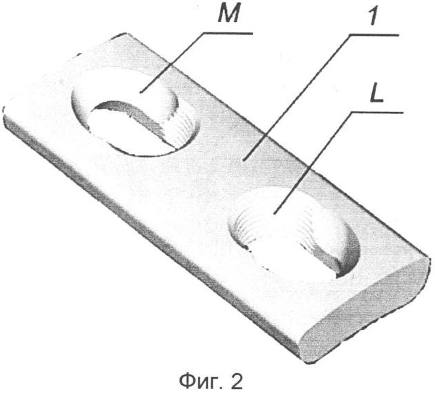
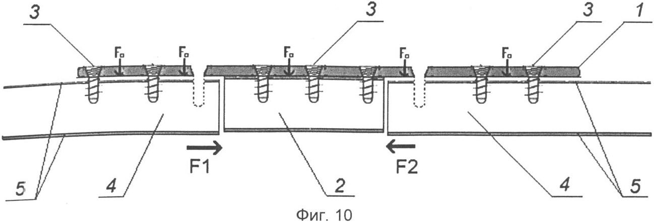
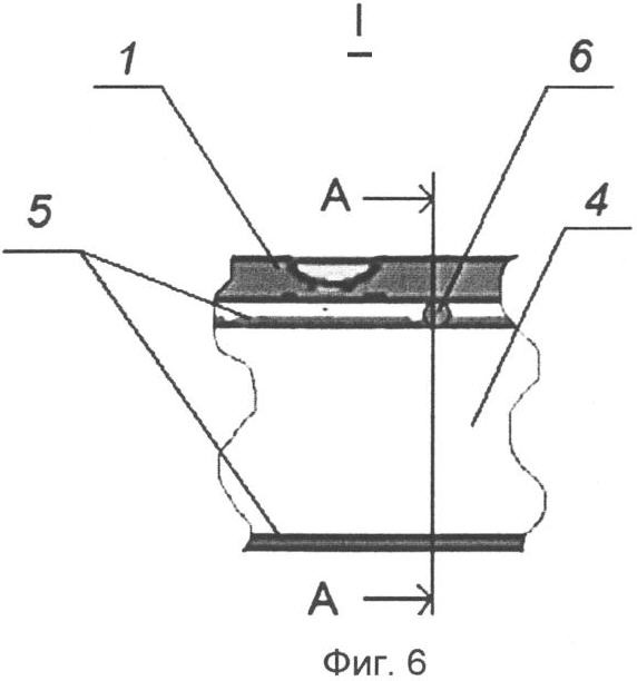
Реализация заявленного способа иллюстрируется чертежами, где на фиг.1 показано формирование пары «пластина-трансплантат» с помощью блокирующих винтов вне реципиентного ложа; на фиг.2 – внешний вид пластины; на фиг.3 условно совмещены в одном отверстии установочный шуруп и блокирующий винт; на фиг.4 – вид сверху на трансплантат, фиксированный блокирующими винтами к пластине и помещенный в реципиентное ложе, между реципиентной костью и пластиной помещены спицы; на фиг.5 – создание пары «пластина-трансплантат» в реципиентном ложе с фиксацией трансплантата блокирующими винтами; на фиг.6 – вид I на фиг.5; на фиг.7 – сечение А-А на фиг.5; на фиг.8 – создание билокальной компрессии; на фиг.9 – пластина с установочными шурупами и блокирующими винтами; на фиг.10 – удалены компрессирующие винты, освободившиеся отверстия пластины оставлены незаполненными, спицы удалены; на фиг.11 – введение блокирующих винтов вместо установочных шурупов, спицы удалены; на фиг.12 изображены внешний вид конечности до операции; на фиг.13 – рентгенограмма, прямая проекция – остеомиелит, дефект лучевой кости; на фиг.14 – рентгенограмма, боковая проекция – остеомиелит, дефект лучевой кости; на фиг.15 представлена предоперационная разметка реципиентного места; на фиг.16 – интраоперационное измерение длины дефекта; на фиг.17 – вид малоберцового трансплантата; на фиг.18 – фиксация малоберцового трансплантата пластиной; на фиг.19 – микрососудистый шов артерии по типу «конец-в-бок» и вены по типу «конец-в-конец»; на фиг.20 – рентгенограмма, прямая проекция, трансплантат фиксирован пластиной; на фиг.21 – то же, боковая проекция; на фиг.22 – функция кисти через пять месяцев после операции, нейтральное положение в лучезапястном суставе и разгибание пальцев; на фиг.23 – то же, сжатие в кулак; на фиг.24 – то же, разведение пальцев кисти; на фиг.25 – то же, противопоставление большого пальца и мизинца.
Для использования способа реципиентное ложе подвергают хирургической обработке путем иссечения рубцов и нежизнеспособных тканей, выделяют и подготавливают к анастомозированию реципиентные кровеносные сосуды. После этого формируют малоберцовый трансплантат на питающей перонеальной артерии. Малоберцовую кость используют ввиду того, что ее диаметр соответствует диаметру костей предплечья. Длина костной части трансплантата должна быть равна длине дефекта кости предплечья, при наличии дефекта обеих костей предплечья длина костной части трансплантата должна быть равна сумме длин дефектов. Выполняют послойное закрытие донорского места. Костную часть трансплантата фиксируют в реципиентном ложе дефекта пластиной с получением минимальной силы давления пластины на надкостницу и созданием билокальной торцевой компрессии благодаря предложенному способу поэтапного распределения усилий при проведении операции.
Сначала выполняется создание пары «трансплантат-пластина», для чего к пластине 1 прикрепляется трансплантат 2 блокирующими винтами 3, введенными в резьбовую часть L отверстия пластины. Эту фиксацию можно выполнять вне реципиентного ложа после проверки соответствия оси и размеров трансплантата и реципиентной кости 4. При сомнениях в соответствии оси и размера трансплантата 2, реципиентной кости 4 и пластины 1 создание пары осуществляют в реципиентном ложе. Сила F0 давления пластины на надкостницу 5 при этом минимальна.
Затем между пластиной 1 и реципиентной костью 4 подкладывают спицы 6 (могут быть использованы металлические спицы) диаметром от 1,5 мм по обе стороны от трансплантата 2, благодаря использованию которых гарантируется сохранность надкостницы 5 при креплении пластины 1 к кости 4.
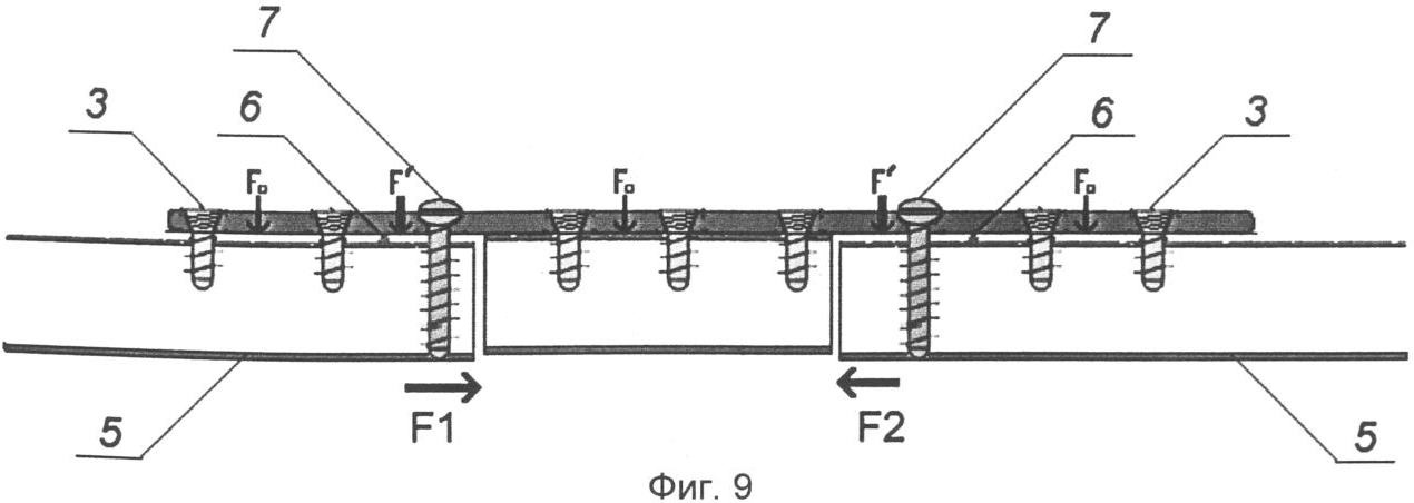
Далее последовательно по обе стороны от торцов трансплантата 2 в наклонную часть М ближайших к трансплантату 2 отверстий эксцентрично вводят установочные шурупы 7, фиксируя пластину 1 к реципиентной кости 4. Компрессия между торцами трансплантата 2 и реципиентной кости 4 получается за счет осевого смещения реципиентной кости при соскальзывании головки установочного шурупа по наклонной части отверстия М. При этом сила F’ компрессии «пластина-спица» в области установочных шурупов 7 избыточна, и в случае отсутствия спицы будет нарушаться кровоснабжение. В результате этого этапа получают билокальную компрессию силами F1 и F2.
На следующем этапе в оставшиеся отверстия пластины 1 вводят блокирующие винты 2. Целью этого этапа является консервирование билокальной компрессии силами F1 и F2. При этом получают минимальную силу давления пластины на надкостницу F0.
После этого устраняют избыточную силу компрессии F’ путем удаления установочных шурупов 7 и спиц 6. В освободившиеся отверстия пластины в их резьбовые части L вводят блокирующие винты 3. При этом сохраняются силы билокальной торцевой компрессии F1 и F2 и на всем протяжении пластины 1 существует сила F0. Если при выполнении этого этапа возникает угроза раскалывания реципиентной кости 4, то следует ограничиться только удалением установочных шурупов 7. В последнем случае также сохраняются силы F1 и F2 и действует сила F0 за счет упругих свойств пластины 1 и надкостницы 5.
После фиксации трансплантата 4 в реципиентном ложе выполняют микрососудистый этап операции, в ходе которого выполняют анастомоз артерий и вен, после чего подшивают края трансплантата к реципиентному ложу. Если используется лоскут с кожной частью, то операцию на этом заканчивают, в противном случае выполняют закрытие лоскута расщепленным кожным трансплантатом.
Непосредственно после перевода пациента из отделения реанимации приступают к активизации конечности.
Реализация способа иллюстрируется следующим примером.
Пациент Ф. получил открытый оскольчатый перелом обеих костей предплечья в дорожно-транспортном происшествии при боевых действиях. ПХО выполнено в госпитале МЧС «Защита», после чего рана ушита наглухо. Раневой процесс осложнился остеомиелитом, сформировался свищ, после неоднократных некрэктомий сформировался дефект лучевой кости 6 см и лучевая косорукость (фиг.12, фиг.13, фиг.14). После предоперационного планирования (фиг.15 – вид предплечья перед операцией, в центре дефекта лучевой кости предплечья виден свищ) выполнено иссечение рубцов, некрэктомия и резекция пораженной остеомиелитическим процессом части лучевой кости на протяжении 7 см (фиг.16), на голени взят васкуляризированный малоберцовый трансплантат (фиг.17) и фиксирован пластиной по описанной последовательности введения и замены винтов и спиц (фиг.18). После фиксации трансплантата выполнен микрососудистый этап операции (фиг.19).
В послеоперационном периоде раны зажили благодаря полученной стабильной фиксации, активизация правой верхней конечности разрешена раньше срока консолидации трансплантата в реципиентном ложе. Трансплантат сросся через 4 месяца после операции (фиг.20, фиг.21), функция кисти восстановлена (фиг.22-25 – через пять месяцев после операции). Лечебный эффект использования данного способа подтвержден результатами осуществленных операций семи пациентов с хорошими результатами.
Использование данного изобретения позволит исключить период послеоперационной иммобилизации при сокращении времени восстановительного лечения и повышении уровня качества жизни пациента в процессе восстановительного лечения.
Формула изобретения
Способ лечения дефектов костей предплечья, включающий пластику малоберцовым трансплантатом на перонеальных сосудах с последующей фиксацией, отличающийся тем, что фиксацию осуществляют пластиной с продольными овальными отверстиями, удаленная от центра пластины гладкая наклонная к центру отверстия поверхность которых выполнена с возможностью смещения головки установочного шурупа к центру отверстия при вворачивании установочного шурупа в кость, а на ориентированной к центру пластины поверхности отверстий выполнена резьба, при этом трансплантат фиксируют в средней части пластины блокирующими винтами, имеющими на своей головке резьбу, далее помещают между пластиной и реципиентной костью спицы толщиной от 1,5 мм по обе стороны от торцов трансплантата, далее ввинчивают установочные шурупы у наклонной поверхности ближайших к трансплантату отверстий пластины, фиксируя пластину к реципиентной кости, затем перемещают кости до сжатия ими трансплантата за счет смещения реципиентной кости при соскальзывании головки установочного шурупа по наклонной части отверстия, после этого в оставшиеся отверстия пластины над реципиентной костью вворачивают блокирующие винты, после чего вынимают спицы и установочные шурупы, далее сквозь освободившиеся после удаления установочных шурупов отверстия в пластине в обе части реципиентной кости предплечья также вворачивают блокирующие винты.
РИСУНКИ
|
|