|
|
(21), (22) Заявка: 2007111290/14, 27.03.2007
(24) Дата начала отсчета срока действия патента:
27.03.2007
(43) Дата публикации заявки: 10.10.2008
(46) Опубликовано: 27.03.2009
(56) Список документов, цитированных в отчете о поиске:
RU 2168206 C1, 27.05.2001. US 5528355 A, 18.06.1996. US 5825474 A, 20.10.1998. КУХАРЕВ Г.А. Биометрические системы. Методы и средства идентификации личности человека. – СПб.: Политехника, 2001, с18-42. RU 71234 U1, 10.03.2008.
Адрес для переписки:
456318, Челябинская обл., г. Миасс, ул. Луначарского, 4, стр.1, ЗАО “СОНДА Технолоджи”
|
(72) Автор(ы):
Баженов Сергей Александрович (RU), Гудков Владимир Юльевич (RU), Струц Виктор Григорьевич (RU)
(73) Патентообладатель(и):
Закрытое акционерное общество “СОНДА Технолоджи” (RU)
|
(54) УСТРОЙСТВО ДЛЯ РЕГИСТРАЦИИ ПАПИЛЛЯРНОГО УЗОРА
(57) Реферат:
Изобретение относится к области оптического формирования изображения папиллярных узоров и может быть использовано в криминалистике для идентификации личности. Устройство содержит последовательно расположенные и оптически связанные источник сканирующего излучения, оптическую систему формирования потока излучения, выпуклое оптически прозрачное основание, проекционную оптическую систему и приемник отраженного излучения, соединенный с блоком обработки. При этом выпуклое основание выполнено в виде тела вращения, геометрические параметры которого определяются соотношением (R-r)R=0.7-0.995, где R – радиус образующей тела вращения, r – радиус миделева сечения тела вращения. Технический результат достигается благодаря подбору формы поверхности тела вращения, обеспечивающей гарантированно полный объем изображения при его высоком качестве. 1 ил.
Настоящее изобретение относится к области оптического формирования изображения с использованием вычислительной техники, в частности к устройствам для получения дактилоскопических карт, используемых правоохранительными органами для идентификации личности.
Известны аналоги предлагаемого изобретения, например, устройство для регистрации папиллярного узора, описанное в патенте РФ №2218866, МПК7 А61В 5/117 (опубликован в 2003 г.), содержащее трехгранную призму, одна из граней которой является воспринимающей отпечатки пальцев поверхностью, оптически связанные между собой источник света, проекционную систему и систему фотоприемных элементов, а также электронный блок обработки сигнала, электрически связанный с системой фотоприемных элементов. При этом призма имеет в сечении форму неравнобедренного прямоугольного треугольника, грань меньшего катета является воспринимающей поверхностью, грань большего катета является входной и одновременно выходной гранью, грань гипотенузы образует с воспринимающей поверхностью острый угол величиной 60-75°, а проекционная система, источник света и система фотоприемных элементов расположены напротив грани большего катета призмы. Недостатком аналога является то, что он позволяет получать изображение папиллярных узоров пальцев. Для получения изображения отпечатка ладони размеры призмы устройства аналога должны быть существенно увеличены, что приведет к существенному увеличению габаритов устройства и его стоимости.
Известно также устройство для регистрации папиллярного узора, позволяющее получать изображение отпечатка ладони, которое описано в патенте РФ №2190352, МПК 7 А61В 5/117 (опубл. в 2002 г.). Устройство содержит воспринимающую отпечатки пальцев (либо ладоней) поверхность, оптически связанные между собой проекционную оптическую систему и систему фотоприемных элементов, выполненные с возможностью синхронного перемещения и размещенные под воспринимающей отпечатки поверхностью и блок обработки изображений, электрически связанный с системой фотоприемных элементов. При этом отклоняющаяся оптическая система погружена в иммерсионную жидкость, заполняющую кювету, верхней стороной которой является воспринимающая отпечатки поверхность, а проекционная оптическая система, источник света и система фотоприемных элементов размещены под отклоняющей оптической системой и механически связаны с ней. Недостатком данного устройства является то, что поверхность ладони имеет впадины, вследствие чего на изображении отпечатка ладони, получаемого с помощью данного устройства, могут быть пустоты и разрывы изображения, что усложняет задачу идентификации личности из-за потери информации.
В качестве прототипа заявляемого устройства выбрано устройство для сканирования рисунка кожных линий, описанное в способе по патенту РФ №2168206, МПК 7 G06K 9/00, А61В 5/117 (опубл. 27.05.2001 г.). Устройство содержит установленное на неподвижной опоре выпуклое прозрачное для сканирующего излучения основание и неподвижно установленные с соответствующих сторон области контакта основания с анализируемой частью тела источник и приемник излучения. При этом выпуклое основание выполнено в виде цилиндра с возможностью вращения вокруг оси, фиксированной относительно неподвижной опоры, для поворота на угол, обеспечивающий по меньшей мере полное перемещение помещенной на него анализируемой части тела относительно потока сканирующего излучения. Прототип обеспечивает более полное прилегание исследуемой поверхности ладони к цилиндрическому основанию, однако из-за наличия впадин на поверхности ладони изображение отпечатка ладони может иметь пустоты, что и является недостатком данного устройства.
Задачей, решаемой настоящим изобретением, является исключение возможных пустот в изображении отпечатка ладони и получение гарантированно полного изображения.
Достигается это тем, что в устройстве для регистрации папиллярного узора, содержащем последовательно расположенные и оптически связанные между собой источник сканирующего излучения, оптическую систему формирования потока сканирующего излучения, выпуклое прозрачное для сканирующего излучения основание, предназначенное для размещения на нем исследуемой части тела, проекционную оптическую систему и приемник отраженного излучения, электрически соединенный с блоком обработки, при этом выпуклое основание установлено на неподвижной опоре и выполнено с возможностью вращения вокруг своей оси для поворота на угол, обеспечивающий перемещение размещенной на выпуклом основании анализируемой части тела по меньшей мере на величину сканируемого участка относительно потока сканирующего излучения, выпуклое основание выполнено в виде тела вращения, геометрические параметры которого определяются из соотношения:
(R-r)/R=0.7-0.995,
где R – радиус образующей тела вращения, r – радиус миделева сечения тела вращения.
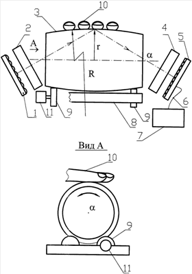
Суть предлагаемого технического решения поясняется на чертеже, где приведен продольный разрез устройства.
Устройство для регистрации папиллярного узора (один из вариантов исполнения) содержит последовательно расположенные и оптически связанные между собой источник 1 сканирующего излучения, который может быть выполнен в виде матрицы либо линейки светодиодов, оптическую систему 2 (показана условно), формирующую плоский поток сканирующего излучения (поток на чертеже показан стрелками), выпуклое оптически прозрачное для сканирующего излучения основание 3, предназначенное для размещения на нем анализируемой части тела, например ладони (на чертеже показаны пальцы 10 ладони), проекционную оптическую систему 4 (показана условно) и приемник 5 отраженного от внутренней поверхности основания 3 сканирующего излучения. Приемник 5 может быть выполнен в виде матрицы либо линейки фотодиодов и соединяется с помощью электрической связи 6 (например, кабеля) с блоком обработки 7, в качестве которого обычно используется ПЭВМ. Выпуклое основание 3 установлено на неподвижной опоре 8 (в простейшем случае опорой может быть жесткая прямоугольная рамка) с возможностью вращения вокруг оси в ту или другую сторону. Возможность вращения выпуклого основания 3 вокруг оси могут обеспечивать, например, ролики 9, которые крепятся к опоре 8 и выполнены с возможностью вращения вокруг своих осей.
Выпуклое основание 3 выполнено в виде тела вращения, геометрические параметры которого определяются из соотношения
(R-r)/R=0.7-0.995,
где R – радиус образующей тела вращения, r – радиус миделева сечения тела вращения (максимальное значение величины r на продольном разрезе тела вращения, см. чертеж). Отметим, что при R=r тело вращения превращается в шар, а при R тело вращения становится цилиндром. Диапазон 0.7-0.995 изменения геометрических параметров основания 3 охватывает особенности строения ладони, начиная с детского возраста человека до зрелого, а также учитывает особенности строения ладони для людей различных национальностей.
Оптическая система 2 формирует поток сканирующего излучения от источника 1 плоским, проходящим через ось вращения , так что линия его падения на боковую сторону тела вращения 3 расположена вдоль оси тела вращения 3 и представляет собой на боковой стороне тела вращения 3 узкую полоску (линию) излучения, которая перемещается по образующей тела вращения 3 при его вращении вокруг оси . Источник 1 и приемник 5 сканирующего излучения выбираются так, чтобы обеспечить их спектральное согласование, т.е. чтобы излучение источника 1 воспринималось приемником 5 наилучшим образом. Как показано на чертеже, источник 1 и приемник 5 излучения размещены по разные стороны от тела вращения 3 вдоль его оси . Другим вариантом исполнения устройства с иным расположением источника 1 и приемника 5 может быть, например, вариант расположения источника 1 под основанием тела вращения 3 (снизу), а приемник 5 остается на прежнем месте. Возможны и другие варианты размещения источника 1 и приемника 5 излучения, которые выбираются в зависимости от конкретных требований к устройству. Вращение тела вращения 3 вокруг своей оси в ту или иную сторону (по часовой либо против часовой стрелки) может быть осуществлено, например, с помощью электродвигателя 11, передающего вращение через один либо через несколько роликов 9 на тело вращения 3. Изменяя полярность напряжения на контактах электродвигателя 11, вращение тела 3 относительно оси может происходить в ту или иную сторону. Это необходимо для людей с ограниченными возможностями движения рук, например, когда рука может относительно легко двигаться в одном направлении (например, к себе) и с трудом в другом.
Работает заявляемое устройство следующим образом.
Подают напряжение питания на источник 1 излучения и электродвигатель 11, который посредством ролика 9 (см. вид А) передает вращение телу вращения 3 и оно начинает вращение относительно оси . Оптическая система 2 формирует плоский поток сканирующего излучения, который входит через оптически прозрачное для сканирующего излучения тело вращения 3, падает на его образующую в виде узкой полоски, относительно которой перемещается тело вращения 3 при своем вращении, и полностью или частично отражается от поверхности тела вращения 3. Если на теле вращения 3 разместить (путем прижатия), например, ладонь, палец либо другую часть тела, то выступы (бугорки) папиллярных линий, соприкасаясь с внешней боковой стороной тела вращения 3, вызовут изменения коэффициента отражения, в результате чего меняется интенсивность потока сканирующего излучения, попадающего на приемник 5 после отражения от участков соприкосновения выступов папиллярных линий с поверхностью тела вращения 3.
Канавки (впадины) же между этими бугорками не будут соприкасаться с поверхностью тела вращения 3, и в этих местах изменения интенсивности отраженного потока сканирующего излучения происходить не будет. Пройдя через проекционную оптическую систему 4, отраженный поток сканирующего излучения формирует в плоскости приемника 5 светотеневое изображение папиллярных линий ладони 10, которое преобразуется в электрический сигнал и по связи 6 передается в блок обработки изображений 7. Поскольку тело вращения 3 выполнено с возможностью вращения вокруг оси для поворота на угол, обеспечивающий перемещение помещенной на тело вращения анализируемой части тела по меньшей мере на величину сканируемого участка относительно потока сканирующего излучения, то в результате этого получают полную картину (изображение) папиллярных линий анализируемой части тела. Основным достоинством заявляемого устройства является то, что выполнение выпуклого основания 3 не в форме цилиндра, как в устройстве-прототипе, а в виде тела вращения, геометрические параметры которого задаются соотношением
(R-r)/R=0.7-0.995,
позволяет обеспечить полное прилегание исследуемой части тела, например ладони, имеющей куполообразное строение, к поверхности тела вращения 3. При этом обеспечивается более равномерное распределение усилий прижатия участков ладони (в вершине купола и на его краях), что приводит к улучшению качества изображения папиллярных линий. В результате изображение ладони получается гарантированно полным и высокого качества.
Заявителем изготовлен опытный образец устройства, который прошел испытания, подтвердившие высокое качество изображений, получаемых с его помощью.
Заявитель считает, что предлагаемое устройство обладает новизной, существенными отличиями и промышленной применимостью и может быть защищено патентом на изобретение.
Формула изобретения
Устройство для регистрации папиллярного узора, содержащее последовательно расположенные и оптически связанные между собой источник сканирующего излучения, оптическую систему формирования потока сканирующего излучения, выпуклое, оптически прозрачное для сканирующего излучения основание, выполненное в виде тела вращения, предназначенное для размещения на нем анализируемой части тела, проекционную оптическую систему и приемник отраженного излучения, электрически соединенный с блоком обработки, причем выпуклое основание установлено на неподвижной опоре и выполнено с возможностью вращения вокруг своей оси для поворота на угол, обеспечивающий перемещение размещенной на выпуклом основании анализируемой части тела, по меньшей мере, на величину сканируемого участка относительно потока сканирующего излучения, отличающееся тем, что геометрические параметры тела вращения определяются из соотношения (R-r)/R=0,7-0,995, где R – радиус образующей тела вращения; r – радиус миделева сечения тела вращения.
РИСУНКИ
|
|