|
| На основании пункта 1 статьи 1366 части четвертой Гражданского кодекса Российской Федерации патентообладатель обязуется заключить договор об отчуждении патента на условиях, соответствующих установившейся практике, с любым гражданином Российской Федерации или российским юридическим лицом, кто первым изъявил такое желание и уведомил об этом патентообладателя и федеральный орган исполнительной власти по интеллектуальной собственности. |
|
(21), (22) Заявка: 2007131206/12, 16.08.2007
(24) Дата начала отсчета срока действия патента:
16.08.2007
(43) Дата публикации заявки: 10.12.2007
(46) Опубликовано: 27.03.2009
(56) Список документов, цитированных в отчете о поиске:
Раздел «История открытия кислородного коктейля», 23.04.2007, [он-лайн], [найдено 2007-05-12] – Найдено из Интернет:
Адрес для переписки:
115446, Москва, ул. Академика Миллионщикова, 16, кв.239, Л.Ф. Порядкову
|
(72) Автор(ы):
Порядков Леонид Федорович (RU)
(73) Патентообладатель(и):
Порядков Леонид Федорович (RU)
|
(54) КОКТЕЙЛЕР
(57) Реферат:
Изобретение относится к оксигенотерапии и предназначено для оперативного приготовления кислородных коктейлей. Баллон коктейлера через выходное отверстие сообщается с отводящей трубкой, снабженной распылителем. Между баллоном и отводящей трубкой расположен клапан. Клапан состоит из установленного в отводящей трубке штока с двумя уплотнительными резиновыми кольцами. Шток имеет возможность осевого перемещения. Данная конструкция обеспечивает автономность, простоту и портативность устройства, что дает возможность использования коктейлера как устройства разового применения. 1 з.п. ф-лы, 4 ил.
Изобретение относится к оксигенотерапии и предназначено для оперативного приготовления кислородных коктейлей.
Метод оксигенотерапии в виде дополнительного снабжения организма кислородом путем его введения через желудок беззондовым методом был предложен в 1964 году Н.Н.Сиротининым. В настоящее время кислородный коктейль широко используется для лечения таких состояний, как гипоксия плода у беременных, гипоксия у больных сердечно-сосудистыми заболеваниями, для восстановления иммунной системы при снижении ее функций, при заболеваниях дыхательной системы (астма, хронический бронхит, хроническая обструктивная болезнь легких), для лечения и реабилитации больных с различной патологией желудочно-кишечного тракта и др. Имеется положительный опыт использования кислородного коктейля спортсменами для восстановления сил после интенсивных тренировок.
Для приготовления кислородных коктейлей используют специальные установки – коктейлеры. Так, известно стационарное устройство для приготовления лечебного кислородного коктейля на основе лекарственных трав путем вспенивания пенообразующей жидкости с помощью кислорода [1]. Устройство состоит из резервуара с крышкой и вспенивателя. Резервуар снабжен мешалкой с электроприводом и соединен с дозирующим насосом, который в свою очередь соединен со вспенивателем. Устройство позволяет автоматически выдавать дозированные порции вспененного коктейля.
В плане решаемой нами задачи к недостаткам этого устройства следует отнести сложность конструкции и возможность его использования только в стационарных условиях. Последнее обусловлено как громоздкостью установки, так и ее зависимостью от источника электропитания.
Известно устройство для вспенивания растворов и насыщения их газом, содержащее резервуар, вспениватель и систему подачи газа с регулятором подачи газа. Вспениватель установлен в резервуаре и содержит полый корпус, полость которого сообщена с полостью резервуара. В полости корпуса вспенивателя размещен распылитель, установленный на конце трубки, другой конец которой через регулятор подачи газа сообщен с системой подачи газа. Для отведения готового вспененного раствора вспениватель снабжен отводящим патрубком [2].
К недостаткам этого устройства можно отнести относительную сложность его конструкции и зависимость от внешнего источника кислорода. Устройство, состоящее как минимум из четырех деталей, каждый раз после его использования необходимо полностью разобрать, тщательно очистить от остатков продукта и вымыть. Это обстоятельство усложняет пользование данным устройством и в совокупности с другими недостатками снижает его мобильность.
Известно другое устройство для приготовления кислородных коктейлей (коктейлер), состоящее из аэрозольного баллона с кислородом и подсоединяемой к нему отводящей пластмассовой трубки, на рабочем конце которой установлен распылитель из пористого материала [3]. Входящий в комплект для приготовления кислородных коктейлей аэрозольный баллон представляет собой емкость цилиндрической формы, в горловине которой установлен клапан, состоящий из корпуса, который с использованием внешней прокладки крепится непосредственно на сам аэрозольный баллон, штока, с которым взаимодействуют пружина и внутренняя резиновая прокладка, и детали, называемой карманом, которая служит гнездом для пружины и удерживает вместе детали клапана. Кроме того, на баллоне имеются распылительная головка и защитный колпачок. Шток выполнен в виде трубки, просвет которой в средней части перекрыт перегородкой. Над перегородкой в стене штока имеется сквозное боковое отверстие. Внутренняя резиновая прокладка надета на шток, располагается в районе бокового отверстия и выполняет функцию ниппеля. На верхний конец штока надета распылительная головка с выпускным патрубком, расположенным перпендикулярно к оси баллона.
Клапан приводится в действие нажатием на распылительную головку вертикально вниз. Вместе с головкой двигается вниз шток, сжимая пружину. Боковое отверстие в штоке смещается вниз и выходит из-под резиновой прокладки. В это отверстие устремляется находящийся под давлением кислород, который через осевое отверстие штока, выпускной патрубок распылительной головки и далее через подсоединенную к патрубку отводящую пластмассовую трубку доходит до укрепленного на ее конце распылителя и, если последний погружен в коктейлеобразующую жидкость, то производит вспенивание последней с образованием кислородного коктейля. При освобождении головки пружина поднимает шток, в результате чего его боковое отверстие оказывается перекрытым резиновой прокладкой, что приводит к закрытию клапана.
Содержащееся в баллончике количество кислорода рассчитано на приготовление 14 порций кислородного коктейля.
Для приготовления кислородного коктейля в стакан помещают порцию порошка, состоящего, например, из экстракта шиповника, сухого яичного белка и сахарной пудры, и добавляют 30 мл воды или сока. Содержимое стакана тщательно перемешивают. К выходному патрубку аэрозольного баллончика подсоединяют отводящую трубку с распылителем и затем последний погружают в находящуюся в стакане жидкость. После нажатия на клапан аэрозольного баллона в стакане начнет образовываться пена из мелких пузырьков кислорода. Наилучший эффект от использования кислородного коктейля достигается при диаметре пузырьков 1-2 мм. Для получения однородной (по размеру пузырьков) пены в процессе приготовления коктейля при нажатии на клапан необходимо прикладывать строго дозированное усилие. Кроме того, необходимо интуитивно определять, какое количество выпущенного из баллончика кислорода является достаточным для приготовления одной порции коктейля. В связи с этим, как сообщили представители фирмы, некоторые пользователи сталкиваются с ситуацией, когда содержащегося в баллончике кислорода не хватает на приготовление расчетного количества порций коктейля из входящих в комплект 14 порционных пакетиков с сухой коктейлеобразующей смесью.
К недостаткам данного устройства для приготовления кислородных коктейлей следует отнести относительную сложность его конструкции и, в частности, клапана, который является функционально наиболее важным элементом аэрозольного баллона. Клапан состоит из семи прецизионных деталей [4]. Несовершенной является регулировка процесса дозирования кислорода, что не позволяет пользователю с достаточной уверенностью контролировать расход газа. Кроме того, устройство в целом является недостаточно портативным (рекомендуемая лечебно-профилактическая суточная норма кислородного коктейля для взрослых – 1-3 порции. Прием очередной порции может совпадать с нахождением пациента вне дома, что вынуждает его постоянно носить с собой не очень компактное устройство для приготовления коктейля.)
Последнее из рассмотренных устройств с автономным источником кислорода в аэрозольном баллоне рассматривается нами в качестве прототипа для предлагаемого изобретения.
Достигаемый технический результат изобретения заключается в расширении арсенала автономных портативных средств для приготовления кислородных коктейлей.
Указанный технический результат достигается за счет того, что в коктейлере, содержащем баллон, который через свое выходное отверстие сообщается с отводящей трубкой, снабженной распылителем, при этом между баллоном и отводящей трубкой расположен клапан, состоящий из установленного в трубчатом корпусе с возможностью осевого перемещения штока с надетым на него уплотнительным резиновым кольцом, располагающимся между выходным отверстием баллона и отверстием отводящей трубки, трубчатый корпус клапана непосредственно переходит в отводящую трубку, на штоке установлено еще одно уплотнительное резиновое кольцо, расположенное по другую сторону от выходного отверстия баллона. Шток снабжен ручкой и взаимодействует с ограничителем его перемещений.
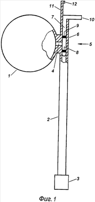
Сущность изобретения поясняется чертежами, где
на фиг.1 показан коктейлер с местным разрезом, вид спереди;
на фиг.2 – то же, в рабочем положении;
на фиг.3 – вариант выполнения коктейлера;
на фиг.4 – то же, в рабочем положении.
Коктейлер состоит из сферической или другой формы баллона 1 для кислорода и отводящей трубки 2 с распылителем 3 на конце (фиг.1, 2). Распылитель 3 выполнен из пористого материала (керамика, дерево, пластмасса, мелкоячеистая сетка и др.) и может иметь различную, в том числе и цилиндрическую, форму (фиг.1, 2). Баллон 1 сообщается с отводящей трубкой через свое выходное отверстие 4, при этом между баллоном и отводящей трубкой установлен клапан 5, состоящий из трубчатого корпуса 6, в котором установлен с возможностью осевого перемещения шток 7. На последнем имеются два расположенных на заданном расстоянии друг от друга уплотнительных резиновых кольца 8 и 9, отграничивающих участок трубчатого корпуса 6, в просвет которого отрывается выходное отверстие 4 баллона. Трубчатый корпус 6 клапана непосредственно переходит в отводящую трубку 2. На верхнем наружном конце штока 7 имеется ручка 10, а на верхнем конце трубчатого корпуса 6 укреплен ограничитель перемещений штока в виде упругого (подпружиненного) стержня 11 с упором 12.
На фиг.3 и 4 представлен вариант выполнения коктейлера, отличающийся от вышеописанного лишь тем, что клапан 5 в нем размещен внутри баллона 1.
Заполнение баллона 1 кислородом под давлением в производственных условиях производят через трубку 2 при открытом клапане 5. После заправки коктейлера кислородом клапан закрывают и на нижнем конце трубки 2 устанавливают распылитель 3. Объем кислорода в коктейлере рассчитан на приготовление одной порции коктейля.
Для приготовления кислородного коктейля в стакан помещают порцию порошка, состоящего, например, из экстракта шиповника, сухого яичного белка и сахарной пудры, и добавляют 30 мл воды или сока. Содержимое стакана тщательно перемешивают. Затем распылитель 3 полностью погружают в находящуюся в стакане жидкость и открывают клапан 5 путем перемещения штока 7 вверх до упора (фиг.2, 4). При этом нижнее уплотнительное кольцо 8 занимает позицию выше выходного отверстия 4, в результате чего устанавливается сообщение между баллоном и отводящей трубкой 2. После этого в стакане начнет образовываться однородная пена из множества мелких кислородных пузырьков. Коктейль следует употреблять сразу после приготовления. Рекомендуемая суточная доза для взрослых – 1-3 порции.
Простота конструкции и, соответственно, низкая стоимость коктейлера при его массовом производстве наряду с простотой и удобством использования позволяют позиционировать его в качестве устройства разового использования. Предлагаемый автономный коктейлер более портативен и, следовательно, более мобилен, чем известные устройства такого же назначения. Его удобно использовать, например, в кафе и других подобных заведениях: посетитель покупает коктейлер разового использования в комплекте с соответствующими ингредиентами и в удобное для него время самостоятельно приготавливает кислородный коктейль, который, как указывалось выше, необходимо употреблять сразу же после приготовления. Предлагаемое устройство может быть полезным и при его использовании в экстремальных ситуациях, например, для реабилитации и оказания экстренной помощи пострадавшим в авариях и катастрофах.
Источники информации
1. Ларионов Л.П. Иванов В.А., Матвеев В.А. Устройство для приготовления и выдачи коктейля с применением газов, биологически активных веществ и пенообразователей. Патент на изобретение RU 2059401 С1, 10.05.1996 г.
2. Рябриков Е.М. Устройство для вспенивания растворов и насыщения их газом. Патент на полезную модель RU 39260 U1, 27.07.2004 г.
Формула изобретения
1. Коктейлер, содержащий баллон, который через свое выходное отверстие сообщается с отводящей трубкой, снабженной распылителем, при этом между баллоном и отводящей трубкой расположен клапан, отличающийся тем, что клапан состоит из установленного в отводящей трубке с возможностью осевого перемещения штока с надетым на него уплотнительным резиновым кольцом, располагающимся между выходным отверстием баллона и отверстием отводящей трубки, на штоке установлено еще одно уплотнительное резиновое кольцо, расположенное по другую сторону от выходного отверстия баллона.
2. Коктейлер по п.1, отличающийся тем, что шток снабжен ручкой и взаимодействует с ограничителем его перемещений.
РИСУНКИ
|
|