|
|
(21), (22) Заявка: 2007119404/12, 20.10.2005
(24) Дата начала отсчета срока действия патента:
20.10.2005
(30) Конвенционный приоритет:
25.10.2004 EP 04025320.5
(46) Опубликовано: 27.03.2009
(56) Список документов, цитированных в отчете о поиске:
FR 2617389 A1, 06.01.1989. WO 9510724 A1, 20.04.1995. FR 2373999 A, 13.07.1978. EP 0512470 A1, 11.11.1992. SU 1836045 A1, 23.08.1993. SU 1839091 A1, 30.12.1993.
(85) Дата перевода заявки PCT на национальную фазу:
25.05.2007
(86) Заявка PCT:
EP 2005/011306 (20.10.2005)
(87) Публикация PCT:
WO 2006/045536 (04.05.2006)
Адрес для переписки:
103735, Москва, ул. Ильинка, 5/2, ООО “Союзпатент”, пат.пов. Л.С.Кишкиной
|
(72) Автор(ы):
ЙОАКИМ Альфред (CH), ГАВИЛЛЕ Жиль (CH), ДЕНИЗАР Жан-Поль (CH)
(73) Патентообладатель(и):
НЕСТЕК С.А. (CH)
|
(54) КАПСУЛА, СОДЕРЖАЩАЯ СРЕДСТВО УПЛОТНЕНИЯ
(57) Реферат:
Изобретение относится к капсулам, содержащим в себе ингредиенты напитка, к системе изготовления напитка с использованием такой капсулы, а также к способам изготовления напитков на основе ингредиентов, содержащихся в такой капсуле, и направлено на улучшение уплотнения, устанавливаемого между частью, где располагается впускное отверстие жидкости, и частью, где располагается устройство слива из такой системы для изготовления напитка. Капсула содержит в себе ингредиенты напитка и выполнена с конфигурацией для вставки в устройство для изготовления напитка для того, чтобы дать возможность жидкости под давлением поступать в капсулу и вступать во взаимодействие с ингредиентами в капсуле. Капсула содержит базовый корпус и элемент оболочки, закрывающий базовый корпус посредством прикрепления к фланцевому краю, выступающему от боковой стенки базового корпуса капсулы. Базовый корпус капсулы содержит уплотняющий элемент, который является упругим и изготовлен из каучукоподобного эластичного материала и который предназначен для нахождения в контакте уплотнения с колоколообразным элементом устройства для изготовления напитка. 4 н. и 24 з.п. ф-лы, 14 ил.
Область техники, к которой относится изобретение
Настоящее изобретение, в основном, относится к капсулам, содержащим в себе ингредиенты напитка, к системе изготовления напитка с использованием таких капсул, а также к способам изготовления напитков на основе ингредиентов, содержащихся в такой капсуле.
Уровень техники изобретения
Предпосылками настоящего изобретения является область техники создания капсул, в которых содержатся ингредиенты напитка или другие компоненты пищевого продукта (например, супа). Посредством взаимодействия этих ингредиентов с жидкостью могут производиться напитки или другие пищевые продукты, такие как, например, супы. Взаимодействие может происходить, например, в процессе экстракции, сбраживания, растворения и т.д. Такая капсула является, по существу, приспособленной хранить молотый кофе для приготовления кофейного напитка посредством пропускания горячей воды под давлением через капсулу и вытекания кофейного напитка из капсулы.
Капсула, как показано в патенте FR 2160634, относится к устройству для приготовления кофейного напитка из контейнера, в котором инжекционное устройство подачи воды герметически плотно устанавливается к верхней части контейнера. Инжекционное устройство подачи воды включает в себя уплотняющий элемент, который устанавливается на верхнюю часть контейнера. Тем не менее, уплотняющий элемент является частью устройства.
В патенте ЕР 0361569 А1 герметичная капсула не показана, но устройство для фильтрования кофе устанавливается в кофеварку без герметизации и просто плотно прижимается к оболочке контейнера так, что вода может литься на фильтровальную бумагу, предусмотренную в открытой верхней части устройства для фильтрования кофе. Во избежание переливания воды наружу через верхний край устройства для фильтрования кофе периферийная часть по краю фильтровальной бумаги зажимается между внешним краем стенки фильтровального устройства кофе и окружающей стенкой устройства. Такая конструкция представляет собой устройство, которое фильтрует напиток при атмосферном давлении и которое не приспособлено выдерживать обычное инжекционное давление подаваемой воды, например, более чем 3 бар или даже под более высоким давлением, которое преобладает в капсуле во время приготовления кофе экспресс-способом (сваренного в небольшом количестве воды).
В патенте FR 2617389 описывается недорогой фильтрующий элемент, приспособленный для процеживания напитка при сравнительно низком давлении в устройстве для напитка. Корпус капсулы полностью изготовлен из пластика способом инжекционного формования, предпочтительно из полипропилена в качестве основного компонента материала капсулы. Капсула имеет фланцевый край, выполненный из того же материала, что и основной компонент капсулы, который сминается, таким образом, во время опускания устройства поверх капсулы. Капсула прикрепляется к устройству для изготовления напитка, содержащему запорное устройство байонетного (штыкового) типа, прилагаемые усилия которого по нажатию на край капсулы зависят от момента усилия, прилагаемого пользователем для запирания. Следовательно, край капсулы сдавливается до такой степени, при которой может быть получен определенный эффект уплотнения. Трудность заключается в том, что с помощью простого фланцевого края, даже с увеличением толщины пластикового материала, из которого обычно с требуемой достаточной жесткостью также изготовлен корпус капсулы, не представляется возможным обеспечить эффект уплотнения, причем достаточного, чтобы остановить течение воды или поддержать регулируемый уровень внутреннего давления на относительно повышенном уровне давления экстракции, т.е. в пределах давления, которое является достаточным для обеспечения приготовления экспресс-способом кофе со сливками. Более того, наиболее современные устройства для приготовления напитка имеют запорные устройства, которые запираются при предопределенном для запирания усилии и не зависят от силы пользователя, следовательно, требуя приспосабливать уплотнение к устройству, а не наоборот.
Системы и способы для получения жидких пищевых продуктов из содержащих различные вещества контейнеров, например, известны из патента ЕР-А-512470 (аналог патента США 5402707).
Капсула 101, как показано на Фиг.1, имеет чашку 102 с формой усеченного конуса, которая может заполняться, например, жареным молотым кофе 103 и которая закрывается разрываемой торцевой крышкой 104 из материала пленочного типа, с пропаянным швом и/или зафальцованным с фланцевым краем, который выступает в сторону боковой стенки чашки 102. Держатель 111 чашки содержит решетку 112 стока с элементами 113 поверхности слива.
Держатель 111 капсулы размещается на его опорной части 115, у которой есть боковая стенка 124 и отверстие 127 для прохода экстрагированного кофейного напитка.
Как видно на Фиг.1, система экстракции содержит также водоструйный инжектор 107, у которого есть канал 120 подвода воды и кольцевой элемент 108 с внутренней кольцевой выемкой, конфигурация которой, по существу, совпадает с внешним контуром конфигурации капсулы. Кольцевой элемент 108 на своей наружной стороне содержит пружину 122, удерживающую кольцо 123 для освобождения капсулы после завершения экстракции.
Капсула 101 при использовании устанавливается на место в держателе 111 капсулы. Водоструйный инжектор 107 перфорирует верхнюю торцевую сторону чашки 102. Нижняя разрываемая торцевая сторона 104 капсулы опирается на радиально расположенные элементы 113 держателя 111 капсулы.
Вода впрыскивается по каналу 120 водоструйного инжектора 107 воды и ударяет струей в слой 103 кофе. Давление в капсуле 101 возрастает, и разрываемая торцевая сторона 104 все больше и больше принимает форму отверстия с радиальным расположением разгрузочных элементов 113. Такие радиально расположенные разгрузочные элементы могут заменяться выступами в форме пирамиды или выступами других форм. Когда у входящего в состав материала разрываемой торцевой стороны достигается предел прочности на разрыв, то разрываемая торцевая сторона рвется вдоль разгрузочных элементов. Экстрагированный кофе течет через отверстия решетки 112 стока и собирается в контейнер (не показан) ниже отверстия 127.
Принципы этого процесса экстракции, пока он может осуществляться в соответствии с настоящим изобретением, можно обобщить как следующие:
– капсула первоначально в герметичном состоянии вставляется в удерживающее устройство капсулы;
– удерживающее устройство капсулы затем вставляется в устройство впрыска воды кофеварки, присоединенное так, что кольцевой элемент (108 на Фиг.4) располагается вокруг герметичной капсулы;
– в первой стенке капсулы выполняется, по меньшей мере, одно отверстие;
– вода, поступающая в капсулу через отверстие в первой стенке, вступает во взаимодействие с содержащимися в капсуле ингредиентами во время прохождения внутренней полости капсулы и затем вытесняется, по меньшей мере, через одно проделанное во второй стенке отверстие/перфорацию.
Ингредиенты в капсуле создают «бутылочное горлышко» (узкое место) на пути потока воды и, вследствие этого, приводят к перепаду давления между верхней и нижней частью потока жидкости относительно капсулы, этот перепад давления даже возрастет в период вступления во взаимодействие между жидкостью и ингредиентами, например, в результате разбухания ингредиентов. Соответственно, должно быть гарантировано, что только один поток воды в действительности проходит через внутреннее пространство капсулы (стрелка А1) и что вода вообще не может течь из водоструйного инжектора в зазор между кольцевым элементом 108 кожуха и внешней оболочкой капсулы 101 и затем к сливному отверстию 127 устройства. Стрелкой А2 обозначен этот нежелательный путь водного потока. Другими словами, любой водный поток с внешней стороны капсулы 101 должен быть остановлен посредством контакта уплотнения, размещаемого с местоположением в зазоре между кольцевым элементом 108 и капсулой 101 и на пути потока между водоструйным инжектором и отверстием слива напитка. В варианте осуществления, показанном на Фиг.1, такое уплотнение может быть обеспечено, по меньшей мере, в определенной степени посредством сдавливающего действия между кольцевым элементом 108, фланцевым краем боковой стенки капсулы 101 и держателем капсулы.
В случае, когда уплотнение не работает должным образом и вода течет из капсулы наружу, внутри капсулы не будет создаваться давление, достаточное, чтобы разорвать торцевую сторону, или же в противном случае давление будет приводить к неполному разрыванию торцевой стороны и, следовательно, к неполной экстракции вещества. При таком развитии процесса вода будет выходить из устройства для приготовления напитка без вступления во взаимодействие или без полного осуществления взаимодействия с содержащимися в капсуле ингредиентами из-за требуемых условий относительно давления.
Предполагается усовершенствование, в соответствии с которым данный контакт уплотнения улучшается путем использования каучукоподобного эластичного материала в качестве облицовки внутренней стенки кольцевого элемента. Другими словами в соответствии с упомянутым способом контакт уплотнения обеспечивается базовыми элементами, фиксированными или соединенными с устройством для изготовления напитка. Недостатки заключаются в том, что после использования значительного количества капсул износ фиксированного средства уплотнения может быть таким, что качество приготовленного напитка все больше будет ухудшаться из-за воды, проходящей через уплотнение, которое уже не является достаточно удовлетворительным.
Любая «утечка» наружу из капсулы уменьшает создаваемое внутри капсулы давление. С другой стороны, хорошо известно, что достаточное для экстракции давление является ключевым фактором для качества кофе, приготовляемого экспресс-способом.
Настоящее изобретение, соответственно, имеет задачу улучшить контакт уплотнения, устанавливаемый между частью, где располагается впускное отверстие жидкости, и частью, где расположено устройство слива из такой системы для изготовления напитка.
Сущность настоящего изобретения
Таким образом, главная идея настоящего изобретения состоит в том, чтобы упругую деталь контакта уплотнения из устройства для изготовления напитка переместить на капсулу. Преимущество состоит в том, что любой упругий уплотняющий элемент используется только один раз (т.е. только в соединении с капсулой) так, чтобы этим могло бы обеспечиваться должное функционирование уплотнения и не должны возникать какие-либо проблемы, связанные с гигиеничностью уплотняющего элемента.
Следует отметить, что настоящее изобретение направлено, главным образом, на усовершенствование капсул, так что уже существующие устройства для изготовления напитков со встроенными средствами уплотнения, показанные, например, в патенте ЕР-А-512470, могут также использоваться вместе с капсулой в соответствии с настоящим изобретением.
Задача достигается с помощью признаков независимых пунктов формулы изобретения. Дополнительные пункты многозвенной формулы изобретения могут далее развивать главную идею настоящего изобретения.
В соответствии с первой особенностью настоящего изобретения предлагается капсула для содержания в себе ингредиентов напитка (или других жидких пищевых продуктов). Капсула предназначена для вставки в устройство для изготовления напитка для того, чтобы подать жидкость под давлением для поступления в капсулу и взаимодействия с ингредиентами в капсуле. В соответствии с изобретением наружная поверхность капсулы содержит упругий уплотняющий элемент, структурно располагаемый для контакта уплотнения, по меньшей мере, с сопряженной прижимной поверхностью устройства для изготовления напитка.
Упругий уплотняющий элемент капсулы деформируется, когда капсула устанавливается в контакт уплотнения с элементом кожуха устройства для изготовления напитка. Деформация приводит к первоначальному смещению уплотняющего элемента относительно элемента корпуса.
Уплотняющий элемент, таким образом, может быть упругим благодаря его форме и/или применяемому материалу.
Уплотняющий элемент может быть гибким, чтобы к нему можно было прилагать силу смещения относительно сопряженной прижимной поверхности устройства для изготовления напитка.
Уплотняющий элемент также может быть сжимаемым так, чтобы контакт уплотнения достигался посредством прижимной поверхности устройства для изготовления напитка путем приложения усилия нажатия на уплотняющий элемент с повышенной силой, при этом начиная от толщины первого, несжатого состояния капсулы до второго, сжатого состояния толщины элемента.
Уплотняющий элемент может быть выполнен за одно целое с капсулой или присоединяться к капсуле в качестве отдельной детали. В последнем случае уплотняющий элемент может быть съемным или, альтернативно, может быть жестко соединенным с капсулой.
Уплотняющий элемент может, например, иметь форму буквы О или L-образного кольца.
Уплотняющий элемент может быть прикрепленным к капсуле с применением клея или посредством сварки (термической сварки плавлением или сварки ультразвуком). Альтернативно, уплотняющий элемент может удерживаться в местоположении, окружая капсулу благодаря присущей материалу жесткости или соответствующим характеристикам на растяжение. В другом варианте осуществления уплотняющий элемент может сдавливаться материалом капсулы.
Капсула может изготавливаться из пластмассы или металла, такого как алюминий.
В соответствии с другой особенностью настоящего изобретения предлагается капсула, содержащая базовый корпус и/или элемент оболочки, изготовленный из пластикового материала, причем, по меньшей мере, часть базового корпуса предназначена для перфорирования при должном размещении в устройстве для приготовления напитка.
В соответствии с другой особенностью предлагается система для приготовления напитка, содержащая такую капсулу и устройство для производства напитка.
В соответствии с еще одной особенностью настоящего изобретения предлагается способ приготовления напитка, при котором герметичный контакт уплотнения элемента устройства для изготовления напитка и уплотняющего элемента капсулы гарантирует, что единственный средний проток жидкости между перфорированным отверстием в верхней стенке чашеобразного основания и отверстием в элементе оболочки проходит через внутреннее пространство капсулы.
Другая особенность настоящего изобретения относится к способу приготовления напитка, в соответствии с которым и в базовом корпусе и в элементе оболочки проделываются перфорационные отверстия, причем оба элемента изготавливаются из пластмассы.
Термин «сопрягаемая прижимная поверхность», как употребляется здесь, представляет типичную часть устройства для изготовления напитка. Это может быть поверхность элемента кожуха, который является типично одной из частей устройства, которой накрывают, по меньшей мере, одну сторону капсулы при закрывании устройства, чтобы охватить капсулу.
Другие преимущества, признаки и цели настоящего изобретения будут очевидными для специалиста в данной области техники из описания вариантов осуществления настоящего изобретения с учетом приложенных чертежей, на которых:
Фиг.1 – капсула экстракции, известная из патента ЕР-А-512470.
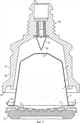
Фиг.2 – первый вариант настоящего изобретения, в котором капсула помещается в держателе капсулы, но она еще не достигла конечной позиции в устройстве для изготовления напитка.
Фиг.3 – увеличенное изображение Фиг.2.
Фиг.4 – первый вариант в состоянии, при котором капсула достигла ее конечной позиции между колоколообразным (наподобие колокола) элементом и держателем капсулы.
Фиг.5 – вид капсулы в перспективе, колоколообразный элемент и капсула в соответствии с первым вариантом осуществления в состоянии, когда капсула еще не достигла ее конечной позиции.
Фиг.6 – второй вариант настоящего изобретения.
Фиг.7 – увеличенное изображение на Фиг.6.
Фиг.8 – вид в перспективе второго варианта осуществления.
Фиг.9 – второй вариант осуществления в состоянии, при котором капсула еще не достигла ее конечной позиции.
Фиг.10 – третий вариант осуществления, при котором уплотняющий элемент капсулы является частью боковой стенки капсулы.
Фиг.11 – детальный вид на Фиг.10.
Фиг.12 – контакт уплотнения в соответствии с третьим вариантом осуществления.
Фиг.13 – четвертый вариант осуществления, в котором уплотняющий элемент является частью верхней стенки капсулы, и
Фиг.14 – четвертый вариант осуществления в конечном состоянии.
Подробное описание вариантов осуществления настоящего изобретения
На Фиг.2 подробно раскрыт первый вариант осуществления.
Следует иметь в виду, что в последующем будут делаться пояснения со ссылкой на определенную конструкцию капсулы, т.е. конструкцию, в соответствии с которой капсула содержит чашеобразный базовый корпус и закрывающий элемент оболочки. Однако следует понимать, что другие конструкции также являются жизнеспособными, как, например, капсулы, имеющие форму перевернутого конуса или чечевицеобразную форму с двумя, по существу, совпадающими и противоположными стенками (например, из фольги), герметично уплотненными, например, по кольцеобразным кромкам. В общем виде в соответствии с настоящим изобретением капсула содержит в себе, по меньшей мере, элементы двух противоположных стенок, которые соединены друг с другом по кромкам для образования площади с герметично уплотненным фланцевым краем, закрывая, таким образом, герметизированную внутреннюю полость.
При сравнении с предшествующим уровнем техники данный вариант осуществления изобретения также представляет держатель 13 капсулы, содержащий разгрузочные элементы 12, которые предназначены разрывать и перфорировать элемент 5 оболочки, закрывающий чашеобразный базовый корпус 4 капсулы 1. Такое разрывание элемента оболочки может, например, произойти, как только давление внутри капсулы превысит пороговое значение. Слово «разрывание» включает в себя такие действия, как разрушение, резание или прокалывание, также как и типичное разрывание при растяжении материала выше предела прочности на растяжение. Следует заметить, что разгрузочные элементы могут иметь любую выступающую форму, способную стать причиной (частичного) разрывания элемента оболочки. В качестве примера ссылаются на пирамиды, иголки, резцы, выступы, цилиндры, удлиненные грани.
Внутри капсулы 1 помещаются ингредиенты 3, причем ингредиенты 3 выбираются такие, из которых можно изготовить напиток тогда, когда имеющаяся жидкость поступит в капсулу в зоне верхней стенки 17 капсулы 1 и затем вступит во взаимодействие с ингредиентами 3. Предпочтительными ингредиентами являются, например, молотый кофе, чай или любые другие ингредиенты, из которых можно приготовить напиток, или другую жидкость, или вязкий пищевой продукт (например, суп).
Фиг.2 демонстрирует состояние, в котором такая капсула была помещена в держатель 13 капсулы, при этом элемент 5 оболочки опирается на сторону разгрузочного элемента 12 держателя 13 капсулы, а чашеобразный базовый корпус 4 капсулы 1 уже частично окружен по кругу стенкой 25 элемента 9 кожуха устройства для изготовления напитка. Изображенный элемент кожуха имеет конфигурацию колокола. Другие конфигурации жизнеспособны там, где дизайн внутренних контуров (выемки) элемента кожуха является, в целом, приспособленным для существенного совпадения с контурами капсулы 1.
Следует отметить, что элемент 5 оболочки, как это показано, не является в точности плоским благодаря заданному повышенному давлению внутри капсулы, причем повышенное давление в которой создается путем ввода, например, защитного газа при изготовлении капсулы с заполнением (ингредиентами).
Капсула может также включать в себя один или больше внутренних фильтров. Нижний фильтр может устанавливаться в контакте с внутренней поверхностью оболочки 5, и/или верхний фильтр может устанавливаться, по меньшей мере, частично в контакте с внутренней поверхностью корпуса 4.
В другом типе капсулы также может быть элемент 5 оболочки, который является плоским или даже изогнутым в направлении внутреннего пространства полости и который деформируется с определенной амплитудой в ответ на оказываемое давление внутри полости в течение процесса экстракции.
Элемент 9 (колоколообразного) кожуха, кроме того, содержит кольцевую опорную юбку 18, назначение которой будет раскрыто ниже, внешнюю резьбу 19 для установки колоколообразного элемента в устройство для изготовления напитка и водовпускное отверстие 20 для подачи жидкости, такой как, например, горячая вода, под давлением в водоструйный инжектор 14, который является съемным (с резьбовым соединением) и устанавливается на колоколообразный элемент 9.
Следует отметить, что резьба 19 является только примером способа соединения, которое может быть разъемным или неразъемным средством соединения.
Другие компоненты устройства для изготовления напитка, например, такие как устройство для перемещения колоколообразного элемента и, в конечном счете, также и держатель капсулы, которые известны из предшествующего уровня техники экспресс-кофеварок на основе использования капсул.
Водоструйный инжектор содержит перфорирующий элемент (резец, штифт и т.д.) 24, предназначенный для проделывания отверстия в верхней стенке 17 капсулы 1, когда держатель 13 капсулы и колоколообразный элемент 9 сдвигаются вместе ручным приводом или автоматическим приводом. Канал (не показан) проходит через перфорирующий элемент 14 таким образом, что вода может подаваться во внутреннюю часть капсулы 1, как только перфорирующий элемент 14 проникнет во внутреннюю часть капсулы 1.
Капсула 1 содержит верхнюю стенку 17, боковую стенку 7 и фланцевый край 6 с прижимной частью 29, причем элемент 5 оболочки заделывается во фланцевый край для герметичного закрывания чашеобразного базового корпуса 4 капсулы 1. Другие конструкции капсулы являются возможными, если капсула может быть герметизирована и может вмещать упомянутые ингредиенты.
В соответствии с настоящим изобретением наружная поверхность капсулы 1 представляет собой специально предназначенный уплотняющий элемент 8. Уплотняющий элемент 8 может быть упругим благодаря используемому материалу и/или благодаря геометрической форме уплотняющего элемента 8.
Кроме того, уплотняющий элемент 8 может быть выполнен за одно целое с капсулой 1 или быть в качестве отдельной детали. В последнем случае уплотняющий элемент может устанавливаться с возможностью отсоединения от базового корпуса 4 или быть там зафиксированным, например, посредством сварного соединения или с помощью клея.
В случае, когда уплотняющий элемент 8 является отдельной деталью, прикрепленной к капсуле 1, он может устанавливаться на капсулу в качестве неотъемлемой части. Альтернативно, он может применяться в жидкой или вязкой форме и затем может отверждаться (например, полимеризацией) при размещении на внешней поверхности капсулы, которая становится упрочненной в случае, например, применения силикона.
Если упругий материал используется для элемента 8 уплотнения, то предпочтительно использовать каучукоподобные эластичные материалы. Термин «каучукоподобный эластичный» относится к любому подходящему материалу, имеющему эластичность каучука, включающий, но не ограничивающийся эластомерами, кремнийорганическими материалами, пластмассами, каучуковым латексом, balata и другими материалами.
Особенно подходящими материалами для уплотняющего элемента 8 являются: этиленпропиленмонодиен (EPDM), акрилонитрильный каучук (NBR), термопластичный эластомер (TRE) или силиконовый каучук. Эти материалы обладают особо высокими характеристиками на изгиб, на сжатие и могут противостоять воздействию высоких температур без растрескивания.
В случае, когда материал уплотняющего элемента является тем же самым, что и используемый материал для капсулы (например, такой металл, как алюминий, или из пластмассы), предпочтительно, чтобы свойства гибкости уплотняющего материала обеспечивались геометрической формой уплотняющего материала.
В соответствии с вариантом осуществления по Фиг.2 уплотняющий элемент 8 является упругоизгибаемым благодаря форме в виде манжетного уплотнения. Он продолжает прижимную часть 29 фланцевого края, но он не предполагает быть сжатым так, чтобы легко изогнуться в результате давления. Он изготавливается из того же материала, что и капсула, предпочтительно из пластмасс. Он может быть неотъемлемой частью базового корпуса 4 капсулы 1.
Прижимная часть 29 фланцевого края выполнена по конфигурации в виде кольцевой поверхности, которая прижимается, по меньшей мере, частично сопряженными поверхностями устройства для изготовления напитка. Как результат, уплотняющий элемент 8 высвобождается от приложенных усилий или напряжений, которые могут быть приложены в результате разрывания элемента 5 оболочки на разгрузочных элементах 12.
Гибкая свободная кромка 8 выступает от внешней кромки фланцевого края 6 и отклоняется наружу. В демонстрируемом варианте осуществления гибкая кромка является кромкой боковых стенок базового корпуса капсулы, кромка которого отклонена на угол А (относительно плоской прижимной поверхности фланцевого края или уплотняющей плоскости Р) более чем приблизительно 90 градусов, предпочтительно составляя угол между 95 и 175 градусами.
Следует отметить, что такой изгибаемый уплотняющий элемент 8 может быть установлен на капсуле 1 в любом местоположении, если только это местоположение подходит для контакта уплотнения уплотняющего элемента 8 с внешней стороны и элемента 9 кожуха между водоструйным инжектором 14 и отверстиями в элементе 5 оболочки. Уплотняющий элемент 8 также может быть предусмотрен в зоне верхней стенки 17 капсулы 1, окружая водоструйный инжектор 14, в то время как водоструйный инжектор 14 находится в месте проникновения внутрь капсулы 1. Уплотняющий элемент 8 также может располагаться для того, чтобы закрыть различные части капсулы (нижней части, боковой стенки, фланцевого края).
Как можно увидеть подетально в Фиг.3, колоколообразный элемент 9 в соответствии с этим вариантом осуществления не содержит какого-либо специально выделенного упругого уплотняющего элемента. Однако колоколообразный элемент не обязательно может содержать упругий уплотняющий элемент.
Наклонная уплотняющая поверхность 15 колоколообразного элемента 9 предназначена для взаимодействия с упругоизгибаемым уплотняющим элементом 8 капсулы 1. Уплотняющая поверхность 15 отклоняется к свободной эластичной кромке, составляя уплотняющий элемент. В частности, уплотняющая поверхность 15 предпочтительно образует угол В, порядка 90 градусов или меньше, относительно уплотняющей или уплотнительной плоскости Р при измерении в направлении внутрь капсулы. Предпочтительно, угол В составляет от 85 до 50 градусов.
В зависимости от формы и материала уплотняющего элемента 8 капсулы 1 взаимодействующая поверхность колоколообразного элемента 9 может иметь любую форму, местоположение и ориентацию, которые являются подходящими для вхождения в контакт уплотнения с уплотняющим элементом 8 капсулы 1.
При закрытии устройства относительно капсулы, как показано на Фиг.4, колоколообразный элемент 9 и держатель 13 капсулы вместе зажимают капсулу вдоль прижимной части 29 фланцевого края. Для этого колоколообразный элемент 9 может включать в себя один или более кольцевых выступов, которые плотно сдавливают или зажимают прижимную часть 29 капсулы к приемной части поверхности 31 держателя капсулы.
Прижимная часть, кроме того, может образовать выемку, которая дополняет выемку поверхности 31. Следовательно, кольцевая камера 32 образуется, как результат процесса закрытия колоколообразного элемента 9 и держателя 13 капсулы и которая при этом содержит в себе уплотняющий элемент 8. Как результат, капсула плотно удерживается на месте, и растягивающие усилия не оказывают воздействие на свободную кромку, которая может свободно изгибаться в камере в направлении к наклонной поверхности 15, посредством чего может быть достигнуто совершенно водонепроницаемое уплотнение.
На Фиг.4 показано состояние, при котором колоколообразный элемент 9 и держатель 13 капсулы введены в контакт с усилием закрытия, и благодаря поступлению воды внутрь капсулы и созданию там давления пирамидальные разгружающие элементы 12 держателя 13 капсулы уже проделали отверстия в элементе 5 оболочки капсулы 1. После вставки капсулы режущим элементом 24 водоструйного инжектора 14 проделывается перфорационное отверстие 16 в верхней стенке 17 капсулы 1. Когда внутри капсулы создается достаточное давление жидкости, приготовленный из содержащихся в капсуле ингредиентов напиток может стекать по небольшим промежуточным каналам между разгрузочными элементами 12 и окружающим элементом 5 оболочки.
В состоянии, показанном на Фиг.4, упругоизгибающийся уплотняющий элемент 8 капсулы 1, т.е. гибкий край, смещается к соответствующей наклонной уплотняющей поверхности 15 элемента 9 кожуха. Кольцевая опорная юбка 18 теперь закрывает конец фланцевого края 6 капсулы 1, тогда как прижимная часть 29 зажимается между поверхностями 30, 31 устройства для обеспечения того, чтобы уплотняющий элемент 8 и капсула, как таковые, остались в положении, когда уплотняющая поверхность 15 колоколообразного элемента 9 прилагает определенное усилие нажатия на уплотняющий элемент 8.
В действительности, уплотняющий элемент 8 в виде кромочного манжетного уплотнения представляет пример конструкции для обеспечения самоуплотнения контакта уплотнения. Поступающая из водоструйного инжектора вода будет нагнетаться в промежуток между внешней поверхностью капсулы и элементом корпуса и в конечном итоге поступит к уплотняющему элементу в виде кромочного манжетного уплотнения фланца. Уплотняющий элемент в виде кромочного манжетного уплотнения перекроет поток воды, когда он отклонится к уплотняющей поверхности кольцевого элемента. Это блокирующее действие приведет к повышению давления на стороне выше (по потоку) уплотняющего элемента, которое, в свою очередь, приведет к прижатию уплотняющего элемента еще сильнее к уплотняющей поверхности и, таким образом, к образованию контакта уплотнения, который тем плотнее, чем выше усилие, прилагаемое для вхождения в контакт уплотнения.
На Фиг.6 показан вариант осуществления, в основном, соответствующий варианту первого осуществления на Фиг.2.
Уплотняющий элемент 8 в соответствии с этим вариантом осуществления является сжимаемым. Он закрывает и часть боковой стенки 7, и участок между наружным концом фланцевого края 6 капсулы 1 и боковой стенкой 7. (Уплотняющий элемент 8 может также закрывать только часть боковой стенки 7 базового корпуса 4 капсулы 1.) Уплотняющий элемент 8 в соответствии с этим вариантом осуществления имеет несимметричный, т.е. L-образный в поперечном сечении профиль. Уплотняющий элемент может быть изготовлен из материала, который более упругий, чем материал базового корпуса. В частности, уплотняющий элемент может иметь твердость меньше, чем твердость материала базового корпуса 4 капсулы.
Уплотняющий элемент 8 предпочтительно является каучукоподобным материалом. Особенно подходящими материалами являются: этиленпропиленмонодиен (EPDM), акрилонитрильный каучук (NBR), термопластичный эластомер (TRE) или силиконовый каучук. Эти материалы обладают особо высокими характеристиками на изгиб, на сжатие и могут противостоять воздействию высоких температур без растрескивания.
Альтернативно, уплотняющий элемент 8 может иметь другие формы, такие как, например, пленочное покрытие капсулы, О-образное кольцевое уплотнение и т.д.
Когда капсула 1 находится в показанном на Фиг.4 местоположении, а затем, после завершения процесса изготовления напитка, держатель 13 является открытым, то существует риск, что капсула 1, вместо того чтобы опуститься вниз, останется присосанной к колоколообразному элементу 9 благодаря «вакуумному эффекту». Как показано на Фиг.8, предлагается представить устройство, которое обеспечивает то, что модель вхождения в контакт уплотнения между капсулой 1 и колоколообразным элементом 9 работает только тогда, когда колоколообразный элемент 9 вошел в зацепление с держателем 13 капсулы, но автоматически выходит из зацепления при возможном поступлении воздуха в пространство между верхней стенкой 17 и боковыми стенками 7 капсулы 1 и внутренней стенкой колоколообразного элемента 9 соответственно.
Как видно на Фиг.8, особенно в случае, когда уплотняющий элемент 8 покрывает часть боковых стенок 7 капсулы 1, кольцевая передняя поверхность колоколообразного элемента 9 может быть снабжена канавками 21, которые действуют, как воздушный впускной канал для поступающего воздуха. Канавки предоставляют возможность поступления воздуха, как только ослабнет сила смещения между колоколообразным элементом 9 и держателем 13 капсулы. Таким образом, воздух поступает в это пространство, и пользователю будет легче вынуть капсулу 1. В конечном итоге, капсула 1 будет даже автоматически опускаться вниз из колоколообразного элемента 9.
На Фиг.9 показано состояние во втором варианте осуществления, в котором передняя поверхность 23 колоколообразного элемента 9 находится в контакте уплотнения с уплотняющим элементом 8 капсулы 1.
На Фиг.10 и 12 показан третий вариант осуществления настоящего изобретения, в котором свойство упругости уплотняющего элемента обязано тому, что собственно капсула по геометрической форме является полой. В изображенном варианте осуществления уплотняющий элемент имеет форму уступа 26, т.е. резкого увеличения диаметра боковой стенки 7 капсулы 1. Следовательно, уплотняющий элемент образует полую, изгибаемую и сжимаемую структурную деталь с достаточной возможностью противостоять усилиям закрытия, прилагаемым колоколообразным элементом 9 на держатель 13 капсулы. Следует отметить, что геометрическая форма не ограничивается показанным уступом, другие формы также имеют право на существование, если только они обеспечивают уплотняющему элементу свойство упругости или, по меньшей мере, свойство деформироваться.
Ступенчатый уплотняющий элемент 26 в соответствии с данным изобретением является только одним примером полого уплотняющего элемента (в отличие, например, от «наполненного» уплотняющего элемента 8 в соответствии со вторым вариантом осуществления, фигуры 6-9). Когда упругость уплотняющего элемента обеспечивается полой геометрической формой, обычно происходит изгиб уплотняющего элемента (здесь – деформация уступа в направлении внутрь и вниз). С другой стороны, когда свойство упругости обязано используемому материалу и применяется «наполненный» уплотняющий элемент, обычно происходит сжатие и/или деформация материала. Предпочтительно, материал для капсулы следует выбирать среди полимерных материалов, имеющих свойства упругости и способности деформироваться.
Уплотняющая поверхность 15 в соответствии с данным изобретением является наклонной. Таким образом, сила, приложенная для обеспечения уплотнения, имеет первую составляющую, которая направлена радиально внутрь, и вторую составляющую, направленную в осевом направлении (вниз на фигуре 12).
Как можно видеть, особенно на фигуре 12, элемент 5 оболочки может быть закатан (см. поз.27) за край капсулы.
На Фиг.13 и Фиг.14 показан четвертый вариант осуществления, в котором уплотняющий элемент представляет О-образное кольцевое уплотнение 11. О-образное кольцевое уплотнение предпочтительно геометрически располагать и устанавливать на верхней стенке 17 капсулы 1. Это как раз является примером, как обеспечить уплотняющим элементом капсулу 1 с наружной стороны, которая обращена к водоструйному инжектору и которая будет перфорирована для создания отверстия для подачи воды в капсулу 1.
О-образное кольцевое уплотнение 11 устанавливается на место, чтобы окружить по кольцу участок, в котором водоструйный инжектор 14 перфорирует верхнюю стенку 17 капсулы 1. Уплотняющий элемент 11, таким образом, поджимается нижней частью 28 элемента 9 кожуха (см. фигуру 14) и жестко устанавливается на место посредством верхнего торца круговой боковой стенки 25 элемента 9 кожуха.
Следует отметить, что нижняя часть 28 может быть, по существу, плоской или предназначенной для обеспечения достаточно водонепроницаемого сопряжения с уплотняющим элементом 11 тогда, когда капсула полностью вошла в контакт элемента 9 кожуха при запирании устройства.
В качестве альтернативы О-образному кольцевому уплотнению 11 изгибающийся уплотняющий элемент в виде манжеты (например, сравниваемый с кромкой 8 в соответствии с первым вариантом осуществления, см. фигуру 2) также может быть установлен на место, выступая из верхней стенки 17 капсулы 1, т.е. стенки, обращенной к водоструйному инжектору 14.
В любом случае, нижняя часть 28 будет оказывать усилие осевого (центрального) сжатия на уплотняющий элемент 11.
В случае, например, когда О-образное кольцевое уплотнение устанавливается на место на боковой стенке 7 капсулы 1, то радиальная составляющая силы сжатия будет превалировать.
Как альтернатива, элемент 5 оболочки мог бы быть заменен стенкой, в которой может продавливаться отверстие, по меньшей мере, одним разгрузочным элементом, как возникшее, например, в результате закрытия устройства относительно капсулы, прежде чем вода будет впрыснута в капсулу.
Формула изобретения
1. Капсула для содержания ингредиентов напитка, предназначенная для установки в устройство (2) для изготовления напитка, в котором жидкость под давлением поступает в капсулу (1) для вступления во взаимодействие с ингредиентами (3) в капсуле (1) и слива напитка из капсулы (1), при этом капсула имеет уплотняющий элемент (8, 11, 26) на наружной поверхности капсулы (1), отличающаяся тем, что уплотняющему элементу (8) придана форма с возможностью сжимаемости в уплотняющем контакте, по меньшей мере, с сопрягаемой прижимной поверхностью устройства для изготовления напитка (2), при этом уплотняющий элемент (8) является упругим и изготовлен из каучукоподобного эластичного материала.
2. Капсула по п.1, отличающаяся тем, что уплотняющий элемент (8, 26) является упругим благодаря его форме.
3. Капсула по п.1, отличающаяся тем, что уплотняющий элемент располагается для приложения силы смещения к сопрягаемой прижимной поверхности устройства для изготовления напитка.
4. Капсула по п.3, отличающаяся тем, что уплотняющий элемент (8, 11, 26) является сжимаемым и упругим благодаря составу материала.
5. Капсула по любому из предшествующих пунктов, отличающаяся тем, что уплотняющий элемент (26) имеет полую изгибаемую структуру.
6. Капсула по п.4, отличающаяся тем, что уплотняющий элемент (8, 11, 26) предназначен для сжимания от первой не сжатой толщины до второй сжатой толщины.
7. Капсула по п.1, отличающаяся тем, что уплотняющий элемент (8, 11) изготовлен из материала, отличного от материала остальной части капсулы (4, 5).
8. Капсула по п.7, отличающаяся тем, что уплотняющий элемент (8, 11) изготовлен из материала, имеющего твердость меньше, чем материал остальной части капсулы (4, 5).
9. Капсула, по п.8, отличающаяся тем, что остальная часть капсулы (4, 5) изготовлена не из каучукоподобного эластичного материала и/или металла, такого как алюминий.
10. Капсула по п.1, отличающаяся тем, что уплотняющий элемент (8, 26) изготовлен, по меньшей мере, из такого(их) же составляющего(их) материала(ов) остальной части капсулы (4, 5).
11. Капсула по п.1, отличающаяся тем, что она состоит из первого и второго элементов стенки, соединенных друг с другом в газонепроницаемом контакте на участке фланцевого края для того, чтобы создать герметичную внутреннюю полость для ингредиентов.
12. Капсула по п.7, отличающаяся тем, что уплотняющий элемент (8) предусмотрен, по меньшей мере, на участке (10) перехода фланцевого края (6) и одного из элементов стенки.
13. Капсула по п.7, отличающаяся тем, что уплотняющий элемент (8, 11) предусмотрен на стенке между фланцевым краем и местоположением на капсуле, где осуществляется введение водоструйного инжектора.
14. Капсула по п.1, отличающаяся тем, что капсула (1) содержит чашеобразный базовый корпус (4) и закрывающий элемент (5) оболочки.
15. Капсула по п.14, отличающаяся тем, что уплотняющий элемент (8) присутствует как на фланцевом крае (6), так и на части боковой стенки (7) базового корпуса (4).
16. Капсула по п.10, отличающаяся тем, что уплотняющий элемент (8, 26), является неотъемлемой частью одного из элементов (4, 5) стенки.
17. Капсула по п.6, отличающаяся тем, что уплотняющий элемент (8, 11) является деталью, которая отличается от элементов (4, 5) стенки капсулы.
18. Капсула по п.17, отличающаяся тем, что уплотняющий элемент (8, 11) имеет форму О-образного кольца (11).
19. Капсула по п.18, отличающийся тем, что уплотняющий элемент имеет L-образный профиль в поперечном сечении.
20. Капсула по п.17, отличающаяся тем, что уплотняющий элемент (8, 11) прикрепляется к одному из элементов (4, 5) стенки с использованием клея или сварки, или посредством защемления, или их сочетания.
21. Система для приготовления напитка, содержащая капсулу (1) согласно любому из предшествующих пунктов, включающая устройство для изготовления напитка, причем устройство для изготовления напитка содержит элемент (9) кожуха, выполненного с возможностью выборочного вхождения в контакт уплотнения с уплотняющим элементом (8, 11, 26) капсулы (1).
22. Система по п.21, в которой контакт уплотнения становится эффективным при минимальном давлении элемента (9) кожуха на капсулу (1), но автоматически выходит из контакта, как только давление падает ниже минимального давления.
23. Система по п.22, в которой предусмотрены канавки (21) по длине окружности элемента (9) кожуха, причем канавки (21) задействованы в качестве впускных каналов для подачи воздуха через эти канавки (21) и через разомкнутый контакт уплотнения между капсулой (1) и элементом (9) кожуха.
24. Система по любому из пп.21, 22 или 23, в которой элемент (9) кожуха содержит дополнительное средство уплотнения, приспособленное усиливать контакт уплотнения между элементом (9) кожуха и капсулой (1).
25. Система по п.21, в которой работающее на контакт уплотнения давление герметизации имеет радиальную/или осевую составляющую по отношению к центральной оси капсулы (1).
26. Способ для приготовления напитка, содержащий следующие этапы:
обеспечение капсулы, вмещающей ингредиенты и содержащей первую часть (4) стенки и вторую часть (5) стенки, соединенные одна с другой фланцевым краем (6);
установки капсулы (1) в заданное положение в устройстве для изготовления напитка и проделывания, по меньшей мере, одного отверстия и в первой, и во второй части (4, 5) стенки;
обеспечение возможности для жидкости поступать в капсулу (1), по меньшей мере, в одно отверстие в первой части (4) стенки, и создания возможности для жидкости выходить из капсулы (1), по меньшей мере, через одно отверстие во второй части (5) стенки,
в котором отверстие в первой части (4) стенки выполняют отдельно от отверстия во второй части (5) стенки посредством герметичного контакта уплотнения элемента устройства для изготовления напитка с уплотняющим элементом (8, 11, 26) капсулы 1, причем уплотняющий элемент (8, 11) изготавливают из каучукоподобного эластичного материала, так чтобы жидкость могла течь только через капсулу (1), а не по внешней стороне капсулы (1).
27. Способ по п.26, отличающийся тем, что герметичный контакт уплотнения осуществляется уплотняющим элементом (8, 11, 26) капсулы (1) и что такой контакт уплотнения отсутствует при использовании капсулы (1) без уплотняющего элемента(8, 11, 26).
28. Напиток или другой пищевой продукт, изготовленный в соответствии со способом по любому из п.26 или 27.
РИСУНКИ
|
|