|
| На основании пункта 1 статьи 1366 части четвертой Гражданского кодекса Российской Федерации патентообладатель обязуется заключить договор об отчуждении патента на условиях, соответствующих установившейся практике, с любым гражданином Российской Федерации или российским юридическим лицом, кто первым изъявил такое желание и уведомил об этом патентообладателя и федеральный орган исполнительной власти по интеллектуальной собственности. |
|
(21), (22) Заявка: 2007138183/12, 16.10.2007
(24) Дата начала отсчета срока действия патента:
16.10.2007
(46) Опубликовано: 27.03.2009
(56) Список документов, цитированных в отчете о поиске:
CN 2320559 Y, 26.05.1999. RU 39089 U1, 20.07.2004. GB 388201 А, 23.02.1933. US 2612259 А, 22.04.1950.
Адрес для переписки:
140093, Московская обл., г. Дзержинский, а/я 48, А.И. Максимову
|
(72) Автор(ы):
Максимов Александр Иванович (RU)
(73) Патентообладатель(и):
Максимов Александр Иванович (RU)
|
(54) СПОСОБ ИЗГОТОВЛЕНИЯ ПОДСТАВКИ ДЛЯ ЗУБОЧИСТОК И ПОДСТАВКА ДЛЯ ЗУБОЧИСТОК
(57) Реферат:
Изобретения относятся к товарам народного потребления. Способ изготовления подставки для зубочисток включает изготовление корпуса с направляющими и опорными поверхностями для зубочисток. Корпус образуют внешней и внутренней частями, которые скрепляют между собой с образованием разъемного соединения. Внешнюю часть образуют сосудом по форме бутылки произвольной геометрической формы, включающей изготовление стенки полости с внешней поверхностью, внутренней поверхностью, днищем, средней частью и горловиной, обеспечивающей доступ в полость. Среднюю часть стенки размещают между днищем и горловиной. Внутреннюю часть образуют средством укупорки в виде тела произвольной геометрической формы из упругодеформируемого материала с боковой и торцевыми поверхностями. Боковую поверхность размещают между торцевыми поверхностями. Закрепляют средство укупорки в горловине так, что боковую поверхность тела средства укупорки размещают напротив внутренней поверхности стенки. Одну из торцевых поверхностей тела средства укупорки размещают напротив днища. Направляющие образуют горловиной и средством укупорки. Опорные поверхности для зубочисток образуют боковой поверхностью тела средства укупорки и частью внутренней поверхности стенки в месте размещения горловины. Подставка для зубочисток содержит корпус с направляющими и опорными поверхностями для зубочисток. Корпус образован внешней и внутренней частями, которые скреплены между собой с образованием разъемного соединения. Внешняя часть образована сосудом по форме бутылки произвольной геометрической формы, содержащей стенку полости с внешней поверхностью, внутренней поверхностью, днищем, средней частью и горловиной, обеспечивающей доступ в полость. Средняя часть стенки размещена между днищем и горловиной. Внутренняя часть образована средством укупорки в виде тела произвольной геометрической формы из упругодеформируемого материала с боковой и торцевыми поверхностями. Боковая поверхность размещена между торцевыми поверхностями. Средство укупорки закреплено к горловине так, что боковая поверхность тела средства укупорки размещено напротив внутренней поверхности стенки. Одна из торцевых поверхностей тела средства укупорки размещено напротив днища. Направляющие образованы горловиной и средством укупорки. Опорные поверхности для зубочисток образованы боковой поверхностью тела средства укупорки и частью внутренней поверхности стенки в месте размещения горловины. Обеспечивается расширение арсенала технических средств, расширение функциональных возможностей и повышение эффективности. 2 н.п. ф-лы, 1 ил.
Изобретения относятся к товарам народного потребления, в частности к способу изготовления подставки для зубочисток и конструкции подставки для зубочисток, и могут быть использованы при изготовлении товаров народного потребления указанного назначения.
Известен способ изготовления подставки для зубочисток, включающий изготовление корпуса с направляющей и опорными поверхностями для зубочисток (CN 2577716 Y).
Известен также способ изготовления подставки для зубочисток, включающий изготовление корпуса с направляющей и опорными поверхностями для зубочисток (CN 2925306 Y).
Известна подставка для зубочисток, содержащая корпус с направляющей и опорными поверхностями для зубочисток (CN 2577716 Y).
Известна также подставка для зубочисток, содержащая корпус с направляющей и опорными поверхностями для зубочисток (CN 2925306 Y).
Известные технические решения имеют ограниченные функциональные возможности и неэффективны при их изготовлении. Это объясняется тем, что технологический процесс изготовления и конструкция подставки для зубочисток не обеспечивают создания объекта, который мог бы обеспечивать хранение в корпусе жидкого или сыпучего или пастообразного материала. Неэффективность объясняется также тем, что для изготовления подставки необходимы специальное оборудование и оснастка, что повышает себестоимость, трудоемкость изготовления подставки, снижает производительность и не обеспечивает изготовление конкурентоспособного продукта. Одним из путей создания конкурентоспособного продукта, в условиях международной конкуренции, является путь, исключающий создание специального оборудования, оснастки для производства новых продуктов. Именно использование существующего оборудования, оснастки, материалов, производственных площадей и персонала смежных отраслей товарного производства обеспечивают существенное повышение эффективности производства новых продуктов, что выражается в повышении производительности и снижении себестоимости их изготовления. Известные способ и устройство не обеспечивают достижение требуемых технических результатов.
Задача, на решение которой направлены заявляемые технические решения, состоит в расширении арсенала технических средств определенного назначения, в частности создание новых эффективных объектов – способ изготовления подставки для зубочисток и подставка для зубочисток, которые лишены указанных недостатков, имеют расширенные функциональные возможности и эффективны в изготовлении и использовании.
Технический результат, который может быть при этом получен, заключается в реализации этого назначения, т.е. решение поставленной задачи по расширению арсенала технических средств определенного назначения путем создания новых эффективных объектов указанного выше назначения. Дополнительный технический результат – расширение функциональных возможностей и повышение эффективности изготовления подставки и ее конструкции.
Сущность заявляемого способа заключается в том, что в способе изготовления подставки для зубочисток, включающем изготовление корпуса с направляющей и опорными поверхностями для зубочисток, согласно изобретению в нем корпус образуют внешней и внутренней частями, которые скрепляют между собой с образованием разъемного соединения, причем внешнюю часть образуют по форме бутылки произвольной геометрической формы, включающей изготовление стенки полости с внешней поверхностью, внутренней поверхностью, днищем, средней частью и горловиной, обеспечивающей доступ в полость, причем среднюю часть стенки размещают между днищем и горловиной, а внутреннюю часть образуют средством укупорки в виде тела произвольной геометрической формы из упругодеформируемого материала с боковой и торцевыми поверхностями, причем боковую поверхность размещают между торцевыми поверхностями, закрепляют средство укупорки в горловине так, что боковую поверхность тела средства укупорки размещают напротив внутренней поверхности стенки, а одну из торцевых поверхностей тела средства укупорки размещают напротив днища, при этом направляющие образуют горловиной и средством укупорки, а опорные поверхности для зубочисток образуют боковой поверхностью тела средства укупорки и частью внутренней поверхности стенки в месте размещения горловины.
Сущность заявляемого устройства заключается в том, что в подставке для зубочисток, содержащей корпус с направляющей и опорными поверхностями для зубочисток, согласно изобретению в нем корпус образован внешней и внутренней частями, которые скреплены между собой с образованием разъемного соединения, причем внешняя часть образована по форме бутылки произвольной геометрической формы, содержащей стенку полости с внешней поверхностью, внутренней поверхностью, днищем, средней частью и горловиной, обеспечивающей доступ в полость, причем средняя часть стенки размещена между днищем и горловиной, а внутренняя часть образована средством укупорки в виде тела произвольной геометрической формы из упругодеформируемого материала с боковой и торцевыми поверхностями, причем боковая поверхность размещена между торцевыми поверхностями, а средство укупорки закреплено к горловине так, что боковая поверхность тела средства укупорки размещено напротив внутренней поверхности стенки, одна из торцевых поверхностей тела средства укупорки размещено напротив днища, при этом направляющие образованы горловиной и средством укупорки, а опорные поверхности для зубочисток образованы боковой поверхностью тела средства укупорки и частью внутренней поверхности стенки в месте размещения горловины.
Из источников информации заявителем не установлена известность влияния заявленных отличительных существенных признаков для способа и устройства на получение основного и дополнительного технических результатов, указанных выше по тексту. Именно заявляемые существенные признаки двух объектов обеспечивают получение технического результата и дополнительного технического результата.
Сопоставительный анализ заявляемого способа изготовления подставки для зубочисток с прототипом показывает, что заявляемый способ имеет общие признаки с прототипом: изготовление корпуса с направляющей и опорными поверхностями для зубочисток.
Заявляемый способ изготовления подставки для зубочисток отличается от прототипа новыми признаками:
корпус образуют внешней и внутренней частями, которые скрепляют между собой с образованием разъемного соединения;
внешнюю часть образуют по форме бутылки произвольной геометрической формы, включающей изготовление стенки полости с внешней поверхностью, внутренней поверхностью, днищем, средней частью и горловиной, обеспечивающей доступ в полость;
среднюю часть стенки размещают между днищем и горловиной;
внутреннюю часть образуют средством укупорки в виде тела произвольной геометрической формы из упругодеформируемого материала с боковой и торцевыми поверхностями;
боковую поверхность размещают между торцевыми поверхностями;
закрепляют средство укупорки в горловине так, что боковую поверхность тела средства укупорки размещают напротив внутренней поверхности стенки;
одну из торцевых поверхностей тела средства укупорки размещают напротив днища;
направляющие образуют горловиной и средством укупорки;
опорные поверхности для зубочисток образуют боковой поверхностью тела средства укупорки и частью внутренней поверхности стенки в месте размещения горловины.
Сопоставительный анализ заявляемой подставки для зубочисток с прототипом показывает, что заявляемое устройство имеет общие признаки с прототипом: корпус с направляющей и опорными поверхностями для зубочисток.
Заявляемая подставка для зубочисток отличается от прототипа новыми признаками:
корпус образован внешней и внутренней частями, которые скреплены между собой с образованием разъемного соединения;
внешняя часть образована по форме бутылки произвольной геометрической формы, содержащей стенку полости с внешней поверхностью, внутренней поверхностью, днищем, средней частью и горловиной, обеспечивающей доступ в полость;
средняя часть стенки размещена между днищем и горловиной;
внутренняя часть образована средством укупорки в виде тела произвольной геометрической формы из упругодеформируемого материала с боковой и торцевыми поверхностями;
боковая поверхность размещена между торцевыми поверхностями;
средство укупорки закреплено к горловине так, что боковая поверхность тела средства укупорки размещено напротив внутренней поверхности стенки, одна из торцевых поверхностей тела средства укупорки размещено напротив днища;
направляющие образованы горловиной и средством укупорки;
опорные поверхности для зубочисток образованы боковой поверхностью тела средства укупорки и частью внутренней поверхности стенки в месте размещения горловины.
Сущность заявленных двух объектов характеризуется использованием существенных признаков, выраженных общими понятиями, в частности они представлены на уровне функционального обобщения. В независимости от геометрической формы изготавливаемого корпуса, а также слагаемых его элементов, будет обеспечено получение одного и того же технического результата и дополнительного технического результата, ибо существенным является не геометрическая форма частей изготавливаемой подставки, а существенным является их наличие, взаимное размещение относительно друг друга и форма их образования (иная, чем геометрическая форма). Способ характеризуется новыми действиями, направленными на изготовление подставки для зубочисток, новым порядком выполнения заявляемых действий и условием их осуществления. Устройство характеризуется: наличием новых конструктивных элементов; наличием связи между элементами; взаимным расположением элементов; формой выполнения элементов (иной, чем геометрическая форма).
Заявленные объекты способ и устройство промышленно применимы и могут быть использованы в строительстве, промышленности, сельском хозяйстве и других отраслях народного хозяйства. Заявленные технические решения могут быть воспроизведены в том виде, как они охарактеризованы в любом из пунктов формулы изобретения с использованием известных материалов, технологий и технологического оборудования. В случае осуществления изобретения по любому из пунктов формулы изобретения действительно возможна реализация указанного выше назначения и получение нового технического результата и дополнительного технического результата. Существенные признаки заявляемых объектов идентифицируемы, носят технический характер, необходимы и достаточны для получения заявленного технического результата и дополнительного технического результата. Между существенными признаками каждого из объектов и достигаемым техническим результатом, дополнительным техническим результатом существует причинно-следственная связь.
Технические решения заявляемых объектов соответствуют критерию «новизна», т.к. они неизвестны из уровня техники на дату подачи заявки. Неизвестна из уровня техники совокупность существенных признаков заявляемых технических решений и их влияние на получение требуемого технического результата.
Технические решения заявленных объектов соответствуют критерию «изобретательский уровень», т.к. не выявлены решения, имеющие признаки, совпадающие с их отличительными признаками, и не обнаружена известность влияния отличительных признаков на получаемый технический результат и дополнительный технический результат. Заявляемая совокупность признаков обеспечивает получение неожиданного, необычного суммарного технического результата, который превосходит технический результат, получаемый от каждого существенного признака в отдельности, применительно к объектам указанного назначения. Заявляемые объекты обеспечивают изменение известного уровня техники неочевидными средствами, придают объектам новые положительные свойства, удовлетворяют долговременный спрос и повышают конкурентоспособность объектов патентования. Совокупность существенных признаков заявляемых объектов обеспечивает новый необычный принцип действия объектов, который является в максимальной степени эффективным для объектов указанного назначения. Наличие горловины, во внешней части корпуса подставки для зубочисток, обеспечивает эффективный захват рукой человека и последующее перемещение в пространстве подставки для зубочисток, а наличие полости со стенкой обеспечивает хранение в полости, например, жидких или пастообразных веществ (материалов), что обеспечивает расширение функциональных возможностей заявляемых объектов.
Таким образом, заявляемые технические решения связаны между собой настолько, что они образуют единый изобретательский замысел, соответствуют всем критериям, предъявляемым к изобретению, обеспечивают получение нового технического результата, дополнительного технического результата и посему заявляются в составе одной заявки.
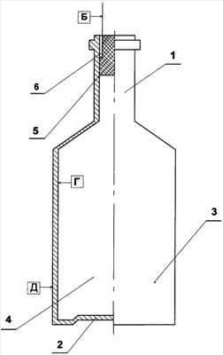
На чертеже показан способ изготовления подставки для зубочисток и подставка для зубочисток.
Подставка для зубочисток содержит корпус с направляющими и опорными поверхностями для зубочисток, который образован внешней и внутренней частями, которые скреплены между собой с образованием разъемного соединения, причем внешняя часть образована по форме бутылки произвольной геометрической формы, содержащей стенку полости 4 (см. чертеж) с внешней поверхностью Д, внутренней поверхностью Г, днищем 2, средней частью 3 и горловиной 1, обеспечивающей доступ в полость 4. Средняя часть 3 стенки размещена между днищем 2 и горловиной 1. Внутренняя часть подставки для зубочисток образована средством укупорки в виде тела средства укупорки 5 произвольной геометрической формы из упругодеформируемого материала с боковой Б и торцевыми поверхностями (они условно не обозначены по причине определенности их размещения), причем боковая поверхность Б размещена между торцевыми поверхностями, а средство укупорки закреплено к горловине 1 так, что боковая поверхность Б тела средства укупорки 5 размещено напротив внутренней поверхности Г стенки, а одна из торцевых поверхностей тела средства укупорки 5 размещено напротив днища 2. Направляющие образованы горловиной 1 и средством укупорки в виде тела средства укупорки 5, а опорные поверхности для зубочисток образованы боковой поверхностью Б тела средства укупорки 5 и частью внутренней поверхности Г стенки в месте размещения горловины 1. На чертеже поз.6 обозначена направляющая полость, которой может и не быть (она может образовываться по мере ввода зубочистки между поверхностями Г и Б. При отсутствии направляющей полости 6 поверхности Г и Б совмещены друг с другом.
Материал изготовления внешней части корпуса – стекло, металл, полимерный материал, керамика и другие аналогичные материалы, а также их сочетания, обеспечивающие изготовление жесткого или деформируемого сосуда. Объем полости 4 преимущественно от 0,1 до 5 литров.
Пример осуществления способа изготовления подставки для зубочисток.
Изготовил корпус с направляющей и опорными поверхностями для зубочисток, который образовал внешней и внутренней частями, которые скрепил между собой с образованием разъемного соединения. Внешнюю часть образовал по форме бутылки или сосудом по форме бутылки произвольной геометрической формы из светопрозрачного силикатного стекла, содержащей стенку полости 4 (объем полости 4 выбрал 1 литр) с внешней поверхностью Д, внутренней поверхностью Г, днищем 2, средней частью 3 и горловиной 1, обеспечивающей доступ в полость 4. Среднюю часть 3 стенки разместил между днищем 2 и горловиной 1. Внутреннюю часть образовал средством укупорки в виде тела средства укупорки 5 произвольной геометрической формы из упругодеформируемого материала с боковой Б и торцевыми поверхностями торцевые поверхности на чертеже условно не обозначены), причем боковую поверхность Б разместил между торцевыми поверхностями, а средство укупорки закрепил к горловине 1 так, что боковая поверхность тела средства укупорки 5 разместилось напротив внутренней поверхности Г стенки. Одну из торцевых поверхностей тела средства укупорки 5 разместил напротив днища 2. Направляющие для зубочисток образовал горловиной 1 и средством укупорки, а опорные поверхности для зубочисток образовал боковой поверхностью Б тела средства укупорки 5 и частью внутренней поверхности Г стенки в месте размещения горловины 1.
Заявляемые объекты обеспечивают изготовление эффективной подставки для зубочисток с качественно новыми потребительскими свойствами, не известными в технике и удобными в пользовании.
Таким образом, заявляемые технические решения обеспечивают достижение поставленной задачи и получение нового технического результата и дополнительного технического результата.
Формула изобретения
1. Способ изготовления подставки для зубочисток, включающий изготовление корпуса с направляющими и опорными поверхностями для зубочисток, отличающийся тем, что корпус образуют внешней и внутренней частями, которые скрепляют между собой с образованием разъемного соединения, причем внешнюю часть образуют по форме бутылки произвольной геометрической формы, включающей изготовление стенки полости с внешней поверхностью, внутренней поверхностью, днищем, средней частью и горловиной, обеспечивающей доступ в полость, причем среднюю часть стенки размещают между днищем и горловиной, а внутреннюю часть образуют средством укупорки в виде тела произвольной геометрической формы из упругодеформируемого материала с боковой и торцевыми поверхностями, причем боковую поверхность размещают между торцевыми поверхностями, закрепляют средство укупорки в горловине так, что боковую поверхность тела средства укупорки размещают напротив внутренней поверхности стенки, а одну из торцевых поверхностей тела средства укупорки размещают напротив днища, при этом направляющие образуют горловиной и средством укупорки, а опорные поверхности для зубочисток образуют боковой поверхностью тела средства укупорки и частью внутренней поверхности стенки, в месте размещения горловины.
2. Подставка для зубочисток, содержащая корпус с направляющими и опорными поверхностями для зубочисток, отличающаяся тем, что корпус образован внешней и внутренней частями, которые скреплены между собой с образованием разъемного соединения, причем внешняя часть образована по форме бутылки произвольной геометрической формы, содержащей стенку полости с внешней поверхностью, внутренней поверхностью, днищем, средней частью и горловиной, обеспечивающей доступ в полость, причем средняя часть стенки размещена между днищем и горловиной, а внутренняя часть образована средством укупорки в виде тела произвольной геометрической формы из упругодеформируемого материала с боковой и торцевыми поверхностями, причем боковая поверхность размещена между торцевыми поверхностями, а средство укупорки закреплено к горловине так, что боковая поверхность тела средства укупорки размещено напротив внутренней поверхности стенки, одна из торцевых поверхностей тела средства укупорки размещено напротив днища, при этом направляющие образованы горловиной и средством укупорки, а опорные поверхности для зубочисток образованы боковой поверхностью тела средства укупорки и частью внутренней поверхности стенки, в месте размещения горловины.
РИСУНКИ
|
|