|
|
(21), (22) Заявка: 2007119494/12, 25.05.2007
(24) Дата начала отсчета срока действия патента:
25.05.2007
(46) Опубликовано: 27.03.2009
(56) Список документов, цитированных в отчете о поиске:
SU 1712687 А1, 15.02.1992. FR 2775908 А1, 17.09.1999. DE 19745494 А1, 20.05.1998. DE 202005016374 U, 29.12.2005. DE 4027720 А1, 05.03.1992. GB 2029207 А, 19.03.1980.
Адрес для переписки:
432067, г.Ульяновск, пр-кт Ульяновский, 15-28, С.П. Григорьевых
|
(72) Автор(ы):
Григорьевых Сергей Польекторович (RU)
(73) Патентообладатель(и):
Григорьевых Сергей Польекторович (RU)
|
(54) ТЕЛЕСКОПИЧЕСКАЯ НОЖКА
(57) Реферат:
Изобретение относится к производству товаров бытового назначения и может быть использовано в качестве раздвижной опоры стола, стула, кресла. Изобретение направлено на обеспечение простоты регулировки и фиксации телескопической ножки. Телескопическая ножка содержит наружную деталь, внутреннюю деталь и фиксирующий стержень. Фиксирующий стержень вставлен в отверстие наружной детали. Фиксирующий стержень выполнен в виде скобы, которая закреплена на внутренней детали, а отверстие наружной детали выполнено в виде фиксирующих пазов с направляющей, в которых при отжимании и перемещении по направляющей фиксируется скоба. 1 ил.
Изобретение относится к производству товаров бытового назначения и может быть использовано в качестве раздвижной опоры стола, стула, кресла.
Наиболее близким аналогом заявленного изобретения является авторское свидетельство SU 1712687 А1. Из наиболее близкого аналога известна телескопическая ножка, которая содержит наружную деталь, внутреннюю деталь и фиксирующий стержень. Фиксирующий стержень вставлен в сквозное отверстие наружной детали.
С целью обеспечения простоты регулировки и фиксации телескопической ножки в настоящем изобретении телескопическая ножка содержит наружную деталь, внутреннюю деталь и фиксирующий стержень, который вставлен в отверстие наружной детали и выполнен в виде скобы, которая закреплена на внутренней детали. Отверстие наружной детали выполнено в виде фиксирующих пазов с направляющей, в которых при отжимании и перемещении по направляющей фиксируется скоба.
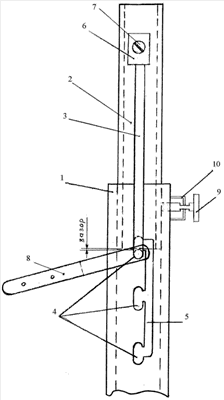
Далее изобретение поясняется чертежом.
Телескопическая ножка содержит наружную 1 и внутреннюю 2 детали и фиксирующий стержень 3 в виде скобы, закрепленной одной стороной на детали 2, а другой опорной стороной установленной в отверстие наружной детали 1, которое выполнено в виде направляющей 5 с фиксирующими пазами 4.
Концы стержня 3 закреплены в глухих отверстиях замков 6 стопорными винтами 7, а на опорной стороне скобы крепится ручка перевода 8. На наружной детали 1 установлен стопорный винт 9 с ограничителем выхода 10 в резьбовом отверстии, стабилизирующий положение внутренней детали 2.
Конструкция работает следующим образом.
При нагрузке на деталь 2 она опирается торцом на скобу 3, зафиксированную в пазу 4 детали 1 и стабилизированную винтом 9. При перемещении детали 2 относительно детали 1 откручивают винт 9, скобу 3 ручкой перевода 8 отжимают в направляющую прорезь 5 и перемещают к соответствующему пазу 4, в который она поджимается за счет естественного напряжения скобы 3, возникшего при отжатии, затем стабилизируют положение внутренней детали 2 винтом 9.
Формула изобретения
Телескопическая ножка, содержащая наружную деталь, внутреннюю деталь и фиксирующий стержень, который вставлен в отверстие наружной детали, отличающаяся тем, что фиксирующий стержень выполнен в виде скобы, которая закреплена на внутренней детали, а отверстие наружной детали выполнено в виде фиксирующих пазов с направляющей, в которых при отжимании и перемещении по направляющей фиксируется скоба.
РИСУНКИ
|
|