|
|
(21), (22) Заявка: 2005112744/13, 26.09.2003
(24) Дата начала отсчета срока действия патента:
26.09.2003
(30) Конвенционный приоритет:
27.09.2002 EP 02021653.7
(43) Дата публикации заявки: 27.10.2005
(46) Опубликовано: 27.03.2009
(56) Список документов, цитированных в отчете о поиске:
WO 0023038 А, 27.04.2000. GB 2179043 А, 25.02.1987. US 5342643 А, 20.08.1994. POOLE S: “The form-enhancing properties of basic biopolymers.” INTERNATIONAL JOURNAL OF FOOD SCIENCE & TECHNOLODGY, 1989, vol.24, no.2, pages 121-137. GARTI N. “Portulaca oleracea gum and casein interactions and emulsion stability”. FOOD HYDROCOLLOIDS, vol.13, no 2,
(85) Дата перевода заявки PCT на национальную фазу:
27.04.2005
(86) Заявка PCT:
EP 03/10740 (26.09.2003)
(87) Публикация PCT:
WO 2004/028281 (08.04.2004)
Адрес для переписки:
103735, Москва, ул. Ильинка, 5/2, ООО “Союзпатент”, пат.пов. И.С.Саломатиной
|
(72) Автор(ы):
КОЛОДЗЕЙЧИК Эрик (CH), ШМИТТ Кристоф (CH)
(73) Патентообладатель(и):
НЕСТЕК С.А. (CH)
|
(54) МЕЖФАЗНАЯ СТАБИЛИЗАЦИЯ ПРОДУКТА С ДВУМЯ ИЛИ НЕСКОЛЬКИМИ ФАЗАМИ С ПОМОЩЬЮ БЕЛОК-ПОЛИСАХАРИДНОГО КОМПЛЕКСА
(57) Реферат:
Изобретение относится к продукту, выбранному из группы, включающей пену, эмульсию, вспененную эмульсию, в котором поверхность раздела фаз вода – воздух и/или вода – масло содержит комплекс, стабилизирующий пенообразование, сопутствующим образом формируемый вместе с поверхностью раздела фаз и мгновенно образующийся на указанной поверхности раздела фаз смесью, по меньшей мере, белка (или пептида) и, по меньшей мере, противоположно заряженного полисахарида или смесью двух противоположно заряженных белков, причем рН указанного продукта находится в интервале значений, при которых происходит электростатическое взаимодействие между обоими противоположно заряженными компонентами, а общее количество белка и полисахарида составляет от 0,01 до 5 масс.%. Изобретение позволяет эффективно стабилизировать поверхность раздела фаз в продукте и получить продукт, у которого стабильность структуры в процессе хранения или при тепловом шоке практически не меняется. 6 н. и 5 з.п. ф-лы, 7 ил.
(56) (продолжение):
CLASS=”b560m”pages 127-138. DICKINSON E. “Influence of kappa-carrageenan on the properties of a protein-stabilized emulsion”, FOOD HYDROCOLLOIDS, vol.12, no.4, pages 417-423. CH 675370 A, 28.09.1990.
Двухфазные продукты, например вспененные, являются широко распространенными и находят признание у потребителей. Эмульсии типа майонеза также широко распространены. Для стабилизации эмульсии обычно используют эмульгатор, который добавляют непосредственно в основную фазу. Главной особенностью такого подхода является ограничение диффузии эмульгатора из объема (фазы) к поверхности раздела фаз, приводящее к уменьшению стабильности конечного продукта. Для вспененных продуктов контроль и обеспечение нужной консистенции достигается главным образом за счет регулирования вязкостных характеристик жидкой основной фазы, окружающей воздушные пузырьки (Walstra P. and De Roos A.L. (1993), Food Rev. Int., 9, 503-525).
Для решения проблем, связанных с созданием и стабилизацией пены, как правило, сочетают действие поверхностно-активных веществ (фосфолипиды, жирные кислоты) и веществ, влияющих на поверхностное натяжение (белки). Первые сначала уменьшают пограничное (межфазное) пространство путем адсорбции на границе раздела фаз, обеспечивая высокую способность к пенообразованию. Вторые же, напротив, будут образовывать эластичный, за счет вязкости слой вокруг пузырьков, уменьшая тем самым поверхностное натяжение. Это приводит к более высокой стабильности пены. Однако такая комбинация средств имеет некоторые недостатки, поскольку это требует использования сложных смесей поверхностно-активных и влияющих на поверхностное натяжение веществ. Далее показано, что оба типа этих веществ несовместимы на поверхности раздела фаз и приводят к разделению фаз и разрушению границы раздела фаз (Mackie A.R. et al. (1999), J.Colloid Interf. Sc., 210, 157-156).
Для стабилизации раздела фаз можно также использовать белок-полисахаридные комплексы. Это описано в US патенте №6197319, где белок-полисахаридный комплекс включен в косметическую композицию, которая представляет собой эмульсию. В этом случае предварительно готовили этот комплекс, а затем включали в основную массу продукта. То же самое в ЕР патенте №340035: готовили мелкодисперсный ионный полисахарид-белковый комплекс для применения его в пищевых продуктах в качестве заменителя жира, например в мороженом, салатных заправках, приправах, пастах и приправах. В US патенте №3944680 описан способ приготовления водно-масляной эмульсии с удлиненным сроком хранения. В этом случае комплекс белок/полисахарид готовят в основном объеме продукта, и существует проблема диффузии комплекса из всего объема продукта к границе раздела фаз, что уже отмечалось в предыдущем абзаце.
Следовательно, установлено, что белок-полисахаридные комплексы образуются за счет электростатического притяжения в определенных условиях при сочетании рН, ионной силы, соотношения белка и полисахарида, общей концентрации биополимеров, температуры или давления (Schmitt С. et al. (1998), Crit. Rev. Food Sci. Nutr., 38, 689-753). Кроме того, в ряде работ показано, что эти комплексы проявляют лучшие функциональные свойства в отношении гелеобразования, эмульгирования и вспенивания, чем известные биополимеры. Однако известно также, что образование комплексов за счет электростатического притяжения белка и полисахарида приводит к явлению, называемому как ассоциативное разделение фаз (Piculell L. and Lindman В. (1992), Adv. Colloid. Interf. Sci, 4, 149-178; Doubllier J.-L. et al. (2000), Curr. Opinion Colloid Interf. Sci., 5, 202-214) или коацервация комплекса (Bungenberg de Jong H.G. (1936), La coacervation complexe et son importance en biologie, E.Faure-Fremiet Ed, vol.1, Paris: Hermann et Cie). Во время ассоциативного разделения фаз, механизм которого зависит от времени, первичные электростатические (ионные) белок-полисахаридные комплексы взаимодействуют друг с другом вследствие нейтрализации зарядов с увеличением электростатической энтропии системы путем выделения противоионов в среду (Tolstoguzov V.B. (1997), Protein-polysaccharide interactions, S.Damodaran and A.Paraf Eds, Food Proteins and their Applications, pp.171-198, New York: Marcel Dekker Inc.). Приближаясь к термодинамическому равновесию, комплексы становятся нерастворимыми и образуют капельки жидкости, называемые коацерватами. Эти коацерваты, в конце концов, образуют концентрированную жидкую фазу при равновесии с очень разбавленной фазой, содержащей в основном растворитель (Mattisson K.W. et. al. (1999), Macromol. Symp., 140, 53-76). Размер последовательно образующихся капелек колебался от десятков нанометров для первоначальных макромолекулярных комплексов (Xia J. (1993) Macromolecules, 26, 6688-6690; Bowman W. (1997), Macromolecules, 30, 3262-3270) до сотен микро для коацерватов (Schmitt С.et al. (2001), Colloids and Surf. B: Biointerf, 20, 267-280). В плане межфазной активности хорошо известно, что коэффициент диффузии поверхностно-активных компонентов имеет большое значение. Поверхностно-активные компоненты с большим молекулярным весом (например, белок-полисахаридные комплексы) очень медленно продвигаются к поверхности раздела фаз в противоположность низкомолекулярным поверхностно-активным компонентам (углевод-эфиры, триглицериды). Однако первые гораздо более эффективны для межфазной стабилизации (Dickinson E. and Galazka V.B. (1991), Food Hydrocolloids, 5, 281-296).
Ранее было показано, что смеси белков с анионными полисахаридами или основных белков с кислыми белками способны значительно повысить способность к пенообразованию по сравнению с одними белками (Ahmed & Dickinson, 1991, Food Hydrocolloids, pages 395-402; Poole, 1989, International Journal of Food Science and Technology, pages 121-137, GB 2134117, GB 2179043). В последних указанных документах однозначно утверждается, что смешивание белка с другим белком или полисахаридом не дает никакого эффекта повышения стабильности пены. Так что в этих документах упоминается только повышенная способность к пенообразованию, что не давало возможности предвидеть какое-либо повышение стабильности. Важным моментом, который не упоминался в этих документах, является влияние времени на свойства создаваемых комплексов в отношении поверхности (раздела фаз). Так как комплексообразование происходит в основном за счет электростатических взаимодействий между двумя соединениями, нейтрализация зарядов комплексов происходит постепенно (каким бы ни было их первоначальное соотношение при смешивании). Из этого следует, что все больше и больше комплексов могут взаимодействовать друг с другом (без эффекта отталкивания между молекулами комплексов), приводя в результате к укрупнению размеров комплексов, что повышает их нерастворимость. Эти два явления являются пагубными для стабилизации поверхности раздела фаз, т.к. они снижают способность комплексов оставаться в растворе и мигрировать к границе раздела фаз. Это является главной причиной того, что использование электростатических комплексов в производстве является чрезвычайно редким. Данное изобретение позволяет устранить эти ограничения применения комплексов белок/полисахарид или белок/белок. Поскольку создаются комплексы, сопутствующие поверхности раздела фаз (газ/жидкость, газ/твердая фаза или твердая фаза/жидкость), они остаются растворимыми и малы настолько, чтобы продвигаться в направлении поверхности раздела фаз (с помощью притока энергии внутри системы). Оказавшись на поверхности раздела фаз, эти комплексы перестраиваются, образуя коацерваты, что приводит к образованию стабилизирующей пленки, которая может быть обнаружена на поверхности раздела в уже готовых пищевых продуктах с помощью микроскопических или гистохимических методов исследования.
Согласно настоящему изобретению удается эффективно стабилизировать поверхности раздела фаз с помощью электростатических комплексов белок/полисахарид или белок/белок, образовавшихся в то же самое время, что и поверхность раздела фаз, стабилизацию которой им нужно обеспечить за счет того, что комплексы имеют меньшие размеры молекулы и более высокий коэффициент диффузии. В этом случае комплексы белок/полисахарид будут растворимыми и со значительно более низким молекулярным весом, чтобы достигнуть поверхности раздела фаз. Исходя из этих соображений, целью изобретения, в случае, по меньшей мере, двухфазного продукта следует считать контроль и регулирование свойств поверхности разряда между указанными фазами.
Настоящее изобретение относится к продукту, выбранному из группы, состоящей из пенообразного продукта, эмульсии, вспененной эмульсии, диспергированной эмульсии и вспененной дисперсии, причем на поверхности раздела фаз вода – воздух, вода – масло или вода – твердая фаза содержится комплекс мгновенно образующейся на указанной поверхности раздела фаз смесью, по меньшей мере, белка (или пептида) и, по меньшей мере, противоположно заряженного полисахарида или смесью двух противоположно заряженных белков, а рН указанного продукта находится в интервале значений, при которых происходит электростатическое взаимодействие между обоими противоположно заряженными соединениями, и общее количество белка и полисахарида составляет от 0,01 до 5% вес.
Комплекс (или коацерват) в продукте по изобретению образуется мгновенно, прямо в процессе приготовления данного продукта и находится непосредственно на поверхности раздела фаз вода – воздух, вода – масло и вода – твердая фаза. Эти активные компоненты находятся в виде водных растворов или эмульсий типа масло-в-воде.
Целью изобретения является осуществление контроля свойств поверхности раздела фаз путем использования составной смеси белка и полисахарида или смеси двух белков. Эта смесь при вспенивании значительно повышает способность к пенообразованию, что приводит к образованию большего количества пены и большей ее стабильности (меньше воздушные пузырьки, меньше сток жидкости). Эта смесь может также использоваться для эмульсий и других, по крайней мере, двухфазных продуктов. Смесь сохраняется при образовании электростатических комплексов при точно определенных условиях: рН (при котором происходит электростатическое взаимодействие), температура (от 0°С до комнатной температуры), при соотношении белка к полисахариду или при соотношении белков от 1:20 до 20:1 и общей концентрации биополимеров от 0,01 до 5% вес. Под биополимером подразумевается добавление весовых концентраций белка или полисахарида.
Используя этот комплекс в жидкой форме, при ценообразовании, можно увеличить пенообразование, поскольку первоначально образующиеся комплексы действуют как поверхностно-активные вещества. После того, как пена образовалась, комплексы далее взаимодействуют друг с другом и образуют так называемые коацерваты. Эти коацерваты проявляют высокоэластичные, связанные с вязкостью свойства и, перестраиваясь на поверхности раздела, образуют эластичную пленку, которая стабилизирует пену.
Продукт, содержащий комплекс белок/полисахарид или комплекс белок/белок, полученный в результате ионного взаимодействия, используют для создания различных типов поверхностей раздела на основе жидкой дисперсии. На первой стадии молекулярный комплекс действует как ПАВ так, что межфазное пространство уменьшается. На второй стадии комплекс перестраивается на поверхности раздела таким образом, что образуются коацерваты, которые распространяются вокруг воздушных пузырьков (или капелек масла), образуя вязкоэластичную пленку, которая стабилизирует пузырьки (или капельки масла) и предохраняет от разрушения.
Мгновенное образование комплекса белок/полисахарид или комплекса белок/белок приводит к характерной структурной конфигурации, в которой объединены и типичная структура и распределение жиров, и типичная структура и состав вязкоэластичных пленок на поверхности раздела фаз вода – воздух или вода – масло или вода – твердая фаза. Это может быть показано с помощью различных методов микроскопии, например путем показа, в частности, расположения белковых и полисахаридных компонентов на поверхности раздела, см. далее фигуры 5 и 6.
Для вспениваемого продукта активные компоненты применяют в водной форме, а поверхность раздела представляет собой поверхность раздела воздух – вода. В случае эмульсий активные соединения содержатся в водной фазе, а поверхность раздела относится к типу “масло – вода”. В случае вспененной эмульсии имеются поверхности раздела фаз воздух – вода и масло – вода. В случае диспергированной эмульсии имеют место поверхности раздела фаз воздух – твердая фаза и масло – вода. В случае вспененной дисперсии имеют место поверхности раздела фаз воздух – твердая фаза и вода-воздух.
Белок вышеуказанного продукта выбран из группы, состоящей из белков молока, сои, яиц, мяса, рыбы и растений. Под растениями подразумеваются в основном злаки, а также бобовые. Более предпочтительно белок представляет собой -лактоглобулин, желатин, -лактальбумин, альбумин сыворотки быка, соевый глобулин, соевый протеин, белок молочной сыворотки, белок пшеницы, белок яичного белка.
Полисахарид выбран из группы, состоящей из несущих электрический заряд природных или синтетических полисахаридов. Наиболее предпочтительными полисахаридами являются камедь акации, карбоксиметилцеллюлоза, хитозан, ксантан, альгинат, пропиленгликоль-альгинат, каррагенаны, низко- или высокометоксилированные пектины, арабиногалактаны, арабиноксиланы ржи (Ах ржи), арабиногалактаны пшеницы (Ах пшеницы).
Продукт данного изобретения может использоваться как сам по себе, так и в смеси с другим продуктом. При применении в пищевой отрасли это может быть мороженое, продукт для кулинарной обработки, шоколад, десерт, молочный продукт, вафли, бисквит или корм для домашних животных. Его также можно использовать во взбивателе для кофе или кофе с молоком. В этом случае продукт по изобретению присутствует в количестве от 10 до 100% от веса конечного продукта.
Изобретение включает также способы приготовления (получения) продукта по изобретению. Поскольку продукты изобретения несколько отличаются, в последующем ниже описании будут приведены все возможные способы их получения.
При приготовлении пенообразного продукта способ получения следующий:
раствор или объемную массу, по меньшей мере, одного белка и раствор или объемную массу, по меньшей мере, одного полисахарида или раствор или объемную массу одного белка и другой раствор или объемную массу одного белка инжектируют вместе с воздухом в объемную массу или непосредственно в воздух в случае двух объемных масс, используя многотрубный реактор, показанный на фиг.1. Объемная масса может быть молочным продуктом, содержащим или не содержащим сахара, содержащим живые организмы и не содержащим их. В этом случае предпочтительным полисахаридом является камедь акации, а белком – -лактоглобулин. Продукт имеет конечный рН около 4,2. Концентрация белка и полисахарида составляет около от 0,01 до 5% вес. Соотношение белка к полисахариду составляет приблизительно от 20:1 до 1:20. Процесс осуществляют при температуре около 4-50°С. В этом случае получаемый продукт является конечным, готовым продуктом. Количество инжектируемого воздуха не является важным и может колебаться от 10 до 700% продукта.
Согласно второму варианту приготовления пенообразного продукта способ представляет собой следующее: раствор, по меньшей мере, одного белка и раствор, по меньшей мере, одного полисахарида или раствор белка и другой раствор белка смешивают вместе в присутствии воздуха. Это является основной концепцией изобретения: смешивание обоих активных соединений приводит само по себе к образованию пены. Если необходимо, можно применять последующее взбивание смеси. В соответствии с этим вариантом получаемый продукт не является конечным продуктом. Его затем смешивают с компонентами, входящими в состав мороженого, или компонентами смеси для вафель.
В случае приготовления эмульсии способ является следующим.
Первую часть эмульсии стабилизируют, по меньшей мере, одним белком, вторую часть второй эмульсии стабилизируют, по меньшей мере, одним полисахаридом или вторым белком, и обе эмульсии смешивают. Липид, используемый для первой и второй эмульсии, предпочтительно представляет собой пальмовое масло, пальмоядровое масло, подсолнечное масло, сафлоровое масло или оливковое масло, или жир сливочного масла или любые их сочетания. Особый интерес в отношении данного варианта изобретения вызывает приготовление майонеза, например, не содержащего яичных желтков или с пониженной жирностью. В этом случае белком предпочтительно является -лактоглобулин, а полисахаридом – камедь акации. Продукт имеет конечный рН около 4,2. Концентрация белка и полисахарида составляет приблизительно от 0,1 до 5% вес. Процесс осуществляют при температуре, при которой жир является жидким. В этом случае получаемый продукт является конечным. Это невспененный продукт.
Согласно второму варианту приготовления эмульсии можно получить вспененную эмульсию.
В этом случае раствор, по меньшей мере, одного белка и раствор, по меньшей мере, одного полисахарида или раствор белка и другой раствор белка смешивают в присутствии воздуха. Этот пенообразный продукт затем вводят в эмульсию для получения, например, вспененного майонеза. В этом случае белок представляет собой -лактоглобулин, полисахарид представляет собой камедь акации, а липидная фаза – подсолнечное масло или оливковое масло. Увеличение объема при взбивании соответствует примерно от 10 до 700%.
Согласно другому варианту осуществления изобретения можно получить непосредственно вспененную эмульсию. В этом случае способ ее приготовления следующий.
Основную массу продукта готовят, используя первую часть эмульсии, которую стабилизируют, по меньшей мере, одним белком, а вторую часть эмульсии стабилизируют, по меньшей мере, одним полисахаридом или вторым белком, обе эмульсии смешивают и разводят в основной массе продукта, затем новую дисперсию белка вместе с новой дисперсией полисахарида инжектируют вместе с воздухом (с помощью пенообразующего устройства, показанного на фиг.1) в основную массу продукта с получением вспененного объема продукта.
В этом случае основная масса продукта предпочтительно представляет собой смесь для мороженого. Липид, используемый для приготовления эмульсии, предпочтительно представляет собой подсолнечное масло, пальмовое масло, пальмоядровое масло или молочный жир. Используемый белок предпочтительно представляет собой -лактоглобулин, а полисахарид – камедь акации. Общее количество белка и полисахарида составляет примерно от 0,1 до 5% вес. Значение рН около 4,2. Конечный продукт затем замораживают либо в статическом либо в динамическом режиме.
Согласно еще одному варианту изобретения можно получить диспергированную эмульсию. Способ получения следующий. Первую часть эмульсии стабилизируют, по меньшей мере, одним белком, вторую часть эмульсии стабилизируют, по меньшей мере, одним полисахаридом или вторым белком, обе эмульсии смешивают и полученную в результате эмульсию затем смешивают с основой, включающей частицы. В предпочтительном варианте основой, содержащей частицы, является шоколадная основа, включающая, например, сахар, какао-частицы, сухое молоко, лецитин и другие ароматы.
Способ приготовления является следующим.
Первую часть эмульсии стабилизируют, по меньшей мере, одним белком, вторую часть второй эмульсии стабилизируют, по меньшей мере, одним полисахаридом или вторым белком и обе эмульсии смешивают вместе. Липид, который используют для первой и для второй эмульсии, является предпочтительно пальмовым маслом, пальмоядровым маслом, маслом подсолнечника, сафлоры или оливковым маслом, или жиром сливочного масла или их смесью. Особый интерес в отношении данного варианта изобретения вызывает приготовление майонеза, например, не содержащего яичных желтков или с пониженной жирностью. В этом случае белок представляет собой предпочтительно -лактоглобулин (BLG), а полисахарид – камедь акации (AG). Продукт имеет конечный рН около 4,2. Концентрация белка и полисахарида составляет приблизительно от 0,01 до 5% вес. Процесс осуществляют при температуре, при которой жир является жидким. Этот эмульсевидный продукт затем смешивают с основной массой, включающей лецитин, сахар, частицы какао и образующей шоколадную основу.
Согласно предыдущему варианту изобретения получают вспененную дисперсию следующим способом.
Раствор, по меньшей мере, одного белка и раствор, по меньшей мере, одного полисахарида или раствор белка и другой раствор белка инжектируют вместе с воздухом в основную массу дисперсных частиц.
Типичным примером вспененной дисперсии является шербет. В этом случае раствор, по меньшей мере, одного протеина и раствор, по меньшей мере, одного полисахарида или раствор белка и другой раствор белка инжектируют вместе с воздухом в основную массу. В этом случае основная масса не содержит жира, а только фрукты, сок или фруктовое пюре.
Основная масса с дисперсными частицами может представлять собой йогурт или иной кислый гель с бактериями или с гелем, полученным химическим подкислением и тепловой обработкой для желирования полисахаридов или белков.
Этот же продукт можно приготовить в соответствии со вторым вариантом: раствор, по меньшей мере, одного белка и раствор, по меньшей мере, одного полисахарида или раствор белка и другой раствор белка смешивают вместе в присутствии воздуха. Затем к этой пене подмешивают основную массу, содержащую дисперсные частицы, и получают вспененную дисперсию.
Согласно этому последнему варианту можно изготавливать вафли или карамель.
Данное изобретение касается также и устройства, позволяющего осуществить заявленный способ. Это устройство конструктивно состоит из:
– первой трубы для подачи эмульсии или дисперсии с белком,
– второй трубы для подачи газа,
– третьей трубы для подачи эмульсии или дисперсии с полисахаридом,
эти трубы, обеспечивающие подачу компонентов в основной канал, расположены перпендикулярно и уступами вдоль оси указанного основного канала, при этом первая труба образует центральный трубопровод основного канала, вторая труба образует промежуточный трубопровод основного канала и третья труба образует внешнюю, наружную трубу основного канала, а выходные отверстия на основном канале центрального и промежуточного трубопроводов выполнены с уступом.
Еще одним объектом настоящего изобретения является получение продукта, у которого стабильность структуры в процессе хранения или при тепловом шоке практически не меняется. Под хранением в данном описании подразумевается хранение от одного до двенадцати месяцев. Например, относительно мороженого, которое практически не претерпевает изменений, подразумевается, что объем воздушных пузырьков не уменьшается в значительной степени при неоднократном изъятии мороженого из фризера и помещении его обратно во фризер. Таким образом, потребитель получает продукт, качество которого неизменно за весь период хранения. То же самое характерно и для других продуктов, рассматриваемых в данной заявке на патент.
Еще одним преимуществом настоящего изобретения является то, что в случае коэмульсии в продукт по изобретению не требуется добавления эмульгатора.
Далее следует описание фигур.
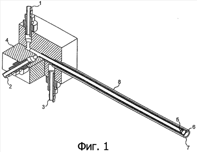
На фиг.1 показан перспективный план (аксонометрия) устройства (тройная игла) согласно изобретению, а на фиг.2 показан увеличенный вид выпускного отверстия этого устройства.
На фиг.3 показан вид при микроскопировании пузырьков воздуха в мороженом согласно примеру 2, а также их дисперсия в среде, предназначенной для их количественного анализа.
На фиг.4 приведен график распределения кумулятивного объема воздушных пузырьков, анализируемых в примере 2.
На фиг.5 показано изображение, полученное с помощью конфокальной сканирующей лазерной микроскопии продуктов примера 2.
На фиг.6 показано изображение, полученное с помощью конфокальной сканирующей лазерной микроскопии продуктов примера 2 с более высокой разрешающей способностью.
На фиг.7 показана поверхность раздела воздушных пузырьков, где коацерваты образуются мгновенно на поверхности раздела фаз в модельной системе пузырька воздуха в растворе смеси биополимеров.
Инжекционная система представлена на схеме (1). На этой схеме показаны три трубы. Труба (1) используется для подачи первой дисперсии с белком, труба (2) используется для ввода газа, который представляет собой воздух, а труба (3) используется для подачи второй дисперсии с полисахаридом. Эти три трубы устройства обеспечивают подачу (компонентов) в основной канал (8): они расположены перпендикулярно и уступами вдоль указанного основного канала (8). Это устройство используется в различных примерах описания и далее.
Важной особенностью является то, что в точке смешивания газа с первой и второй дисперсией выпускные отверстия труб (5) и (6) выполнены с уступами, как показано на фиг.2. Это обеспечивает время для взаимодействия компонентов смеси.
На фиг.3 показана дисперсия пузырьков воздуха, обнаруженных после взбивания смеси для мороженого до 100% превышения объема при +4°С, как описано в примере 2 с помощью смесителя Mondomix. На картинке А представлена классическая смесь (10% обезжиренного сухого молока), которая не содержала -лактоглобулина и камеди акации. Скорость сдвига была установлена при 800 об/мин. На картинке В показана та же смесь, но часть обезжиренного сухого молока заменена 2,5% белкового изолята молочной сыворотки и 1,25% камеди акации. Скорость сдвига также была установлена на 800 об/мин. На картинке С показана ситуация после аэрации рецептурных смесей, описанных в примере 2, с использованием инжекционного устройства (фиг.1), соединенного с устройством для взбивания (Mondomix). Размер пузырьков воздуха тот же, что и на А и В, но скорость сдвига только 400 об/мин. Эти результаты ясно показывают, что самая высокая способность к пенообразованию у рецептурной смеси для мороженого, содержащей комплексы полисахарида и белка, мгновенно образующиеся на поверхности раздела фаз.
Исследование пузырьков воздуха осуществляли в соответствии с методом, описанным ниже в общих чертах: аликвоту продукта взвешивают и диспергируют в среде с высокой вязкостью. Состав диспергирующей среды таков, чтобы стабилизировать воздушные пузырьки. Эту дисперсию подвергают автоматическому количественному электронно-оптическому анализу. Такую же процедуру осуществляют и для фиг.4.
На фиг.4 представлены распределения кумулятивных величин объемов для рецептурных смесей, соответствующие предварительному контролю (D), BLG/AG контролю (Е) и BLG/AG тройной иглы (F) рецептурам, описанным до (А) и после (В) воздействия теплового шока. Эти графики представляют кумулятивное распределение воздушных пузырьков в %% к общему объему воздуха, который анализировался (на X-оси показан диаметр пузырьков воздуха в мм, а на оси У показан в %% анализируемый кумулятивный объем воздуха). Образцы уравновешивали в течение одной недели при -40°С, прежде чем измеряли пузырьки воздуха. Тепловой шок осуществляли с циклом в 7 дней при колебаниях температуры от -20°С до -8°С. Каждое повышение или понижение температуры длилось 12 часов. Распределение по размеру воздушных пузырьков было достигнуто при электронно-оптическом исследовании пузырьков, взятых от 4 серий одного и того же образца после дисперсии, в вязкой среде, содержащей глицерин. Ясно, что первоначальные распределения по размеру аналогичны, что подтверждается предварительными наблюдениями пузырьков с помощью микроскопа (энергетические затраты на получение образца по данному изобретению были в 2 раза меньше). После теплового шока и у контроля и у BLG/AG контроля наблюдали сдвиг распределения размера в область более мелких воздушных пузырьков, что фактически является следствием потери (разрушения) самых крупных пузырьков воздуха. Разница в содержании пузырьков представляет собой зону между первоначальной кривой и кривой после теплового шока. Интересно, что кривая, соответствующая данному изобретению, не сдвинулась вовсе. Это показывает очень высокую стабильность образца при тепловом шоке.
На фиг.5 приведены изображения, полученные конфокальной сканирующей лазерной микроскопией трех образцов мороженого после 7-дневной выдержки при -40°С. Белок окрашивали реагентом родамина 6G, который, как известно, специфически метит белок за счет гидрофобных взаимодействий. Конфокальная микроскопия осуществляется следующим образом: аликвоту продукта помещают внутрь кюветы глубиной 2 мм и наносят 100 мл 10-6 М водного раствора Родамина 6G. После расплавления расплав покрывают покровным стеклышком и подвергают конфокальной микроскопии. На фигуре приведены следующие изображения: (А) – контрольная рецептура; (В) – BLG/AG контрольная рецептура; (С) – рецептура по данному изобретению. Анализ этих изображений ясно показывает, что на границе раздела фаз имеет место структурирование воздушных пузырьков белками согласно данному изобретению по сравнению с двумя контрольными образцами. В этих двух последних образцах распределение белков внутри матрицы было несколько хаотичным.
На фиг.6 приведены микрографические изображения срезов трех образцов мороженого после окрашивания Родамином 6G согласно той же процедуре, что и на предыдущей фигуре. На этой фигуре изображения соответствуют: (А) – контрольная рецептура; (В) – BLG/AG контрольная рецептура; (С) – рецептура по изобретению. Следует отметить наличие специфических структур вокруг воздушных пузырьков. По нашему мнению, это коацерваты, образовавшиеся на границе раздела фаз в результате взаимодействия между образовавшимися вначале BLG/AG комплексами.
На фиг.7 приведено полученное с помощью конфокальной сканирующей лазерной микроскопии изображение поверхности раздела фаз образовавшегося воздушного пузырька в только что полученной смеси -лактоглобулина 2,5% и камеди акации 1,25% при рН 4,2 в воде. -лактоглобулин был ковалентно помечен флуоресцеинизотиоцианатом. Коацерваты, присутствующие на поверхности раздела фаз, сопоставимы с теми, что наблюдаются в конечном продукте (мороженом), полученном согласно изобретению (фиг.6С).
ПРИМЕРЫ
Следующие примеры иллюстрируют разные варианты осуществления настоящего изобретения.
Пример 1
Концентрированную эмульсию получают, приготовив сначала эмульсию путем смешивания в миксере в течение 5 минут 0,74% белкового изолята молочной сыворотки, 66% подсолнечного масла и воды при рН 4,2 с добавлением молочной кислоты. Затем готовят вторую эмульсию, смешав в миксере в течение 5 минут 0,23% порошка камеди акации, 66% подсолнечного масла и воды при рН 4,2 с добавлением молочной кислоты. Конечная концентрированная эмульсия получается при смешивании двух предварительно приготовленных эмульсий при весовом соотношении 1:1 (смешивание проводят в течение 10 минут в миксере или с помощью насоса с высокой скоростью сдвига).
Пример 2
Смесь для мороженого готовят из 9% пальмового и пальмоядрового масел, 5% обезжиренного сухого молока, 5% белкового изолята молочной сыворотки, 17% сахарозы, 0,4% стабилизирующей смеси, содержащей гидроколлоиды, например камедь рожкового дерева, гуаровую камедь, каррагенаны, карбоксиметилцеллюлозу, воду и эмульгаторы. рН первой смеси доводится до значения 4,2 добавлением лимонной кислоты. Вторую смесь готовят из 9% пальмоядрового масла, 7,5% обезжиренного сухого молока, 2,5% порошка камеди акации, 14% сахарозы, 0,4% стабилизирующей смеси, содержащей гидроколлоиды, например камедь рожкового дерева, гуаровую камедь, каррагенаны, карбоксиметилцеллюлозу, воду и эмульгаторы. рН этой второй смеси доводится до значения 4,2 путем добавления лимонной кислоты. Обе смеси затем гомогенизируют при 100 бар в гомогенизаторе и затем пастеризуют. После выдержки при 4°С оба эти полуфабриката для мороженого смешивали вместе при соотношении 1:1 и аэрировали при -6°С÷+4°С с помощью устройства, показанного на фиг.1, соединенного с устройством, обеспечивающим усилие сдвига (Hoger фризер или Mondomix взбиватель) с получением увеличенного до 100% объема. Эту смесь затем разливают по формам и отверждают при температуре -40°С.
Пример 3
Мусс на основе сквашенных сливок готовят из 50% молочных сливок (30% жирности), 10% обезжиренного сухого молока, 5% белкового изолята молочной сыворотки, 8% сахарозы, воды и эмульгаторов. рН этой первой рецептуры доводят до значения 4,3 лимонной кислоты. Вторую рецептуру готовят из 50% молочных сливок 30% жирности, 10% обезжиренного сухого молока, 2,5% порошка камеди акации, 8% сахарозы, 0,4% стабилизирующей смеси, воды и эмульгаторов. рН этой второй смеси доводят до 4,3 добавлением лимонной кислоты. Оба полуфабриката затем гомогенизируют при 80 бар в гомогенизаторе и затем пастеризуют. Оба полуфабриката смешивают вместе при соотношении 1:1 и аэрируют при +4°С с помощью устройства, показанного на фиг.1, связанного с Mondomix взбивателем с получением увеличенного на 100% объема. Этот взбитый мусс из сквашенных сливок был затем разлит в формы и хранился при +4°С.
Пример 4
Рецептурную смесь для вафель готовят путем смешения миксером 50% пшеничной муки, содержащей 70% крахмала, и 4% белкового концентрата молочной сыворотки с водой и доведением рН до значения 4,2 путем добавления молочной кислоты. Другую рецептуру готовят, смешивая Hobbard миксером 50% пшеничной муки с 70% содержанием крахмала и 1,6% порошка камеди акации с водой и доведя рН до значения 4,2 добавлением молочной кислоты. Обе рецептуры затем смешивают вместе при соотношении 1:1, аэрируют с помощью смешивающего устройства, показанного на фиг.1, соединенного с Hobbard миксером, оборудованным термостатируемой чашей. Эта взбитая основа для вафель разливается затем в противни для выпекания при 150°С и выпекается с получением вафель.
Пример 5
Рецептурную смесь для жидкого взбиваемого молочно-кофейного крема готовят путем смешения и гомогенизации под высоким давлением (400 бар +80 бар) 10% мальтодекстрина DE21, 15% гидрированного пальмового масла, 3% белкового изолята молочной сыворотки с водой при 50°С и доведением рН до 4,2 добавлением соляной кислоты. Другую рецептурную смесь получают смешиванием и гомогенизацией при высоком давлении (400 бар+80 бар) 10% мальтодекстрина DE21, 15% гидрированного пальмового масла, 3% порошка камеди акации с водой при 50°С и доведением рН до значений 4,2 с помощью соляной кислоты. Обе рецептурные смеси затем смешивают при соотношении 1:1 с помощью смесителя с высоким усилием сдвига, снабженного термостатируемой при 50°С чашей.
Формула изобретения
1. Стабилизированный продукт, выбранный из группы, состоящей из вспененного продукта, эмульсии, вспененной эмульсии, отличающийся тем, что на поверхности раздела фаз вода-воздух и/или вода-масло содержится комплекс, стабилизирующий пенообразование, сопутствующим образом формируемый вместе с поверхностью раздела фаз и мгновенно образующийся на указанной поверхности раздела фаз смесью, по меньшей мере, белка (или пептида) и, по меньшей мере, противоположно заряженного полисахарида или смесью двух противоположно заряженных белков, причем рН указанного продукта находится в интервале значений, при которых происходит электростатическое взаимодействие между обоими противоположно заряженными компонентами, а общее количество белка и полисахарида составляет от 0,01 до 5 мас.%.
2. Продукт по п.1, характеризующийся тем, что белок выбран из группы, состоящей из белков молока, сои, яиц, мяса, рыбы и растений.
3. Продукт по п.2, характеризующийся тем, что белок выбран из группы, включающей -лактоглобулин, белок молочной сыворотки, соевый белок, белок яичного белка, белок пшеницы.
4. Продукт по п.1, характеризующийся тем, что полисахарид выбран из группы, включающей камеди, гидроколлоиды и стабилизаторы.
5. Продукт по п.4, характеризующийся тем, что полисахарид представляет собой камедь акации, арабиногалактаны, Ах ржи, Ах пшеницы, карбоксиметилцеллюлозу, хитозан, ксантановую камедь, -глюкан.
6. Продукт по любому из пп.1-5, характеризующийся тем, что соотношение белок:полисахарид или белок:белок составляет от 1:20 до 20:1.
7. Способ приготовления вспененного продукта, характеризующийся тем, что раствор или объемную массу, по меньшей мере, одного белка и раствор или объемную массу, по меньшей мере, одного полисахарида или раствор или объемную массу белка и другой раствор или объемную массу белка инжектируют вместе с воздухом в объемную массу или непосредственно в воздух, где на поверхности раздела фаз вода-воздух содержится комплекс, сопутствующим образом формируемый вместе с поверхностью раздела фаз и мгновенно образующийся на указанной поверхности раздела фаз смесью, по меньшей мере, белка (или пептида) и, по меньшей мере, противоположно заряженного полисахарида или смесью двух противоположно заряженных белков, причем рН указанного продукта находится в интервале значений, при которых происходит электростатическое взаимодействие между обоими противоположно заряженными компонентами, а общее количество белка и полисахарида составляет от 0,01 до 5 мас.%.
8. Способ приготовления вспененного продукта, характеризующийся тем, что раствор, по меньшей мере, одного белка и раствор, по меньшей мере, одного полисахарида или раствор белка и другой раствор белка смешивают вместе в присутствии воздуха, где на поверхности раздела фаз вода-воздух содержится комплекс, сопутствующим образом формируемый вместе с поверхностью раздела фаз и мгновенно образующийся на указанной поверхности раздела фаз смесью, по меньшей мере, белка (или пептида) и, по меньшей мере, противоположно заряженного полисахарида или смесью двух противоположно заряженных белков, причем рН указанного продукта находится в интервале значений, при которых происходит электростатическое взаимодействие между обоими противоположно заряженными компонентами, а общее количество белка и полисахарида составляет от 0,01 до 5 мас.%.
9. Способ получения эмульсии, характеризующийся тем, что первую часть эмульсии стабилизируют, по меньшей мере, одним белком, вторую часть эмульсии стабилизируют, по меньшей мере, одним полисахаридом или вторым белком, и обе эмульсии смешивают, где на поверхности раздела фаз вода-масло содержится комплекс, сопутствующим образом формируемый вместе с поверхностью раздела фаз и мгновенно образующийся на указанной поверхности раздела фаз смесью, по меньшей мере, белка (или пептида) и, по меньшей мере, противоположно заряженного полисахарида или смесью двух противоположно заряженных белков, причем рН указанного продукта находится в интервале значений, при которых происходит электростатическое взаимодействие между обоими противоположно заряженными компонентами, а общее количество белка и полисахарида составляет от 0,01 до 5 мас.%.
10. Способ получения вспененной эмульсии, характеризующийся тем, что готовят основную массу продукта, первую часть эмульсии стабилизируют, по меньшей мере, одним белком, вторую часть эмульсии, по меньшей мере, одним полисахаридом или вторым белком, обе эмульсии смешивают и разводят в основной массе продукта, затем новый раствор белка вместе с новым раствором полисахарида инжектируют вместе с воздухом в основную массу продукта с образованием вспененного объемного продукта, где на поверхности раздела фаз вода-воздух и вода-масло содержится комплекс, сопутствующим образом формируемый вместе с поверхностью раздела фаз и мгновенно образующийся на указанной поверхности раздела фаз смесью, по меньшей мере, белка (или пептида) и, по меньшей мере, противоположно заряженного полисахарида или смесью двух противоположно заряженных белков, причем рН указанного продукта находится в интервале значений, при которых происходит электростатическое взаимодействие между обоими противоположно заряженными компонентами, а общее количество белка и полисахарида составляет от 0,01 до 5 мас.%.
11. Устройство для осуществления способа по любому из пп.7-10, которое включает:
первую трубу для подачи эмульсии или дисперсии с белком,
вторую трубу для подачи газа,
третью трубу для подачи эмульсии или дисперсии с полисахаридом, эти трубы, поступающие в основной канал, расположены перпендикулярно и уступами вдоль указанного основного канала, при этом первая труба образует центральный трубопровод основного канала, вторая труба образует промежуточный трубопровод основного канала, а третья труба образует внешнюю, наружную трубу основного канала, а выходные отверстия на основном канале центрального и промежуточного трубопроводов выполнены с уступом.
РИСУНКИ
|
|