|
(21), (22) Заявка: 2007114184/12, 16.04.2007
(24) Дата начала отсчета срока действия патента:
16.04.2007
(43) Дата публикации заявки: 27.10.2008
(46) Опубликовано: 27.03.2009
(56) Список документов, цитированных в отчете о поиске:
SU 1126247 А, 30.11.1984. SU 275585 А1, 13.10.1970. SU 1251828 А1, 23.08.1986. SU 1542484 А1, 15.02.1990. SU 948343 А1, 07.08.1982. US 4050488 А, 27.09.1977.
Адрес для переписки:
185035, Республика Карелия, г.Петрозаводск, пр. Ленина, 11, кв.12, Р.Б. Казаковой
|
(72) Автор(ы):
Козин Андрей Юрьевич (RU)
(73) Патентообладатель(и):
Козин Андрей Юрьевич (RU)
|
(54) ЗАХВАТНО-СРЕЗАЮЩЕЕ УСТРОЙСТВО ДЛЯ ЗАГОТОВКИ ДЕРЕВЬЕВ
(57) Реферат:
Захватно-срезающее устройство для заготовки деревьев включает корпус, шарнирно закрепленный на стреле манипулятора, каретку с механизмом перемещения, которая установлена в направляющих корпуса с возможностью возвратно-поступательного перемещения, пильный механизм с приводом и захватные рычаги. Захватные рычаги шарнирно установлены на каретке и шарнирно связаны с механизмом ее перемещения, который другим концом шарнирно связан с корпусом захватно-срезающего устройства. Конструкция устройства позволит повысить производительность труда. 2 з.п. ф-лы, 4 ил.
Изобретение относится к устройствам для валки деревьев лесозаготовительными машинами и может быть использовано в лесной промышленности.
Известно захватно-срезающее устройство, включающее силовые рычаги, одним концом соединенные с силовыми цилиндрами, а другим – со срезающими ножами, рычаги захватов, передняя часть которых охватывает ствол, а тыльные концы связаны с гидроцилиндром ствола дерева (См. авт.св. N 1308264, кл. A01G 23/08, 23/06).
Недостатком известного устройство является то, что оно не обеспечивает непрерывности процесса валки деревьев. Кроме того, применение силовых ножей приводит к расщеплению комлевой части дерева и к необходимости повышать давление в гидросистеме.
Известно также захватно-срезающее устройство, включающее захватные рычаги и гидропривод, содержащий насос, связанный с гидроцилиндрами захватных рычагов и пильным механизмом с гидроприводом (См. авт.св. N 1083966, кл. A01G 23/08, F15В 11/20).
Основным недостатком данного устройства является то, что оно не обладает высокой производительностью, т.к. не обеспечивает непрерывности технологического процесса.
Известно захватно-срезающее устройство лесозаготовительной машины, включающее корпус с захватами и раму со смонтированным на ней пильным механизмом с гидроприводом, рама установлена в направляющих корпуса с возможностью возвратно-поступательного перемещения (См. авт.св. N 1126247, кл. А01G 23/08. Прототип).
Недостатком известного устройства является то, что после касания дерева захватными рычагами происходит останов стрелы манипулятора, срезание дерева осуществляют только после окончания его захвата, а сталкивание дерева с перемычки – только после окончания срезания. То есть имеет место дискретность процесса валки.
Перечисленные выше недостатки способствуют снижению производительности труда на заготовке деревьев.
Предлагаемое изобретение – захватно-срезающее устройство для заготовки деревьев – включает корпус, шарнирно закрепленный на стреле манипулятора, каретку с механизмом перемещения, которая установлена в направляющих корпуса с возможностью возвратно-поступательного перемещения, пильный механизм с приводом и захватные рычаги, согласно решению захватные рычаги шарнирно смонтированы на каретке и шарнирно связаны с механизмом ее перемещения, который другим концом шарнирно связан с корпусом захватно-срезающего устройства. Кроме того, механизм перемещения каретки выполнен в виде гидроцилиндров, которые связаны с корпусом с образованием внутренней полости, а захватно-срезающее устройство дополнительно снабжено сучкорезным устройством.
Сопоставительный анализ с прототипом позволил выявить следующие отличительные признаки:
– захватные рычаги шарнирно смонтированы на каретке,
– захватные рычаги шарнирно связаны с механизмом перемещения каретки,
– механизм перемещения каретки другим концом шарнирно связан с корпусом захватно-срезающего устройства.
Дополнительным отличительным признаком является то, что:
– механизм перемещения каретки выполнен в виде гидроцилиндров, связанных с корпусом с образованием внутренней полости,
– захватно-срезающее устройство дополнительно снабжено сучкорезным устройством.
Как видно из сопоставительного анализа, выявленная совокупность существенных признаков является новой, поэтому правомерен вывод о том, что влияние этой совокупности признаков на достигаемый предполагаемым изобретением результат неизвестен, и, следовательно, предполагаемое изобретение соответствует критерию «новизна».
Анализ патентной и научно-технической информации в области лесной и лесозаготовительной промышленности, проведенный по фондам КарЦНТИ и отдела главного конструктора ОАО «ОТЗ» показал, что предложенное техническое решение выходит за пределы существующего уровня техники в данной области. Следовательно, его можно признать соответствующим критерию «изобретательский уровень».
Задачей заявляемого технического решения является повышение производительности труда на лесозаготовительных работах.
Решение задачи осуществляется за счет шарнирной связи захватных рычагов одновременно с каретной и с механизмом ее перемещения, выполнением шарнирной связи между корпусом захватно-срезающего устройства и другим концом механизма перемещения каретки.
Заявленная совокупность существенных признаков придает заявленному техническому решению новые свойства, позволяющие решить поставленную задачу.
Предлагаемое устройство может быть изготовлено в промышленных условиях цехов больших заводов или специализированных малых предприятий с использованием стандартного оборудования.
Следовательно, заявленное устройство соответствует критерию «промышленная применимость».
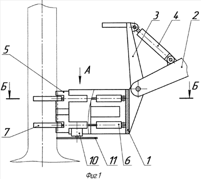
Предлагаемое захватно-срезающее устройство для заготовки деревьев поясняется чертежами, где представлено на:
Фиг.1 – захватно-срезающее устройство,
Фиг.2 – общий вид (вид сверху),
Фиг.3 – сечение Б-Б на фиг.1 (зажим ствола деревозажимными рычагами при продолжающемся движении стрелы манипулятора и начало перемещения корпуса захватно-срезающего устройства),
Фиг.4 – сечение Б-Б на фиг.1 (конечное положение корпуса захватно-срезающего устройства перед сталкиванием дерева).
Устройство для реализации предлагаемого устройства включает корпус 1 с направляющими (на чертеже не обозначены), шарнирно смонтированный на стреле 2. Опорная призма 3 шарнирно установлена на корпусе 1 и подвижно соединена посредством гидроцилиндра 4 со стрелой 2. В направляющих (на чертеже не обозначены) корпуса 1 установлена каретка 5 с возможностью возвратно-поступательного перемещения относительно него. Механизм перемещения каретки 5 выполнен в виде гидроцилиндров 6. Захватные рычаги 7 шарнирно установлены на осях 8 и 9 каретки 5 и шарнирно связаны со штоками гидроцилиндров 6. Последние другим концом (корпусом) шарнирно связаны с корпусом 1 захватно-срезающего устройства. Привод 10 пильных фрез 11 установлен на корпусе 1 захватно-срезающего устройства.
Устройство работает следующим образом.
Оператор с помощью стрелы 2 наводит захватно-срезающее устройство в горизонтальном положении на дерево. Каретка 5 находится в исходном (левом крайнем) положении. При этом захватные рычаги 7 разведены в стороны, а опорная призма 3 находится в правом крайнем положении (см.фиг.2).
При соприкосновении коротких плеч (на чертеже не обозначены) захватных рычагов 7 с поверхностью ствола дерева штоки (на чертеже не обозначены) начинают “втягиваться” внутрь корпуса (на чертеже не обозначен) гидроцилиндров 6. (Управление гидроцилиндрами 6 осуществляют в автоматическом режиме.) При этом захватные рычаги 7 поворачиваются вокруг осей 8 и 9 и начинают зажимать ствол дерева (см. фиг.3). Одновременно (начиная с момента зажатия ствола дерева) корпус 1 со стрелой 2 продолжает безостановочно перемещаться относительно каретки 5 до момента спиливания дерева пильными фрезами 11. При этом штоки (на чертеже не обозначены) полностью “втягиваются” внутрь корпусов гидроцилиндров 6 (см. фиг.4).
Перед завершением процесса спиливания дерева (при продолжающемся движении корпуса 1) опорная призма 3 автоматически подводится с помощью гидроцилиндра 4 к стволу спиливаемого дерева, и после окончания спиливания продолжающимся движением стрелы 2 осуществляется сталкивание дерева с перемычки. При этом опорной призмой 3 и стрелой 2 задается направление валки дерева (при дальнейшем движении опорной призмы 3 относительно корпуса 1).
При завершении операции направленной валки дерева каретка 5 и захватные рычаги 7 возвращаются в исходное положение, при этом штоки (на чертеже не обозначены) полностью “выдвинуты” из корпуса (на чертеже не обозначено) гидроцилиндров 6. Опорная призма 3 возвращается в исходное положение.
Захватно-срезающее устройство готово осуществлять следующий цикл валки дерева или срезания сучьев этим же захватно-срезающим устройством посредством сучкорезного устройства любой известной конструкции, установленной на захватно-срезающем устройстве.
Заявляемое захватно-срезающее устройство для заготовки деревьев обладает следующими преимуществами: процесс направленной валки дерева начиная с момента касания его захватно-срезающим устройством до момента укладки на землю осуществляют непрерывным движением стрелы манипулятора в автоматическом режиме, что позволяет повысить производительность труда.
Дополнительным преимуществом захватно-срезающего устройства является наличие внутренней полости, выполняющей функцию “кармана-накопителя” для укладки тонкомерных деревьев, что также способствует повышению производительности труда.
Формула изобретения
1. Захватно-срезающее устройство для заготовки деревьев, включающее корпус, шарнирно закрепленный на стреле манипулятора, каретку с механизмом перемещения, которая установлена в направляющих корпуса с возможностью возвратно-поступательного перемещения, пильный механизм с приводом и захватные рычаги, отличающееся тем, что захватные рычаги шарнирно установлены на каретке и шарнирно связаны с механизмом ее перемещения, который другим концом шарнирно связан с корпусом захватно-срезающего устройства.
2. Захватно-срезающее устройство по п.1, отличающееся тем, что механизм перемещения каретки выполнен в виде гидроцилиндров, которые связаны с корпусом с образованием внутренней полости.
3. Захватно-срезающее устройство по п.1, отличающееся тем, что оно дополнительно снабжено сучкорезным устройством.
РИСУНКИ
|