|
(21), (22) Заявка: 2007108476/09, 06.03.2007
(24) Дата начала отсчета срока действия патента:
06.03.2007
(43) Дата публикации заявки: 20.09.2008
(46) Опубликовано: 20.03.2009
(56) Список документов, цитированных в отчете о поиске:
RU 2270493 C1, 20.02.2006. RU 2207661 C1, 27.06.2003. JP 2000-294066 A, 20.10.2000. US 5781124 A, 14.07.1998. EP 0452104 A1, 16.10.2001.
Адрес для переписки:
152918, Ярославская обл., г. Рыбинск, ул. Горького, 59, кв.7, В.С. Никитину
|
(72) Автор(ы):
Никитин Владимир Степанович (RU)
(73) Патентообладатель(и):
Никитин Владимир Степанович (RU)
|
(54) МИКРОСХЕМА С ОПТОВОЛОКОННЫМИ МНОГОКОНТАКТНЫМИ СОЕДИНЕНИЯМИ
(57) Реферат:
Изобретение относится к соединению устройств ввода-вывода информации или других сигналов между этими устройствами. Микросхема с оптоволоконными многоконтактными соединениями (МКС) содержит матрицы оптических передатчиков и приемников сигнала, средства коммутации каналов связи и оптоволоконные разъемы. Микросхемы соединяются с другими микросхемами многоконтактными оптоволоконными шинами и имеют возможность осуществления внутрикристальных соединений в самой микросхеме с помощью внешних оптоволоконных шин. Технический результат – увеличение удельной скорости передачи информации между кристаллами в тысячи раз, упрощение технологии изготовления сверхбольших массивов микросхем. 3 з.п. ф-лы, 29 ил., 10 табл.
Изобретение относится к соединению устройств ввода-вывода или устройств центрального процессора или передаче информации или других сигналов между этими устройствами.
Проблема соединений является одной из сложнейших проблем электроники 21-го века. Она держит в тисках жестких ограничений две ее крупнейшие области. На макроуровне она ограничивает развитие суперкомпьютеров, а на микроуровне сдерживает развитие сверхсложных микросхем (СБИС, УБИС, ПЛИС и т.п.).
Лидером рейтинга суперкомпьютеров по состоянию на ноябрь 2005 г.является система «Blue Gene/L» (Синий Ген), построенная корпорацией IBM (США). Этот суперкомпьютер использует более 130 тысяч процессоров, а его быстродействие составляет 280 триллионов операций с плавающей запятой в секунду (терафлоп). Суперкомпьютер занимает территорию, равную половине теннисного корта. Сравнение архитектур суперкомпьютеров показывает, что превалирует тенденция к кардинальному увеличению числа процессоров в кластере. В «Earth Simulator» было 5120 процессоров, в “Колумбии” – 10160, а в «Blue Gene/L» – уже 130 тысяч процессоров. Количество процессоров у лидера 2005 года в 26 раз больше, чем у лидера 2002 года. Однако этот очень дорогостоящий шаг позволил увеличить производительность всего лишь в 8 раз! Налицо экстенсивная тенденция развития суперкомпьютеров, свидетельствующая о серьезных проблемах, сдерживающих развитие параллельных вычислений и суперкомпьютеров. Во многом причиной такого положения является «тирания межсоединений», когда соединить множество микропроцессоров в единую систему становится все труднее и труднее.
Производительность параллельных вычислительных машин непосредственно зависит от степени коммуникации между ее процессорами. Основной проблемой, возникающей при использовании шин, является возникновение конфликтов при обращении множества устройств к шине. Например, при общей шине один процессор должен ждать доступа к шине, пока другой процессор осуществляет считывание данных из запоминающего устройства или выполняет запись данных в память. Таким образом, система межсоединений, посредством которых вычислительная машина совместно использует и передает данные между различными процессорами машины, является одной из самых важных характеристик архитектуры параллельных вычислительных машин.
В идеальном случае в вычислительной системе каждый входной узел должен иметь возможность быть непосредственно соединенным с каждым выходным узлом. Аналогичным образом, в идеальной вычислительной машине каждый процессор должен быть непосредственно связан с каждым другим процессором так, чтобы система была полностью или глобально соединена.
Однако создать такую сеть с использованием известных решений чрезвычайно трудно. Решение возможно с использованием коммутаторов, устанавливающих временные связи между процессорами, по запросам самих процессоров. Сеть многокаскадных межсоединений является практичным компромиссом, который обеспечивает возможность получения динамически реконфигурируемого межсоединения каждого узла или процессора системы одновременно только с одним другим узлом или процессором. Сети многокаскадных межсоединений получили распространение, поскольку по сравнению с сетью системы многократных координатных коммутаторов комплексность аппаратных средств уменьшается при сохранении способности установления прямого соединения между любым данным входным портом и любым данным выходным портом. Однако у таких систем тоже возникает множество проблем. Одной из наиболее общих проблем сетей многокаскадных межсоединений является проблема конфликта, возникающего при передаче блоков данных. Он возникает в том случае, если два или более входных сигнала в одном коммутаторе одновременно запрашивают один выход. Проблема коммуникации в крупномасштабных сетях возникает как зеркальное отражение проблемы «тирании межсоединений» на макроуровне.
На микроуровне проблема межсоединений резко обострилась при переходе к размерам транзисторов порядка 0,25 мкм. При большом числе транзисторов в ИС сетка соединений необычайно сложна и занимает значительную часть площади поверхности пластины (до 85% для БИС). Один из путей уменьшения занимаемой межсоединениями площади кристалла – это переход на многоуровневую разводку. Однако надежность таких схем резко падает из-за возникновения случайных контактов через микротрещины, образующиеся в тонких слоях диэлектрика. Межсоединения причиняют массу неудобств. Ведущие зарубежные фирмы признают, что знаний в области проектирования межсоединений явно недостаточно. Необходима разработка новых принципов соединений [1].
Проблема межсоединений ограничивает скорость обмена информацией по одному контакту величиной 3 ГГц, хотя транзисторы могут работать с частотой не менее 10 ГГц. [2]. При предельной плотности электрических контактов порядка 4-х контактов на 1 мм2 и предельной частоте 10 ГГц максимальная удельная скорость обмена информацией с помощью электрических соединений не превысит 400 Гбит/мм2/с (см. табл.1).
| Таблица 1 |
| Оценка предельной скорости передачи информации по электрическим контактам |
| Параметр |
Единица изм. |
Значение |
| Предельная скорость работы транзистора |
ГГц |
10 |
| Коэффициент увеличения скорости передачи информации за счет применения алгоритмов сжатия |
бит/Гц |
10 |
| Предельная скорость передачи информации по 1 контакту |
Гбит |
100 |
| Количество контактов на 1 мм2 |
шт. |
4 |
| Предельное значение удельной скорости обмена информацией с 1 мм2 площади микросхемы при электрическом соединении |
Гбит/мм2/с |
400 |
Если не появится прорывных технологических решений, то в ближайшее время будет достигнут физический предел значений степени интеграции. После чего возможно последует период инерционного развития рынков приборов микроэлектроники в течение 5-10 лет. К этому времени быстродействие интегральных схем (ИС) будет уже недостаточным для решения задач обработки больших массивов информации.
Рост производительности и функциональных возможностей микропроцессоров и мультипроцессорных ЭВМ сдерживается влиянием межсоединений как внутри кристалла плотноупакованных УБИС, так и между кристаллами. Основным выходом из сложившейся кризисной ситуации масштабирования УБИС с большой функциональной сложностью, характерной для НС и НК, является в перспективе переход к чисто оптическим связям между чипами и внутри чипа. Обработка больших массивов информации в разрабатываемых оптомикроэлектронных системах на УБИС с оптическими связями осложняет создание сверхбыстродействующих микроминиатюрных оптоэлектронных компонентов, совместимых с субмикронными КМОП-, БИКМОП-технологиями УБИС [2].
| Таблица 2 |
| Современные тенденции изменения параметров микропроцессоров |
| Параметры |
1995 |
1998 |
2001 |
2004 |
2007 |
2010 |
| Число транзисторов млн. на 1 см2 |
4 |
7 |
13 |
25 |
50 |
90 |
| Удельная емкость Кэш-СОЗУ, Мбит/см2 |
2 |
6 |
20 |
50 |
100 |
300 |
| Площадь кристалла, мм2 |
250 |
300 |
360 |
430 |
520 |
620 |
| Количество выводов УБИС |
512 |
512 |
512 |
512 |
800 |
1024 |
| Количество выводов на 1 млн. транзисторов |
128 |
73 |
39 |
20 |
16 |
11 |
| Количество выводов на 1 Мбит памяти |
1,0240 |
0,2844 |
0,0711 |
0,0238 |
0,0154 |
0,0055 |
| * Основные данные для таблицы 2 взяты из [2]. |
Анализ таблицы 2 показывает, что интенсивность вычислительных процессов в микропроцессорах и их насыщенность транзисторами за 10 лет увеличились в 25 раз, а количество выводов на миллион транзисторов или на Мбит памяти во столько же раз уменьшилось, так как не удается разработать надежные многоконтактные соединения. Такое положение дел явилось следствием все той же «тирании межсоединений». За прошедшие десять лет количество выводов в микросхемах увеличилось с 512 до 1024, т.е. всего лишь вдвое. Из микросхем становится все труднее и труднее выводить информацию! Это прямое следствие «тирании межсоединений». Можно ли удержать тенденцию экспоненциального роста степени интеграции и, соответственно, экспоненциальное снижение стоимости обработки информации? Вот основной вопрос перспективного развития схемотехнической микроэлектроники. Разработчики ИС активно ищут способы преодоления “тирании межсоединений”, пути обхода технологических и физических барьеров.
Решение проблемы «тираний» возможно с помощью технологии интеллектуальных многоконтактных соединений (ИМКС) по патенту РФ №2270493, принятому за прототип по микросхеме. Для осуществления многоконтактного соединения объединяют в специальные матрицы передатчики (выводы) прибора-источника информации, приемники (вводы) прибора-потребителя информации и концы пучка проводников сигнала. При формировании матриц не соблюдают строгий порядок пространственного расположения их элементов и формируют их хаотически или «как получится». Матрицы передатчиков и приемников соединяют с соответствующими матрицами пучка проводников, не обязательно точно соблюдая их одинаковое взаимное расположение и добиваясь лишь совпадения областей расположения элементов матриц. Такая конструкция соединений не требует высокой точности изготовления и монтажа, что существенно снижает их стоимость и расширяет возможности массового применения. После соединения и при повреждении соединения производят распознавание и запоминание образовавшихся каналов связи. Затем с помощью коммутаторов каналов подключают каждый распознанный и идентифицированный канал связи к вводам и выводам соединяемых приборов в соответствии с заданной таблицей или программой соединений. Распознавание каналов проводят последовательно или параллельно. При повреждении соединения осуществляется самодиагностика и регенерация соединения.
ИМКС позволяют решить целый ряд важнейших проблем.
На макроуровне новая технология соединений позволяет соединять одним разъемом устройства, содержащие десятки и даже сотни тысяч выводов. Так оптический кабель размером 5×5 мм, содержащий оптические волокна диаметром 17 микрон, позволяет создать интерфейс, содержащий до 20 тыс. каналов связи. (Всего в кабеле содержится 90 тыс. волокон). По каждому волокну можно передавать информацию со скоростью от 10 до 100 Гбит/с, и это теоретически не предел. Такой миниатюрный кабельный разъем сможет передавать информацию со скоростью до 2000 терабит/с (1012 бит/с). Этого достаточно для передачи информации, получаемой от тридцати самых мощных на сегодняшний день суперкомпьютеров типа Blue Gene/L. Гипотетически, чтобы передать такой поток информации с помощью электрических соединений, даже работающих на частоте 1 ГГц, понадобится, по меньшей мере, 400 тыс. проводов диаметром 0,5 мм. Такой кабель будет иметь диаметр 700 мм. Он будет в 140 раз толще кабеля ИМКС!
На микроуровне новая технология соединений позволяет размещать выводы на любой поверхности микросхем в любом порядке. Это решает проблему «тирании межсоединений», так как позволяет, во-первых, делать выводы чрезвычайно миниатюрными, порядка толщины оптического волокна, т.е. от 10 до 30 мкм, что позволяет разместить на площади в 1 см2 до одного миллиона оптических выводов, а во-вторых, выводить через оптические выводы информацию со скоростью от 10 Гбит/с до 100 Гбит/с с каждого канала. Сравнение скоростей передачи информации с помощью ИМКС (Табл.3) и с помощью обычных электрических контактов (табл.1) показывает, что применение ИМКС позволяет увеличить удельную скорость передачи информации в тысячи и даже в десятки тысяч раз. (См. табл.3).
| Таблица 3 |
| Оценка предельной скорости передачи информации с помощью ИМКС |
| Параметр |
Единица изм. |
Вариант 1 |
Вариант 2 |
| Толщина волокна ИМКС |
мкм |
10 |
30 |
| Приведенное сечение контакта (к квадрату) |
мкм2 |
100 |
900 |
| Количество выводов, которое можно разместить на 1 мм2 площади микросхемы |
шт. |
10000 |
1111 |
| Скорость обмена информации по 1 каналу предельная |
Гбит/с |
100 |
100 |
| Максимальное значение удельной скорости обмена информацией с 1 |
|
|
|
| мм2 площади микросхемы |
Гбит/с/мм2 |
1,00Е+06 |
1,11Е+05 |
| Коэффициент увеличения скорости передачи информации за счет алгоритмов сжатия |
бит/бит |
10 |
10 |
| Предельное значение удельной скорости обмена информацией с 1 мм2 площади микросхемы при использовании алгоритмов сжатия |
Гбит/с/мм2 |
1,00Е+07 |
1,11Е+06 |
| Таблица 4 |
| Сравнение удельных скоростей передачи информации с помощью ИМКС и с помощью электрических контактов |
| Параметр |
Единица изм. |
Вариант 1 |
Вариант 2 |
| Предельное значение удельной скорости обмена информацией с 1 мм2 площади микросхемы при использовании ИМКС |
Гбит/мм2/с |
10000000 |
1111111 |
| Предельное значение удельной скорости обмена информацией с 1 мм2 площади микросхемы при электрическом соединении |
Гбит/мм2/с |
400 |
400 |
| Эффективность ИМКС по сравнению с электрическими соединениями |
раз |
25000 |
2778 |
Использование ИМКС позволяет уменьшить количество процессоров в суперкластерах примерно во столько же раз, во сколько увеличивается интенсивность обмена информацией с кристаллом, т.е. от 2,7 тыс.раз до 25 тыс.раз.
На практике это означает то, что суперкомпьютер на ИМКС, обладающий производительностью лидера 2005 года BlueGene/L, можно будет создать не на 130 тысячах процессорах, а всего лишь на 46-ти (при использовании ИМКС на 30-ти микронных оптоволокнах) или даже на 5-ти (на пяти микропроцессорах!), при использовании 10-ти микронных оптических волокон в качестве каналов связи.
Внедрение ИМКС надолго, если не навсегда, разрешит проблему «тирании межсоединений» на микро- и макроуровнях как для традиционной электроники 4-го и 5-го поколений, так и для функциональной электроники, нейрокомпьютеров и квантовых компьютеров будущего.
Недостатком прототипа является то, что для широкого промышленного применения микросхем с ИМКС необходимо создание набора архитектурных решений различного уровня сложности с различными функциональными свойствами.
Использование нового типа соединений позволяет исключить корпусирование кристаллов и распайку контактных площадок на контактные площадки корпусов микросхем, а затем распайку корпусов в платы. Более того, новый способ соединений предполагает использование более простых способов монтажа кристаллов на плату и разработку новых типов плат для монтажа микросхем. Принципиальное отличие новых плат заключается в том, что на них не требуется осуществлять сложную многослойную разводку сигнальных шин, осуществляющих связи между кристаллами и микросхемами. Новые платы должны обеспечивать только предельно плотный монтаж кристаллов, их эффективное охлаждение и подвод к ним питания. Это позволяет сделать платы для микросхем с ИМКС совершенно не так, как делают платы для обычных микросхем сейчас.
В связи с развитием сетевых структур в электронике возникла новая тенденция создавать самоорганизующиеся электронные структуры.
Например, известен способ создания самоорганизующихся виртуальных макроквантовых нейронных сетей по заявке на изобретение РФ №2002131406, заключающийся в том, что при помощи макроквантового алгоритма преобразуют физическое пространство аппаратуры, состоящей из различных блоков, в виртуальное пространство, организованное в виде многослойных ветвящихся нейроподобных сетей, отличающийся тем, что при этом не создают аппаратно выполненные нейроны и электронные связи между нейронами.
Известна заявка на патент США №20030217129 «Самоорганизация интеллектуальной архитектуры сети и методология», по которой интеллектуальная сеть включает множество иерархических интеллектуальных слоев, каждый слой связан коммуникациями по крайней мере с одним из превосходящего слоя и одним зависимым слоем. Множество узлов формирует каждый слой, где каждое множество узлов имеет интеллектуальные модули, которые связаны горизонтально в пределах каждого слоя, так же как связаны с интеллектуальными модулями зависимых и превосходящих иерархических слоев, чем обеспечивают сквозную иерархическую самоорганизацию интеллектуальной сети. Соединение модулей в иерархическую структуру осуществляется вычислительной системой по заложенному в нее алгоритму и контролирующей функционирование узлов сети. Собственно подключение узлов в систему производится с использованием средств сетевых соединений, при этом подразумевается, что физическое подключение всех узлов в сеть уже осуществлено ранее, так как сеть существует и все ее узлы функционируют. Система предназначена для повышения эффективности использования ресурсов сети, а также изменения ее структуры путем самоорганизации при нарушении целостности системы (например, при разъединении кабелей) или в случае хакерской атаки.
Способность самоорганизации интеллектуальной системы сети получена при использовании петель обратной связи, сформированных петлями входа и петлями выхода продукции. Петли обратной связи обеспечиваются, чтобы установить процесс самоорганизации, где интеллектуальные сети могут динамически повторно формировать топологию сети, а также ресурсы, условия и услуги динамически. Также непрерывная интеллектуальная система сети мониторов узнает все об окружающей среде и о ее воздействии на ресурсы сети, принимает интеллектуальные решения и предпринимает соответствующие действия, основанные на поведении сети, наблюдаемой в прошлом относительно аналогичных воздействий.
Известна заявка на патент США 20050201300 «Самоконфигурирование беспроводной персональной сетевой области», в которой описаны методы и аппаратные средства, обеспечивающие самоформирование беспроводной персональной сети из массива сетевых устройств.
Система включает определение местоположения каждого из устройств, компаратор, соединенный с определителем для того, чтобы сравнивать местоположения каждого из устройств, для того чтобы выбрать необходимое подмножество устройств, и средства коммуникации, соединенные с компаратором, чтобы передать идентификационные данные подмножества к некоторым или всему подмножеству устройств. Полученная информация позволяет автоматически сформировать требуемое подмножество устройств.
Известна заявка США №20050201301 на изобретение «Самоассоциирующаяся беспроводная персональная область сети», где формирование сети происходит самостоятельно на основе определения типа устройств, сравнения их свойств с заданными и подключения в персональную область сети только тех устройств, которые отвечают выбранным критериям.
Известна заявка США №20050262382 «Масштабируемая архитектура, базирующаяся на программном кворуме», в которой группа компьютеров программно устанавливает кворум (соглашение между собой) для того, чтобы установить и скоординировать доступ к разделенным ресурсам кластерной вычислительной системы. Используя многократно объекты кворума, которые распределены между членами кластера, кластер может однообразно обеспечить доступ к ресурсам большому количеству компьютеров, которые обращаются к масштабируемым ресурсам, типа разделенной системы управления базой данных.
Известна заявка США №20060268791 «Самоорганизующаяся многоканальная петлевая сеть». Специальные узлы сети используются как отправные точки для того, чтобы сформировать группы полностью связанных узлов. Здесь все узлы могут общаться непосредственно друг с другом, и связи отвечают транспортным требованиям, как предназначено их индивидуальной конфигурацией и топологическими положениями. Связи, которые не сталкиваются друг с другом, как предполагают, будут работать одновременно, таким образом увеличивая полосу пропускания, предлагаемую целой системой. Когда есть изменение к системе типа отключения или введения узла, система приспособится с минимальным воздействием на его операцию. Как только все группы сформированы в системе, группы теперь способны к коммуникациям между группами с увеличением полосы пропускания для таких коммуникаций.
Известен патент РФ №2198481 «ГЛОБАЛЬНОЕ БЕСКОНФЛИКТНОЕ СОЕДИНЕНИЕ». В патенте описано средство, предназначенное для преодоления проблем, связанных с маршрутизацией передаваемого блока данных и конфликтом передаваемого блока данных в сетях глобальных межсоединений. В патенте показано, что абонентский доступ к системам с комплексным представлением информации потребует коммутаций сотен тысяч абонентских линий, причем каждая линия обеспечивает прогон более пятисот мегабайт в секунду. Для удовлетворения этих перспективных требований потребуются пропускные способности, которые на три-четыре порядка больше планируемых возможностей современной технологии электросвязи.
Известен патент РФ №2202123 «ПАРАЛЛЕЛЬНАЯ ВЫЧИСЛИТЕЛЬНАЯ СИСТЕМА С ПРОГРАММИРУЕМОЙ АРХИТЕКТУРОЙ». Система содержит N параллельных процессоров, каждый из которых содержит матрицу процессорных элементов, ОЗУ, управляющий процессор, системную шину, служебное ОЗУ, буферное ОЗУ, блок загрузки и одну или более коммуникационных сред.
Известна заявка РФ №№96123059 «Вычислитель с перепрограммируемой архитектурой», содержащий в своей основе базовые вычислительные элементы, входы/выходы которых соединены между собой по принципу каждый с каждым, подсоединены к общей внутренней шине F-bus и схеме синхронизации, отличающийся тем, что вычислитель содержит скоростную шину, позволяющую объединять несколько плат для решения сложных задач и позволяющую использовать электрические и оптические линии связи, реализован на основе многопроцессорной системы, а базовые вычислительные элементы выполнены на базе современных программируемых пользователем микросхем FPGA.
Известен патент РФ №2003124690 «Архитектура адаптивной параллельно-конвейерной нейронной сети для коррекции ошибок», содержащая блок нейронной сети, отличающаяся тем, что в нее включены блок реконфигурации, причем информационный вход сети соединен со входом нейронной сети, выход которой соединен с входом блока реконфигурации, управляющим входом демультиплексоров блока обнаружения ошибок и управляющим входом постоянного запоминающего устройства весовых коэффициентов блока исправления ошибок, выход которого является выходом адаптивной параллельно-конвейерной нейронной сети.
Известна заявка США №20060242225 «Самоформирующаяся и самовосстанавливающаяся конфигурация, разрешающая замену агентов с эффектом живого ремонта», по которой конфигурация включает набор агентов в “плоской” архитектуре аппаратных средств и позволяет обеспечить самоформирование и самовосстановление иерархической архитектуры путем использования программного обеспечения. Изобретение может использоваться в различных вариантах, например с целью поддержания целостности сети. В другом варианте сеть, контролирующая безопасность здания, предусматривает агентов сети способными к коммуникации с любыми другими агентами в сети при запуске сети. Вскоре после инициализации сети программная архитектура, основанная на плоской архитектуре аппаратных средств, перестраивает связи и коммуникации, чтобы обеспечить эффективную иерархию управления, и заменяет рабочими агентами скомпрометированных агентов по мере необходимости в сети.
Недостатком таких решений является использование либо сравнительно небольшого числа радиосоединений, к тому же обладающих ограниченной пропускной способностью, либо использование чисто программных средств формирования виртуальной «параллельной» архитектуры, которая физически все равно остается последовательной. Сетевые же Интернет-решения, несмотря на то, что они реально являются самым настоящим параллельным сетевым или древовидным решением, пока еще малопригодны для создания высокопроизводительных суперкластеров в связи с недостаточной для этих целей пропускной способностью оптоволоконных одномодовых шин, используемых в таких сетях. Реальное создание суперкластеров возможно только с использованием многоразрядных оптических шин с производительностью, в десятки тысяч раз превышающей производительность Интернет-соединений.
За прототип по самоформирующемуся суперкомпьютеру принята компьютерная система по заявке на изобретение РФ №96100215, содержащая по крайней мере одну стойку, установленные и скоммутированные на ней узлы, обрабатывающие информацию, и соединенные с основанием устройства ввода и/или вывода информации, отличающаяся тем, что коммутация узлов, обрабатывающих информацию, выполнена в виде соединения узлов, адекватных вихревым, и/или иерархически развивающимся, или коллапсирующим информационным потокам, и/или в виде расширяющегося или сжимающегося в информационных потоках доминирующего кластера из указанных узлов, причем соединение узлов друг с другом осуществлено, по крайней мере, через один световодный жидкокристаллический слой основания, при этом основание выполнено в виде объемного оптоэлектронного модуля. Узел, обрабатывающий информацию, выполнен в виде оптоэлектронного модуля, узлы, обрабатывающие информацию и образующие информационную среду, установлены на одном и/или нескольких основаниях в хаотичном порядке. Световодный зонд выполнен в виде U-образной петли, у которой оба конца зонда соединены с узлом, обрабатывающим информацию. В качестве контактного устройства использован оптоэлектронный модуль. Основания с суперпроцессорами, установленные в корпусе компьютерной системы, соединены друг с другом световодами, последовательно или зигзагообразно. Основания установлены в корпусе компьютерной системы в виде прямоугольной призмы.
Недостатком прототипа является технологическая сложность реализации оптических связей через световодный жидкокристаллический слой основания.
Предлагаемыми изобретениями решаются задачи упрощения технологии создания микросхем и суперкомпьютеров.
Технический результат, получаемый от изобретений, заключается в создании группы микросхем с оптоволоконными многоконтактными соединениями, принципиально новой охлаждаемой платы для сверхплотного монтажа таких микросхем и самоформирующегося суперкомпьютера, использующего возможности, которые дает применение многоконтактных оптоволоконных соединений.
Предложены микросхема с оптоволоконными многоконтактными соединениями, охлаждаемая плата и самоформирующийся суперкомпьютер.
Основные отличия заявляемых изобретений заключаются в следующем:
1. Микросхема с оптоволоконными многоконтактными соединениями, содержащая функциональные блоки, систему распознавания, запоминания и коммутации каналов связи, а также или коммутатор каналов связи, соединенный с матрицей оптических передатчиков сигнала, или матрицу оптических приемников сигнала, и имеющая шины питания, входные и выходные шины вышеперечисленных блоков в виде токопроводящих дорожек, а также контактные площадки, отличается тем, что:
1.1. Содержит одновременно одну или несколько матриц оптических передатчиков сигнала, одну или несколько матриц оптических приемников сигнала, а также один или несколько коммутаторов каналов, причем:
1.2. – и/или входные шины матриц передатчиков соединены:
– 1.2.1. – или с контактными площадками микросхемы;
– 1.2.2. – или с выходными шинами функциональных блоков микросхемы;
– 1.2.3. – или с выходными шинами одного или нескольких коммутаторов каналов, входные шины которых в свою очередь соединены:
– 1.2.3.1. – с выходными шинами функциональных блоков микросхемы;
– 1.2.3.2. – или с контактными площадками.
1.3. – и/или выходные шины матриц приемников соединены:
– 1.3.1. – или с контактными площадками микросхемы;
– 1.3.2. – или со входными шинами функциональных блоков микросхемы;
– 1.3.3. – или с входными шинами одного или нескольких коммутаторов каналов, выходные шины которых в свою очередь соединены:
– 1.3.3.1. – и/или с входными шинами функциональных блоков микросхемы;
– 1.3.3.2. – или с контактными площадками.
Таким образом, отличия по п.1 описывают разные варианты компоновки микросхем с оптоволоконными многоконтактными соединениями. Эти компоновки образуются путем комбинации способов и последовательности подключения матриц оптических приемников, матриц оптических передатчиков, коммутаторов и контактных площадок. Как было отмечено выше, большое разнообразие типов микросхем с ИМКС необходимо для создания широкой гаммы разнообразных устройств на базе стандартного набора микросхем, содержащих элементы ИМКС.
| Таблица 5 |
| Варианты групп компоновки микросхем с оптоволоконными многоконтактными соединениями |
| 1 группа |
– Входы не коммутируемые |
+ Выходы коммутируемые |
| 2 группа |
+ Входы коммутируемые |
– Выходы не коммутируемые |
| 3 группа |
– Входы не коммутируемые |
– Выходы не коммутируемые |
| 4 группа |
+ Входы коммутируемые |
+ Выходы коммутируемые |
Варианты компоновки возникают за счет вариаций сочетаний коммутируемости-некоммутируемости оптических входов и оптических выходов, а также контактных площадок (электрических входов и выходов) в группах 1-4.
| Таблица 6 |
Варианты компоновки микросхем с оптоволоконными многоконтактными соединениями 1 группа: Входы не коммутируемые, выходы коммутируемые |
| № варианта |
Входы |
Выходы |
| 1 |
+ Входы оптические = матрица оптических приемников |
+ Выходы оптические = коммутатор + матрица передатчиков |
| 2 |
– Входы электрические = контактные площадки |
+ Выходы оптические = коммутатор + матрица передатчиков |
| 3 |
+ Входы оптические = матрица оптических приемников |
– Выходы электрические = коммутатор + контактные площадки |
| Таблица 7 |
Варианты компоновки микросхем с оптоволоконными многоконтактными соединениями 2 группа: Входы коммутируемые, выходы не коммутируемые |
| № варианта |
Входы |
Выходы |
| 4 |
+ Входы оптические = матрица оптических приемников + коммутатор |
+ Выходы оптические = матрица передатчиков |
| 5 |
– Входы электрические = контактные площадки + коммутатор |
+ Выходы оптические = матрица передатчиков |
| 6 |
+ Входы оптические = матрица оптических приемников + коммутатор |
– Выходы электрические = контактные площадки |
| Таблица 8 |
Варианты компоновки микросхем с оптоволоконными многоконтактными соединениями 3 группа: Входы не коммутируемые, выходы не коммутируемые |
| № варианта |
Входы |
Выходы |
| 7 |
+ Входы оптические = матрица оптических приемников |
+ Выходы оптические = коммутатор + матрица передатчиков |
| 8 |
– Входы электрические = контактные площадки |
+ Выходы оптические = коммутатор + матрица передатчиков |
| 9 |
+ Входы оптические = матрица оптических приемников |
– Выходы электрические = коммутатор + контактные площадки |
| Таблица 9 |
Варианты компоновки микросхем с оптоволоконными многоконтактными соединениями 4 группа: Входы коммутируемые, выходы коммутируемые |
| № варианта |
Входы |
Выходы |
| 10 |
+ Входы оптические = матрица оптических приемников |
+ Выходы оптические = коммутатор + матрица передатчиков |
| 11 |
– Входы электрические = контактные площадки |
+ Выходы оптические = коммутатор + матрица передатчиков |
| 12 |
+ Входы оптические = матрица оптических приемников |
– Выходы электрические = коммутатор + контактные площадки |
| Таблица 10 |
Варианты компоновки микросхем с оптоволоконными многоконтактными соединениями 5 группа: Комбинации вариантов 1-12 с типами ветвления |
| |
1 |
2 |
3 |
| № варианта |
Параллельная = количество входов равно количеству выходов. Всего 12 типов |
Разветвляющаяся = количество выходов больше, чем входов. Всего 12 типов |
Сходящаяся = количество входов больше, чем выходов. Всего 12 типов |
Типы компоновки 5-й группы по табл.10 образуются путем комбинации параллельных, разветвляющихся и сходящихся способов соединений ранее полученных групп комбинаций.
Таким образом, естественным путем возникает 36 вариантов типов микросхем с ИМКС, что, в принципе, достаточно для создания достаточно гибкой системы проектирования разнообразных устройств.
Необходимо отметить, что типы компоновки, когда матрицы оптических приемников и матрицы оптических передатчиков подключаются к контактным площадкам напрямую или через коммутаторы, в принципе, известны и применяются, например, в фотоматричных устройствах и световых индикаторах. Однако такая компоновка неизвестна для коммуникационных целей, т.е. для соединения микросхем с использованием регулярных жгутов оптоволоконных световодов, как в патенте РФ №№2270493. Необходимость использования микросхем с прямым подключением матриц оптических приемников и/или матриц оптических передатчиков к контактным площадкам возникает при соединении микросхем с ИМКС с обычными микросхемами на обычных платах. При этом на другом конце соединения должна стоять ответная матрица, соединенная с коммутатором.
2. Еще одно отличие микросхем по п.1 заключается в том, что все соединения с контактными площадками осуществляются напрямую или через оптоэлектронную развязку. Это, в принципе, известное решение является новым для заявляемого типа микросхем.
3. Еще одно отличие микросхем по п.1 заключается в том, что микросхема содержит и/или вычислительную структуру, способную управлять одним или всеми коммутаторами сразу, и/или средство для подключения к коммутаторам внешней вычислительной структуры, способной управлять коммутаторами. Это решение целесообразно применять в простых устройствах комбинированного типа, где микросхемы с оптоволоконными соединениями соединяются с микросхемами обычного типа.
4. Микросхема по п.1 также отличается тем, что над матрицами оптических передатчиков и оптических приемников сигналов расположены многоконтактные оптоволоконные разъемы, в которых закреплены концы оптоволоконных шин, так чтобы один конец оптоволоконной шины был вставлен в многоконтактный оптоволоконный разъем, расположенный над матрицей оптических передатчиков своей или другой микросхемы, а другой конец вставлен в многоконтактный оптоволоконный разъем, расположенный над матрицей оптических приемников своей или другой микросхемы.
В принципе, это отличие не известно из описания и формулы патента РФ №№2270493, в описании устройства которого говорится только о том, что «матрица входящих концов пучка проводников соединена с матрицей передатчиков, а матрица выходящих концов пучка проводников соединена с матрицей приемников сигнала». Каким образом производится это соединение в формуле не указано. Поэтому правомерно в данной заявке указать устройство для соединения – как многоконтактный оптоволоконный разъем, как новый функциональный элемент конструкции микросхемы с ИМКС.
Следующая группа отличий относится к охлаждаемой плате, содержащей плоскости, на которых имеются токопроводящие шины и размещены микросхемы.
5. Охлаждаемая плата, содержащая плоскости, на которых имеются токопроводящие шины и размещены микросхемы, отличается тем, что:
5.1. Содержит корпус в виде пластины или n-угольной призмы, на плоскостях которой приклеены или закреплены иначе микросхемы, содержащие многоконтактные оптоволоконные разъемы:
5.1.1. – при этом на одной из торцевых сторон платы расположено устройство для автоматического прикрепления платы к стойке и разъем для подключения токопроводящих шин платы к источнику питания при прикреплении платы к стойке;
5.1.2. – при этом в корпусе платы расположен или фреоновый, или водяной, или электрический охладитель, а в торцевой части платы размещены устройства для автоматического подключения охладителя к расположенным на стойке ответным частям внешней системы охлаждения или к источнику питания.
Следующая группа отличий относится к самоформирующемуся суперкомпьютеру, содержащему:
– множество стоек, на каждой из которых размещен массив разъемов для подключения токопроводящих шин питания стоек к шинам питания плат;
– массив плат с размещенными на них микросхемами, причем платы имеют устройства для их закрепления на стойках.
Элементы суперкомпьютера соединяются друг с другом с помощью оптоволоконных и электрических шин.
6. Самоформирующийся суперкомпьютер отличается тем, что:
6.1. – содержит компьютер-строитель(или билдер, от англ. Builder – строитель);
6.2. – содержит один или несколько манипуляторов, управляемых этим компьютером.
6.3. – содержит библиотеки:
6.3.1. – содержит библиотеки плат с микросхемами;
6.3.2. – содержит библиотеки оптоволоконных шин и электрических кабелей,
в виде наборов этих элементов, установленных в доступных для манипуляторов магазинах.
7.1. Стойки суперкомпьютера имеют:
7.1.1. – или линейную форму, например, сделаны в виде пластины или параллелепипеда;
7.1.2. – или форму треугольной призмы;
7.1.3 – или форму квадратной призмы;
7.1.4. – или форму многоугольной призмы;
7.1.5. – или форму цилиндра.
7.2. Внутри стоек размещены:
– или токопроводящие шины (например, при использовании электрической системы охлаждения с использованием элементов Пельтье);
– или патрубки системы охлаждения с автоматическими клапанами при использовании жидкостной или фреоновой системы охлаждения и токопроводящие шины.
7.3. На внешних поверхностях стоек установлены:
7.3.1. – массивы устройств для автоматического прикрепления плат к стойкам;
8. Оптоволоконные шины, соединяющие платы, размещаются и/или:
8.1. – в кабельных каналах, расположенных на полу;
8.2. – в промежутках между рядами плат в стойках;
8.3. – в промежутках между стойками;
8.4. – и/или проводятся, как получится, без кабельных каналов по промежуткам между платами, между стойками, а также по полу, исходя из соображений экономии кабеля или экономии внутреннего пространства суперкомпьютера.
9. Манипуляторы, управляемые компьютером-строителем, расположены:
9.1. – и/или на верхней части стойки;
9.2. – и/или на направляющих, размещенных над стойками.
10. Манипуляторы снабжены устройствами:
10.1. – и/или для установки плат в стойки и отсоединения плат от стоек,
10.2. – и/или для проведения к платам, подключения, отключения и снятия проведенных ранее оптоволоконных шин.
Приведенных отличий нет в известных патентных источниках по суперкомпьютерам. Простота осуществления многоконтактных оптоволоконных соединений позволяет осуществлять их с помощью манипулятора. В данном решении сборка и формирование всех связей суперкомпьютера – это полностью автоматизированный процесс, осуществляемый компьютером-строителем исходя из конкретного задания. При большом числе элементов применение манипуляторов позволяет перейти на качественно новый уровень технических решений.
Предлагаемые изобретения поясняются фигурами 1-29.
На фиг.1-20 показаны различные варианты компоновки микросхем с оптоволоконными многоконтактными соединениями.
На фиг.21-25 показано устройство охлаждаемой платы.
На фиг.26, 27 и 28 показано устройство стоек самоформирующегося суперкомпьютера с массивом охлаждаемых плат и манипулятором, размещенным на верхней части стойки.
На фиг.29 показана общая компоновка самоформирующегося суперкомпьютера со стойками, магазинами плат и оптоволоконных шин, компьютером-строителем и кабельными каналами.
На фиг.1-29 цифрами обозначены:
Микросхема с оптоволоконными многоконтактными соединениями
1 – матрица оптических передатчиков сигнала или матрица оптических передатчиков. По патенту РФ №2270493, это может быть, например, матрица светоизлучающих диодов или иных полупроводниковых устройств, излучающих свет, при подаче на них электрического сигнала;
2 – матрица оптических приемников сигнала или матрица оптических приемников. По патенту РФ №2270493, это может быть, например, матрица фотодиодов или иных полупроводниковых устройств, вырабатывающих электрический сигнал при освещении их светом;
3 – контактные площадки микросхемы или контактные площадки;
4 – коммутатор каналов связи или коммутатор каналов. По патенту РФ №2270493 это устройство переключающее каналы связи так, чтобы обеспечить подключение каналов связи в заданном порядке;
5 – функциональные блоки микросхемы. Блоки микросхемы, выполняющие основные функции, для выполнения которых предназначена микросхема, например, это может быть матрица вентилей ПЛИС, микропроцессор, блок памяти или иное функциональное устройство;
6 – вычислительная структура, способная управлять одним или всеми коммутаторами сразу. По патенту РФ №2270493 это микропроцессорный блок с блоком памяти, управляющий коммутатором по заданной программе соединений.
Охлаждаемая плата:
7 – охлаждаемая плата;
8 – микросхемы на пластине кремния, закрытые крышками с оптоволоконным разъемом;
9 – многоконтактный оптоволоконный разъем. Разъем, предназначенный для соединения микросхем с ИМКС оптоволоконной шиной;
10 – оптоволоконная шина, представляющая собой, например, жгут регулярных оптических волокон диаметром в несколько микрон и длиной от 20-30 мм до нескольких метров, по которому происходит передача многоволоконного оптического сигнала, генерируемого матрицей передатчиков сигнала одной микросхемы к матрице приемников сигнала другой или этой же микросхемы;
11 – корпус платы с охладителем. Плата содержит фреоновый или водяной или электрический охладитель, вмонтированный в ее корпус. Фреоновый или жидкостной охладитель может представлять собой плоскую деталь, имеющую внутреннюю полость, соединенную с входным и выходным патрубками, размещенными на торцевой стороне платы. Электрический охладитель может представлять собой плоский элемент Пельтье, вмонтированный в корпус платы и имеющий разъем для подвода питания, расположенный на торцевой стороне платы;
12 – плоскости, на которых имеются токопроводящие шины и размещены микросхемы. На внешних поверхностях платы также размещены токопроводящие шины для подвода электроэнергии к микросхемам. Эти шины соединены с электрическим разъемом, размещенным на торцевой части охлаждаемой платы, так что при соединении платы со стойкой эти разъемы подключаются к ответным частям разъемов, соединенных с токопроводящими шинами, размещенными в стойках суперкомпьютера;
13 – торцевая часть платы;
14 – разъем для подключения токопроводящих шин платы к токопроводящим шинам стойки;
15 – элемент устройства для автоматического прикрепления плат к стойке манипуляторами (например, гайка с резьбой, которая автоматически наворачивается на крепежный винт стойки);
16 – входной и выходной патрубки жидкостной или фреоновой системы охлаждения.
Самоформирующийся суперкомпьютер:
17 – стойка суперкомпьютера;
18 – массив плат, содержащий микросхемы;
19 – компьютер-строитель;
20 – магазин с библиотекой оптоволоконных шин;
21 – магазин с библиотекой плат;
22 – кабельные каналы, расположенные на полу;
23 – стоечный манипулятор, управляемый компьютером-строителем;
24 – устройство для проведения к платам, подключения, отключения и снятия проведенных ранее оптоволоконных шин;
25 – устройство для установки плат в стойки и отсоединения плат от стоек;
26 – размещенная над стойками направляющая для перемещения манипулятора;
27 – оптоволоконные шины, размещенные между рядами плат на стойках;
28 – межстоечный манипулятор, управляемый компьютером-строителем.
На фиг.1-20 показаны различные варианты микросхем с оптоволоконными многоконтактными соединениями.
На фиг.1 показан тип микросхемы с параллельным набором соединений матриц оптических передатчиков сигнала 1 с контактными площадками 3 без коммутаторов.
На фиг.2 показан тип микросхемы с параллельным набором соединений матриц оптических приемников сигнала 2 с контактными площадками 3 без коммутаторов.
На фиг.3 показан тип микросхемы с параллельным набором соединений матриц оптических передатчиков сигнала 1 с функциональными блоками 5 микросхемы без коммутаторов.
На фиг.4 показан тип микросхемы с параллельным набором соединений матриц оптических приемников сигнала 2 с функциональными блоками микросхемы 5 без коммутаторов.
На фиг.5 показан тип микросхемы, в которой одновременно присутствуют параллельный набор соединений матриц оптических приемников сигнала 1 с функциональными блоками 5 микросхемы без коммутаторов и параллельный набор соединений матриц оптических передатчиков сигнала 2 с функциональными блоками 5 микросхемы без коммутаторов.
На фиг.6 показан тип микросхемы с параллельным набором соединений матриц оптических передатчиков сигнала 1 с функциональными блоками 5 микросхемы через коммутаторы 4.
На фиг.7 показан тип микросхемы с параллельным набором соединений матриц оптических приемников сигнала 2 с функциональными блоками 5 микросхемы через коммутаторы 4.
На фиг.8 показан тип микросхемы, в которой одновременно присутствуют параллельный набор соединений матриц оптических приемников сигнала 2 с функциональными блоками 5 микросхемы через коммутаторы 4 и параллельный набор соединений матриц оптических передатчиков сигнала 1 с функциональными блоками 5 микросхемы через коммутаторы 4.
На фиг.9 показан тип микросхемы с параллельным набором соединений матриц оптических передатчиков сигнала 1 с контактными площадками 3 микросхемы через коммутаторы 4.
На фиг.10 показан тип микросхемы с параллельным набором соединений матриц оптических приемников сигнала 2 с контактными площадками 3 микросхемы через коммутаторы 4.
На фиг.11 показан тип микросхемы разветвляющегося типа, где одна группа контактных площадок 3 соединена с набором матриц оптических передатчиков сигнала 1 без коммутаторов.
На фиг.12 показан тип микросхемы сходящегося типа, где с набором матриц оптических приемников сигнала 2 соединена одна группа контактных площадок 3 без коммутаторов.
На фиг.13 показан тип микросхемы разветвляющегося типа, где один функциональный блок микросхемы 5 соединен с набором матриц оптических передатчиков сигнала 1 без коммутаторов.
На фиг.14 показан тип микросхемы сходящегося типа, где с набором матриц оптических приемников сигнала 2 соединен один функциональный блок микросхемы 5 без коммутаторов.
На фиг.15 показан тип микросхемы, в котором одновременно присутствуют массивы 13-го и 14-го типов микросхем, функциональные блоки 5 которых соединены обычными внутрисхемными связями.
На фиг.16 показан тип микросхемы разветвляющегося типа, где один функциональный блок микросхемы 5 соединен с набором матриц оптических передатчиков сигнала 1 через коммутаторы 4.
На фиг.17 показан тип микросхемы сходящегося типа, где с набором матриц оптических приемников сигнала 2 соединен один функциональный блок 5 микросхемы через коммутаторы 4.
На фиг.18 показан тип микросхемы, в котором одновременно присутствуют массивы 16-го и 17-го типов микросхем, функциональные блоки 5 которых соединены обычными внутрисхемными связями, а коммутаторы 4 управляются одной вычислительной структурой, способной управлять одним или всеми коммутаторами сразу 6.
На фиг.19 показан тип микросхемы разветвляющегося типа, где одна группа контактных площадок 3 соединена с набором матриц оптических передатчиков сигнала 1 через коммутаторы 4.
На фиг.20 показан тип микросхемы сходящегося типа, где с набором матриц оптических приемников сигнала 2 соединена одна группа контактных площадок 3 через коммутаторы 4.
На фиг.21 показана кремниевая пластина с регулярной структурой, состоящей из микросхем 8, закрытых крышками с оптоволоконными разъемами 9. На фиг.21 показан вариант с одинаковым количеством оптоволоконных многоконтактных разъемов на крышке каждой микросхемы, хотя принципиально на каждой микросхеме может быть разное количество различных разъемов. Функциональными элементами микросхем такой платы могут служить массивы вентилей ПЛИС, элементы, моделирующие нейроны нейрокомпьютера, транспьютеры, массивы процессоров и т.п.
На фиг.22 показана структура одноплатных соединений микросхем, выполненная на пластине с микросхемами 8. На фигуре показан вариант размещения массива межплатных оптоволоконных шин 10, посредством которых осуществляются все межкристальные одноплатные и межплатные соединения. Из разъемов 9 одной микросхемы оптоволоконные шины могут быть вставлены либо в другие разъемы 9 этой же микросхемы, либо в другие разъемы 9 любой другой микросхемы на этой же плате, либо в разъем 9 любой микросхемы, расположенной на любой другой плате.
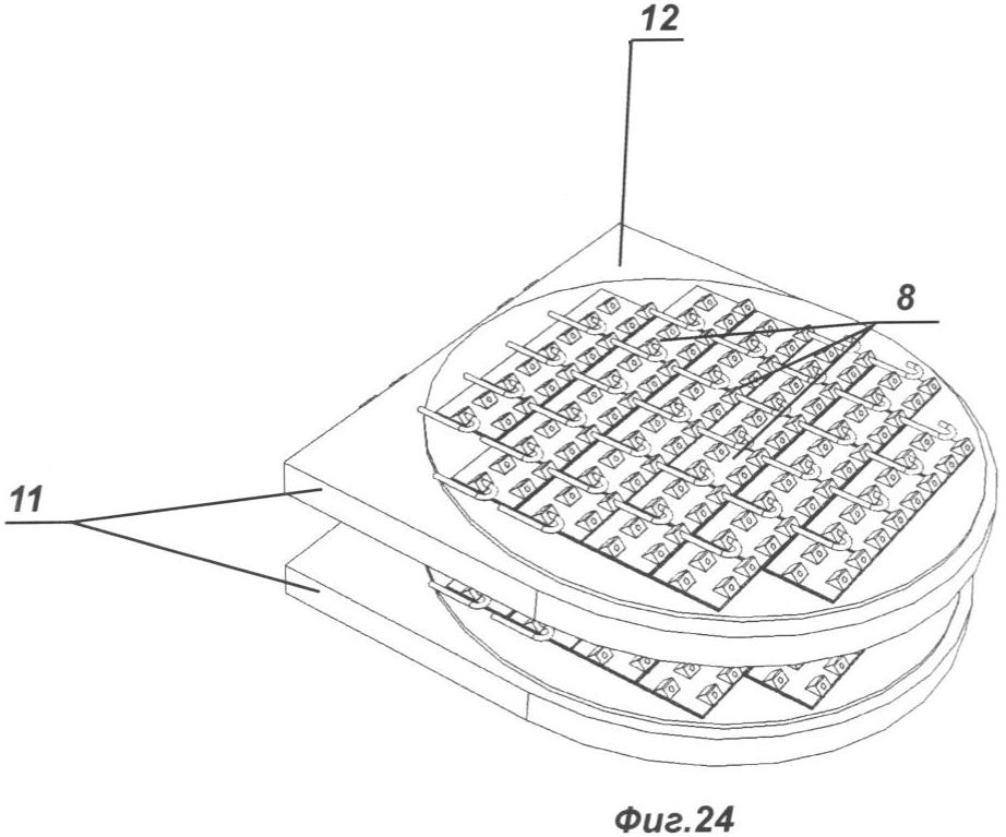
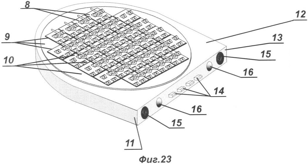
На фиг.23 показан вид охлаждаемой платы с торцевой стороны. На фигуре показано размещение пластины с микросхемами. Как вариант показан случай, когда пластину кремния вообще не распиливают на отдельные кристаллы с микросхемами. Это позволяет избежать целого ряда сложнейших операций, двойной распайки микросхем и их корпусирования, в том смысле, как это делают сейчас. Т.е. когда распиливают пластину со сформированным блоком микросхем на кристаллы, потом кристаллы приклеивают в колодце корпуса микросхемы, т.е. корпусируют микросхему, затем припаивают внутренние выводы корпуса к контактным площадкам микросхем и только после этого припаивают микросхему на многослойную плату. Между всеми этими операциями проводят множество контрольных операций и тестирований, что значительно удорожает продукцию и повышает ее трудоемкость. При производстве крупных блоков микросхем с многоконтактными оптоволоконными соединениями, предназначенных для использования в суперкомпьютерах, можно вообще не распиливать пластину на кристаллы. Корпусирование таких микросхем будет заключаться в приклеивании на внешнюю поверхность пластины с микросхемами блока крышек с оптоволоконными разъемами, так чтобы разъемы на поверхности крышек совпадали с положением матриц приемников сигнала и матриц передатчиков сигнала. После этого пластины можно приклеивать на корпус охладителя с двух сторон и соединить разъемы оптоволоконными шинами в любом требуемом порядке. Такая конструкция показана на фиг.23 и 24. Ее использование в десятки раз повысит выход годных микросхем и снизит трудоемкость их изготовления.
Охлаждаемая плата, показанная на фиг.23 и 24, служит для размещения микросхем 8 на плоских поверхностях охладителя 12 и содержит разъемы для подключения токопроводящих шин платы к токопроводящим шинам стойки 14 и элементы устройства для автоматического прикрепления плат к стойке (например, отверстие с резьбой) 15. Поз.16 обозначены входной и выходной патрубки охладителя (жидкостного или фреонового).
На фиг.24 и 25 показан вид двух охлаждаемых плат 7 с микросхемами 8, размещенных друг над другом так, как они размещаются в стойках суперкомпьютера 17.
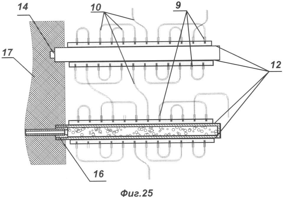
На фиг.25 показан вид некоторых вариантов разводки межплатных ближних и дальних одноплатных межкристальных многоконтактных оптоволоконных соединений. Показана возможность соединения микросхем, расположенных в противолежащих слоях на платах, размещенных в массиве стоек, друг над другом. Микросхемы 8 размещены на охлаждаемых плоскостях 12. В многоконтактные оптоволоконные разъемы 9 вставлены оптоволоконные шины 10, которые соединены с разъемами 9, находящимися в разных местах плат, на одной или другой стороне платы, либо соединены с разъемами, находящимися на соседней плате. Поз.14 обозначен разъем для подключения токопроводящих шин платы к токопроводящим шинам стойки (на фигурах токопроводящие шины не показаны). Поз.16 обозначено соединение патрубков жидкостного охладителя платы 7 с подводящим патрубком стойки 17.
На фиг.26, 27 и 28 показано устройство стоек 17 самоформирующегося суперкомпьютера с массивом охлаждаемых плат 18 и манипулятором 23, размещенным на верхней части стойки.
На фиг.29 показана общая компоновка самоформирующегося суперкомпьютера со стойками 17, магазином плат 21, магазином оптоволоконных шин 20, компьютером-строителем 19 и кабельными каналами 22.
Комплекс изобретений работает следующим образом. Предварительно с помощью показанных на фиг.1-20 типов микросхем с различными или однотипными средствами для многоконтактных оптоволоконных соединений (1, 2, 3, 4, 6) и с различными или однотипными функциональными блоками 5 изготавливают охлаждаемые платы 7 с различными наборами микросхем 8. Межкристальные соединения оптоволоконными шинами 10 в этих микросхемах могут быть сделаны предварительно полностью или частично. Затем заполняют этими платами магазины с библиотекой плат 21. Заполняют магазин библиотеки оптоволоконных шин 20 набором оптоволоконных шин 10 различной длины. В исходном состоянии стойки 17 пусты, а отверстия 16 системы охлаждения (фиг.25, в случае использования жидкостной или фреоновой системы) закрыты клапанами (клапаны на фигурах не показаны). После этого запускают в работу компьютер-строитель 19, который по специальному алгоритму управляет манипуляторами 23. Используя устройство для установки плат в стойки и отсоединения плат от стоек 25, межстоечный манипулятор 28, установленный на направляющей 26, размещенной над стойками 17, извлекает из магазинов библиотеки плат 21 требуемую плату 7 и, переместившись к нужной стойке 17, передает плату 7 стоечному манипулятору 23, размещенному на стойке 17.
Затем или одновременно с этим межстоечный манипулятор 28 извлекает из магазинов 20 оптоволоконные шины 10 требуемой длины и также передает ее стоечному манипулятору 23.
Получив плату 7 и набор оптоволоконных шин 10 стоечный манипулятор 23, используя свое устройство для установки плат 25, устанавливает плату 7 в стойку 17. При этом включается соответствующее устройство для автоматического прикрепления платы к стойке, которое закрепляет плату 7 на стойке. При этом соединяются разъемы 14, подключая шины питания стойки 17 к шинам питания платы 7. Одновременно патрубки системы охлаждения 16 платы 7 соединяются с патрубками системы охлаждения, размещенными на стойке 17, и открываются электромагнитные или механические клапаны, обеспечивающие поступление хладагента в подключенную плату. Эти же клапаны препятствуют утечке хладагента из патрубков стойки, к которым не подключены платы 7.
После или в процессе установки на стойки массива плат 18 стоечные манипуляторы 23, используя устройства 24 (их конструкция на фигурах не показана, так как для этих целей могут быть использованы известные типы манипуляторов), осуществляют внутриплатные и одностоечные межплатные соединения, используя для этого оптоволоконные шины 10, которые подаются им манипулятором 28 из магазинов библиотеки шин 21.
Одновременно с процессом формирования массива межплатных одностоечных соединений 27, которые размещаются в пространстве между рядами плат 7 на стойках 17, манипуляторами 23 и 28 совместно производятся межстоечные соединения. Эти соединения прокладываются или в кабельных каналах 22, расположенных на полу, либо вообще могут прокладываться “как получится” по всей поверхности пола между стойками по принципу, как получится. Так как процесс протекает полностью автоматически, то постоянного доступа операторов в межстоечное пространство не требуется. В исключительных или аварийных случаях, когда такой доступ потребуется, его можно осуществлять, используя межстоечную направляющую 26 и специальное сиденье, размещенное на манипуляторе 28 или на отдельном устройстве, или иные средства, чтобы перемещаться поверх массива оптоволоконных шин, размещенных в межстоечном пространстве.
Таким образом, используя компьютер-строитель 19, управляющий манипуляторами 23 и 28, суперкомпьютер осуществляет автоматическое самоформирование по заданной программе. Более того, по мере расширения своих функциональных возможностей, функции самоформирования суперкомпьютер может выполнять сам, передавая компьютеру-строителю 19 другие функции, например ремонта путем замены вышедших из строя плат, удаления оптошин связей, ставших ненужными или неэффективными.
Использование манипуляторов для самоформирования суперкомпьютеров необходимо по следующим причинам:
1. Обеспечивается автоматизированный процесс сборки суперкомпьютера, исключающий влияние человеческого фактора и связанных с этим ошибок.
2. Возникает возможность автоматического непрерывного изменения и самосовершенствования архитектуры суперкомпьютера, применительно к решению сложных динамичных задач. Вся архитектура суперкомпьютера становится известной самому суперкомпьютеру до мельчайших деталей, поэтому возникает обратная связь программы с архитектурой своего суперкомпьютера. Это делает возможным осуществить процесс автоматической оптимизации архитектуры суперкомпьютера применительно к решению конкретных задач.
3. Возможен быстрый автоматический ремонт любой части суперкомпьютера без его остановки.
Таким образом, включение манипуляторов и библиотек элементов в состав суперкомпьютеров придает им совершенно новые качества – делает такие суперкомпьютеры исключительно устойчивыми к внешним воздействиям, дает им возможность саморазвития, самосовершенствования и даже, в какой-то первичной степени, эволюции, когда они начнут разрабатывать новые микросхемы и другие элементы суперкомпьютеров сами для себя.
Предлагаемый комплекс взаимосвязанных изобретений позволяет решить целый ряд важнейших проблем.
1. Значительно упрощается технология изготовления массивов микросхем. Отпадает необходимость в их корпусировании и двойной распайки вначале на внутренние контакты корпусов микросхем, а затем распайки микросхем на платы.
2. Кардинально увеличивается скорость межкристального межпроцессорного и межплатного обмена.
3. Возникает возможность создания и ликвидации любых типов связей между любыми элементами суперкомпьютера в процессе его работы. При этом количество межплатных и межстоечных связей может быть в сотни раз большим, чем это возможно с использованием других средств соединения микросхем.
4. Упрощается конструкция плат для монтажа микросхем. Практически отпадает необходимость многослойной разводки плат.
Упрощается система охлаждения кристаллов на плате и повышается ее эффективность. Значительно повышается плотность монтажа микросхем на единицу площади платы и на единицу объема суперкомпьютера.
5. Возникает возможность создавать очень большие высокопроизводительные и в то же время очень гибкие структуры из полностью однотипных функциональных блоков, содержащих ИМКС и массивы перепрограммируемых логических структур (ПЛИС).
6. Возникает возможность полностью автоматического самоформирования суперкомпьютеров с использованием манипуляторов и библиотек элементов.
7. Возникает возможность саморазвития (эволюции!) суперкомпьютеров без участия человека. Суперкомпьютеру можно ставить задачу моделирования сложных систем путем прямого копирования с помощью ИМКС ее реальных физических связей, копируя функции структурных элементов этой системы путем программирования матриц ПЛИС. Если система будет иметь элементы программного и физического поощрения за успехи и систему правил для выявления и устранения конфликтов и ошибок, то на каком-то этапе она может начать саморазвиваться. Система сама начнет себя перестраивать и совершенствовать, все лучше и лучше выполняя поставленные перед ней задачи. Программа сможет влиять на архитектуру, а архитектура на программу! Такая связь таит в себе колоссальные возможности развития и самосовершенствования.
По всей вероятности именно с помощью таких суперкомпьютеров человечеству удастся выполнить свою главную миссию – создание искусственного интеллекта, многократно превосходящего человеческий разум в творческих процессах создания изобретений и научных исследований.
Обладая феноменальным интеллектом и колоссальной (по сравнению с человеческим мозгом) работоспособностью, таким суперкомпьютерам удастся решить все крупные проблемы нашей цивилизации – проблемы ядерной и космической безопасности, проблему глобального контроля над терроризмом, проблему дефицита энергии, проблему антигравитации и транспорта, проблему создания антивируса СПИД и т.п.
В описании использованы ссылки на следующие литературные источники.
1. Федотов Я.А. Проблемы интегральной электроники. Журнал «Электронные компоненты», ноябрь 2004 г.
2. Бубенчиков А.Н., Бубенчиков А.А. Технологические проблемы создания субмикронных нейрочипов и нейросистем на пластинах. Электронный журнал «Инженерное образование», октябрь 2004 г.
3. Милинкис Б.М., Щука А.А. Функциональная электроника. “ИНФОРМОСТ” – “Радиоэлектроника и Телекоммуникации” №3 (21), 2002.
Формула изобретения
1. Микросхема с оптоволоконными многоконтактными соединениями, содержащая функциональные блоки, систему распознавания, запоминания и коммутации каналов связи, а также или коммутатор каналов связи, соединенный с матрицей оптических передатчиков сигнала, или матрицу оптических приемников сигнала, и имеющая шины питания, входные и выходные шины вышеперечисленных блоков в виде токопроводящих дорожек, а также контактные площадки микросхемы, отличающаяся тем, что содержит одну или несколько матриц оптических передатчиков сигнала, одну или несколько матриц оптических приемников сигнала, а также один или несколько коммутаторов каналов связи, соединенных между собой и с контактными площадками параллельно или сходящимся, или разветвляющимся образом.
2. Микросхема по п.1, отличающаяся тем, что все соединения с контактными площадками микросхемы осуществляются напрямую или через оптоэлектронную развязку.
3. Микросхема по п.1, отличающаяся тем, что содержит вычислительную структуру, способную управлять одним или несколькими коммутаторами и/или средство для подключения к коммутаторам внешней вычислительной структуры, способной управлять коммутаторами.
4. Микросхема по п.1, отличающаяся тем, что над матрицами оптических передатчиков и оптических приемников сигналов расположены многоконтактные оптоволоконные разъемы, в которых закреплены концы оптоволоконных шин так, чтобы один конец оптоволоконной шины был вставлен в многоконтактный оптоволоконный разъем, расположенный над матрицей оптических передатчиков своей или другой микросхемы, а другой конец вставлен в многоконтактный оптоволоконный разъем, расположенный над матрицей оптических приемников своей или другой микросхемы.
РИСУНКИ
|