|
|
(21), (22) Заявка: 2007145831/09, 10.12.2007
(24) Дата начала отсчета срока действия патента:
10.12.2007
(46) Опубликовано: 20.03.2009
(56) Список документов, цитированных в отчете о поиске:
RU 2287917 С1, 20.11.2006. RU 2199839 С1, 27.02.2003. RU 2188522 С1, 27.08.2002. ЕР 0391527 А1, 10.10.1990. ЕР 1221829 А1, 10.07.2002. WO 00/54562 А1, 14.09.2000.
Адрес для переписки:
191124, Санкт-Петербург, пл. Растрелли, 2, ОАО “РИРВ” первому заместителю генерального директора Б.В. Шебшаевичу
|
(72) Автор(ы):
Васильев Андрей Юрьевич (RU), Корулин Виталий Николаевич (RU), Малашин Виктор Иванович (RU), Иванов Владимир Николаевич (RU), Бедрин Игорь Борисович (RU), Устинов Игорь Владимирович (RU), Солдатенков Анатолий Николаевич (RU), Шебшаевич Борис Валентинович (RU), Сошин Михаил Петрович (RU), Малинина Галина Ивановна (RU), Юшина Ирина Николаевна (RU), Лапко Алексей Валерьевич (RU), Желтиков Вячеслав Вадимович (RU), Ничик Светлана Владимировна (RU), Кабашко Виктор Алексеевич (RU), Галичина Ирина Евгеньевна (RU), Курбатов Антон Евгеньевич (RU)
(73) Патентообладатель(и):
Открытое акционерное общество “Российский институт радионавигации и времени” (RU)
|
(54) МОДУЛЬ ПРИЕМНИКА СИГНАЛОВ СПУТНИКОВЫХ РАДИОНАВИГАЦИОННЫХ СИСТЕМ
(57) Реферат:
Изобретение относится к радиотехнике и может быть использовано при конструировании модулей приемников сигналов спутниковых радионавигационных систем. Технический результат – создание одноплатной конструкции с размещением зон аналоговой обработки сигналов и формирования цифрового питания по одну сторону многослойной печатной платы, а зоны цифровой обработки сигналов – по другую сторону и обеспечением в этих условиях их внутриплатной электромагнитной совместимости. Модуль содержит многослойную печатную плату с N проводящими слоями и металлизированными отверстиями, посредством которых осуществляются межслойные электрические соединения, несущую высокочастотный и низкочастотный соединители, а также печатные проводники и электрорадиоэлементы, сгруппированные по трем зонам: аналоговой обработки сигналов, формирования цифрового питания и цифровой обработки сигналов, первые две из которых располагаются рядом в проводящих слоях с первого по n-й, а третья располагается под первыми двумя и занимает проводящие слои с (n+1)-го по N-й, где n 6, N-n 6. В каждой из зон имеются экранирующие земляные плоскости и земляные участки, кроме этого в зоне цифровой обработки сигналов имеются участки цифрового питания и выполненные по периметру зоны, экранирующие проводники барьерного экрана, а в зоне аналоговой обработки сигналов – проводники аналогового питания. Участки цифрового питания связаны с выходными выводами формирователей напряжений цифрового питания, расположенных в зоне формирования цифрового питания, а общая точка проводников аналогового питания – с выходным выводом формирователя напряжения аналогового питания, расположенного в зоне аналоговой обработки сигналов. Входные выводы формирователей напряжений цифрового и аналогового питания электрически соединены с выходным выводом входного фильтра питания, расположенного в зоне цифровой обработки сигналов, причем первое из этих соединений осуществлено с помощью сквозного металлизированного отверстия, а второе – с помощью связанного с этим отверстием печатного проводника, пересекающего границу между зонами формирования цифрового питания и аналоговой обработки сигналов. Экранирующие земляные плоскости зоны цифровой обработки сигналов связаны глухими металлизированными отверстиями друг с другом, с земляными участками и экранирующими проводниками барьерного экрана и соединены с выводом «Земля» низкочастотного соединителя. Экранирующие земляные плоскости зоны формирования цифрового питания связаны глухими металлизированными отверстиями друг с другом и с земляными участками своей зоны, а также сквозными металлизированными отверстиями с экранирующими земляными плоскостями зоны цифровой обработки сигналов. Земляные участки зоны аналоговой обработки сигналов связаны глухими металлизированными отверстиями с экранирующей земляной плоскостью, расположенной в i-м проводящем слое между первым и n-м проводящими слоями, и соединены с помощью электропроводящей перемычки в первом проводящем слое с земляным участком зоны формирования цифрового питания. Экранирующая земляная плоскость зоны аналоговой обработки сигналов, расположенная в n-ом проводящем слое, соединена печатной перемычкой с расположенной в этом же проводящем слое экранирующей земляной плоскостью зоны формирования цифрового питания. 1 з.п. ф-лы, 17 ил.
Изобретение относится к радиотехнике и может быть использовано при конструировании одноплатных модулей приемников сигналов спутниковых радионавигационных систем (СРНС).
Модули приемников сигналов СРНС служат для обработки поступающих с приемной антенны сигналов СРНС, например сигналов СРНС ГЛОНАСС (Россия) и GPS (США), в целях получения навигационной информации и/или информации о точном времени. Обработка сигналов СРНС включает в себя первоначальную аналоговую обработку и последующую цифровую обработку. Аналоговая обработка включает в себя фильтрацию принимаемых сигналов СРНС от помех, преобразование по частоте с понижением частоты и аналого-цифровое преобразование, а цифровая обработка включает в себя обработку в цифровом корреляторе, обработку в цифровом процессоре и обработку в преобразователе интерфейса. Все указанные этапы обработки сигналов СРНС осуществляются с помощью соответствующих аналоговых и цифровых функциональных узлов, которые в рассматриваемом случае размещаются на одной многослойной печатной плате. При этом возникает проблема обеспечения внутриплатной электромагнитной совместимости, т.е. проблема устранения паразитных наводок и наведенных помех и исключения взаимного влияния разнородных функциональных узлов друг на друга.
Известны одноплатные конструкции модулей приемников сигналов СРНС, в которых проблема обеспечения внутриплатной электромагнитной совместимости разнородных функциональных узлов, осуществляющих аналоговую и цифровую обработку сигналов СРНС, решается путем их группировки по соответствующим функциональным зонам, экранируемым средствами многослойной печатной платы.
Например, в известных одноплатных конструкциях модулей приемников сигналов СРНС, представленных в патентах [1] – RU №2172080 (C1), Н05К 1/00, 1/11, 1/14, 3/46, 10.08.2001, [2] – RU №2188522 (C1), H05K1/14, H01P 11/00, 27.08.2002, [3] – RU №2192108 (C1), H05K 1/00, 1/11, 1/14, 3/46, 9/00, 27.10.2002, [4] – RU №2194375 (C1), H05K 1/00, 1/11, 1/14,3/46,9/00, 10.12.2002, [5] – RU №2199839 (C1), H05K 1/00, 1/11, 1/14, 3/46, 9/00, 27.02.2003, внутриплатная экранировка зон аналоговой и цифровой обработки сигналов осуществляется с помощью плоскостных экранов, образованных экранирующими земляными плоскостями, выполненными во внутренних проводящих слоях многослойной печатной платы и служащими одновременно проводниками питания потенциала «Земля» для электрорадиоэлементов соответствующих зон. Внутриплатная экранировка с помощью таких экранирующих земляных плоскостей позволяет уменьшить влияние паразитных наводок и наведенных помех, создаваемых элементами, принадлежащими разным функциональным зонам, и передаваемых в основном по цепям питания.
Плоскостная экранировка функциональных зон, осуществляемая с помощью экранирующих земляных плоскостей, в ряде случаев дополняется барьерной экранировкой, например как в модуле приемника сигналов СРНС, представленном в патенте [6] – RU №2173036 (C1), H05K 1/00, 1/11, 1/14, 3/46, 27.08.2001. В этом модуле дополнительная барьерная экранировка осуществляется в отношении зоны аналоговой обработки сигналов и реализуется с помощью расположенных по ее периметру экранирующих печатных проводников, связанных друг с другом и с экранирующими земляными плоскостями металлизированными отверстиями межслойных соединений с образованием электропроводного каркаса внутриплатного объемного экрана, внутри которого располагаются печатные проводники данной зоны.
Для модулей приемников сигналов СРНС, представленных в патентах [1]-[6], характерным является последовательное (в соответствии с последовательностью обработки сигналов СРНС) расположение зон аналоговой и цифровой обработки сигналов вдоль длинной стороны многослойной печатной платы при двухстороннем размещении электрорадиоэлементов в каждой из этих зон. Такой принцип расположения зон аналоговой и цифровой обработки сигналов в наибольшей степени отвечает применению элементной базы низкого и среднего уровня интеграции, обеспечивая возможность рационального размещения большого количества дискретных электрорадиоэлементов по обеим сторонам многослойной печатной платы в каждой из зон.
С повышением уровня интеграции элементной базы и уменьшением в связи с этим общего числа электрорадиоэлементов примененный в [1]-[6] принцип последовательного расположения зон аналоговой и цифровой обработки сигналов при двухстороннем размещении электрорадиоэлементов в каждой из зон перестает быть оптимальным с точки зрения возможностей миниатюризации конструкции модуля приемника сигналов СРНС. Этому случаю в большей мере отвечает одностороннее размещение электрорадиоэлементов в пределах каждой из зон аналоговой и цифровой обработки сигналов при одновременном размещении этих зон друг под другом по разным сторонам многослойной печатной платы, например, как это осуществлено в модулях приемников сигналов СРНС, представленных в патентах [7] – RU №2287918 (C1), H05K 1/11, 3/46, 9/00, 20.11.2006; [8] – RU №2287919 (C1), H05K 1/11, 3/46, 9/00, 20.11.2006; [9] – RU №2287920 (C1), H05K 1/14, 20.11.2006, а также в модуле приемника сигналов СРНС, представленном в патенте [10] – RU №2287917 (C1), H05K 1/11, 3/46, 9/00, 20.11.2006, принятом в качестве прототипа.
Принятый в качестве прототипа модуль приемника сигналов СРНС [10] содержит многослойную печатную плату с N проводящими слоями, несущую печатные проводники и электрорадиоэлементы электрической схемы, предназначенной для приема и обработки сигналов СРНС, а также высокочастотный и низкочастотный соединители, предназначенные для внешних подключений. При этом печатные проводники и электрорадиоэлементы сгруппированы по двум функциональным зонам : зонам аналоговой и цифровой обработки сигналов.
Зона аналоговой обработки сигналов занимает участки в проводящих слоях с первого по n-й, зона цифровой обработки сигналов расположена под ней и занимает участки в проводящих слоях с (n+1)-го по N-й. В представленном в [10] примере выполнения модуля общее число проводящих слоев в многослойной печатной плате равно двенадцати (N=12), при этом зона аналоговой обработки сигналов занимает первые шесть проводящих слоев (n=6), а зона цифровой обработки сигналов – остальные шесть проводящих слоев (N-n=6). При необходимости количество проводящих слоев, используемых для размещения зон аналоговой и цифровой обработки сигналов (и соответственно общее количество проводящих слоев в многослойной печатной плате), может быть большим (n 6, N-n 6).
Высокочастотный соединитель расположен в первом проводящем слое на краю зоны аналоговой обработки сигналов и служит для подвода к многослойной печатной плате сигналов СРНС, поступающих от внешнего антенного устройства по соответствующему коаксиальному кабелю. Низкочастотный соединитель расположен в N-ом проводящем слое на участке, граничащем с зоной цифровой обработки сигналов, и служит для подвода к многослойной печатной плате внешнего питания и управляющих сигналов и отвода от нее обработанных сигналов с помощью соответствующего проводного жгута.
Межслойные электрические соединения в пределах каждой из зон аналоговой и цифровой обработки сигналов осуществляются с помощью глухих металлизированных отверстий, а межслойные электрические соединения между зонами осуществляются с помощью сквозных металлизированных отверстий.
Внутриплатная экранировка каждой из зон аналоговой и цифровой обработки сигналов осуществляется с помощью экранирующих земляных плоскостей и расположенных по периметру зон экранирующих проводников барьерных экранов.
Экранирующие земляные плоскости в зоне аналоговой обработки сигналов располагаются в n-ом проводящем слое и в i-м проводящем слое между первым и n-ым проводящими слоями, а в зоне цифровой обработки сигналов – в (n+1)-м проводящем слое и k-ом проводящем слое между (n+1)-м и N-м проводящими слоями.
Экранирующие проводники барьерного экрана в зоне аналоговой обработки сигналов располагаются в проводящих слоях с первого по (n-1)-й и связаны друг с другом и с экранирующей земляной плоскостью, расположенной в n-ом проводящем слое, с помощью соответствующих глухих металлизированных отверстий. Экранирующие проводники барьерного экрана в зоне цифровой обработки сигналов располагаются в проводящих слоях с (n+2)-го по N-й и связаны друг с другом и с экранирующей земляной плоскостью, расположенной в (n+1)-м проводящем слое, с помощью соответствующих глухих металлизированных отверстий. Тем самым в теле многослойной печатной платы образуются электропроводные каркасы двух внутриплатных объемных экранов, внутри которых располагаются печатные проводники зон аналоговой и цифровой обработки сигналов, в том числе земляные участки и расположенные в i-м и k-м проводящих слоях экранирующие земляные плоскости, служащие проводниками питания потенциала «Земля» для электрорадиоэлементов своих зон.
Расположенная в i-м проводящем слое экранирующая земляная плоскость зоны аналоговой обработки сигналов связана глухим металлизированным отверстием с расположенным в первом проводящем слое земляным участком, выполняющим функцию участка подвода потенциала «Земля» в данной зоне. Этот участок с помощью сквозного металлизированного отверстия связан с земляным участком, выполняющим функцию участка подвода потенциала «Земля» в зоне цифровой обработки сигналов, а кроме того с помощью электропроводящей перемычки соединен с расположенным в первом проводящем слое экранирующим проводником барьерного экрана зоны аналоговой обработки сигналов.
В модуле-прототипе земляной участок, выполняющий функцию участка подвода потенциала «Земля» в зоне цифровой обработки сигналов, является частью расположенной в k-м проводящем слое экранирующей земляной плоскости, связанной с выводом «Земля» низкочастотного соединителя. С этой экранирующей земляной плоскостью также связан расположенный в N-м проводящем слое земляной участок, соединенный электропроводящей перемычкой с расположенным в этом же проводящем слое экранирующим проводником барьерного экрана зоны цифровой обработки сигналов.
Формирование необходимых для работы напряжений питания осуществляется в модуле-прототипе в каждой из зон цифровой и аналоговой обработки сигналов с помощью соответствующих формирователей напряжений цифрового и аналогового питания.
Выходные выводы формирователей напряжений цифрового и аналогового питания связаны с печатными проводниками, посредством которых осуществляется разводка питания внутри каждой из зон. В зоне цифровой обработки сигналов – это участки цифрового питания, в зоне аналоговой обработки сигналов – это расходящиеся из общей точки проводники аналогового питания, расположенные в j-м проводящем слое между первым и n-м проводящими слоями, где j i.
Входные выводы формирователей напряжений цифрового и аналогового питания связаны с печатными площадками, выполняющими в своих зонах функцию участков подвода отфильтрованного напряжения внешнего питания. Эти участки связаны с выходным выводом расположенного в зоне цифровой обработки сигналов входного фильтра питания, входной вывод которого связан с выводом «Питание» низкочастотного соединителя.
Рассмотренное выполнение модуля-прототипа, характеризующееся размещением зон аналоговой и цифровой обработки сигналов друг под другом по разным сторонам многослойной печатной платы, экранировкой зон с помощью экранирующих земляных плоскостей и экранирующих проводников барьерных экранов, а также формированием напряжений питания для каждой из зон с помощью расположенных внутри них формирователей цифрового и аналогового питания, позволяет уменьшить габариты многослойной печатной платы и обеспечить внутриплатную электромагнитную совместимость зон аналоговой и цифровой обработки сигналов. При этом оптимальным с точки зрения возможностей миниатюризации конструкции является случай, когда зоны аналоговой и цифровой обработки сигналов требуют для своего размещения примерно одинаковых площадей.
Однако в практике конструирования модулей приемников сигналов СРНС нередки случаи, когда зоны аналоговой и цифровой обработки сигналов требуют для своего размещения разных площадей. При применении конструкции, аналогичной модулю-прототипу, это приводит к нерациональному использованию площадей многослойной печатной платы и ограничивает возможность миниатюризации модуля.
В настоящей заявке рассматривается один из возможных путей решения задачи более рационального использования площадей многослойной печатной платы в случае, когда зона аналоговой обработки сигналов требует для своего размещения меньшей площади, чем зона цифровой обработки сигналов. Это решение основывается на выделении из зоны цифровой обработки сигналов группы однородных функциональных узлов – формирователей напряжений цифрового питания – и размещении их в отдельной зоне, располагающейся рядом с зоной аналоговой обработки сигналов над зоной цифровой обработки сигналов. При этом встает проблема, обеспечения электромагнитной совместимости этих зон в условиях, характеризующихся тем, что каждая из зон граничит с двумя другими зонами.
Техническим результатом, достигаемым при осуществлении изобретения, является создание конструкции одноплатного модуля приемника сигналов СРНС, в котором реализуется вариант размещения электрорадиоэлементов по трем функциональным зонам : цифровой обработки сигналов, аналоговой обработки сигналов и формирования цифрового питания, одна из которых – зона цифровой обработки сигналов – располагается с одной стороны многослойной печатной платы, а две другие – с другой стороны многослойной печатной платы, и в котором обеспечивается внутриплатная электромагнитная совместимость этих зон в условиях, характеризующихся тем, что каждая из зон граничит с двумя другими зонами.
Сущность изобретения заключается в следующем. Модуль приемника сигналов СРНС содержит многослойную печатную плату с N проводящими слоями и металлизированными отверстиями, посредством которых осуществляются межслойные электрические соединения, несущую печатные проводники и электрорадиоэлементы электрической схемы, предназначенной для приема и обработки сигналов СРНС, высокочастотный соединитель, предназначенный для подвода к многослойной печатной плате сигналов СРНС, расположенный в первом проводящем слое, и расположенный в N-м проводящем слое низкочастотный соединитель, предназначенный для подвода к многослойной печатной плате внешнего питания и управляющих сигналов и отвода от нее обработанных сигналов. При этом печатные проводники и электрорадиоэлементы, относящиеся к узлам аналоговой и цифровой обработки сигналов, сгруппированы по соответствующим зонам, первая из которых – зона аналоговой обработки сигналов – занимает участки в проводящих слоях с первого по n-й, а вторая – зона цифровой обработки сигналов – занимает участки в проводящих слоях с (n+1)-го по N-й, где n 6, N-n 6. В каждой из этих зон имеются экранирующие земляные плоскости и земляные участки, кроме этого в зоне цифровой обработки сигналов имеются участки цифрового питания и выполненные по периметру зоны экранирующие проводники барьерного экрана, а в зоне аналоговой обработки сигналов – проводники аналогового питания. Экранирующие земляные плоскости в зоне аналоговой обработки сигналов располагаются в n-м проводящем слое и в i-м проводящем слое между первым и n-м проводящими слоями, а в зоне цифровой обработки сигналов – в (n+1)-м проводящем слое и k-м проводящем слое между (n+1)-м и N-м проводящими слоями. Земляные участки и экранирующие земляные плоскости зон аналоговой и цифровой обработки сигналов, а также экранирующие проводники барьерного экрана зоны цифровой обработки сигналов электрически соединены с выводом «Земля» низкочастотного соединителя, вывод «Питание» которого электрически соединен с входным выводом расположенного в зоне цифровой обработки сигналов входного фильтра питания, выходной вывод которого электрически соединен с входными выводами формирователей напряжений цифрового и аналогового питания, выходные выводы которых электрически соединены соответственно с участками цифрового питания в зоне цифровой обработки сигналов и общей точкой проводников аналогового питания в зоне аналоговой обработки сигналов, при этом формирователь напряжения аналогового питания расположен в зоне аналоговой обработки сигналов. В отличие от прототипа печатные проводники и электрорадиоэлементы, относящиеся к формирователям напряжений цифрового питания, сгруппированы в отдельной зоне – зоне формирования цифрового питания, использующей для своего размещения участки в проводящих слоях с первого по n-й, располагающиеся над зоной цифровой обработки сигналов рядом с расположенными в этих же проводящих слоях участками зоны аналоговой обработки сигналов и отделенные от них разделительными полосами, лишенными металлизации. При этом в зоне аналоговой обработки сигналов в проводящих слоях, свободных от размещения экранирующих земляных плоскостей, по крайней мере по краям зоны располагаются земляные участки, связанные глухими металлизированными отверстиями друг с другом и с экранирующей земляной плоскостью, расположенной в i-м проводящем слое. В зоне формирования цифрового питания в проводящих слоях со второго по n-й располагаются экранирующие земляные плоскости, связанные друг с другом и с земляными участками, находящимися в первом проводящем слое, металлизированными отверстиями, расположенными по периметру зоны, причем на участке периметра вдоль границы с зоной аналоговой обработки сигналов располагаются глухие металлизированные отверстия, а на остальной части периметра – сквозные металлизированные отверстия, связывающие экранирующие земляные плоскости зоны формирования цифрового питания с экранирующими земляными плоскостями и экранирующими печатными проводниками барьерного экрана зоны цифровой обработки сигналов, которые помимо этого связаны друг с другом глухими металлизированными отверстиями. Земляной участок, выполняющий функцию участка подвода потенциала «Земля» в зоне формирования цифрового питания, связан электропроводящей перемычкой с земляным участком, выполняющим функцию участка подвода потенциала «Земля» в зоне аналоговой обработки сигналов, и сквозным металлизированным отверстием с земляным участком, выполняющим функцию участка подвода потенциала «Земля» в зоне цифровой обработки сигналов, который, в свою очередь, связан с выводом «Земля» низкочастотного соединителя. Выходной вывод входного фильтра питания связан сквозным металлизированным отверстием с печатной площадкой, выполняющей в зоне формирования цифрового питания функцию участка ввода отфильтрованного напряжения внешнего питания, и с пересекающим границу между зоной формирования цифрового питания и зоной аналоговой обработки сигналов печатным проводником, служащим для передачи отфильтрованного напряжения внешнего питания в зону аналоговой обработки сигналов. При этом расположенная в n-ом проводящем слое экранирующая земляная плоскость зоны аналоговой обработки сигналов связана печатной перемычкой с расположенной в этом же проводящем слое экранирующей земляной плоскостью зоны формирования цифрового питания.
В преимущественных вариантах выполнения печатный проводник, служащий для передачи отфильтрованного напряжения внешнего питания в зону аналоговой обработки сигналов, расположен в том же проводящем слое, что и проводники аналогового питания.
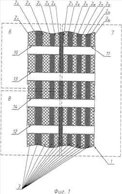
Сущность изобретения и его реализуемость поясняются чертежами, представленными на фиг.1-17, иллюстрирующими пример выполнения модуля приемника сигналов СРНС на четырнадцатислойной (N=14) печатной плате.
На фиг.1 представлен вид четырнадцатислойной печатной платы в разрезе (расположение печатных проводников и металлизированных отверстий условное);
на фиг.2 – фрагмент расположения электрорадиоэлементов в первом проводящем слое (вид со стороны элементов первого проводящего слоя, печатные проводники условно не показаны);
на фиг.3 – фрагмент расположения электрорадиоэлементов в четырнадцатом проводящем слое (вид со стороны первого слоя, слои условно прозрачные, печатные проводники условно не показаны);
на фиг.4 – фрагмент рисунка печати первого проводящего слоя;
на фиг.5 – фрагмент рисунка печати второго проводящего слоя (вид со стороны первого слоя, слои условно прозрачные);
на фиг.6 – фрагмент рисунка печати третьего проводящего слоя (вид со стороны первого слоя, слои условно прозрачные);
на фиг.7 – фрагмент рисунка печати четвертого проводящего слоя (вид со стороны первого слоя, слои условно прозрачные);
на фиг.8 – фрагмент рисунка печати пятого проводящего слоя (вид со стороны первого слоя, слои условно прозрачные);
на фиг.9 – фрагмент рисунка печати шестого проводящего слоя (вид со стороны первого слоя, слои условно прозрачные);
на фиг.10 – фрагмент рисунка печати седьмого проводящего слоя (вид со стороны первого слоя, слои условно прозрачные);
на фиг.11 – фрагмент рисунка печати восьмого проводящего слоя (вид со стороны первого слоя, слои условно прозрачные);
на фиг.12 – фрагмент рисунка печати девятого проводящего слоя (вид со стороны первого слоя, слои условно прозрачные);
на фиг.13 – фрагмент рисунка печати десятого проводящего слоя (вид со стороны первого слоя, слои условно прозрачные);
на фиг.14 – фрагмент рисунка печати одиннадцатого проводящего слоя (вид со стороны первого слоя, слои условно прозрачные);
на фиг.15 – фрагмент рисунка печати двенадцатого проводящего слоя (вид со стороны первого слоя, слои условно прозрачные);
на фиг.16 – фрагмент рисунка печати тринадцатого проводящего слоя (вид со стороны первого слоя, слои условно прозрачные);
на фиг.17 – фрагмент рисунка печати четырнадцатого проводящего слоя (вид со стороны первого слоя, слои условно прозрачные).
Заявляемый модуль приемника сигналов СРНС (далее модуль) содержит многослойную печатную плату 1 с N проводящими слоями 2. В рассматриваемом примере многослойная печатная плата 1 имеет четырнадцать (N=14) проводящих слоев 2, а именно первый проводящий слой 21, второй проводящий слой 22, третий проводящий слой 23, четвертый проводящий слой 24, пятый проводящий слой 25, шестой проводящий слой 26, седьмой проводящий слой 27, восьмой проводящий слой 28, девятый проводящий слой 29, десятый проводящий слой 210, одиннадцатый проводящий слой 211, двенадцатый проводящий слой 212, тринадцатый проводящий слой 213 и четырнадцатый проводящий слой 214 (фиг.1-17). Проводящие слои 21 и 214 являются наружными, а проводящие слои 22÷213 – внутренними; все проводящие слои 2 (21, 22, 23, 24, 25, 26, 27, 28, 29, 210, 211, 212, 213, 214) отделены друг от друга соответствующими изолирующими слоями 3 (фиг.1).
Многослойная печатная плата 1 несет высокочастотный соединитель 4, низкочастотный соединитель 5, а также печатные проводники и электрорадиоэлементы электрической схемы, предназначенной для приема и обработки сигналов СРНС, сгруппированные по зонам аналоговой обработки сигналов 6, цифровой обработки сигналов 7 и формирования цифрового питания 8 (фиг.1-3).
Высокочастотный соединитель 4 служит для присоединения коаксиального кабеля, подводящего к многослойной печатной плате 1 сигналы СРНС, поступающие с внешнего антенного устройства. Высокочастотный соединитель 4 расположен в первом проводящем слое 21 на краю зоны 6 аналоговой обработки сигналов (фиг.2). В качестве высокочастотного соединителя 4 может использоваться предназначенный для поверхностного монтажа высокочастотный соединитель с планарными выводами, например розетка типа «UMP Н3 К107 303 040W» фирмы «RADIALL».
Низкочастотный соединитель 5 служит для присоединения проводного жгута, подводящего к многослойной печатной плате 1 напряжение питания от внешнего источника питания и управляющие сигналы от внешнего управляющего устройства и отводящего обработанные сигналы, несущие навигационную информацию и/или информацию о точном времени. Низкочастотный соединитель 5 расположен в N-ом проводящем слое (в рассматриваемом примере в четырнадцатом проводящем слое 214) на краю зоны 7 цифровой обработки сигналов (фиг.3). В качестве низкочастотного соединителя 5 может использоваться предназначенный для поверхностного монтажа низкочастотный соединитель с планарными выводами, например розетка типа «MLE-125-01-G-DV-K» фирмы «SAMTEC».
В зоне 6 аналоговой обработки сигналов находятся элементы электрической схемы, осуществляющие аналоговую обработку сигналов СРНС (фильтрацию от помех, преобразование по частоте с понижением частоты, аналого-цифровое преобразование).
В зоне 7 цифровой обработки сигналов находятся элементы электрической схемы, осуществляющие цифровую обработку сигналов (обработку в многоканальном цифровом корреляторе, обработку в цифровом процессоре, обработку в преобразователе интерфейса).
В зоне 8 формирования цифрового питания находятся элементы электрической схемы, относящиеся к формирователям напряжений цифрового питания, которые формируют необходимый набор напряжений для питания электрорадиоэлементов зоны 7 цифровой обработки сигналов.
Зона 6 аналоговой обработки сигналов и зона 8 формирования цифрового питания занимают участки в проводящих слоях с первого по n-й, а расположенная под ними зона 7 цифровой обработки сигналов занимает участки в проводящих слоях с (n+1)-го по N-й, где n 6, N-n 6. B рассматриваемом примере, отвечающем случаю N=14, n=6, N-n=8, зона 6 аналоговой обработки сигналов и зона 8 формирования цифрового питания располагаются в первых шести проводящих слоях 21, 22, 23, 24, 25, 26 (фиг.1, 2, 4-9), а зона 7 цифровой обработки сигналов занимает остальные восемь проводящих слоев 27, 28, 29, 210, 211, 212, 213, 214 (фиг.1, 3, 10-17). При этом участки зоны 6 аналоговой обработки сигналов и зоны 8 формирования цифрового питания, находящиеся в одних и тех же проводящих слоях, отделены друг от друга разделительными полосами 9, лишенными металлизации (фиг.4-9).
Межслойные электрические соединения внутри зоны 6 аналоговой обработки сигналов осуществляются с помощью глухих металлизированных отверстий 10, межслойные электрические соединения внутри зоны 7 цифровой обработки сигналов осуществляются с помощью глухих металлизированных отверстий 11, межслойные электрические соединения внутри зоны 8 формирования цифрового питания осуществляются с помощью глухих металлизированных отверстий 12. Межслойные электрические соединения между зоной 6 аналоговой обработки сигналов и зоной 7 цифровой обработки сигналов осуществляются с помощью сквозных металлизированных отверстий 13. Межслойные электрические соединения между зоной 8 формирования цифрового питания и зоной 7 цифровой обработки сигналов осуществляются с помощью сквозных металлизированных отверстий 14. Примеры выполнения и размещения некоторых из этих металлизированных отверстий представлены на фиг.1, 4-17.
В зоне 6 аналоговой обработки сигналов имеются экранирующие земляные плоскости 15 и 16, расположенные соответственно в n-ом проводящем слое и i-ом проводящем слое между первым и n-ым проводящими слоями. В рассматриваемом примере это шестой (n=6) и второй (i=2) проводящие слои 26 и 22 (фиг.9, 5). Одна из этих экранирующих земляных плоскостей, а именно экранирующая земляная плоскость 16, расположенная во втором проводящем слое 22, служит общим проводником питания потенциала «Земля» в зоне 6 аналоговой обработки сигналов, с ней связаны все земляные выводы электрорадиоэлементов данной зоны.
В зоне 6 аналоговой обработки сигналов в первом проводящем слое 21 находится земляной участок 17, служащий участком подвода напряжения потенциала «Земля» в данной зоне. Кроме этого в проводящих слоях, свободных от размещения экранирующих земляных плоскостей 15 и 16 (т.е. в проводящих слоях 21, 22, 23, 24), по крайней мере по краям зоны 6 располагаются земляные участки, в рассматриваемом примере это земляные участки 18, 19, 20 и 21, занимающие в соответствующих проводящих слоях 21, 23, 24 и 25 все свободные площади, причем земляной участок 18 включает в себя в качестве составной части указанный выше земляной участок 17 (фиг.4, 6-8). Земляные участки 18, 19, 20, 21 связаны друг с другом и с экранирующей земляной плоскостью 16 глухими металлизированными отверстиями 10А (на фиг.4-9 в качестве примера обозначено одно из глухих металлизированных отверстий 10A).
В рассматриваемом примере в зоне 6 аналоговой обработки сигналов в пятом проводящем слое 25 (фиг.8) располагаются проводники 22 аналогового питания, расходящиеся из общей точки, реализованной в виде участка 23 (на фиг.8 обозначены крайние из проводников 22, расходящихся из участка 23).
Участок 23, выполняющий функцию общей точки проводников 22 аналогового питания, электрически соединен с помощью глухих металлизированных отверстий 10Б с выходным выводом формирователя 24 напряжения аналогового питания, расположенного в зоне 6 аналоговой обработки сигналов в первом проводящем слое 21 (фиг.2, 4-8).
Формирователь 24 напряжения аналогового питания выполняет функцию вторичного источника питания, формирующего на своем выходе стабилизированное напряжение определенного уровня, необходимое для питания активных элементов зоны 6 аналоговой обработки сигналов. Формирователь 24 напряжения аналогового питания может быть выполнен, например, на основе микросхемы стабилизированного преобразователя постоянного напряжения типа «ADP3333ARM-3.15» фирмы «ANALOG DEVICES».
В зоне 7 цифровой обработки сигналов имеются экранирующие земляные плоскости 25 и 26, расположенные соответственно в (n+1)-ом проводящем слое и k-ом проводящем слое между (n+1)-ым и N-ым проводящими слоями. В рассматриваемом примере это седьмой (n+1=7) и тринадцатый (k=13) проводящие слои 27 и 213 (фиг.10, 16). Обе экранирующие земляные плоскости 25 и 26 служат общими проводниками питания потенциала «Земля» в зоне 7 цифровой обработки сигналов, с ними связаны все земляные выводы электрорадиоэлементов данной зоны.
В рассматриваемом примере в зоне 7 цифровой обработки сигналов в десятом, одиннадцатом и четырнадцатом проводящих слоях 210, 211 и 214 (фиг.13, 14, 17) имеются земляные участки 27, 28 и 29, последний из которых (земляной участок 29) занимает всю свободную площадь в четырнадцатом проводящем слое 214. Составная часть земляного участка 29 – земляной участок 30 (фиг.17) – служит участком подвода напряжения потенциала «Земля» в данной зоне, с ним непосредственно соединен вывод «Земля» низкочастотного соединителя 5.
Земляные участки 27, 28, 29 связаны с экранирующими земляными плоскостями 25 и 26 глухими металлизированными отверстиями 11А (фиг.10-17).
По периметру зоны 7 цифровой обработки сигналов во внутренних проводящих слоях, свободных от размещения экранирующих земляных плоскостей 25 и 26 (т.е. в проводящих слоях 28, 29, 210, 211, 212), выполнены экранирующие проводники 31, 32, 33, 34, 35 барьерного экрана (фиг.11-15).
Экранирующие проводники 31, 32, 33, 34, 35 барьерного экрана связаны друг с другом, а также с экранирующими земляными плоскостями 25, 26 и земляным участком 29 глухими металлизированными отверстиями 11 в (на фиг.10-17 в качестве примера обозначено одно отверстие 11Б).
В зоне 7 цифровой обработки сигналов имеются также участки цифрового питания, в рассматриваемом примере участки цифрового питания 36, 37 и 38, соответствующие трем номиналам напряжения питания, используемым в зоне 7 цифровой обработки сигналов. Первый из этих участков – участок цифрового питания 36 – расположен в восьмом проводящем слое 28 (фиг.11), а два других участка цифрового питания 37 и 38 расположены в девятом проводящем слое 29 (фиг.12). Участки цифрового питания 36, 37 и 38 соединены с помощью соответствующих сквозных металлизированных отверстий 14А, 14Б и 14В (фиг.4-12) с выходными выводами формирователей 39, 40 и 41 напряжений цифрового питания, расположенных в зоне 8 формирования цифрового питания в первом проводящем слое 21 (фиг.2, 4).
Формирователи 39, 40 и 41 напряжений цифрового питания выполняют функцию вторичных источников питания, формирующих на своих выходах стабилизированные напряжения определенных уровней для питания активных элементов зоны 7 цифровой обработки сигналов. Формирователи 39, 40 и 41 напряжений цифрового питания могут быть выполнены, например, на основе микросхем стабилизированных преобразователей постоянного напряжения фирмы «ANALOG DEVICES» типа «ADP3333ARM-3.15», «ADP3333ARM-2.5» и «TPS76316DBV» соответственно.
В зоне 8 формирования цифрового питания в первом проводящем слое 21 находятся земляные участки 42 и 43, первый из которых – земляной участок 42 – служит участком подвода напряжения потенциала «Земля» в зону 8, с ним непосредственно соединены земляные выводы формирователей 39, 40 и 41 напряжений цифрового питания (фиг.4). Земляной участок 42 связан электропроводящей перемычкой 44 (выполненной, например, в виде резистора нулевого сопротивления) с земляным участком 17 зоны 6 аналоговой обработки сигналов (фиг.2, 4) и сквозным металлизированным отверстием 14Г с земляным участком 30 зоны 7 цифровой обработки сигналов (фиг.4, 17).
В зоне 8 формирования цифрового питания в проводящих слоях со второго по n-й (т.е. в проводящих слоях 22÷26) располагаются экранирующие земляные плоскости 45, 46, 47, 48 и 49 (фиг.5-9), служащие также общими проводниками питания потенциала «Земля» в данной зоне.
Экранирующие земляные плоскости 45, 46, 47, 48, 49 связаны друг с другом и с земляными участками 42 и 43 металлизированными отверстиями, расположенными по периметру зоны 8 формирования цифрового питания, причем на участке периметра вдоль границы с зоной 6 аналоговой обработки сигналов располагаются глухие металлизированные отверстия 12A (на фиг.4-9 обозначено одно из отверстий 12A), а на остальной части периметра – сквозные металлизированные отверстия 14Д (на фиг.4-17 обозначены крайние из отверстий 14Д). Металлизированные отверстия 14Д связывают экранирующие земляные плоскости 45, 46, 47, 48, 49 зоны 8 формирования цифрового питания с экранирующими земляными плоскостями 25, 26 и экранирующими печатными проводниками 31, 32, 33, 34, 35 барьерного экрана зоны 7 цифровой обработки сигналов.
Экранирующая земляная плоскость 49 зоны 8 формирования цифрового питания, расположенная в шестом проводящем слое 26, связана также печатной перемычкой 50 с расположенной в этом же проводящем слое экранирующей земляной плоскостью 15 зоны 6 аналоговой обработки сигналов (фиг.9).
Вывод «Питание» низкочастотного соединителя 5 электрически соединен с входным выводом входного фильтра питания 51, расположенного в зоне 7 цифровой обработки сигналов в четырнадцатом проводящем слое 214 (фиг.3). Это соединение осуществлено с помощью печатного проводника 52, расположенного в рассматриваемом примере в двенадцатом проводящем слое 212 (фиг.15), и глухих металлизированных отверстий 11В и 11Г, связывающих печатный проводник 52, с одной стороны, с печатной площадкой 53, к которой подсоединен вывод «Питание» низкочастотного соединителя 5, а с другой стороны – с печатной площадкой 54, к которой подсоединен входной вывод входного фильтра питания 51 (фиг.3, 15-17).
Входной фильтр питания 51, реализующий, например, функцию фильтра нижних частот, служит для подавления высокочастотных составляющих в напряжении внешнего питания, поступающем от внешнего источника питания. В качестве входного фильтра питания 51 может быть использован, например, предназначенный для поверхностного монтажа фильтр типа «NFM4516P13C204F» фирмы «MURATA».
Выходной вывод входного фильтра питания 51 электрически соединен с входными выводами формирователей 39, 40, 41 напряжений цифрового питания и входным выводом формирователя 24 напряжения аналогового питания.
Первое из указанных соединений осуществлено с помощью сквозного металлизированного отверстия 14Е, связывающего печатную площадку 55, к которой подсоединен выходной вывод входного фильтра питания 51, с печатной площадкой 56, выполняющей в зоне 8 формирования цифрового питания функцию участка ввода отфильтрованного напряжения внешнего питания, к которой подсоединены входные выводы формирователей 39, 40, 41 напряжений цифрового питания (фиг.4-17).
Второе из указанных соединений осуществлено с помощью печатного проводника 57, пересекающего границу между зоной 8 формирования цифрового питания и зоной 6 аналоговой обработки сигналов и служащего для передачи отфильтрованного напряжения внешнего питания в зону 6 аналоговой обработки сигналов. В рассматриваемом примере печатный проводник 57 расположен в том же пятом проводящем слое 25, что и проводники 22 аналогового питания зоны 6 аналоговой обработки сигналов (фиг.8). Печатный проводник 57 с одной стороны связан со сквозным металлизированным отверстием 14Е, а с другой – с помощью глухих металлизированных отверстий 10В – с печатной площадкой 58, выполняющей в зоне 6 аналоговой обработки сигналов функцию участка ввода отфильтрованного напряжения внешнего питания, к которой подсоединен входной вывод формирователя 24 напряжения аналогового питания (фиг.4-8).
Работа заявляемого модуля осуществляется следующим образом.
Через высокочастотный соединитель 4 в зону 6 аналоговой обработки сигналов от внешнего антенного устройства поступают сигналы СРНС, например сигналы СРНС ГЛОНАСС и GPS частотного диапазона F1/L1 (1,2-1,7 ГГц). Через низкочастотный соединитель 5 в зону 7 цифровой обработки сигналов поступают необходимые для работы модуля управляющие сигналы от внешнего управляющего устройства и напряжение внешнего питания от внешнего источника питания. Через этот же низкочастотный соединитель 5 осуществляется отвод обработанных сигналов, несущих навигационную информацию и/или информацию о точном времени для потребителя.
Напряжение внешнего питания потенциала «Земля» поступает с контакта «Земля» низкочастотного соединителя 5 и передается на земляной участок 30, а с него – на весь земляной участок 29, расположенный в зоне 7 цифровой обработки сигналов в четырнадцатом проводящем слое 214.
Напряжение потенциала «Земля» с земляного участка 29 через глухие металлизированные отверстия 11А поступает на земляные участки 27, 28 и экранирующие земляные плоскости 25 и 26, осуществляющие подвод напряжения потенциала «Земля» к земляным выводам электрорадиоэлементов зоны 7, а кроме того – на экранирующие проводники барьерного экрана 31, 32, 33, 34 и 35.
Одновременно напряжение потенциала «Земля» с земляного участка 30 через сквозное металлизированное отверстие 14Г поступает в зону 8 формирования цифрового питания, а именно на расположенный в первом проводящем слое 21 земляной участок 42, служащий участком подвода напряжения потенциала «Земля» в зоне 8, и на экранирующие земляные плоскости 45, 46, 47, 48 и 49, с которых это напряжение также передается на земляной участок 43.
С земляного участка 42 зоны 8 формирования цифрового питания напряжение потенциала «Земля» через электропроводящую перемычку 44 поступает на земляной участок 17, служащий участком подвода напряжения потенциала «Земля» в зоне 6 аналоговой обработки сигналов, а с него передается на весь земляной участок 18, располагающийся в первом проводящем слое 21. С земляного участка 18 напряжение потенциала «Земля» через глухие металлизированные отверстия 10А поступает на располагающуюся во втором проводящем слое 22 экранирующую земляную плоскость 16, служащую общим проводником питания потенциала «Земля» в зоне 6 аналоговой обработки сигналов, и на земляные участки 19, 20 и 21, располагающиеся в третьем, четвертом и пятом проводящих слоях 23, 24 и 25.
На вторую экранирующую земляную плоскость 15 зоны 6 аналоговой обработки сигналов, расположенную в шестом проводящем слое 26, напряжение потенциала «Земля» поступает через печатную перемычку 50 с экранирующей земляной плоскости 49 зоны 8 формирования цифрового питания.
Напряжение внешнего питания потенциала «Питание» поступает с контакта «Питание» низкочастотного соединителя 5 и передается на печатную площадку 53, расположенную в зоне 7 цифровой обработки сигналов в четырнадцатом проводящем слое 214. С печатной площадки 53 напряжение внешнего питания потенциала «Питание» поступает через печатный проводник 52 и глухие металлизированные отверстия 11В, 11Г на печатную площадку 54, к которой подсоединен входной вывод входного фильтра питания 51, осуществляющего фильтрацию (ослабление) высокочастотных составляющих напряжения внешнего питания.
С выходного вывода входного фильтра питания 51 (с печатной площадки 55) отфильтрованное напряжение внешнего питания поступает на входные выводы формирователей 39, 40 и 41 напряжений цифрового питания, расположенных в зоне 8 формирования цифрового питания, и входной вывод формирователя 24 напряжения аналогового питания, расположенного в зоне 6 аналоговой обработки сигналов. При этом на входные выводы формирователей 39, 40 и 41 отфильтрованное напряжение внешнего питания поступает по цепи, включающей в себя печатную площадку 55, сквозное металлизированное отверстие 14Е и печатную площадку 56, к которой подсоединены входные выводы формирователей 39, 40 и 41, а на входной вывод формирователя 24 отфильтрованное напряжение внешнего питания поступает через ответвление указанной цепи, включающее связанный со сквозным металлизированным отверстием 14Е печатный проводник 57, глухие металлизированные отверстия 10В и печатную площадку 58, к которой подсоединен входной вывод формирователя 24.
Формирователи 39, 40, 41 и 24 формируют на своих выходах стабилизированные напряжения цифрового и аналогового питания, необходимые для питания электрорадиоэлементов зон цифровой 7 и аналоговой 6 обработки сигналов. Сформированные в зоне 8 формирования цифрового питания напряжения цифрового питания поступают с выходных выводов формирователей 39, 40 и 41 через сквозные металлизированные отверстия 14А, 14Б и 14В на участки 36, 37 и 38 цифрового питания зоны 7 цифровой обработки сигналов, а с них – на выводы питания соответствующих электрорадиоэлементов данной зоны. Сформированное в зоне 6 аналоговой обработки сигналов напряжение аналогового питания поступает с выходного вывода формирователя 24 через глухие металлизированные отверстия 10Б на участок 23, выполняющий функцию общей точки проводников 22 аналогового питания, которые подводят напряжение аналогового питания к выводам питания соответствующих электрорадиоэлементов данной зоны.
В зоне 6 аналоговой обработки сигналов сигналы СРНС подвергаются усилению, фильтрации от помех, частотному преобразованию с понижением несущей частоты до десятков мегагерц, а также аналого-цифровому преобразованию, при этом используются формируемые в этой же зоне напряжение питания и гетеродинные и тактовые сигналы. Преобразованные в зоне 6 аналоговой обработки сигналов сигналы СРНС вместе с тактовыми сигналами передаются в зону 7 цифровой обработки сигналов через соответствующие сквозные металлизированные отверстия 13. В зоне 7 цифровой обработки сигналов сигналы СРНС подвергаются многоканальной корреляционной обработке, обработке в цифровом процессоре, а затем преобразованию в преобразователе интерфейса, при этом используются тактовые сигналы, сформированные в зоне 6 аналоговой обработки сигналов, и напряжения питания, сформированные в зоне 8 формирования цифрового питания. Обработанные сигналы, несущие навигационную информацию и/или информацию о точном времени, поступают на соответствующие выводы низкочастотного соединителя 5, откуда снимаются потребителем.
Обработка сигналов СРНС осуществляется в заявляемом модуле в условиях, когда каждая из зон аналоговой обработки сигналов 6, цифровой обработки сигналов 7 и формирования цифрового питания 8 граничит с двумя другими зонами, причем площадь совместной границы зоны 6 с зоной 7 определяется площадью зоны 6, а площадь совместной границы зоны 8 с зоной 7 – площадью зоны 8. Несмотря на такое неблагоприятное (с точки зрения электромагнитной совместимости) расположение функциональных зон в заявляемом модуле за счет совокупности рассмотренных выше конструктивных мер (размещение и соединение экранирующих земляных плоскостей, земляных участков и экранирующих проводников барьерного экрана) удается уменьшить до приемлемого уровня взаимное негативное влияние электрорадиоэлементов этих зон (т.е. уменьшить уровень взаимных наводок и наведенных помех) и тем самым обеспечить возможность получения неискаженной навигационной информации и/или информации о точном времени.
Рассмотренное показывает, что заявляемое изобретение осуществимо и обеспечивает достижение технического результата, заключающегося в создании конструкции одноплатного модуля приемника сигналов СРНС, в котором реализуется вариант размещения электрорадиоэлементов по трем функциональным зонам : цифровой обработки сигналов, аналоговой обработки сигналов и формирования цифрового питания, одна из которых – зона цифровой обработки сигналов – располагается с одной стороны многослойной печатной платы, а две другие – с другой стороны многослойной печатной платы, и в котором обеспечивается внутриплатная электромагнитная совместимость этих зон в условиях, характеризующихся тем, что каждая из зон граничит с двумя другими зонами.
Предложенное выполнение модуля приемника сигналов СРС позволяет минимизировать габариты модуля за счет рационального использования площадей многослойной печатной платы в имеющем место на практике случае, когда зона аналоговой обработки сигналов требует для своего размещения меньшей площади, чем зона цифровой обработки сигналов. Так, в варианте практической реализации заявляемого модуля, представляющем собой опытный образец модуля приемника сигналов СРНС ГЛОНАСС/GPS частотного диапазона F1/L1, габариты четырнадцатислойной печатной платы составили примерно (50×50×2,5) мм, а общие габариты модуля с установленными электрорадиоэлементами – примерно (50×50×13) мм.
Источники информации
1. RU №2172080 (С1), H05K 1/00, 1/11, 1/14, 3/46, опубл. 10.08.2001.
2. RU №2188522 (C1), H05K1/14, Н01Р 11/00, опубл. 27.08.2002.
3.Ри№2192108 (C1), H05K 1/00, 1/11, 1/14, 3/46, 9/00, опубл. 27.10.2002.
4. RU №2194375 (C1), H05K 1/00, 1/11, 1/14, 3/46, 9/00, опубл. 10.12.2002.
5. RU №2199839 (C1), H05K 1/00, 1/11, 1/14, 3/46, 9/00, опубл. 27.02.2003.
6. RU №2173036 (C1), H05K 1/00, 1/11, 1/14, 3/46, опубл. 27.08.2001.
7. RU №2287918 (C1), H05K 1/11, 3/46, 9/00, опубл. 20.11.2006.
8. RU №2287919 (C1), H05K 1/11, 3/46, 9/00, опубл. 20.11.2006.
9. RU №2287920 (C1), H05K 1/14, опубл. 20.11.2006.
10. RU №2287917 (C1). H05K 1/11, 3/46, 9/00, опубл. 20.11.2006.
Формула изобретения
1. Модуль приемника сигналов спутниковых радионавигационных систем, содержащий многослойную печатную плату с N проводящими слоями и металлизированными отверстиями, посредством которых осуществляются межслойные электрические соединения, несущую печатные проводники и электрорадиоэлементы электрической схемы, предназначенной для приема и обработки сигналов спутниковых радионавигационных систем (СРНС), высокочастотный соединитель, предназначенный для подвода к многослойной печатной плате сигналов СРНС, расположенный в первом проводящем слое, и расположенный в N-м проводящем слое низкочастотный соединитель, предназначенный для подвода к многослойной печатной плате внешнего питания и управляющих сигналов и отвода от нее обработанных сигналов, при этом печатные проводники и электрорадиоэлементы, относящиеся к узлам аналоговой и цифровой обработки сигналов, сгруппированы по соответствующим зонам, первая из которых – зона аналоговой обработки сигналов – занимает участки в проводящих слоях с первого по n-й, а вторая – зона цифровой обработки сигналов – занимает участки в проводящих слоях с (n+1)-го по N-й, где n 6, N-n 6, в каждой из этих зон имеются экранирующие земляные плоскости и земляные участки, кроме этого в зоне цифровой обработки сигналов имеются участки цифрового питания и выполненные по периметру зоны экранирующие проводники барьерного экрана, а в зоне аналоговой обработки сигналов – проводники аналогового питания, причем экранирующие земляные плоскости в зоне аналоговой обработки сигналов располагаются в n-м проводящем слое и в i-м проводящем слое между первым и n-м проводящими слоями, а в зоне цифровой обработки сигналов – в (n+1)-м проводящем слое и k-м проводящем слое между (n+1)-м и N-м проводящими слоями, земляные участки и экранирующие земляные плоскости зон аналоговой и цифровой обработки сигналов, а также экранирующие проводники барьерного экрана зоны цифровой обработки сигналов электрически соединены с выводом «Земля» низкочастотного соединителя, вывод «Питание» которого электрически соединен с входным выводом расположенного в зоне цифровой обработки сигналов входного фильтра питания, выходной вывод которого электрически соединен с входными выводами формирователей напряжений цифрового и аналогового питания, выходные выводы которых электрически соединены, соответственно, с участками цифрового питания в зоне цифровой обработки сигналов и общей точкой проводников аналогового питания в зоне аналоговой обработки сигналов, при этом формирователь напряжения аналогового питания расположен в зоне аналоговой обработки сигналов, отличающийся тем, что печатные проводники и электрорадиоэлементы, относящиеся к формирователям напряжений цифрового питания, сгруппированы в отдельной зоне – зоне формирования цифрового питания, использующей для своего размещения участки в проводящих слоях с первого по n-й, располагающиеся над зоной цифровой обработки сигналов рядом с расположенными в этих же проводящих слоях участками зоны аналоговой обработки сигналов и отделенные от них разделительными полосами, лишенными металлизации, при этом в зоне аналоговой обработки сигналов в проводящих слоях, свободных от размещения экранирующих земляных плоскостей, по крайней мере по краям зоны располагаются земляные участки, связанные глухими металлизированными отверстиями друг с другом и с экранирующей земляной плоскостью, расположенной в i-м проводящем слое, в зоне формирования цифрового питания в проводящих слоях со второго по n-й располагаются экранирующие земляные плоскости, связанные друг с другом и с земляными участками, находящимися в первом проводящем слое, металлизированными отверстиями, расположенными по периметру зоны, причем на участке периметра вдоль границы с зоной аналоговой обработки сигналов располагаются глухие металлизированные отверстия, а на остальной части периметра – сквозные металлизированные отверстия, связывающие экранирующие земляные плоскости зоны формирования цифрового питания с экранирующими земляными плоскостями и экранирующими печатными проводниками барьерного экрана зоны цифровой обработки сигналов, которые помимо этого связаны друг с другом глухими металлизированными отверстиями, земляной участок, выполняющий функцию участка подвода потенциала «Земля» в зоне формирования цифрового питания, связан электропроводящей перемычкой с земляным участком, выполняющим функцию участка подвода потенциала «Земля» в зоне аналоговой обработки сигналов, и сквозным металлизированным отверстием с земляным участком, выполняющим функцию участка подвода потенциала «Земля» в зоне цифровой обработки сигналов, который, в свою очередь, связан с выводом «Земля» низкочастотного соединителя, выходной вывод входного фильтра питания связан сквозным металлизированным отверстием с печатной площадкой, выполняющей в зоне формирования цифрового питания функцию участка ввода отфильтрованного напряжения внешнего питания, а также с пересекающим границу между зоной формирования цифрового питания и зоной аналоговой обработки сигналов печатным проводником, служащим для передачи отфильтрованного напряжение внешнего питания в зону аналоговой обработки сигналов, при этом расположенная в n-ом проводящем слое экранирующая земляная плоскость зоны аналоговой обработки сигналов связана печатной перемычкой с расположенной в этом же проводящем слое экранирующей земляной плоскостью зоны формирования цифрового питания.
2. Модуль по п.1, отличающийся тем, что печатный проводник, служащий для передачи отфильтрованного напряжение внешнего питания в зону аналоговой обработки сигналов, расположен в том же проводящем слое, что и проводники аналогового питания.
РИСУНКИ
|
|