|
|
(21), (22) Заявка: 2008110213/06, 19.03.2008
(24) Дата начала отсчета срока действия патента:
19.03.2008
(46) Опубликовано: 20.03.2009
(56) Список документов, цитированных в отчете о поиске:
RU 2071189 С1, 27.12.1996. SU 503601 A1, 25.02.1976. RU 2222121 С2, 20.01.2004. DE 3121389 А, 19.08.1982. US 5340023 А, 23.08.1994.
Адрес для переписки:
125438, Москва, ул. Онежская, 8, ФГУП “Исследовательский Центр имени М.В. Келдыша”, А.С. Коротееву
|
(72) Автор(ы):
Воробьев Андрей Олегович (RU), Гарибов Генрих Саркисович (RU), Казберович Алексей Михайлович (RU), Князев Андрей Евгеньевич (RU), Кошелев Виктор Яковлевич (RU), Кошелев Владимир Иванович (RU), Кошлаков Владимир Владимирович (RU), Миронов Вадим Всеволодович (RU), Трещалин Леонид Борисович (RU)
(73) Патентообладатель(и):
Федеральное государственное унитарное предприятие “Исследовательский Центр имени М.В. Келдыша” (ФГУП “Центр Келдыша”) (RU), Открытое акционерное общество “Всероссийский институт легких сплавов” (ОАО “ВИЛС”) (RU)
|
(54) ПЛАЗМОТРОН
(57) Реферат:
Заявленное изобретение относится к области плазмотронной техники и может быть использовано во всех областях промышленности, где применяются плазмотроны постоянного тока. Заявленный плазмоторн содержит корпус, вольфрамовый катод и соединенное с корпусом сопло-анод с выходным каналом, причем выходной канал сопло-анода выполнен конусообразным, расширяющимся к выходу, с углом наклона образующей конуса к продольной оси сопло-анода в пределах 8-11°. Кроме того, в зоне выходного канала сопло-анод выполнено биметаллическим в виде соединенных между собой медной стенки и молибденового экрана, толщина которого в поперечном сечении составляет 0,25÷0,4 от толщины медной стенки. Конструкция заявленного плазмотрона обеспечивает стабильность горения электрической дуги при исключении попадания меди в распыляемый материал, а также в порошок, получаемый из гранул никелевых сплавов, с поверхности сопло-анода. 1 ил.
Изобретение относится к области плазмотронной техники и может быть использовано во всех отраслях промышленности, в которых применяются плазмотроны постоянного тока.
Плазмотроны постоянного тока, в частности, входят в состав промышленных установок центробежного распыления, предназначенных для получения гранул никелевых сплавов с размером частиц, составляющим 120-140 мкм, используемых в дальнейшем для изготовления теплонапряженных деталей авиационных и ракетных двигателей, в частности дисков и лопаток турбин различного назначения.
Истекающая из выходного канала сопла-анода плазмотрона высокотемпературная струя смеси газов натекает на плоский торец заготовки, обтекает и нагревает последний до температуры плавления никелевого сплава. Образовавшаяся жидкая пленка металла за счет вращения заготовки распыляется на гранулы необходимого размера.
Известен плазмотрон, содержащий корпус, вольфрамовый катод и соединенное с корпусом сопло-анод, представляющее собой медный стержень с выходным каналом, выполненным из двух сопряженных между собой цилиндрических участков (Патент РФ №2071189, Н05Н 1/26, В32К 10/00, публ. 1996 г.).
Недостатком известного плазмотрона является возможность попадания некоторого количества меди в распыляемый материал (в том числе в получаемый порошок, состоящий из гранул никелевого сплава) ввиду расплавления и испарения элементов, составляющих катод и сопло-анод (вольфрама и меди), при воздействии на них электродугового разряда. Уносимая масса вольфрамового катода и медного сопла-анода попадает на жидкую пленку никелевого сплава, распыляется, а затем кристаллизуется вместе с ней в виде гранул. Если привнесенная в гранулы никелевого сплава незначительная масса вольфрама не ухудшает механических свойств формуемого конечного изделия, поскольку в состав этих сплавов входит, в том числе и вольфрам, то попадание даже незначительного количества меди совершенно недопустимо. В связи с тем, что температура плавления меди на 400°С меньше, чем температура плавления никелевого сплава, то при формовании изделия из гранул этого сплава расплавленная медь растекается вдоль границ формуемых гранул. При попадании 1 г меди в изготавливаемую деталь (например, диск турбины) образуется несколько кубических сантиметров металла, пораженного медными включениями. Этот объем с пониженными прочностными характеристиками в непредсказуемом после формования месте и в непредсказуемые сроки приведет к разрушению теплонапряженной детали двигателя и к катастрофическим последствиям для всего изделия в целом.
Задачей, на решение которой направлено заявленное решение, является создание плазмотрона, конструкция которого, обеспечивая стабильность горения электрической дуги, исключала бы попадание материала сопла-анода, а именно меди, в распыляемый материал, в том числе в получаемый порошок, состоящий из гранул никелевых сплавов.
Задача решается тем, что в плазмотроне, содержащем корпус, вольфрамовый катод и соединенное с корпусом сопло-анод с выходным каналом, выходной канал сопла-анода выполнен коническим, расширяющимся к выходу, с углом наклона образующей конуса к продольной оси сопла-анода в пределах 8÷11°, при этом сопло-анод в зоне выходного канала выполнено биметаллическим в виде соединенных между собой медной стенки и молибденового экрана, толщина которого в поперечном сечении составляет 0,25÷0,4 от толщины медной стенки.
Выполнение выходного канала сопла-анода биметаллическим в виде соединенных между собой медной стенки и молибденового экрана позволяет исключить попадание материала сопла-анода, а именно меди, в распыляемый материал.
Надежное закрепление молибденового экрана на медной стенке сопла-анода обеспечивается методом горячего изостатического прессования.
Выполнение указанной толщины молибденового экрана обеспечивает надежность работы этого экрана в составе выходного канала сопла-анода. При толщине молибденового экрана <0,25 от толщины медной стенки возможны прогары экрана, а при толщине >0,4 температура на границе молибденовый экран – медь достигает температуры плавления меди, что приводит к выбросу всего экрана из медного сопла-анода.
Выполнение выходного канала плазмотрона коническим, расширяющимся к выходу, обеспечивает стабильность горения электрической дуги и ее вытягивание на всю длину конической части сопла-анода, что позволяет достигнуть максимального эффекта в преобразовании электрической энергии разряда в тепловую энергию газовой смеси.
Выполнение угла наклона образующей конического канала к продольной оси сопла-анода в пределах 8÷11° обеспечивает безотрывное от поверхности сопла-анода течение газового потока, что также позволяет избежать локального подплавления молибденового экрана в месте отрыва потока. Кроме того, при угле наклона образующей <8° нарушается стабильность горения, поскольку электрическая дуга будет «запираться» в определенном сечении канала из-за ее шунтирования, а при угле >11° снижается эффективность нагрева газовой смеси из-за возникновения зоны отрыва газового потока.
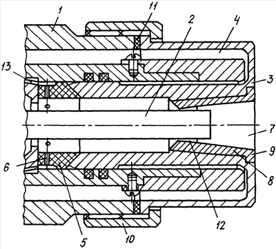
Сущность изобретения поясняется чертежом, на котором изображен продольный разрез плазмотрона.
Плазмотрон содержит корпус 1, установленный в нем водоохлаждаемый вольфрамовый катод 2, соединенное с корпусом 1 сопло-анод 3 сложной геометрической конфигурации с охлаждаемой полостью 4, расположенной между его наружной и внутренней стенками, и фторопластовую втулку 5 с тангенциальными отверстиями 6 для закрутки аргоно-гелиевой смеси, расположенную перед соплом-анодом 3. Внутренняя стенка сопла-анода образует выходной канал 7, имеющий коническую форму с углом наклона образующей конуса к продольной оси сопла в пределах 8÷11°. Угол наклона образующей конуса выбран из соображений выполнения угла раскрытия выходного канала, не допускающим отрыва газового потока от его поверхности, и определен экспериментальным путем.
Сопло-анод 3 в зоне выходного канала 7 выполнено биметаллическим, а именно внутренняя стенка сопла-анода 3 выполнена из соединенных между собой горячим изостатическим прессованием медной стенки 8 и молибденового экрана 9. Сопло-анод 3 соединено с корпусом 1 посредством накидной гайки 10. Герметичность конструкции обеспечивается уплотнениями 11.
Толщина молибденового экрана 9 составляет 0,25÷0,4 от толщины медной стенки 8 и выбрана в результате расчета теплового состояния молибденового экрана 9 при воздействии на него тепловых нагрузок от дугового разряда в пятне контакта ножки дуги и молибденовой стенки (90% Q ) и от высокотемпературного газового потока (10% Q ), где Q , – суммарный теплосъем с охлаждаемой поверхности биметаллического сопла-анода в тракт водяного охлаждения этого сопла. Толщины молибденового экрана 9 и медной стенки 8 выбраны в результате решения уравнения теплопроводности с учетом следующих граничных условий:
TWMo < ТплМо = 2898 К;
ТГР Мо-Cu <Тп. проч. Си = 600 К;

где TWMo – температура на поверхности молибденового экрана со стороны газового потока;
ТплМо – температура плавления молибдена;
ТГР Мо-Cu – температура на границе раздела молибдена и меди;
Тп. прочн. Си – температура потери прочности меди;
– температура на внутренней медной стенке биметаллического сопла-анода (омываемой водой).
При несоблюдении хотя бы одного граничного условия предлагаемое изобретение теряет свою работоспособность: при TWMo TплМо происходит разрушение молибденового экрана, при ТГР Мо-Cu 600 К экран не может удержаться на внутренней стенке сопла и уносится потоком газовой смеси, при происходит вскипание воды в тракте охлаждения и сопло-анод разрушается.
Решение уравнения теплопроводности с такими граничными условиями позволило определить толщину молибденового экрана относительно толщины медной стенки.
Работа устройства осуществляется следующим образом.
В процессе работы плазмотрона между соплом-анодом 3 и катодом 2 подается напряжение постоянного электрического тока. При наличии напряжения в полости 12 между биметаллическим соплом-анодом 3 и катодом 2 возбуждается электрическая дуга. Аргоно-гелиевую смесь подают через тракт подачи газового потока 13 и тангенциальные отверстия 6 фторопластовой втулки 5 для закрутки газового потока. Закрутка газа обеспечивает вращение дугового разряда по внутренней поверхности биметаллического сопла-анода 3 (образующей выходной канал сопла), что уменьшает время контакта «ножки» дуги с молибденовым экраном 9 в какой-либо одной точке поверхности и, следовательно, снижает возможность эрозии молибдена. Столб дугового разряда вытягивается во всю длину конического выходного канала, выполненного с углом раскрытия, не допускающим отрыва газового потока от поверхности этого канала. Электрическая энергия разряда максимально эффективно преобразуется в тепловую энергию газовой смеси. Нагретая до требуемого значения газовая смесь, истекая из биметаллического сопла-анода, натекает на плоский торец распыляемой заготовки. Охлаждение биметаллического сопла-анода 3 осуществляется водой, подаваемой в полость 4.
Экспериментальная отработка конструкции плазмотрона с биметаллическим соплом-анодом с конусным выходным каналом была проведена на базе плазмотрона ПСМ-100 на установке УЦР-4. Для этой отработки было изготовлено биметаллическое сопло-анод с углом раскрытия, составляющим 18°. Диаметр цилиндрической части сопла dq=17 мм, диаметр среза сопла dc=27-28 мм. Толщина молибденового экрана составила э=2-2,5 мм. Толщина медной стенки составила кс=6,5-7 мм.
Распыление опытной партии заготовок из никелевого сплава ЭП-741 в количестве 50 штук при токе в дуговом разряде 1500-1700 А показало, что в порошке полученных гранул сплава включения меди отсутствуют.
Опытные испытания показали, что заявленная конструкция плазмотрона с биметаллическим соплом-анодом, помимо исключения попадания меди в распыляемый материал заготовки, по сравнению с использованием медных сопл-анодов способствует уменьшению на 25-30% потерь тепловой энергии в водяное охлаждение сопла-анода за счет уменьшения разности температур между газовой смесью и стенкой молибденового экрана, а также за счет уменьшения поверхности теплосъема биметаллического сопла-анода. Отсюда следует, что заявленное решение способствует увеличению на 25-30% теплосодержания газовой смеси, истекающей из разрядной камеры плазмотрона, увеличению теплового кпд плазмотрона ПСМ-100 и увеличению производительности установки УЦР-4.
Формула изобретения
Плазмотрон, содержащий корпус, вольфрамовый катод и соединенное с корпусом сопло-анод с выходным каналом, отличающийся тем, что выходной канал сопло-анода выполнен конусообразным, расширяющимся к выходу, с углом наклона образующей конуса к продольной оси сопло-анода в пределах 8-11°, при этом сопло-анод в зоне выходного канала выполнено биметаллическим в виде соединенных между собой медной стенки и молибденового экрана, толщина которого в поперечном сечении составляет 0,25÷0,4 от толщины медной стенки.
РИСУНКИ
|
|