|
|
(21), (22) Заявка: 2007131050/28, 14.08.2007
(24) Дата начала отсчета срока действия патента:
14.08.2007
(46) Опубликовано: 20.03.2009
(56) Список документов, цитированных в отчете о поиске:
RU 2290671 С1, 27.12.2006. RU 2288487 С1, 27.11.2006. RU 2300787 С2, 10.06.2007. US 4214238 А, 22.07.1980.
Адрес для переписки:
197082, Санкт-Петербург, ул. Ждановская, 13, ВКА им. А.Ф. Можайского
|
(72) Автор(ы):
Дикарев Виктор Иванович (RU), Доронин Александр Павлович (RU), Дрожжин Владимир Васильевич (RU), Юнак Алевтин Иванович (RU), Свинарчук Андрей Александрович (RU)
(73) Патентообладатель(и):
Военно-космическая академия им. А.Ф. Можайского (RU)
|
(54) СИСТЕМА ДЛЯ ПРЕДУПРЕЖДЕНИЯ О ЗЕМЛЕТРЯСЕНИЯХ И ЦУНАМИ
(57) Реферат:
Изобретение относится к подводной геоакустике и может быть использовано для предупреждения о землетрясениях и цунами с помощью включения соответствующих систем сигнализации. Сущность: система содержит герметичный корпус с прикрепленными к нему приемником сейсмических колебаний и маятником с распределенной массой, оптоэлектронный датчик наперед заданного предельного значения отклонения маятника. Маятник включает в себя оптически согласованные источник когерентного света и фотоприемник, подключенный через усилитель фототока и частотомер к сигнализатору тревоги. Оптоэлектронный датчик выполнен в виде сигнальной и опорной волоконных катушек, оптически связанных через источник когерентного света и фотоприемник в интерферометр. Причем сигнальная и опорная волоконные катушки расположены в корпусе, установленном на морском дне, а источник когерентного света и фотоприемник расположены на надводном центре управления и регистрации. Сигнализатор тревоги выполнен в виде передатчика, установленного на надводном центре управления и регистрации, ИСЗ-ретранслятора и наземной станции. Передатчик выполнен в виде формирователя модулирующего кода, фазового манипулятора, генератора высокой частоты, усилителя мощности и передающей антенны. Наземная станция состоит из приемной антенны, усилителя высокой частоты, смесителя, гетеродина, усилителя промежуточной частоты, демодулятора ФМн-сигнала, блока регистрации, звукового сигнализатора. Демодулятор ФМн-сигнала содержит линию задержки, первый, второй и третий сумматоры, первый и второй амплитудные детекторы, фазоинвертор. Технический результат: повышение надежности системы. 3 ил.
Предлагаемая система относится к подводной геоакустике и может быть использована для предупреждения о землетрясениях и цунами с помощью включения соответствующих систем сигнализации.
Известны устройства и системы для предупреждения о землетрясениях и цунами (авт. свид. СССР №914702, 1070497, 1163287, 1198142, 1584585; патенты РФ №2034312, 2097792, 2124744, 2147060, 2156988, 2238574, 2290671; патенты США №4214238, 4587859, 4691661, 5124915, 5556229; патенты Великобритании №1163173, 2183038; Соловьев С.Л., Бурымская Р.И. Оценка эффективности новых признаков цунамигенности землетрясений. Изв. АНСССР, серия «Физика земли», 1981, №8 и другие).
Из известных устройств и систем наиболее близким к предлагаемой является «Система для предупреждения о землетрясениях и цунами» (патент РФ №2290671, G01V 1/16, 2005), которая и выбрана в качестве прототипа.
Указанная система содержит ИСЗ-ретранслятор, сейсмический триггер, передатчик и наземную станцию, в состав которой входит демодулятор ФМн-сигнала, состоящий из перемножителей, узкополосного фильтра и фильтра нижних частот. Последовательно включенные перемножитель и фильтр нижних частот образуют фазовый детектор.
Недостатком данной системы является наличие перемножителей, имеющих малый динамический диапазон входных сигналов, ограниченную полосу пропускания и малую крутизну, которые ухудшают отношение сигнал/шум при уровнях сигналов, сравнимых с уровнем собственных шумов приемника.
Кроме того, наличие продуктов перемножения (гармоник высших порядков) снижает КПД приемника и требует установки фильтров, выделяющих полезную информацию.
Все это, в конечном итоге, приводит к снижению достоверности передачи тревожной информации для предупреждения о землетрясениях и цунами и, как следствие, к снижению надежности радиоканала.
Технической задачей изобретения является повышение надежности радиоканала путем увеличения динамического диапазона входных сигналов и улучшения отношения сигнал/шум при приеме слабых сигналов.
Поставленная задача решается тем, что система для предупреждения о землетрясениях и цунами, содержащая в соответствии с ближайшим аналогом герметичный корпус с прикрепленными к его нижней части приемником сейсмических колебаний, а к верхней – маятником с распределенной массой, а также оптоэлектронный датчик наперед заданного предельного значения отклонения маятника, включающего в себя оптически согласованные источник когерентного света и фотоприемник, подключенный выходом через последовательно соединенные усилитель фототока и частотомер к сигнализатору тревоги, при этом оптоэлектронный датчик наперед заданного предельного значения отклонения маятника выполнен в виде сигнальной и опорной волоконных катушек, оптически связанных через источник когерентного света и фотоприемник в интерферометр, сигнальная и опорная волоконные катушки расположены в корпусе, установленном на морском дне, соответственно на и вне траектории отклонения маятника от положения равновесия, а источник когерентного света и фотоприемник расположены на надводном центре управления и регистрации, сигнализатор тревоги выполнен в виде передатчика, установленного на надводном центре управления и регистрации, ИС3-ретранслятора и наземной станции, передатчик выполнен в виде последовательно подключенных к выходу частотомера формирователя модулирующего кода, фазового манипулятора, второй вход которого соединен с выходом генератора высокой частоты, усилителя мощности и передающей антенны, наземная станция выполнена в виде последовательно включенных приемной антенны, усилителя высокой частоты, смесителя, второй вход которого соединен с выходом гетеродина, усилителя промежуточной частоты, демодулятора ФМн-сигнала, к выходу которого подключены блок регистрации и звуковой сигнализатор, отличается от ближайшего аналога тем, что демодулятор ФМн-сигнала выполнен в виде последовательно подключенных к выходу усилителя промежуточной частоты линии задержки, первого сумматора, второй вход которого соединен с выходом усилителя промежуточной частоты, первого амплитудного детектора и третьего сумматора, к выходу которого подключены блок регистрации и звуковой сигнализатор, последовательно подключенных к выходу линии задержки фазоинвертора, второго сумматора, второй вход которого соединен с выходом усилителя промежуточной частоты, и второго амплитудного детектора, выход которого соединен с вторым входом третьего сумматора.
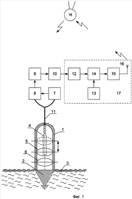
Структурная схема сейсмического триггера и передатчика представлена на фиг.1. Структурная схема наземной станции представлена на фиг.2. Временные диаграммы, поясняющие принцип работы системы, изображены на фиг.3.
Сейсмический триггер содержит герметический корпус 1 (фиг.1) с прикрепленным к его нижней части приемником 2 сейсмических колебаний, выполненным в виде традиционного штыря, втыкаемого в грунт морского дна 3. К верхней части герметичного корпуса 1 подвешен маятник 4 с распределенной массой. В состав триггера также входит оптоэлектронный датчик наперед заданного предельного значения отклонения маятника 4, выполненный в виде сигнальной и опорной волоконных катушек 5 и 6, оптически связанных с источником 7 когерентного света и фотоприемником 8 в интерферометр, например, собранный по схеме Маха-Цендера. Сигнальная катушка 5 интерферометра расположена на траектории отклонения маятника 4 от положения равновесия, а опорная катушка 6 – вне траектории отклонения маятника 4. Выход фотоприемника 8 подключен через последовательно соединенные усилитель 9 фототока и частотомер 10 к сигнализатору тревоги.
Волоконные катушки 5 и 6 интерферометра закреплены непосредственно в герметичном корпусе 1, а остальные элементы триггера расположены на надводном центре управления и регистрации. Связь подводной части сейсмического триггера с надводной осуществляется по кабель-троссу 11.
Передатчик 17 выполнен в виде последовательно подключенных к выходу частотомера 10 формирователя 12 модулирующего кода, фазового манипулятора 14, второй вход которого соединен с выходом генератора 13 высокой частоты, усилителя 15 мощности и передающей антенны 16.
Наземная станция выполнена в виде последовательно включенных приемной антенны 19, усилителя 20 высокой частоты, смесителя 22, второй вход которого соединен с выходом гетеродина 21, усилителя 23 промежуточной частоты, линии 25 задержки, первого сумматора 27, второй вход которого соединен с выходом усилителя 23 промежуточной частоты, первого амплитудного детектора 31 и третьего сумматора 33, к выходу которого подключены блок 29 регистрации и звуковой сигнализатор 30, последовательно подключенных к выходу линии 25 задержки фазоинвертора 26, второго сумматора 28, второй вход которого соединен с выходом усилителя 23 промежуточной частоты, и второго амплитудного детектора 32, выход которого соединен со вторым входом третьего сумматора 33. Линия 25 задержки, фазоинвертор 26, сумматоры 27, 28 и 33 и амплитудные детекторы 31, 32 образуют демодулятор 24 ФМн-сигнала.
Связь сейсмического триггера с наземной станцией осуществляется с помощью радиоканала через ИС3-ретранслятор 18.
Волоконная катушка 5 выполнена с возможностью смещения в корпус 1 вдоль маятника 4 с распределенной массой. Для устранения влияния акустических шумов на работу триггера волоконные катушки 5 и 6 покрывают звуконепроницаемой оболочкой.
Система для предупреждения о землетрясениях и цунами работает следующим образом.
При появлении в районе морского дна 3 землетрясений или цунами сейсмический приемник 2, являющийся одновременно и якорем корпуса 1, воспринимает ускорения, вызванные воздействием подземных толчков на сейсмический триггер. Маятник 4 с распределенной массой в ответ на землетрясение приходит в колебательное движение.
Если подземные толчки достигают определенной амплитуды, отклонение маятника 4 достигает критической величины, при которой он ударяет о сигнальную катушку 5. На выходе фотоприемника 8 при этом появится сигнал в виде последовательности интерференционных пиков. После усиления фототока в усилителе 9 частотомер 10 считает частоту и количество интерференционных пиков, которые поступают в формирователь 12, где формируется модулирующий код M(f) (фиг.3, б), содержащий частоту и количество интерференционных пиков, а также номер сейсмического триггера и его местоположение. Этот код поступает на первый вход фазового манипулятора 14, на второй вход которого подается гармоническое колебание с выхода генератора 13 высокой частоты (фиг.3, а)
uc(t)=Uc·cos( ct+ c), 0 t Tc,
где Uc, c, c, Tc – амплитуда, несущая частота, начальная фаза и длительность гармонического колебания.
На выходе фазового манипулятора 14 образуется сложный сигнал с фазовой манипуляцией (ФМн) (фиг.3, в)
u1(t)=Uc·cos[ ct+ k(t)+ c], 0 t Tc
где к={0, } – манипулируемая составляющая фазы, отображающая закон фазовой манипуляции в соответствии с модулирующим кодом М(t) (фиг.3, б), причем к(t)=const при к ээ и может изменяться скачком при f=к э, т.е. на границах между элементарными посылками (к=1,2,…,N-1);
э, N – длительность и количество элементарных посылок, из которых составлен сигнал длительностью Тс(Тс=N· э),который после усиления в усилителе 15 мощности излучается передающей антенной 16 в эфир, ретранслируется ИСЗ-ретранслятором 18 с сохранением фазовых соотношений, улавливается приемной антенной 19 наземной станции и через усилитель 20 высокой частоты поступает на первый вход смесителя 22, на второй вход которого подается напряжение гетеродина 21
uг(t)=Uг·cos( гt+ г).
На выходе смесителя 22 образуются напряжения комбинационных частот. Усилителем 23 выделяется напряжение промежуточной частоты (фиг.3, г)
uпр(t)=Uпр·cos[ прt+ к(t)+ пр], 0 t Tc
где 
К1 – коэффициент передачи смесителя;
пр= с– г – промежуточная частота;
пр= с– г, которое поступает на вход демодулятора 24 ФМн-сигнала.
Время задержки з линии 25 задержки выбирается равным длительности э элементарных посылок ( з= э).
Сложный ФМн-сигнал промежуточной частоты uпр(t) (фиг.3, г) с выхода усилителя 23 промежуточной частоты одновременно поступает на вход линии 25 задержки и на первые входы первого 27 и второго 28 сумматоров, на вторые входы которых подается тот же ФМн-сигнал промежуточной частоты с выхода линии 25 задержки, задержанный на время з= э. Причем на второй вход второго сумматора 28 сложный ФМн-сигнал промежуточной частоты поступает сдвинутым по фазе на относительно первого сумматора 27.
Следовательно, на первый 27 и второй 28 сумматоры поступают незадержанные и задержанные на длительность э элементарной посылки ФМн-сигналы промежуточной частоты. В указанных сумматорах происходит суммирование незадержанного и задержанного ФМн-сигналов синфазно и противофазно, т.е. на одном из сумматоров ФМн-сигналы складываются, а на другом – вычитаются. При равенстве амплитуд задержанного и незадержанного ФМн-сигналов на выходе сумматоров 27 и 28 напряжение или удваивается, или становится равным нулю, т.е. происходит замена фазовых соотношений между символами кода амплитудными. С выходов сумматоров 27 и 28 сигналы поступают на амплитудные детекторы 31 и 32 противоположной полярности соответственно. Продетектированные сигналы подаются на сумматор 33.
В силу того что сигналы разнесены во времени и имеют разную полярность, то на выходе сумматора 33 образуется разнополярный видеосигнал (фиг.3, д). Положительный видеосигнал соответствует разности фаз задержанной и незадержанной элементарных посылок, равной нулю, и отрицательный – разности фаз, равной .
Схема, состоящая из амплитудных детекторов 31, 32 и сумматора 33, работает, как схема отбора по максимуму. Это не ухудшает отношения сигнал/шум на выходе сумматора 33, так как один из амплитудных детекторов, например 31, оказывается «запертым» сигналом другого амплитудного детектора 32.
Видеосигнал (фиг.3, д)
uн(t)=U ·cos к(t),0 t Tc, пропорциональный модулирующему коду М(t) (фиг.3, б), с выхода сумматора 33 поступает на входы блока 29 регистрации и звукового сигнализатора 30. Последний воспроизводит звуковой сигнал тревоги о возникновении землетрясения и цунами, а по зарегистрированному видеосигналу судят о местоположении и силе землетрясения и цунами.
Предлагаемый демодулятор ФМн-сигналов также свободен от явления «обратной работы», присущего известным устройствам выделения опорного напряжения непосредственного из самого принимаемого ФМн-сигнала (схемы Пистолькорса А.А., Сифорова В.И., Костаса Д.Ф., Травина Г.А. и другие).
Система использует радиоканал и сложные сигналы с фазовой манипуляцией.
Указанные сигналы открывают новые возможности в технике передачи тревожной информации. Они позволяют применять новый вид селекции – структурную селекцию. Это значит, что появляется новая возможность разделять сигналы, действующие в одной и той же полосе частот и в одни и те же промежутки времени. Принципиально можно отказаться от традиционного метода разделения рабочих частот используемого диапазона между работающими сейсмическими триггерами и селекцией их на наземной станции с помощью частотных фильтров. Его можно заменить новым методом, основанным на одновременной работе каждого сейсмического триггера во всем диапазоне частот сигналами с фазовой манипуляцией с выделением радиоприемным устройством сигнала необходимого сейсмического триггера посредством его структурной селекции.
К числу других проблем, от решения которых в значительной мере зависит дальнейший прогресс средств радиосвязи сейсмических триггеров с наземной станцией, следует отнести проблему установления надежной связи между сейсмическими триггерами и наземной станцией через ИС3-ретранслятор при наличии многолучевого характера распространения радиоволн. Наличие многолучевого характера распространения радиоволн приводит к искажению принимаемых ФМн-сигналов, что затрудняет прием и снижает достоверность передачи тревожной информации для предупреждения о землетрясении и цунами.
Попытки преодолеть вредное влияние многолучевости предпринимаются уже давно. К ним можно отнести разнесенный прием, селекцию сигналов по времени и углу прихода, корректирующее кодирование и некоторые другие методы. Однако все они не дают принципиального решения проблемы.
Сложный ФМн-сигнал благодаря своим хорошим корреляционным свойствам может быть «свернут» в узкий импульс, длительность которого обратно пропорциональна используемой ширине полосы частот. Выбирая такую полосу частот, чтобы длительность «свернутого» импульса была меньше времени запаздывания, можно осуществить раздельный прием импульсов, приходящих в точку приема различными путями, а суммируя их энергию, можно, кроме того, повысить помехоустойчивость приема сложных ФМн-сигналов. Тем самым указанная проблема получает принципиальное разрешение.
С точки зрения обнаружения сложные ФМн-сигналы обладают высокой энергетической и структурной скрытностью.
Энергетическая скрытность данных сигналов обусловлена их высокой сжимаемостью во времени и по спектру при оптимальной обработке, что позволяет снизить мгновенную излучаемую мощность. Вследствие этого сложный ФМн-сигнал в точке приема может оказаться замаскированным шумами и помехами. Причем энергия сложного ФМн-сигнала отнюдь не мала, она просто распределена по частотно-временной области так, что в каждой точке этой области мощность сигнала меньше мощности шумов и помех.
Структурная скрытность сложных ФМн-сигналов обусловлена большим разнообразием их форм и значительными диапазонами изменений параметров, что затрудняет оптимальную или хотя бы квазиоптимальную обработку сложных ФМн-сигналов априорно неизвестной структуры с целью повышения чувствительности приемника.
Для выделения аналога модулирующего кода из принимаемого ФМн-сигнала используется демодулятор, свободный от явления «обратной» работы.
Таким образом, предлагаемая система по сравнению с прототипом обеспечивает повышение надежности радиоканала. Это достигается путем увеличения динамического диапазона входных сигналов и улучшения отношения сигнал/шум при приеме слабых сигналов.
Сумматоры, выполненные, например, на резисторах, практически безынерционны, а постоянную времени амплитудных детекторов можно сделать очень малой.
Кроме того, отсутствие комбинационных составляющих высших порядков, которые возникают при перемножении и потере в отношении сигнал/шум при слабых сигналах, позволяет повысить технические характеристики предлагаемой системы.
Формула изобретения
Система для предупреждения о землетрясениях и цунами, содержащая герметичный корпус с прикрепленными к его нижней части приемником сейсмических колебаний, а к верхней – маятником с распределенной массой, а также оптоэлектронный датчик наперед заданного предельного значения отклонения маятника, включающего в себя оптически согласованные источник когерентного света и фотоприемник, подключенный выходом через последовательно соединенные усилитель фототока и частотомер к сигнализатору тревоги, при этом оптоэлектронный датчик наперед заданного предельного значения отклонения маятника выполнен в виде сигнальной и опорной волоконных катушек, оптически связанных через источник когерентного света и фотоприемник в интерферометр, сигнальная и опорная волоконные катушки расположены в корпусе, установленном на морском дне, соответственно на и вне траектории отклонения маятника от положения равновесия, а источник когерентного света и фотоприемник расположены на надводном центре управления и регистрации, сигнализатор тревоги выполнен в виде передатчика, установленного на надводном центре управления и регистрации, ИСЗ-ретранслятора и наземной станции, передатчик выполнен в виде последовательно подключенных к выходу частотомера формирователя модулирующего кода, фазового манипулятора, второй вход которого соединен с выходом генератора высокой частоты, усилителя мощности и передающей антенны, наземная станция выполнена в виде последовательно включенных приемной антенны, усилителя высокой частоты, смесителя, второй вход которого соединен с выходом гетеродина, усилителя промежуточной частоты и демодулятора ФМн-сигнала, к выходу которого подключены блок регистрации и звуковой сигнализатор, отличающаяся тем, что демодулятор ФМн-сигнала выполнен в виде последовательно подключенных к выходу усилителя промежуточной частоты линии задержки, первого сумматора, второй вход которого соединен с выходом усилителя промежуточной частоты, первого амплитудного детектора и третьего сумматора, к выходу которого подключены блок регистрации и звуковой сигнализатор, последовательно подключенных к выходу линии задержки фазоинвертора, второго сумматора, второй вход которого соединен с выходом усилителя промежуточной частоты, и второго амплитудного детектора, выход которого соединен с вторым входом третьего сумматора.
РИСУНКИ
|
|