|
|
(21), (22) Заявка: 2007144450/28, 03.12.2007
(24) Дата начала отсчета срока действия патента:
03.12.2007
(46) Опубликовано: 20.03.2009
(56) Список документов, цитированных в отчете о поиске:
RU 2231050 С1, 20.06.2004. RU 2280249 C1, 20.07.2006. RU 2117279 C1, 10.08.1998. WO 2006/015734 A1, 16.02.2006.
Адрес для переписки:
121059, Москва, Бережковская наб., 22, ФГУП “КБОМ”
|
(72) Автор(ы):
Володин Юрий Григорьевич (RU), Халтурин Геннадий Нестерович (RU)
(73) Патентообладатель(и):
Федеральное Государственное Унитарное Предприятие “Конструкторское Бюро Общего Машиностроения имени В.П. Бармина” (RU)
|
(54) ГИГРОМЕТР (ВАРИАНТЫ)
(57) Реферат:
Изобретение относится к технике измерения влажности газов. Гигрометр включает холодопровод, измерительную камеру, датчик температуры, источник света, фотоприемник, входной и выходной трубопроводы, клапаны, манометр, расходомер и охладитель. В холодопроводе параллельно оси измерительной камеры выполнена выточка в виде паза с плоской поверхностью и отверстие над ней, закрытое защитным стеклом, над которым установлен источник света. В гигрометре по варианту 2 фотоприемник установлен вместе с источником света. В гигрометре по варианту 3 по оси измерительной камеры установлен второй фотоприемник. Технический результат – повышение точности измерений точки росы газа и упрощение конструкции. 3 н.п. ф-лы, 4 ил.
Изобретение относится к технике измерения влажности газов. Преимущественная область использования – измерения точки росы сжатых газов непосредственно при высоких давлениях.
Известен гигрометр, содержащий измерительную камеру, выполненную в холодопроводе в виде цилиндрической поверхности, являющейся конденсационным зеркалом, источник света, фотоприемник, охладитель и измерительные приборы [1]. Его основной недостаток заключается в том, что при отсутствии на конденсационном зеркале росы в фотоприемник попадает максимальный световой поток, вызывая в нем максимальный сигнал. При этом критерием измеряемой точки росы газа является температура конденсационного зеркала в момент скачкообразного уменьшения сигнала в фотоприемнике. Однако величина изменения этого сигнала резко уменьшается с понижением влажности газа и при низких точках росы, например ниже минус 50°С, на фоне большого сигнала не может быть определена с достаточно высокой точностью. Кроме того, из-за перепадов температуры в холодопроводе образование росы начинается на малой площади, фактически на образующей цилиндрическую поверхность, наиболее близко расположенной к охладителю. Поэтому световой поток, попадающий в фотоприемник, изменяется незначительно. Вследствие этого увеличивается погрешность определения температуры конденсационного зеркала в момент образования на нем росы.
Известен гигрометр, содержащий измерительную камеру, являющуюся конденсационным зеркалом, выполненную в холодопроводе в виде цилиндрической поверхности, поглощающей световые лучи, источник света, фотоприемник, охладитель и измерительные приборы [2], принятый за прототип. Его недостаток, как и в [1], заключается в том, что вследствие перепадов температуры в холодопроводе образование росы начинается на малой площади и соответственно в фотоприемник попадает незначительная часть диффузно отраженных световых лучей. Кроме того, в измерительной камере расположены неохлаждаемый источник света и полированный экран, которые создают дополнительные перепады температуры в потоке анализируемого газа. В результате этого снижается точность измерений точки росы газа и усложняется конструкция гигрометра.
Результатом предлагаемого изобретения является повышение точности измерений точки росы газа и упрощение конструкции гигрометра.
Указанный результат достигается тем, что: по варианту 1 в гигрометре, содержащем измерительную камеру, являющуюся конденсационным зеркалом, выполненную в холодопроводе в виде цилиндрической поверхности, поглощающей световые лучи, источник света, фотоприемник, охладитель и измерительные приборы, в измерительной камере параллельно ее оси выполнена выточка в виде паза с плоской поверхностью и отверстие над ней, закрытое защитным стеклом, над которым установлен источник света; по варианту 2 в гигрометре, содержащем измерительную камеру, являющуюся конденсационным зеркалом, выполненную в холодопроводе в виде цилиндрической поверхности, поглощающей световые лучи, источник света, фотоприемник, охладитель и измерительные приборы, в измерительной камере параллельно ее оси выполнена выточка в виде паза с плоской поверхностью и отверстие над ней, закрытое защитным стеклом, над которым установлен источник света и фотоприемник; по варианту 3 в гигрометре, содержащем измерительную камеру, являющуюся конденсационным зеркалом, выполненную в холодопроводе в виде цилиндрической поверхности, поглощающей световые лучи, источник света, фотоприемник, охладитель и измерительные приборы, в измерительной камере параллельно ее оси выполнена выточка в виде паза с плоской поверхностью и отверстие над ней, закрытое защитным стеклом, над которым установлен источник света, а по оси измерительной камеры установлен второй фотоприемник.
Отличительные от прототипа признаки изобретения заключаются в следующем. В предлагаемом гигрометре по вариантам 1, 2, 3 в измерительной камере параллельно ее оси выполнена выточка в виде паза с плоской поверхностью и отверстие над ней, закрытое защитным стеклом, над которым установлен источник света. Вследствие этого образование росы начинается практически одновременно на всей плоской поверхности паза, фактически являющейся конденсационным зеркалом, что позволяет существенно увеличить величину скачкообразного сигнала в фотоприемнике. При этом поверхность выточки не контактирует с другими частями гигрометра, чем достигается существенное уменьшение перепадов температуры по ее поверхности. Кроме того, в измерительной камере отсутствуют неохлаждаемый источник света и полированный экран. В результате этого повышается точность измерений точки росы газа и упрощается конструкция гигрометра. По варианту 2 фотоприемник, как и источник света, установлен над защитным стеклом, что позволяет уменьшить геометрические размеры измерительной камеры при более простой конструкции. По варианту 3 по оси измерительной камеры установлен второй фотоприемник, в результате чего достигается еще большее усиление скачкообразного сигнала в момент образования росы на поверхности паза.
Варианты практической реализации предлагаемого изобретения иллюстрируются чертежами, на которых показан гигрометр по варианту 1 (Фиг.1, Фиг.2), гигрометр по варианту 2 (Фиг.3) и гигрометр по варианту 3 (Фиг.4).
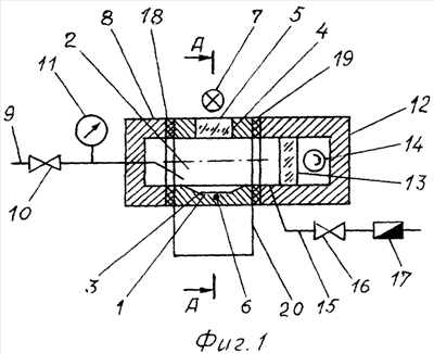
Гигрометр по варианту 1 (Фиг.1, Фиг.2) включает холодопровод 1, измерительную камеру 2, в которой выполнена выточка 3, отверстие 4, защитное стекло 5, датчик температуры 6, источник света 7, обойму 8, входной трубопровод 9 с клапаном 10 и манометром 11, обойму 12 с защитным стеклом 13, фотоприемник 14, выходной трубопровод 15 с клапаном 16 и расходомером 17, теплоизолирующие прокладки 18, 19 и охладитель 20.
Измерительная камера 2 выполнена в холодопроводе 1 в виде цилиндрической поверхности, поглощающей световые лучи. Выточка 3 выполнена параллельно оси измерительной камеры 2 в виде продольного паза с плоской поверхностью и скосами для улучшения ее обтекаемости анализируемым газом (Фиг.1). Отверстие 4 расположено над выточкой 3. Холодопровод 1 теплоизолирован от воздействия окружающей среды (на Фиг.1, 2, 3, 4 не показано).
Гигрометр по варианту 2 (Фиг.3) отличается от гигрометра по варианту 1 тем, что в нем отсутствует защитное стекло 13, а фотоприемник 14 установлен над защитным стеклом 5.
Гигрометр по варианту 3 (Фиг.4) отличается от гигрометра по варианту 1 тем, что в нем по оси измерительной камеры 2 установлен второй фотоприемник 21 с защитным стеклом 22.
Измерение точки росы газа с помощью предлагаемого гигрометра по вариантам 1, 2, 3 производится следующим образом. Вначале включают источник света 7. Исходящие от него световые лучи практически полностью поглощаются плоской поверхностью выточки 3 и в фотоприемник 14 (или в фотоприемники 14, 21 по варианту 3) не попадают. При этом сигнал в детекторе точки росы (на Фиг.1, 2, 3 не показан) отсутствует. Затем полностью открывают клапан 16 и плавно приоткрывают клапан 10. Анализируемый сжатый газ по входному трубопроводу 9 поступает в измерительную камеру 2, обтекая выточку 3, по выходному трубопроводу 15 сбрасывается в атмосферу. Регулируя расход анализируемого газа с помощью клапанов 10, 16, устанавливают в измерительной камере 2 требуемое давление при определенном расходе. Контроль производят соответственно по манометру 11 и расходомеру 17. После этого включают охладитель 20, в результате чего температура холодопровода 1 начинает понижаться. В начальный момент образование росы происходит практически одновременно на всей плоскости выточки 3, которая в измерительной камере 2 наиболее близко расположена к охладителю 20. При этом световые лучи, диффузно отражаясь от капель росы, попадают в фотоприемник 14 (варианты 1, 2) или в фотоприемники 14, 21 (вариант 3), вызывая скачкообразное появление сигнала в детекторе точки росы. Температура поверхности выточки 3, измеренная в этот момент с помощью датчика температуры 6, принимается за точку росы анализируемого газа при данном давлении.
По сравнению с прототипом предлагаемый гигрометр по вариантам 1, 2, 3 позволяет повысить точность измерений точки росы газа и упростить конструкцию. Это достигается тем, что в начальный момент роса образуется практически одновременно на существенно большей поверхности. В результате этого скачкообразный сигнал в детекторе точки росы многократно усиливается, что способствует существенному повышению точности измерений. Причем по варианту 3 с помощью второго фотоприемника сигнал усиливается еще в большей степени. При этом в измерительной камере гигрометра отсутствуют источник света и полированный экран, усложняющие конструкцию и снижающие точность измерений точки росы газа.
Источники информации
1. Патент РФ №2219532, кл. МКИ G01N 25/56.
2. Патент РФ №2231050, кл. МКИ G01N 25/56.
Формула изобретения
1. Гигрометр, содержащий измерительную камеру, являющуюся конденсационным зеркалом, выполненную в холодопроводе в виде цилиндрической поверхности, поглощающей световые лучи, источник света, фотоприемник, охладитель и измерительные приборы, отличающийся тем, что в измерительной камере параллельно ее оси выполнена выточка в виде паза с плоской поверхностью и отверстие над ней, закрытое защитным стеклом, над которым установлен источник света.
2. Гигрометр, содержащий измерительную камеру, являющуюся конденсационным зеркалом, выполненную в холодопроводе в виде цилиндрической поверхности, поглощающей световые лучи, источник света, фотоприемник, охладитель и измерительные приборы, отличающийся тем, что в измерительной камере параллельно ее оси выполнена выточка в виде паза с плоской поверхностью и отверстие над ней, закрытое защитным стеклом, над которым установлены источник света и фотоприемник.
3. Гигрометр, содержащий измерительную камеру, являющуюся конденсационным зеркалом, выполненную в холодопроводе в виде цилиндрической поверхности, поглощающей световые лучи, источник света, фотоприемник, охладитель и измерительные приборы, отличающийся тем, что в измерительной камере параллельно ее оси выполнена выточка в виде паза с плоской поверхностью и отверстие над ней, закрытое защитным стеклом, над которым установлен источник света, а по оси измерительной камеры установлен второй фотоприемник.
РИСУНКИ
|
|