|
|
(21), (22) Заявка: 2007136855/28, 04.10.2007
(24) Дата начала отсчета срока действия патента:
04.10.2007
(46) Опубликовано: 20.03.2009
(56) Список документов, цитированных в отчете о поиске:
SU 1033916 A1, 07.08.1983. SU 1165933 A1, 07.07.1985. US 5606134 A, 25.02.1997.
Адрес для переписки:
433510, Ульяновская обл., г. Димитровград-10, ФГУП “ГНЦ РФ НИИАР”
|
(72) Автор(ы):
Рогозянов Анатолий Яковлевич (RU), Мельдер Рихард Рудольфович (RU), Нуждов Андрей Анатольевич (RU), Белов Александр Владимирович (RU)
(73) Патентообладатель(и):
Федеральное государственное унитарное предприятие “Государственный научный центр Росийской Федерации Научно-исследовательский институт атомных реакторов” (RU)
|
(54) УСТРОЙСТВО ДЛЯ ИСПЫТАНИЯ ПЛОСКИХ ОБРАЗЦОВ НА РЕЛАКСАЦИЮ НАПРЯЖЕНИЯ ПРИ ИЗГИБЕ
(57) Реферат:
Изобретение относится к испытательной технике, в частности к устройствам для испытания плоских образцов на релаксацию напряжения при изгибе, и служит для увеличения точности определения релаксирующего напряжения и достоверности релаксационных зависимостей. Устройство для испытания плоских образцов на релаксацию напряжения при изгибе содержит неподвижное жесткое основание с двумя нагружающими опорами, подвижную жесткую крышку с двумя нагружающими опорами, связанную с системой перемещения и измерения усилия, обеспечивающего перемещение и имеющую направляющие для поступательного подъема и опускания крышки по отношению к основанию для сохранения симметричности нагружения образца. Причем на неподвижном основании размещены внутренние опоры, а наружные опоры – на подвижной крышке, узел сочленения основания с крышкой. Технический результат направлен на увеличение надежности устройства, точности определения релаксирующего напряжения и достоверности релаксационных зависимостей путем обеспечения измерения усилия воздействия наружных опор на образец. 4 з.п. ф-лы, 1 ил.
Изобретение относится к испытательной технике, в частности к устройствам для испытания плоских образцов на релаксацию напряжения при изгибе.
Известно устройство для испытания плоских образцов на релаксацию напряжения при изгибе (А.С. №1033916 G01N 3/20, БИ №29, 1983), содержащее основание с размещенным на нем по крайней мере двумя парами штырей для размещения между штырями каждой пары соответствующих концов образца, систему компенсации нагрузки и V-образный рычаг, причем на цилиндрической поверхности одного из крайних штырей выполнен осевой паз, в котором размещена вершина V-образного рычага, одно плечо связано с системой компенсации нагрузки, а другое предназначено для шарнирного взаимодействия при помощи серьги с образцом.
Недостатками устройств аналогов являются:
– низкая надежность первого устройства в условиях затрудненного доступа к образцу, например, в условиях реакторного облучения;
– низкая точность определения релаксирующего напряжения (погрешность колеблется в пределах от ±20 до ±80%);
– низкая достоверность определения временной зависимости релаксирующего напряжения (релаксационной зависимости) вследствие использование разных образцов для получения каждой отдельной точки на указанной зависимости.
Задачей данного технического решения является увеличение надежности устройства, точности определения релаксирующего напряжения и достоверности релаксационных зависимостей путем обеспечения измерения усилия воздействия наружных опор на образец.
Вышеуказанная задача достигается тем, что устройство для испытания плоских образцов на релаксацию напряжения при изгибе содержит неподвижное жесткое основание с двумя нагружающими опорами, подвижную жесткую крышку с двумя нагружающими опорами, связанную с системой перемещения и измерения усилия, обеспечивающего перемещение и имеющую направляющие для поступательного подъема и опускания крышки по отношению к основанию для сохранения симметричности нагружения образца, причем на неподвижном основании размещены внутренние опоры, а наружные опоры – на подвижной крышке, узел сочленения основания с крышкой.
Узел сочленения основания с крышкой выполнен в виде полуцилиндрического выступа на торцах основания, выступа треугольного сечения на торцах крышки и надеваемого на выступы фиксатора с круглым отверстием, в котором сделано локальное углубление, не превышающее изгиба концов образца между каждой парой опор.
Выступы на торцах основания и крышки и надеваемый на соответствующие выступы фиксатор, исключающий зазор между основанием и крышкой, позволяет более точно определить релаксирующее напряжение, поскольку после исчезновения зазора между основанием и крышкой жесткость увеличивается в тысячи раз и точка перегиба обнаруживается с большой точностью.
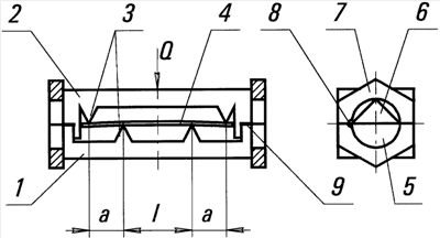
На чертеже схематически изображено предлагаемое устройство.
Устройство содержит основание 1, крышку 2, по две пары опор 3 на основании и крышке, между которыми располагают плоский образец 4. На торцах основания имеются полу цилиндрические выступы 5, на торцах крышки – выступы 6 треугольного профиля. В состав устройства входит также фиксатор 7, в круглом отверстии которого выполнено локальное углубление 8.
Устройство работает следующим образом. В изображенном на чертеже рабочем состоянии образец 4 изогнут, зазор между контактными поверхностями 9 основания и крышки отсутствует. В начале испытаний в каждой точке касания образца с опорами 3 на образец действует усилие Р0, которое создает в наружных слоях образца на участке между внутренними опорами напряжение 0, равное
,
где а – расстояние между ближайшими наружной и внутренней опорами, Wx – момент сопротивления изгибу образца, b и h – ширина и толщина образца соответственно.
Устройство в рабочем состоянии выдерживают определенное время в заданных условиях испытания по температуре, параметрам облучения и среды. После этого устройство поступает на измерительный участок. При температуре, близкой к 20°С, основание 1 закрепляют, крышку 2 соединяют с системой вертикального перемещения (не показана), фиксаторы 7 поворачивают на 90°, совмещая вершину выступа 6 с углублением 8, крышку 2 приподнимают в пределах углубления 8. После этого с помощью той же системы перемещения крышку опускают с постоянной скоростью, добиваются исчезновения зазора между поверхностями 9 и прижатия их друг к другу усилием, в 4-5 раз превосходящим Р0. Регистрируют зависимость усилия Q от перемещения, на указанной зависимости определяют точку перелома Qп, определяют усилие Р после первой стадии испытаний, приравнивая его Qп/2, и по нему рассчитывают релаксирующее напряжение .
После завершения измерительных операций фиксаторы 7 возвращают в рабочее состояние, нагрузку Q снимают, основание 1 освобождают и устройство направляют для проведения следующей стадии испытаний образца.
Описанное устройство позволяет повысить точность определения релаксирующего напряжения благодаря тому, что оно определяется по результатам измерения усилия Qп с погрешностью ±(1÷3)%, практически равной погрешности измерения Q, поскольку после исчезновения зазора между основанием и крышкой жесткость увеличивается в тысячи раз и точка перегиба обнаруживается с большой точностью. Кроме того, устройство позволяет исследовать всю релаксационную зависимость на основе испытаний одного образца, то есть при неизменном структурном состоянии материала. Благодаря этому и увеличению точности определения релаксирующего напряжения значительно увеличивается достоверность определения релаксационной зависимости.
Формула изобретения
1. Устройство для испытания плоских образцов на релаксацию напряжения при изгибе, содержащее неподвижное жесткое основание с двумя нагружающими опорами, подвижную жесткую крышку с двумя нагружающими опорами, и связанную с системой перемещения и измерения усилия, обеспечивающего перемещение, и имеющую направляющие для поступательного подъема и опускания крышки по отношению к основанию для сохранения симметричности нагружения образца, причем на неподвижном основании размещены внутренние опоры, а наружные опоры – на подвижной крышке, узел сочленения основания с крышкой.
2. Устройство по п.1, отличающееся тем, что торцы основания и крышки содержат выступы.
3. Устройство по п.1, отличающееся тем, что узел сочленения основания с крышкой содержит фиксатор с круглым отверстием, в котором сделано локальное углубление.
4. Устройство по п.2, отличающееся тем, что выступы на торцах основания выполнены в виде полуцилиндра, выступы на торцах крышки – треугольной формы.
5. Устройство по п.3, отличающееся тем, что локальное углубление в круглом отверстии фиксатора не превышает изгиба концов образца между каждой парой опор.
РИСУНКИ
|
|