|
|
(21), (22) Заявка: 2007122191/12, 13.06.2007
(24) Дата начала отсчета срока действия патента:
13.06.2007
(46) Опубликовано: 20.03.2009
(56) Список документов, цитированных в отчете о поиске:
SU 857775 А1, 23.08.1981. US 5090257 А, 25.02.1992. SU 1278662 А1, 23.12.1986. SU 911230 А1, 07.03.1982. SU 1805298 А1, 30.03.1993. SU 875253 А1, 23.10.1981. SU 1075109 А1, 23.02.1984. SU 1520381 А1, 07.11.1989.
Адрес для переписки:
634055, г.Томск, пр. Академический, 1, Институт оптики атмосферы СО РАН, Б.Д.Белану
|
(72) Автор(ы):
Белан Борис Денисович (RU), Ковалевская Тамара Васильевна (RU)
(73) Патентообладатель(и):
Институт оптики атмосферы Сибирское Отделение Российской Академии Наук (RU)
|
(54) АВТОМАТИЧЕСКИЙ ИЗОКИНЕТИЧЕСКИЙ ПРОБООТБОРНИК АЭРОЗОЛЕЙ
(57) Реферат:
Изобретение относится к контролю загрязняющих атмосферу аэрозолей, а именно к пробоотборникам аэрозолей, обеспечивающих изокинетические условия отбора атмосферных аэрозолей. Автоматический изокинетический пробоотборник аэрозоля содержит воздуховод, средство для измерения расхода воздуха, побудитель расхода воздуха, установленный на выходе воздуховода и средства для управления расходом воздуха. Воздуховод имеет прямоугольное сечение и состоит из трех частей. Верхняя горизонтальная часть представляет собой сопло, снабженное подвижной заслонкой для изменения площади его сечения, апертура которого ориентирована навстречу набегающему потоку воздуха. Сопло соединено с центральной – вертикальной частью, представляющей собой вращающуюся колонку. Нижняя часть перпендикулярна вертикальной части и направлена в противоположную сторону от верхней горизонтальной части. В нижней части воздуховода последовательно сформирован измерительный объем, представляющий собой разъемное соединение, затем установлено средство для измерения расхода воздуха и затем побудитель расхода воздуха. Достигаемый при этом технический результат заключается в корректном отборе проб аэрозоля из движущегося потока воздуха с учетом изменения его направления. 4 з.п. ф-лы, 5 ил.
Изобретение относится к контролю загрязняющих атмосферу аэрозолей, а именно к пробоотборникам аэрозолей, обеспечивающих изокинетические условия отбора атмосферных аэрозолей.
Одним из основных загрязняющих воздух компонент является атмосферный аэрозоль или взвешенные вещества. В составе частиц атмосферного аэрозоля, особенно антропогенного происхождения, обычно присутствуют такие токсичные вещества, как бензапирен, тяжелые металлы, сульфаты, нитраты и т.п. Поэтому в системах экологического мониторинга ведется постоянный контроль этой компоненты воздуха. Для измерения характеристик аэрозоля применяется широкий набор методов и средств.
Однако в ряде случаев этот пробоотборник не позволит корректно провести отбор аэрозоля. Это относится к условиям штиля и к тем случаям, когда отбор необходимо производить при заданном расходе воздуха.
Известно устройство [SU 257133, 1970] для изокинетического отбора проб промышленных аэрозолей, включающее входную трубку, направленную навстречу потоку, в котором поддержание условия изокинетичности осуществляется специальной системой автоматического регулирования по сигналам с датчиков давления газа во входной трубке и в невозмущенном потоке.
К недостаткам такого устройства можно отнести сложное конструктивное решение трубки, наличие манометров, которые не обеспечивают необходимую точность измерения скорости потока. Устройство не имеет механизма поворота заборного сопла, что при изменении направления потока сразу же нарушает принцип изокинетичности. Это не позволяет использовать заборник для измерений в атмосфере.
Известен изокинетический пробоотборник аэрозолей [SU 930048 А1, 1982], включающий фильтр и соединенный с ним побудитель расхода с приводом, в котором привод побудителя расхода выполнен в виде ветрового колеса, соединенного с побудителем расхода с помощью механической передачи.
Это устройство не обеспечивает корректный забор проб аэрозоля в ряде атмосферных условий. В частности, оно не будет вообще работать при отсутствии ветра. Второе, расход воздуха через пробоотборник будет полностью определяться скоростью ветра. Это не позволит с его помощью реализовать ряд методик отбора, в которых задаются либо линейная, либо объемная скорости. Поэтому его применимость для атмосферных измерений весьма ограниченна.
Известно устройство для автоматического измерения выброса аэрозолей в потоке газа [US 5090257 A1, 1992], выбранное в качестве прототипа, в котором использована механическая часть – поворотная заслонка, расположенная в воздуховоде позади фильтра и электромеханическая часть – очень чувствительный датчик скорости ветра соединенный с электронным сервомотором для компенсирования скорости воздушного потока у входа пробоотборника и в непосредственной близости от него.
К недостаткам прототипа можно отнести следующее: хотя в устройстве и удается добиться необходимого постоянства линейной, либо объемной скорости потока, однако такое конструктивное решение, когда управляющий элемент (заслонка) располагается после контрольного устройства (в данном описании фильтр), приводит к тому, что в процессе регулировки в воздуховоде пробоотборника может образоваться стоячая волна или обратные течения в виде горообразных колец. Это приведет к искажению пробы аэрозоля, а при применении другого контрольного устройства, например фотоэлектрического счетчика частиц, и к двойному их счету. К тому же, в описании не указывается, как будет поворачиваться устройство навстречу ветру при изменении его направления.
Задача настоящего изобретения – разработать улучшенный автоматический изокинетический пробоотборник, который будет производить корректный отбор проб аэрозоля из движущегося потока воздуха, с учетом изменения его направления.
Поставленная задача решается тем, что, как и известный, предлагаемый автоматический изокинетический пробоотборник аэрозоля содержит воздуховод, средство для измерения расхода воздуха, побудитель расхода воздуха, установленный на выходе воздуховода и средства для управления расходом воздуха.
Новым является то, что воздуховод имеет прямоугольное сечение и состоит из трех частей: верхней горизонтальной, представляющей собой сопло, снабженное подвижной заслонкой для изменения площади его сечения, апертура которого ориентирована навстречу набегающему потоку воздуха, соединенное с центральной вертикальной частью, представляющей собой вращающуюся колонку, и нижней части – перпендикулярной вертикальной части и направленной в противоположную сторону от верхней горизонтальной части, в нижней части воздуховода последовательно сформирован измерительный объем, представляющий собой разъемное соединение, затем установлено средство для измерения расхода воздуха и затем побудитель расхода воздуха.
Кроме того, в разъемном соединении измерительного объема может быть размещен либо фильтр, либо измерительное средство.
Кроме того, средства для управления расходом воздуха содержат датчик угла колонки, соединенный с электроприводом колонки через фазовый детектор, а также датчик положения заслонки, соединенный с электроприводом заслонки через дифференциальный усилитель.
Кроме того, он дополнительно содержит датчик направления ветра, соединенный с электроприводом колонки через фазовый детектор, а также датчик скорости ветра, соединенный с электроприводом заслонки через дифференциальный усилитель.
Кроме того, в качестве средства для измерения расхода воздуха проходящего через измерительный объем используется ротаметр, соединенный с побудителем расхода воздуха через дифференциальный усилитель и регулятор расхода.
В связи с тем что скорость ветра в реальных условиях изменяется в широких пределах, а для большинства методик измерений необходимо обеспечение постоянства расхода воздуха, в предлагаемом изобретении выбрана схема сопла переменного сечения. При таком подходе изменение скорости ветра компенсируется изменением площади сечения. Расход же воздуха через прибор остается постоянным. Изменение площади обеспечивается подвижной заслонкой. Положение заслонки определяется с помощью датчика, а ее перемещение осуществляется электроприводом. Сопло соединено с колонкой, которая одновременно является воздуховодом и обеспечивает перпендикулярность площади апертуры сопла набегающему потоку. Вращение колонки осуществляется электроприводом.
Изобретение иллюстрируется графическими материалами.
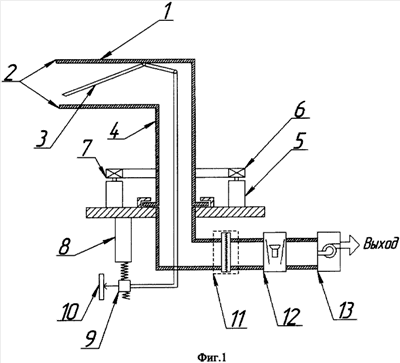
На фиг.1 приведена конструкция пробоотборника.
На фиг.2 приведен схематический объемный чертеж сопла.
На фиг.3 (а, б, в) приведены блок-схемы, поясняющие работу пробоотборника.
Автоматический изокинетический пробоотборник аэрозолей (фиг.1) состоит из воздуховода, включающего три неразъемных части: верхнюю горизонтальную, представляющую собой сопло 1 с переменным сечением 2 и подвижной заслонкой 3, соединенную с центральной вертикальной частью воздуховода (колонкой) 4, а также содержит электропривод 5 с редуктором 6 для вращения колонки 4, датчик угла колонки 7, определяющий направление, по которому производится отбор, второй электропривод 8, соединенный через редуктор 9 с заслонкой 3 и датчиком 10, определяющим положение заслонки 3, нижняя горизонтальная часть воздуховода направлена в противоположную сторону от верхней горизонтальной части и содержит последовательно соединенные измерительный объем 11, представляющий собой разъемное соединение, в которое вставляется контрольное средство: измерительный прибор или фильтр в зависимости от решаемой задачи (отбор проб на фильтры, измерение счетной концентрации частиц, их дисперсного состава и т.п), ротаметр 12 и побудитель расхода 13.
Заслонка представляет собой металлическую пластину, угол наклона которой, а соответственно, и сечение сопла пробоотборника изменяется с помощью редуктора 9.
Работу пробоотборника рассмотрим с помощью блок-схем, приведенных на фиг.3а, 3б, 3в.
В зависимости от решаемой задачи (отбор проб на фильтры, измерение счетной концентрации частиц, их дисперсного состава и т.п.) расход воздуха через проботборник может изменяться от 0,1 до 25 м3/ч [Руководство по контролю загрязнения атмосферы РД 52.04.186-89. Л.: Гидрометеоиздат, 1991. 695 с]. В качестве контрольного средства использовался фотоэлектрический счетчик А3-5, измеряющий дисперсный состав аэрозоля по 12 каналам в диапазоне размеров d=0.4…10 мкм. Устанавливали фиксированный расход воздуха 10 м3/ч – наиболее часто встречающаяся величина. Этот расход обеспечивается при полностью поднятой заслонке 3 с помощью схемы авторегулирования, изображенной на фиг.3а. На контрольный поплавок 14 ротаметра 12 направляется поток света от осветителя 15. Положение поплавка 14 ротаметра фиксируется фотоприемниками 16, сигнал с которых через дифференциальный усилитель 17 подается на регулятор расхода 18 и побудитель расхода 13, в качестве которого использовали обычный бытовой пылесос.
Для работы предлагаемого пробоотборника необходимы сведения о скорости и направлении ветра в месте отбора проб. Для получения данных о скорости и направлении ветра использовали анеморумбометр М-47 [Перегуд Е.А., Горелик Д.О. Инструментальные методы контроля загрязнения атмосферы. Л.: Химия, 1981. 384 с.] (на фиг.1 не показан). Датчиком направления ветра у него является сельсин, а датчиком скорости ветра – тахогенератор. Поэтому и в настоящем пробоотборнике датчиком положения угла колонки 4 выбран сельсин, а в качестве электропривода 5 используется двигатель постоянного тока. Датчик направления ветра располагается на высоте 4 метра над павильоном, в котором устанавливается пробоотборник. Сигналы с анеморумбометра поступают в центральный компьютер поста контроля и на управляющие схемы с пробоотборника (фиг.3б и 3в).
Из фиг.3б видно, что сигналы с датчиков направления ветра 19 и положения угла колонки 7 подаются на фазовый детектор 20, который по величине их рассогласования управляет электроприводом колонки 5.
Изменение скорости ветра компенсируется изменением площади сечения от 30 до 1,5 см2. Расход же воздуха через прибор остается постоянным. Реализуется этот подход по блок-схеме на фиг.3в. Сигналы с датчика скорости ветра 21 и датчика положения заслонки 10 подаются на дифференциальный усилитель 22, причем в обратной полярности: усиление скорости должно приводить к уменьшению площади сопла 1 пробоотборника. Дифференциальный усилитель 22 вырабатывает сигнал разбаланса и подает его на электропривод 8 заслонки, который перемещает ее по заранее определенному масштабу.
| Технические характеристики пробоотборника: |
|
| Расход воздуха, постоянный в диапазоне |
1…25 м3/ч |
| Диапазон скоростей ветра, при котором |
|
| выполняется условие изокинетичности |
1…20 м/с |
| Изменение направления ветра |
0…360° |
| Постоянная времени по углу и расходу |
1 мин |
| Гистерезис: |
|
| скорость |
±0,5 м/с |
| направление |
±10° |
Таким образом, предлагаемый пробоотборник позволяет отбирать аэрозоль изокинетически при постоянном расходе воздуха, он достаточно прост в изготовлении и неприхотлив в эксплуатации и может использоваться в уже действующих системах мониторинга путем подключения к существующим коммуникациям, а также им могут оснащаться вновь разрабатываемые комплексы.
Формула изобретения
1. Автоматический изокинетический пробоотборник аэрозоля, содержащий воздуховод, средство для измерения расхода воздуха, побудитель расхода воздуха, установленный на выходе воздуховода и средства для управления расходом воздуха, отличающийся тем, что воздуховод имеет прямоугольное сечение и состоит из трех частей: верхней горизонтальной, представляющей собой сопло, снабженное подвижной заслонкой для изменения площади его сечения, апертура которого ориентирована навстречу набегающему потоку воздуха, соединенное с центральной – вертикальной частью, представляющей собой вращающуюся колонку, и нижней перпендикулярной вертикальной части и направленной в противоположную сторону от верхней горизонтальной части, в нижней части воздуховода последовательно сформирован измерительный объем, представляющий собой разъемное соединение, затем установлено средство для измерения расхода воздуха и затем побудитель расхода воздуха.
2. Пробоотборник по п.1, отличающийся тем, что средства для управления расходом воздуха содержат датчик угла колонки, соединенный с электроприводом колонки через фазовый детектор и датчик положения заслонки, соединенный с электроприводом заслонки через дифференциальный усилитель.
3. Пробоотборник по п.1 или 2, отличающийся тем, что он дополнительно содержит датчик направления ветра, соединенный с электроприводом колонки через фазовый детектор, а также датчик скорости ветра, соединенный с электроприводом заслонки через дифференциальный усилитель.
4. Пробоотборник по п.1 или 2, отличающийся тем, что в качестве измерительного средства для измерения расхода воздуха, проходящего через измерительный объем, используется ротаметр, соединенный с побудителем расхода воздуха через дифференциальный усилитель и регулятор расхода.
5. Пробоотборник по п.1 или 2, отличающийся тем, что в разъемном соединении измерительного объема может быть размещен либо фильтр, либо измерительное средство.
РИСУНКИ
|
|