|
|
(21), (22) Заявка: 2006129025/28, 10.08.2006
(24) Дата начала отсчета срока действия патента:
10.08.2006
(43) Дата публикации заявки: 20.02.2008
(46) Опубликовано: 20.03.2009
(56) Список документов, цитированных в отчете о поиске:
Спиридонов А.И. Основы геодезической метрологии. – М.: Картгеоцентр – Геодезиздат, 2003 г., с.104-105. (Прототип.). SU 1113698 А, 15.09.1984. SU 1362932 А, 30.12.1987. CN 1605829 A, 13.04.2005. Карсунская М.М. Геодезические приборы. – М.: Изд. Институт оценки природных ресурсов, 2002 г., с.162-169.
Адрес для переписки:
105064, Москва, Гороховский пер., 4, МИИГАиК
|
(72) Автор(ы):
Ямбаев Харьес Каюмович (RU), Голыгин Николай Христофорович (RU), Травкин Сергей Владимирович (RU)
(73) Патентообладатель(и):
Московский государственный университет геодезии и картографии (МИИГАиК) (RU)
|
(54) УСТРОЙСТВО ДЛЯ ПОВЕРКИ И КАЛИБРОВКИ ВЕРТИКАЛЬНЫХ УГЛОВЫХ ИЗМЕРИТЕЛЬНЫХ СИСТЕМ ГЕОДЕЗИЧЕСКИХ ПРИБОРОВ
(57) Реферат:
Изобретение относится к области геодезии, в частности к стендам для поверки и калибровки геодезических приборов. Устройство для поверки и калибровки вертикальных угловых измерительных систем геодезических приборов содержит фундамент – основание с расположенным на нем столиком с установленным на нем испытуемым прибором, на изолированном фундаменте вертикально установлен швеллер, на котором расположена станина с подвижной кареткой и плитой. На станине жестко закреплена оправа растровой меры, на каретке располагается считывающая головка, а на плите – нивелир, блок разрезного четырехплощадного фотодиода и уголковый отражатель, жестко закрепленный на уровне разрезного фотодиода и объектива нивелира, на корпусе нивелира. Каретка имеет ходовой винт микроподачи, коромысло, направляющие и выходной разъем, на горизонтальной поверхности фундамента установлен осциллограф, экран, блок питания и электронный счетчик, а в нижней и верхней частях швеллера укреплены кронштейны измерительных систем. Технический результат – повышение точности и стабильности определения внутришаговой погрешности интерполяции измерительной системы. 1 ил.
Изобретение относится к области геодезии и, в частности к стендам для поверки и калибровки геодезических приборов.
Известно устройство для метрологического контроля углов геодезических приборов при определении погрешности отсчитывания в вертикальной плоскости, заключающегося в перемещении данной плоскости автоколлиматора, при этом зрительная труба прибора поворачивается вслед за автоколлиматором на заданный угол с помощью поводка. Время испытания одного прибора 40 мин. [1].
Недостатком данного устройства является нестабильность положения измерительного моста, несущего автоколлиматор. Наиболее близким по технической сущности и достигаемому результату является устройство «Коллиматорный стенд УК-1», применяемый для поверки теодолитов – точных и технических, содержащий основание с дугообразной консолью с установленными на ней пятью располагающимися вертикально коллиматорами и кронштейном с дополнительным коллиматором.
Поверяемый теодолит устанавливается на столике, жестко связанном с основанием стенда. Визирные оси всех коллиматоров должны пересекаться в одной точке, совпадающей с точкой пересечения вертикальной и горизонтальной осей поверяемого теодолита, что обеспечивается предварительной юстировкой стенда [2].
Недостатком данного устройства является трудность юстировки стенда, нестабильность и возможный сбой положения коллиматоров на несущей консоли, а также его габариты.
Целью изобретения является повышение точности и стабильности определения внутришаговой погрешности интерполяции измерительной системы.
Указанная цель достигается тем, что на изолированном фундаменте вертикально установлен швеллер, на котором расположена станина с подвижной кареткой и плитой, на станине жестко закреплена оправа растровой меры, на каретке располагается считывающая головка, а на плите – нивелир, блок разрезного четырехплощадного фотодиода и уголковый отражатель, жестко закрепленный на уровне разрезного фотодиода и объектива нивелира, на корпусе нивелира, каретка имеет ходовой винт микроподачи, коромысло, направляющие и выходной разъем, на горизонтальной поверхности фундамента установлен осциллограф, экран, блок питания и электронный счетчик, а в нижней и верхней частях швеллера укреплены кронштейны измерительных систем.
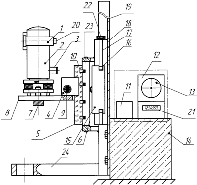
Сущность изобретения поясняется чертежом, на котором изображена принципиальная схема устройства для исследования геодезических приборов.
Устройство содержит: блок разрезного фотодиода 1, коллиматор 2, подсветка сетки нитей нивелира 3, считывающая головка LID-300 4, стеклянная растровая мера 5, оправа 6, становой винт 7, плита 8, выходной разъем 9, упор крепления меры 10, блок питания 11, осциллограф 12, экран 13, изолированный фундамент 14, подвижная каретка 15, подшипник качения 16, направляющая 17, станина 18, швеллер 140 19, разъем предварительного усилителя разрезного фотодиода 20, электронный счетчик 21, головка микроподачи ходового винта 22, коромысло 23, кронштейны измерительных систем 24 в нижней и верхней частях швеллера 19. Верхний кронштейн на чертеже не показан.
При поверке и калибровке оптико-электронных геодезических приборов важной задачей является исследование вертикальных угловых измерительных систем. В измерительных растровых системах доминирующей составляющей суммарной погрешности является внутришаговая погрешность интерполяции электрических сигналов. Кроме собственно измерения вертикальных углов современные электронные тахеометры через них вычисляют также и превышения.
Устройство представляет собой вертикально установленный на изолированном фундаменте швеллер 19, на котором расположена станина 18 с подвижной кареткой 15. На станине жестко закреплена оправа 6 линейной растровой меры 5 (LID-300 (HEIDENHAIN)), дискретность отсчитывания 1 мкм. На каретке расположены считывающая головка 4 LID-300, коллиматор (поз.2), блок разрезного четырехплощадочного фотодиода 1 и отражатель исследуемого тахеометра (не показан) жестко закреплен на уровне разрезного фотодиода на корпусе коллиматора с противоположной стороны. Сигналы с разрезного фотодиода через аналого-цифровые преобразователи (АЦП) (один канал используется при аттестации вертикальных измерительных систем, другой – при аттестации горизонтальных измерительных систем) и с электронного счетчика 21 LID-300 выводятся на ЭВМ. Растровая мера служит в качестве образцовой при измерении перемещений подвижной каретки, коллиматор и разрезной фотодиод служат датчиками опорного направления при исследовании оптических приборов и приборов с лазерными указателями. Кроме того, при аттестации электронных нивелиров на подвижный столик может быть установлена метровая штрихкодовая инварная рейка, а для оптических нивелиров – метровая инварная рейка с 5-миллиметровыми делениями. Исследуемый геодезический прибор устанавливается на поворотном прецизионном столе, расположенном на изолированном фундаменте, расстояние между прибором и стендом 10 м.
Стенд позволяет поверять и калибровать геодезические приборы, измеряющие превышения и вертикальные углы, например, оптические и электронные теодолиты и нивелиры, электронные тахеометры.
2. Методика измерений.
Устройство работает следующим образом.
1. Зрительная труба исследуемого прибора устанавливается в горизонтальное положение (отсчет по вертикальному кругу исследуемого прибора равен месту нуля (месту зенита)) и визируется по лазерному указателю на разрезной фотодиод (или на сетку нитей коллиматора).
2. Подвижная каретка 15 перемещается так, чтобы сигнал с блока 1 (вертикального канала) был равен нулю (или заданному значению). В этом положении обнуляется электронный счетчик 21 LID-300. При использовании коллиматора его сетка нитей совмещается с сеткой нитей исследуемого прибора.
3. Погрешность измерения (поверки и калибровки) вычисляется по формуле:

где h – отсчет по поверяемому прибору,
hэт – отсчет по электронному счетчику измеренного преобразовательным прибором LID-300.
Или 
где S – известное расстояние до поверяемого прибора,
vпов – отсчет по электронному счетчику поверяемого прибора.
Формула изобретения
Устройство для поверки и калибровки вертикальных угловых измерительных систем геодезических приборов, содержащее фундамент – основание с расположенным на нем столиком с установленным на нем испытуемым прибором, отличающееся тем, что на изолированном фундаменте вертикально установлен швеллер, на котором расположена станина с подвижной кареткой и плитой, на станине жестко закреплена оправа растровой меры, на каретке располагается считывающая головка, а на плите – нивелир, блок разрезного четырехплощадного фотодиода и уголковый отражатель, жестко закрепленный на уровне разрезного фотодиода и объектива нивелира, на корпусе нивелира, каретка имеет ходовой винт микроподачи, коромысло, направляющие и выходной разъем, на горизонтальной поверхности фундамента установлен осциллограф, экран, блок питания и электронный счетчик, а в нижней и верхней частях швеллера укреплены кронштейны измерительных систем.
РИСУНКИ
|
|