|
(21), (22) Заявка: 2006120322/06, 05.06.2006
(24) Дата начала отсчета срока действия патента:
05.06.2006
(43) Дата публикации заявки: 27.12.2007
(46) Опубликовано: 20.03.2009
(56) Список документов, цитированных в отчете о поиске:
SU 1442783 А2, 07.12.1988. SU 706673 А2, 30.12.1979. SU 11101664 A1, 07.07.1984. RU 2161763 C1, 10.01.2001. RU 2225581 C2, 10.03.2004. FR 2335807 A, 15.07.1977.
Адрес для переписки:
188663, Ленинградская обл., Всеволожский р-н, ОС Кузьмолово, а/я 5, пат.пов. Е.К.Аверьянову
|
(72) Автор(ы):
Никитин Василий Владимирович (RU), Никитин Антон Васильевич (RU)
(73) Патентообладатель(и):
Никитин Василий Владимирович (RU)
|
(54) СПОСОБ УТИЛИЗАЦИИ НИЗКОПОТЕНЦИАЛЬНОГО ТЕПЛА И УСТРОЙСТВО ДЛЯ ЕГО ОСУЩЕСТВЛЕНИЯ
(57) Реферат:
Способ утилизации низкопотенциального тепла и устройство для его осуществления относятся к теплоэнергетике, позволяют использовать низкопотенциальные источники тепла для предварительного подогрева воды. Способ утилизации тепла жидкости включает увеличение скорости потока теплоносителя путем введения дополнительной струи, при этом дополнительную струю направляют тангенциально каналу теплоносителя или под углом к плоскости сечения канала теплоносителя. Теплоутилизатор содержит канал жидкого теплоносителя с входом и выходом и канал нагреваемой среды с входом и выходом, канал теплоносителя и канал нагреваемой среды отделены друг от друга теплопроводящей стенкой, в канале теплоносителя для увеличения скорости потока теплоносителя выполнено входное сопло. Канал теплоносителя представляет собой металлическую трубу, а канал нагреваемой среды в виде пространственной спирали образован пространством между трубами, расположенными одна внутри другой. Такой способ и устройство для его осуществления увеличивают теплоотдачу теплоносителя путем увеличения его скорости и площади контакта с разделяющей стенкой. 2 н. и 5 з.п. ф-лы, 2 ил.
Изобретение относится к теплоэнергетике и позволяет использовать низкопотенциальные источники тепла, в том числе хозяйственно-бытовые стоки и другие тепловые отходы, для предварительного подогрева воды до подачи в водонагревательные устройства и для нагрева других жидкостей, газов или их смесей.
Известен способ горячего водоснабжения жилых зданий (заявка РФ №2003134987), по которому горячую воду нагревают в электроводонагревателе, использованную горячую воду сливают в канализацию, причем исходную холодную воду перед нагревом в электроводонагревателе подогревают с помощью теплового насоса, а в качестве низкопотенциального источника теплоты для теплового насоса применяют использованную горячую воду.
Другие способы использования низкопотенциального тепла известны из решений по патентам РФ №2155302, №2186309, №2264585.
Однако эти решения предполагают использование дополнительного теплового насоса.
Наиболее эффективными являются решения, предполагающие турбулизацию теплоносителя. Так, известно решение (заявка РФ №93037911 “Способ интенсификации конвективного теплообмена и устройство для его реализации”), в котором за счет кругового поперечного сечения трубы обеспечивают вращательное движение пристенных слоев.
В “Способе работы пластинчатого теплообменника” по патенту РФ №2225581 турбулизацию потоков увеличивают конструктивным решением поверхности контакта теплоносителя.
Однако эффективность этих решений низка в случае теплоносителя с механическими включениями.
Эту проблему решает, например, фильтровально-теплообменный аппарат (патент РФ №2161763), включающий, в частности, фильтрующий материал, или теплоутилизатор (патент РФ №2042099), снабженный очистительным устройством. Однако они предполагают существенное дополнительное оборудование и периодическое обслуживание.
Задачей настоящего изобретения является увеличение теплоотдачи теплоносителя путем увеличения скорости теплоносителя и площади его контакта с разделяющей стенкой.
Для этого способ утилизации тепла жидкости, в котором поток жидкого теплоносителя подают в канал теплоносителя теплоутилизатора и выводят из теплоутилизатора, а нагреваемую среду подают в канал нагреваемой среды, который отделен от канала теплоносителя теплопроводящей стенкой, и выводят из теплоутилизатора, характеризующийся тем, что увеличение скорости потока теплоносителя выполняют дополнительной струей.
В результате сообщения скорости теплоносителю дополнительной струей эффективность теплоутилизатора возрастает, и, кроме того, предотвращается заиливание стенок канала теплоносителя, что препятствует уменьшению теплоотдачи.
В частном случае струю для турбулизации направляют тангенциально каналу теплоносителя, воздействуя на придонный слой теплоносителя.
В другом частном случае струю для турбулизации направляют под углом к плоскости сечения канала теплоносителя, благодаря чему, преодолевая гидравлическое сопротивление, жидкость теплоносителя движется по спиральной траектории, увеличивая отдачу тепла стенке канала.
В других частных случаях дополнительная струя представляет собой струю жидкости или газа.
Теплоутилизатор для осуществления предложенного способа утилизации тепла содержит канал жидкого теплоносителя с входом и выходом и канал нагреваемой среды с входом и выходом. Канал теплоносителя и канал нагреваемой среды отделены друг от друга теплопроводящей стенкой, в канале теплоносителя для увеличения скорости потока теплоносителя выполнено входное сопло.
В частном случае канал теплоносителя представляет собой металлическую трубу, а канал нагреваемой среды в виде пространственной спирали образован пространством между трубами, расположенными одна внутри другой.
Кроме того, канал теплоносителя может представлять собой металлическую трубу, а канал нагреваемой среды образован пространством между трубами, расположенными одна внутри другой и в виде пространственной спирали.
В другом частном случае канал нагреваемой среды представляет собой металлическую трубу, свитую в пространственную спираль, а канал теплоносителя образован пространством внутри спирали, у которой витки прилегают друг к другу.
В другом частном случае сопло расположено тангенциально каналу теплоносителя и под углом к плоскости сечения канала теплоносителя.
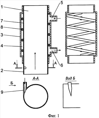
Предлагаемый способ и утилизатор поясняются чертежами.
Фиг.1 – первый вариант осуществления теплоутилизатора, в разрезе.
Фиг.2 – второй вариант осуществления теплоутилизатора, с частичным разрезом.
В первом варианте теплоутилизатор изображен вертикально, хотя в рабочем положении предполагается размещенным горизонтально. Канал 1 теплоносителя представляет собой медную трубу 2, которая плотно закреплена внутри другой трубы 3, образуя между трубой 2 и трубой 3 канал 4 нагреваемой среды со входом 5 и выходом 6. Таким образом, канал 1 теплоносителя и канал 4 нагреваемой среды разделены металлической стенкой 7. В канале 4 нагреваемой среды установлена спираль 8. Входное сопло 9 выполнено сужающимся, расположено тангенциально к трубе 2 и под углом к ее плоскости сечения.
Способ осуществляют, например, следующим образом. Поток теплоносителя в виде нагретой жидкости (например, канализационной воды) подают в канал 1 теплоносителя. Нагреваемую жидкость (например, воду горячего водоснабжения) подают на вход 5 канала 4, которая нагревается теплом теплоносителя через металлическую стенку 7 и выводится через выход 6 из теплоутилизатора для последующего использования, например для подачи в электрический водонагреватель (не показан). При этом спираль 8, выполняя роль направляющей, образует спиральный канал 4 вокруг трубы 2. Струей воды, которую подают через сопло 9, первоначально ламинарный поток теплоносителя в канале 1 турбулизируется и разгоняется настолько, что приобретает спиралевидную траекторию, увеличивая площадь контакта с разделяющей стенкой 7. Благодаря тому что сопло 9 установлено под углом к плоскости сечения трубы 2 канала 1, теплоносителю сообщается также осевая составляющая скорости, что компенсирует некоторое гидравлическое сопротивление, создаваемое теплоутилизатором.
Вместо струи воды через сопло 9 может быть подана струя сжатого газа.
Второй вариант осуществления теплоутилизатора ориентирован на мелкосерийное производство. Канал 10 нагреваемой среды представляет собой медную трубу 11, свитую в пространственную спираль с прилегающими друг к другу витками, а канал 12 теплоносителя образован пространством внутри спирали соответствующего переменного сечения. Два сопла 13 для подачи струи выполнены в виде сужающихся трубок, размещенных под углом к плоскости сечения канала 12 теплоносителя. Теплоутилизатор встраивают в канализационную трубу 14.
Предлагаемый способ осуществляют аналогичным первому варианту образом. При этом, используя предлагаемое решение, для горячего водоснабжения совместно с электрическим водонагревателем 6 кВт, подключаемого к однофазной сети, получен поток горячей воды, соответствующий трехфазным водонагревателям мощностью от 8 кВт.
Следует учитывать, что расход воды через струю не должен превышать 42 процентов потока нагреваемой жидкости из-за снижения температуры сточных вод вследствие подмешивания. При использовании водопроводной воды возвращается треть тепла при расходе через струю не более трети потока воды через нагреватель. При увеличении скорости струи возможно достижение таких же результатов при расходе струей воды не более одной десятой части потока воды через нагреватель.
Очевидно, что направление вращения теплоносителя и нагреваемой среды может совпадать и быть противоположным, а также направление осевой составляющей скоростей теплоносителя и нагреваемой среды может совпадать и быть противоположным.
Формула изобретения
1. Способ утилизации тепла жидкости, в котором поток жидкого теплоносителя подают в канал теплоносителя теплоутилизатора и выводят из теплоутилизатора, а нагреваемую среду подают в канал нагреваемой среды, который отделен от канала теплоносителя теплопроводящей стенкой, и выводят из теплоутилизатора, характеризующийся тем, что увеличение скорости потока теплоносителя выполняют дополнительной струей.
2. Способ по п.1, отличающийся тем, что дополнительную струю направляют тангенциально каналу теплоносителя.
3. Способ по п.1, отличающийся тем, что дополнительную струю направляют под углом к плоскости сечения канала теплоносителя.
4. Способ по любому из пп.1-3, отличающийся тем, что дополнительная струя представляет собой струю жидкости.
5. Способ по любому из пп.1-3, отличающийся тем, что дополнительная струя представляет собой струю газа.
6. Теплоутилизатор, содержащий канал жидкого теплоносителя с входом и выходом и канал нагреваемой среды с входом и выходом, канал теплоносителя и канал нагреваемой среды отделены друг от друга теплопроводящей стенкой, в канале теплоносителя для увеличения скорости потока теплоносителя выполнено входное сопло.
7. Теплоутилизатор по п.6, отличающийся тем, что канал теплоносителя представляет собой металлическую трубу, а канал нагреваемой среды в виде пространственной спирали образован пространством между трубами, расположенными одна внутри другой.
РИСУНКИ
|